供求分析的一般框架
经济学中对商品或劳务的供求分析主要从需求(买方)、供给(卖方)、供求均衡(市场)三个方面入手。
(一)需求分析
1.需求与需求曲线
经济学中某一商品或劳务的需求的定义为人们愿意且能够购买的商品或劳务的数量。通常,影响买方需求的因素主要有:该商品或劳务的价格、买方的偏好、可支配收入、预期价格、替代品的价格等(蔡继明2002)。如果我们假定其他影响因素不变,仅考察买方需求和该商品或劳务的价格的关系,便可以得到需求和价格之间的对应关系(图2-1)。图2-1中,P表示商品价格,Q表示需求量。点A1表示当商品的价格为P1时,消费者愿意且能购买的商品数量为Q1,或者理解为当消费者欲购买Q1数量的商品时,其愿意支付的最高价格为P1。

图2-1 需求曲线
依次类推,当价格为P2,P3,…,Pn时,我们分别得到对应的商品价格和数量的组合A2,A3,…,An,将所有表示这些组合的点用线连接起来,便构成了该商品的需求曲线。需求曲线为一条负斜率的直线,表示在其他条件不变的情况下,商品的价格越高,人们的需求量越低,即商品的价格和需求呈反向运动关系,这在经济学中被称为需求定理,在图形上则体现为由于自身价格变动而导致的点A在需求曲线D上的移动。
2.需求曲线的移动
上面分析中,我们假定其他因素不变,仅考察价格和需求量之间的关系,事实上,其他因素的变动也会对需求产生影响。
首先是消费者的偏好。例如,同样是对水果的需求,如果一个消费者更偏好苹果而非香蕉,则在其水果的购买组合中会增加对苹果的需求量。
其次是可支配收入。根据消费理论,一般而言,消费者的可支配收入提高,其对商品的需求量也随之增加,反之也成立。
再次是预期价格。如果消费者预期将来该商品的价格会上涨,则会增加当期的购买数量。
最后是替代品的价格。一般来说,如果两种商品具有较高的替代性,当其中一种商品的价格上涨时,消费者会倾向购买相对便宜的替代品。
上述因素对需求的影响在图形上表示为需求曲线的水平移动(图2-2)。例如,当消费者的可支配收入增加时,在其他条件不变下,其对商品的需求由Q1增加到Q2。相反,当消费者的可支配收入减少时,在其他条件不变下,其对商品的需求由Q1减少到Q3。这种由于价格以外的因素而引起的需求的变动通常被称为需求水平的变动,图形上体现为需求曲线的水平移动。

图2-2 需求曲线的移动
(二)供给分析
1.供给曲线
经济学中的供给定义为厂商愿意且能够提供某一商品或劳务的数量。影响厂商对商品供给的因素主要有:商品的价格、生产技术、生产要素价格等。同样,首先假定其他影响因素不变,仅考察商品价格和供给的关系,我们可以得到厂商对某一商品的供给曲线(图2-3)。图2-3中,点A1表示当商品的价格为P1时,厂商愿意且能够提供的商品的数量为Q1,或者理解为在数量水平Q1下,厂商希望获得的最低报价为P1。依次类推,当价格变动时,我们可以得到很多表示商品价格和数量的组合的点,连接这些点便可以得到该商品的供给曲线S。供给曲线是一条正斜率的直线,这表示其他条件不变下,当商品的价格上升时,厂商愿意且能够提供的商品的数量增多,反之也成立。供给曲线说明了商品的价格和供给呈同向运动关系,这便是经济学中的供给定理。这一定理在图形上表示为由于自身价格的变动而导致的点A在供给曲线S上的移动。

图2-3 供给曲线
2.供给曲线的移动
同样,除商品自身价格之外,还有其他因素影响商品的供给。
其一是生产技术。当生产技术水平提高时,厂商单位时间生产的商品的数量增多,即单位产品的成本降低,相同的价格水平下,其获得的利润更多。因此,厂商将倾向于提供更多的商品。
其二是生产要素的价格。当生产要素价格上升时,厂商生产单位产品的成本必然会上升,厂商将从原来的零利润状态陷入到亏损状态,因此,厂商将选择减少生产和供给。
其三是其他商品的价格。如果对某一商品的供给者而言,其可以生产产品A或产品B,当产品A和B互为替代品时,若产品A的价格高于产品B的价格,则在相同的生产成本条件下,产品A的供给要上升,而产品B的供给则下降;若产品A和产品B互为互补品时,若产品A的价格上升,则产品B的供给也会随之上升。
其四是产品的预期价格。如果预期未来价格上涨,则厂商会增加其未来的供给,而减少现在的供给。反之,若预期未来价格下降,则厂商会增加其现在的供给,而减少其在未来的供给。
其五是政府的政策。显然,政府若采取鼓励的政策(如减税等)则会增加产品的供给,反之,政府若采取限制的政策(如增税、许可证等)则会减少产品的供给。
最后是供给者的数量。在相同的条件下,某一产品的供给者越多,该产品的总供给也会越大。反之亦然。
自身价格以外的其他因素对厂商供给的影响在图形上体现为供给曲线的水平移动(图2-4)。例如,当某一商品的原材料价格下降时,由于单位产品的生产成本降低,企业会扩大生产以增加供给,即在同样的价格水平P0下,厂商的供给将由Q1增加到Q2。

图2-4 供给曲线的移动
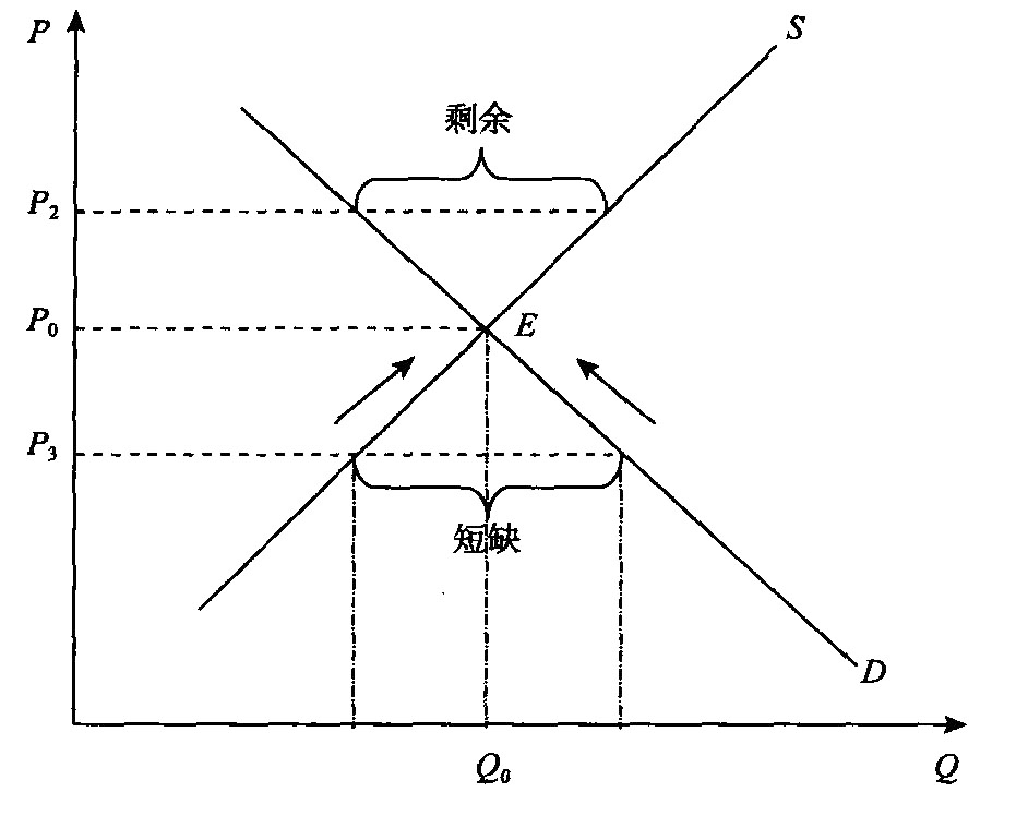
(三)供求均衡
上述对供给和需求的分析都是针对单个消费者和生产厂商的,整个市场的需求和供求则分别是所有消费者和厂商的加总,在图形上分别体现为所有需求曲线和供给曲线的水平加总。当某一时点市场需求和供给相等时,我们称市场达到了均衡点或市场出清(图2-5)。此时,市场上消费者的需求价格和厂商的供给价格相等。均衡点在图形上体现为需求曲线D与供给曲线S相交的E点。事实上,市场均衡状态并不总是存在,更多情况是市场剩余或市场短缺,但在价格机制作用下,市场会向着均衡方向运动。例如,初始价格为P3,此时,市场需求大于市场供给,商品价格上涨,消费者会减少需求,而厂商会增加供给,直至市场需求等于供给。

图2-5 市场供求平衡
前面我们已经论述过除价格之外的其他因素会影响需求曲线和供给曲线的水平移动,因此他们必然也会影响市场均衡状态的变动。
如图2-6所示,当供给曲线S不变,若需求曲线由D向右移动至D1,则均衡产量由Q增加至Q2,均衡价格由P0增加至P2;若需求曲线左移至D2,则均衡产量由Q减少至Q1,均衡价格由P0减少至P 1。

图2-6 需求曲线移动对市场均衡的影响
如图2-7所示,当需求曲线不变,若供给曲线由S向右移至S1,则均衡产量由Q增加至Q1,均衡价格由P0下降至P1;若供给曲线由S向左移至S2,则均衡产量由Q减少至Q2,均衡价格由P 0上升至P 2。

图2-7 需求曲线移动对市场均衡的影响