海洋教育服务平台知识工程构建
(一)知识核心概念集的构建
海洋知识工程的知识核心概念集构建如图2-16 所示,本书通过本体开发软件Protégé 来建构海洋知识工程的知识核心概念集。本体开发软件的树形目录展现知识本体相关属性,在知识核心概念层次上设计海洋知识工程领域模型,进行知识类、知识子类、知识属性、知识实例等知识任务的添加、删除、修改等操作,支持知识类别的多重继承、知识数据的一致性核查和文本格式的多形式表示[7]。

图2-16 海洋知识工程的知识核心概念集构建
(二)定义知识概念的属性及关系
根据海洋知识工程构建方法,定义海洋知识本体概念的属性,海洋知识工程本体属性名称及属性含义如表2-1 所示,包括“同义词”“组成”“相关”和“相区别”等属性含义。
表2-1 海洋知识工程本体属性名称及属性含义

在本体开发软件Protégé 中,海洋知识工程本体属性定义如图2-17 所示,海洋知识本体属性采用“ObjectProperty”(对象属性),表示海洋知识工程本体属性的性质是动态的。海洋知识工程本体属性关系如图2-18所示。

图2-17 海洋知识工程本体属性定义

图2-18 海洋知识工程本体属性关系(https://www.daowen.com)
(三)知识本体的构建
本书利用本体开发软件Protégé 构建海洋知识工程相关知识本体。其中,海洋知识工程学生本体结构如图2-19 所示,学生本体的构建主要包括两部分:

图2-19 海洋知识工程学生本体结构
(1)学生基本情况:包括学生的学习情况、个性特点。根据其内容,可以分析学生的情感因素,为个性化学习建立数据结构基础。
(2)学生学习情况:包括学习单元ID、停留时间、停留单元ID、下一学习单元ID、学习进度和学习成绩等部分。学生的学习情况是根据学生的学习过程而动态变化的,学生的学习情况里的各部分内容属于动态信息。
(四)海洋知识表达与推理
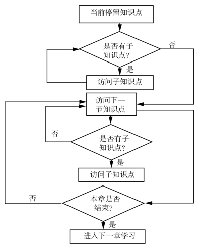
知识论者对知识的实际作用越来越感兴趣,其思想是在知识推理的基础上获得新知识。推理通常被认为是一种扩大的认知资源,因为它允许在已有知识的基础上扩展或增加新的知识。例如,海洋知识工程中课程内容结构划分为若干个“知识点”,某些“知识点”下面又划分为“子知识点”“二级知识点”,或涉及相关的“知识点”。根据学习者本体中对学习者的学习情况的记录,可以对学习者的学习内容做出推理,海洋知识工程知识点推理流程如图2-20 所示。

图2-20 海洋知识工程知识点推理流程
(五)海洋知识本体中间件系统
海洋知识本体中间件系统结构如图2-21 所示,海洋知识本体中间件系统的使用者分为两类:普通用户和知识工程师。普通用户并不直接与本体中间件交互,而是通过应用程序调用本体中间件系统的API 访问系统功能。知识工程师使用本体编辑器实现对本体的编辑处理,并通过本体中间件API 将结果存入本体库中。本体中间件接口负责处理来自用户和知识工程师的服务请求。本体中间件接口通过调用推理模块提供的服务完成相关的推理任务。海洋知识本体中间件“推理器”通过OWL 本体具体描述逻辑系统来实现。

图2-21 本体中间件的体系结构