水质分析结果的表示方法
1.离子表示法
离子毫克数表示法:以每升水中含有某种离子或化合物的毫克数表示,单位为毫克/升(mg/L)。这种表示法只能表征化学成分的绝对含量。
离子毫克当量数表示法:以每升水中含有某种离子的毫克当量数表示,单位为毫克当量/升(meq/L)。因为各种离子皆以等当量结合,故这种表示法能反映各离子间的数量关系和化学性质,并可验证分析结果的准确性。毫克当量的计算方法是

离子毫克当量百分数表示法:通常以阴(阳)离子毫克当量之和各为100%计算离子毫克当量百分比,即为该离子的毫克当量百分数(毫克当量%,meq%)。这种表示法能直接反映水中各种离子含量的比例关系,因而便于对不同化学类型的地下水进行对比。离子的毫克当量百分数的计算方法是

以上3种表示方法各有其不同含义,故一般水分析报告表中大多将3种表示法同时列出。
分析误差用下式计算

式中 e——相对误差,%;
∑rc——阳离子总含量,meq/L;
∑ra——阴离子总含量,meq/L。(https://www.daowen.com)
按要求,全分析时允许误差应小于2%,简分析应小于5%。
2.地下水化学成分的图示法
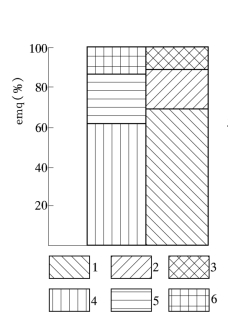
水化学分析结果图示法既有助于对水分析结果进行比较,同时又能更直观地在文字报告中说明问题,常用的图示法为柱状图示法。
水化学成分柱状图的做法为:将柱状图分成两个条带(图5-1),左侧为阳离子,自下而上为Ca2+、Mg2+、Na++K+;右侧为阴离子,自下而上为
,按此顺序根据所含的meq%画成。这种图示法的优点是简明清晰,并能求出各种盐类的含量以及水中暂时硬度与总硬度的关系,可以清楚地显示出水样是属于何种类型。

图5-1 水化学成分柱状图
1—HCO3-;2—
;3—Cl-;4—Ca2+;5—Mg2+;6—Na++K+
3.水化学成分的库尔洛夫表示式及水化学类型定名
地下水化学成分的库尔洛夫表示式是用数学假分数的形式表示水的化学成分,此种方法简明清晰,在水质分析中经常采用。其表示方法如下:将meq%>10%的阴、阳离子按含量的多少分别排列于横线上下;横线以前依次表示气体成分、特殊成分及矿化度(M),三者单位均为g/L;横线以后以T表示水温(°C)及pH值。表示式中各成分的含量一律标于该成分符号的右下角,如Ca62.3等。而HCO-3等成分,其右下角原有的原子数移至右上角,如
等。例如某建筑基坑的水化学分析结果的库尔洛夫表示式如下:

根据库尔洛夫表示式确定水的类型时,只考虑meq%>25%的离子。定名时阴离子在前,阳离子在后,中间以“-”相隔;同类离子含量多的在前,少的在后,其间以“·”相隔。上述库尔洛夫式表示的某建筑基坑水的化学类型应定名为重碳酸—钙镁型水,也可表示为HCO3—Ca·Mg型水。