三、喷射井点降水
2026年01月14日
三、喷射井点降水
喷射井点是将射流器装入井管中,利用高压水(称喷水井点)或高压气(称喷气井点)为动力进行抽水的井点装置。其最大优点是降深大,缺点是效率低和管理要求高。
1.主要设备及性能
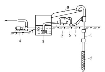
喷射井点系统装置如图9-7所示,该系统主要组成有:

图9-7 喷射井点布置
1—井点管;2—高压水泵;3—循环水槽;4—低压水泵;5—滤管;6—导水总管;7—连接软管;8—排水槽
(1)喷射井管。该井管由内管和外管组成,在内管下端设有扬水器与滤管相连。高压水经外管与内管之间的环形空间,并经扬水器侧孔流向喷嘴,由于喷嘴处截面突然缩小,高压水经喷嘴以很高的流速喷入混合室,使该室压力下降造成一定的真空。此时,地下水被吸入混合室与高压水汇合流经扩散管,沿内管上升由排水总管排出。单管射流量一般为50L/min~100L/min,有时也能达到200L/min。每套喷射井点宜控制在30根左右。
(2)高压水泵或空气压缩机。它们产生工作压力,把压力为700~800kPa的高压水压入井点管内的喷嘴内。
(3)循环水槽。循环水槽的作用是保持一定的循环水量,以保证高压水泵正常工作。(https://www.daowen.com)
(4)低压水泵。低压水泵的作用是把循环水槽中多余的水抽出。
2.井点管的布置
当基坑宽度小于10m,水位降深要求不大时,可布置单排井点;当基坑宽度大于20m时,可布置双排井点;当基坑面积较大时,宜布置环形井点。
井点间距一般为2~3m,孔径为400~600mm,井深应比滤水管低端深1m以上。井点管下入孔内后,需填入粗砂滤料,其上面1.5m左右用粘土封口捣实。
3.注意事项
(1)下井点管前必须对喷射器进行检查;
(2)井点抽水后若发生井点周围有翻砂、冒水现象,应立即关闭喷射井点系统装置进行检查处理;
(3)循环水槽中的水应保持清洁。