二、滑坡
斜坡上的部分岩(土)体,在重力作用及其他因素的影响下,沿着一定的软弱面(滑动面)发生整体下滑的现象,称为滑坡。

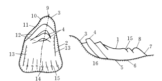
图3-13 滑坡要素及滑坡形态特征示意图
1—滑坡体;2—滑坡周界;3—滑坡壁;4—滑坡台阶;5—滑动面;6—滑动带;7—滑坡舌;8—滑动鼓丘;9—滑坡轴;10—破裂缘;11—封闭洼地;12—拉张裂缝;13—剪切裂缝;14—扇形裂缝;15—鼓张裂缝;16—滑坡床
(一)滑坡要素
一个发育完全的滑坡,由很多要素组成(图3-13),但最主要的组成部分只有三个,即滑坡体、滑动面和滑坡床。滑坡体是指滑动的岩(土)体,又称为滑坡堆积物。滑坡体的前缘称滑坡舌,因受挤压而稍隆起的小丘称滑坡鼓丘。伴随岩体的滑动,生长在滑坡体上的树木东倒西歪,形成“醉汉林”,或向上弯曲生长成“马刀树”(多见于老滑坡)。滑动面是滑坡体下滑的界面,它常沿软弱地质界面而形成,如地层中的裂隙面、断层面、软弱夹层等。滑坡床是指滑动面以下稳定的岩(土)体。滑坡体与滑坡床之间在平面上的分界线称滑坡周界。
(二)滑坡类型
根据滑动面与岩层面之间的关系,滑坡可分为以下三种类型:
(1)均质滑坡发生在均质岩层如粘土、黄土、强风化岩浆岩中的滑坡。滑动面多呈圆弧形,如图3-14(a)。

图3-14 滑坡的主要类型
(a)均质滑坡;(b)坡积层沿基岩面的顺层滑坡;(c)顺层滑坡;(d)切层滑坡1—强风化的花岗岩;2—弱风化的花岗岩;3—微风化或未风化的花岗岩;4—滑动岩体;5—坡积层粘性土;6—基岩
(2)顺层滑坡在非均质岩层中沿岩层分界面发生的滑动。滑动面多为直线,如图3-14(b)、(c)。(https://www.daowen.com)
(3)切层滑坡滑坡体切过不同的岩层面发生滑动,滑动面常沿断层面,裂隙面形成,如图3-14(d)。
(三)滑坡对水利工程的危害
我国山区和黄土高原地区的滑坡灾害屡见不鲜。如1983 年3 月7 日甘肃东乡县洒勒山6000 多万m3 黄土滑坡,在3 分钟之内滑下,淹埋了4 个村庄,死亡277 人,压埋牲畜300多头。滑坡不但对人民的生命财产安全构成了很大的威胁,而且对水利工程建设的危害也很突出。
1.造成淤积,减少了水库的库容和使用寿命
大型水库蓄水后,回水面积较大,库岸线也较长,在库水的浸泡下,一些软弱岩石或软弱结构面发生软化、泥化现象,加上水流、水浪对库岸底部岩石的冲刷、掏蚀作用,常导致岸坡滑动或坍塌。此外,水库放水时,岸坡内的地下水来不及排出,这时形成较大的水压力,也容易触发岸坡产生滑坍。如黄河三门峡水库和龙羊峡水库蓄水后,有不少滑坡发生。滑坡不但造成水库淤积,而且减少了水库的库容和使用寿命。
2.产生涌浪,使库水位雍高,库水大量流失
滑坡体在短时间内掉入水库,不但填塞库区,而且会产生很大涌浪,使库水位雍高,造成库水大量流失。如意大利瓦依昂水库,为双曲拱坝,坝高265.5m,库容1.65 亿m 3,左岸设发电厂房。1963 年10 月9 日晚,库区左岸岩体突然整体下滑,滑坡体积达2.4 亿m3,将坝前1.8km长的一段水库完全填满,约有2500 万~3000 万m 3 的库水被挤过坝顶,库水渲泄而下,冲毁了下游5 个村镇,造成2500 人死亡。在电厂工作的60 名人员,也无一幸存。由于滑坡体几乎占满了库容,无法处理,库水流失殆尽,因而全部工程均被报废(图3-15)。

图3-15 意大利瓦依昂水库滑坡示意图
(a)水库平面图,图中A为1960 年的滑坡,B为1963 年的滑坡;(b)剖面图
3.危及大坝安全稳定
坝区滑坡体的存在,将直接影响到大坝的安全稳定,尤其是坝肩稳定。如浙江黄坛口水电站在施工时,才发现左岸坝头是一个大的滑坡体,面积达2 万m2,滑坡体厚度60~70m。由于大坝与坝肩岩体无法相接,最后不得不重新补充勘探,并改变了原来的设计。
此外,邻近坝区发生的大规模滑坡和塌岸,会激起巨大的波浪,将冲击大坝,严重危及坝体安全。如瓦依昂水库滑坡及涌浪对拱坝形成约400万t 的推力,导致坝顶左肩严重破坏。又如1959 年我国湖南柘溪水电站施工期间,大坝上游左岸1.5km处发生了大规模的滑坡,165 万
的土石以25m/s 的速度滑入水库,形成21m高的涌浪,库水漫过没建完的坝顶,正在施工的20 多位工人被卷入巨浪之中,淹没了围堰,造成重大损失。