渗透的基本规律
(一)线性渗透定律(达西定律)
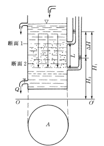
1852~1856 年间,法国水力学家达西(Henri Darcy)通过大量试验发现了地下水运动的线性渗透定律,又称达西定律。其试验装置如图4-11 所示,他用盛满0.1~3mm砂的金属圆筒装置,模拟地下水在砂层中的运动。试验获得如下结论:单位时间内通过筒中砂的流量Q与渗透路径长度L成比反,而与圆筒的过水断面面积A和上下两测压管间的水头差ΔH成正比,即

由水力学知:Q=AV,则达西定律又可写成下式:

图4-11 达西实验示意图
![]()
式中V——渗透流速,m/d;
其他符号意义同前。
式(4-2)表明渗透流速V与水力坡度i的一次方成正比,故达西定律又称线性渗透定律。当i=1 时,V=K,说明渗透系数在数值上等于水力坡度为1 时的渗透流速。松散岩层渗透系数K经验值见表4-3。
表4-3 松散岩层渗透系数K 经验值

(引自《简明工程地质手册》,中国建筑工业出版社,1998 年)
达西定律有一定的适用范围,较早以前人们认为它的适用范围是层流。20 世纪40 年代以来很多试验证明,达西定律应用范围比层流的范围要小。但是,在天然条件下,地下水运动十分缓慢,实际流速一般很小,所以,绝大多数地下水的运动还是服从达西定律的。(https://www.daowen.com)
达西定律式(4-2)中的渗透流速V并非渗透水流在岩土空隙中运动的实际流速。由于透水岩层是由固体颗粒和空隙组成的,而地下水只能在空隙中运动。如果地下水在空隙中的实际流速用u来表示,则

式中A′——过水断面中的空隙面积,m2;
u——地下水的实际流速,m/d。
由于空隙面积A′不便测定,且不同断面的值可能并不相等,故引进渗透流速这一概念。渗透流速是将水流视为通过整个过水断面,但其流量是不变的一个引用流速,即V=Q/A,显然A′<A,所以渗透流速比地下水的实际流速要小。
达西定律描述了地下水运动的基本规律,它广泛用于井孔涌水量、渠道与坝库区渗漏量以及含水层水文地质参数等计算中。
(二)非线性渗透定律
地下水在岩土大空隙中运动时流速相当大,水流呈紊流状态,其运动规律服从谢才公式,即
![]()
式中Km 为紊流运动时的渗透系数。
上式表明,地下水在紊流运动时,其渗透流速与水力坡度的1/2 次方成正比,故称非线性渗透定律。
当地下水呈混合流时,其渗透流速与水力坡度的1/m次方成正比,m介于1~2 之间,即
![]()
式中KC为混合流时的渗透系数。