男大衣、风衣的版型设计
一、柴斯特大衣
1.款式特点 柴斯特大衣属于第一礼服大衣,整体造型为X型,能够显示男性的魅力,分为传统型、中庸型和郑重型三种风格。传统型为单排暗门襟、平驳领造型,一般翻领面加有黑色天鹅绒。中庸型也是单排暗门襟,但领子为小戗驳领造型。郑重型为双排六粒扣(扣两粒扣)。传统型和中庸型柴斯特大衣采用三开身结构,不开侧片。郑重型大衣采用三开身结构,侧片开片(图7-4)。
2.规格设计(表7-1)柴斯特大衣整体为X型造型,要求紧身合体,因此,围度的加放量不宜太大。
(1)胸围:柴斯特大衣为较宽松结构,常与塔士多礼服、黑色套装搭配组合,考虑到穿着的层次,胸围的加放量为24~28cm。
(2)衣长:柴斯特大衣为长款型大衣,长度一般在膝盖以下、小腿中部以上的位置,可按0.6h+(6~8)cm、也可按腰节线下加长60~70cm设计。
(3)袖长:0.3h+12cm。

图7-4
表7-1 柴斯特大衣规格设计(170/88A)
单位:cm

3.结构设计(原型法)
(1)原型前、后浮余量取值(图7-5):

图7-5
前浮余量=前浮余量理论值-垫肩量-松量的影响值
=B*/40-1-0.05(B-B*-16)
=2.2-1-0.4
=0.8(cm)
后浮余量=后浮余量理论值-肩垫量-松量的影响值
=(B*/40-0.4)-0.7×1-0.02(B-B*-16)
=1.8-0.7-0.16
=0.94(cm)
(2)前、后浮余量的消除方法:前浮余量采用省量折叠增加撇胸进行处理,后浮余量采用纸样剪切增加后肩缩缝量进行处理(图7-6)。
(3)围度加放:原型中的胸围已经加了16cm的放松量,成品胸围需要增加8cm放松量。采用前中线外加0.5cm、后中线外加1cm、侧缝总共加2.5cm进行处理(图7-7)。

图7-6

图7-7
(4)领口设计:考虑面料的厚度及穿着层次,后领口宽加大1cm,并上抬0.5cm,同时领口深也要上抬0.5cm。前领口宽也加大1cm。
(5)肩部设计:垫肩厚度为1cm,具体分配为后肩抬高1.5cm,前肩抬高0.5cm。后小肩宽为S/2+0.5cm(后肩缩缝量),前小肩=后小肩-0.7cm(缩缝量)。
(6)袖窿深:袖窿深在原型袖窿深的基础上开深2.5~3cm。
(7)后片衣身结构:后片底边比前片短2cm,后背缝线在袖窿深处偏进1.5cm、中腰收进3cm、下摆收进4cm。后片侧缝在中腰收进1.5cm、下摆放出4cm。
(8)前片衣身结构:前片衣身不需开片,中腰省1cm,省尖距小袋底5cm,腰节线下9cm与袋口平齐;胁省省根大1cm,省中大1.5~1.7cm,省长至袋口以下3cm。侧缝中腰收进1.5cm、下摆放出1.5cm。
(9)小袋:距前胸宽线2.5cm,小袋口大B/10、袋口宽2.5cm,在袖窿深线上斜度为2cm。
(10)大袋:距腰节线9cm,袋口大为17cm,嵌线宽1cm(上下各宽0.5cm)、袋盖宽6cm,袋口斜度为1cm,袋口前端距中腰省2cm。
(11)搭门设计:搭门宽为4cm。
(12)扣位设计:第一粒纽扣高度为腰节线上10cm,扣距为14cm。
(13)暗门襟明线:暗门襟明线的宽度为6.5cm,从第一粒扣上5cm(以驳头盖住为宜)缉线至末粒扣下6cm。
(14)驳头设计:翻折止点为腰节线上10cm处,翻折基点为2.5cm(肩线从前领口宽点反向延长),驳头宽为9.5cm,串口线斜度为原型领口深下1cm,驳角大为4cm。
(15)翻领设计:领座宽为3cm,翻领宽为4cm,领翘为3cm,领角大为3.5cm。
(16)袖子设计:袖山高为AH/3+0.7cm。袖对位点A为前宽线向袖窿方向移0.5cm与袖窿的交点,前袖山斜线取袖对位点A—SP(弧线长)-0.5cm,后袖山高为袖山总高的1/3,后袖山斜线取后袖对位点B—SP’弧线长-0.5cm。袖长取实际袖长SL-1.5cm,袖肘线高度与原型腰节线平齐。大袖偏袖宽取2.5cm,袖肘线处偏进0.7cm,袖口处偏出3.5cm。袖口大为17cm(同袋口大),斜度为3cm。大袖外侧缝线在袖口大与后袖山点的连线上,在袖肥大交点处偏出2cm、在袖肘线的交点上偏出2.5cm。小袖内侧缝线在大袖内侧缝线基础上平行偏进5cm,外侧缝线分别在大袖外侧缝线袖肥处偏进2cm、袖肘线处偏进1.25cm,整体结构图如7-8所示。

图7-8
中庸型柴斯特大衣结构设计说明:
中庸型柴斯特大衣和传统型相比较,主要变化在驳头造型上。其驳头为单排暗门襟戗驳领造型(图7-9),基本造型与结构基本相同,驳头宽为9~9.5cm,驳角大为7.5cm,并为小圆角造型。翻领宽为4cm、领座宽为3cm,领翘大为3cm,领角大为4cm,如图7-10所示。

图7-9

图7-10
郑重型柴斯特大衣结构设计说明:
郑重型柴斯特大衣为双排扣戗驳领大衣(图7-11),主要变化在前片驳头的造型和前片侧片开片上。其主要变化为以下几点(图7-12):
(1)搭门设计:搭门宽为6~8cm,以不超过大袋前端3cm宽度为宜。

图7-11

图7-12
(2)驳头设计:翻折止点为腰节线的止口处,因此驳头较长,造型比较大方。驳头宽为9.5cm,驳角大为7.5cm,与中庸型驳角大相同。
(3)扣位设计:扣距长度为14cm,距门襟止口2~2.5cm,其余两粒扣与止口两粒扣以前中线对称。最上端的纽扣为装饰扣,扣距同样为14cm,在里排纽扣连线上偏进3~5cm。
(4)侧片设计:侧片要进行开片设计,侧缝收腰放摆不变,侧片从胁省中线垂直分割,侧片下摆放出1cm,前片下摆分割线处放出1.5cm。
二、波鲁外套
1.款式特点 波鲁外套在礼仪级别上仅次于柴斯特大衣,整体造型为H型,戗驳大翻领,双排六粒扣,明贴袋,分割三片袖,袖口设计有外翻袖克夫,袖窿、领子、驳头、止口均缉明线。袖山与肩部为包肩造型,整体为宽松风格(图7-13)。

图7-13
2.规格设计(表7-2)
(1)衣长:可按0.6h+(6~8)cm。
(2)胸围:波鲁外套为宽松型风格,胸围的加放量为30~36cm。
表7-2 波鲁外套规格设计(170/88A)
单位:cm

3.结构设计(比例法)
(1)前领口宽为B/10,前领口深为9cm;后领口宽为B/10-1cm,后领口深为2.7cm。
(2)前肩斜度为20°、后肩斜度为19°。
(3)后肩宽大为S/2+0.5cm,前小肩宽=后小肩宽-0.7cm(缩缝量)。
(4)袖窿深为2B/10+5cm。
(5)后片衣身结构为后背缝线在中腰收进3cm、在臀围线(腰节线下20cm定寸)偏进3.5cm,然后连顺到底边;开衩高为腰节线下10cm,宽为4cm;侧缝下摆放出4cm。
(6)前片衣身结构,前片胸围大为B/2-后胸围大,前片侧缝下摆放出3cm。
(7)驳头设计为驳头止点在腰节线上5cm处定点,驳头宽为9.5~10cm,驳角大7.5cm。
(8)领子设计为领座宽3.5cm、翻领宽5cm,领翘为3cm。
(9)扣位设计为扣距14cm,前止口偏进2cm为第一排纽扣,以前中线为对称,确定第二排纽扣。
(10)袖子设计为袖山高AH/3+1cm,先按两片袖绘制好袖山,根据包肩造型,分别在前、后袖山上外放1.5cm。根据袖山弧长-袖窿弧长确定袖山撇势,并把大袖分割为两部分,后袖片外侧缝线需在袖肥处外放1cm,作为胖势,整体版型设计如图7-14所示。
三、巴尔玛外套
1.款式特点 巴尔玛外套属于便装外套,礼仪要求不严格,可适合不同年龄、不同场合穿着,同时在搭配方面也比较灵活,主要同西装、户外服搭配组合。巴尔玛外套为宽松型风格,整体造型为A型,分割领座翻领、暗门襟、插肩袖,袖口有袖襻设计,具有较好的防风、防雨功能(图7-15)。

图7-14

图7-15
2.规格设计(表7-3)
(1)衣长:可按0.6h+(6~8)cm。
(2)胸围:巴尔玛外套为宽松型风格,胸围的加放量为30~36cm。
(3)袖长:0.3h+12cm。
(4)肩宽:0.3B+(12-13)cm。
(5)领围:关门领结构,考虑穿着的层次,可在衬衫领围的基础上加放5~6cm的松量。
表7-3 巴尔玛外套规格设计(170/88A)
单位:cm

3.结构设计(比例法)
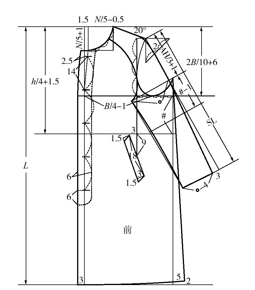
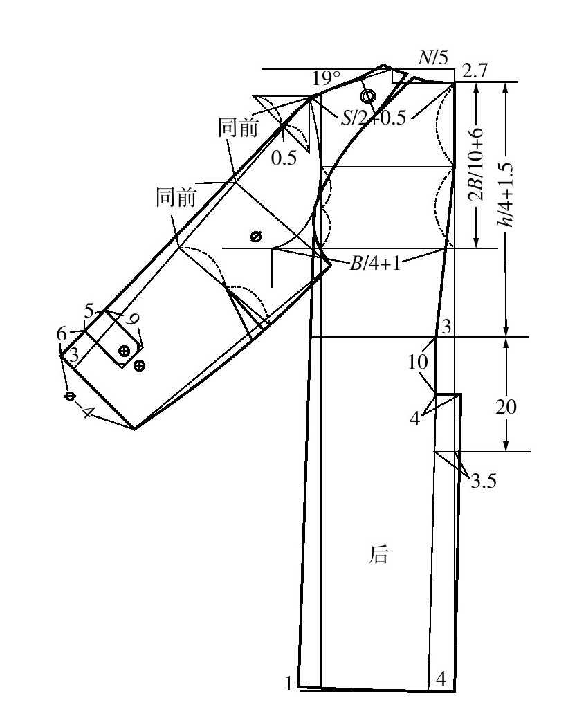
(1)本款采用关门领口设计,前领口撇胸量为1.5cm,前领口宽N/5-0.5cm、前领口深为N/5+1cm;后领口宽为N/5,后领口深为2.7cm。
(2)前肩斜度为20°、后肩斜度为19°。
(3)后肩宽为S/2+0.5cm、前小肩=后小肩-0.7cm(该缩缝量转移到后领口处,在插肩袖分割缝中消除)。
(4)袖窿深为2B/10+6cm,插肩袖的袖窿深可适当开深。
(5)前片衣身胸围大为B/2-后胸围大,前片侧缝下摆外放5cm。
(6)搭门宽为3cm。
(7)口袋袋牙宽3cm、长为18cm,上下斜度为3cm,袋中点距腰节线9cm。
(8)后片衣身背缝线在中腰收进3cm、在臀围线(腰节线下20cm定寸)处偏进3.5cm,然后连顺到底边;开衩高为腰节线下10cm处,宽度为4cm;侧缝外放4cm。
(9)前袖设计为袖中线斜度取10cm等腰直角三角形中线偏进2cm,袖口处再偏进3cm。袖窿分割从领口弧线上1/3处弧线连顺至袖弯点,前袖弯大点以B/4-1cm定点确定。
(10)后袖设计为袖中线斜度取10cm等腰直角三角形中线偏进0.5cm,袖口处再偏出3cm。袖窿分割从领口弧线上1/3处弧线连顺至袖弯点,后袖弯大点以B/4+1cm定点确定。
(11)后袖襻宽为5cm、长为9cm,距袖口6cm(图7-16、图7-17)。
(12)此款领子属于开关两用领,扣上第一粒纽扣即为关门领,敞开第一粒纽扣即为翻折领,因此配领时按翻折领结构进行处理。其中翻领后宽为6.5cm、领座为3.5cm、领角大为10cm。翻折止点于止口与第二粒扣位平齐处,翻折基点为肩线反向延长3cm,领翘为4cm,如图7-18所示。为了领中部贴合脖颈,领座需要做分割处理,处理方法为:在平行翻折线下1cm处做领座分割,以前、后领窝领对位点做翻领外口垂线,并在该基础线前后做纸样剪切,上端分别为4cm、下端分别为3cm,每个分割线各收缩0.4cm(图7-19)。

图7-16

图7-17

图7-18

图7-19
四、风衣
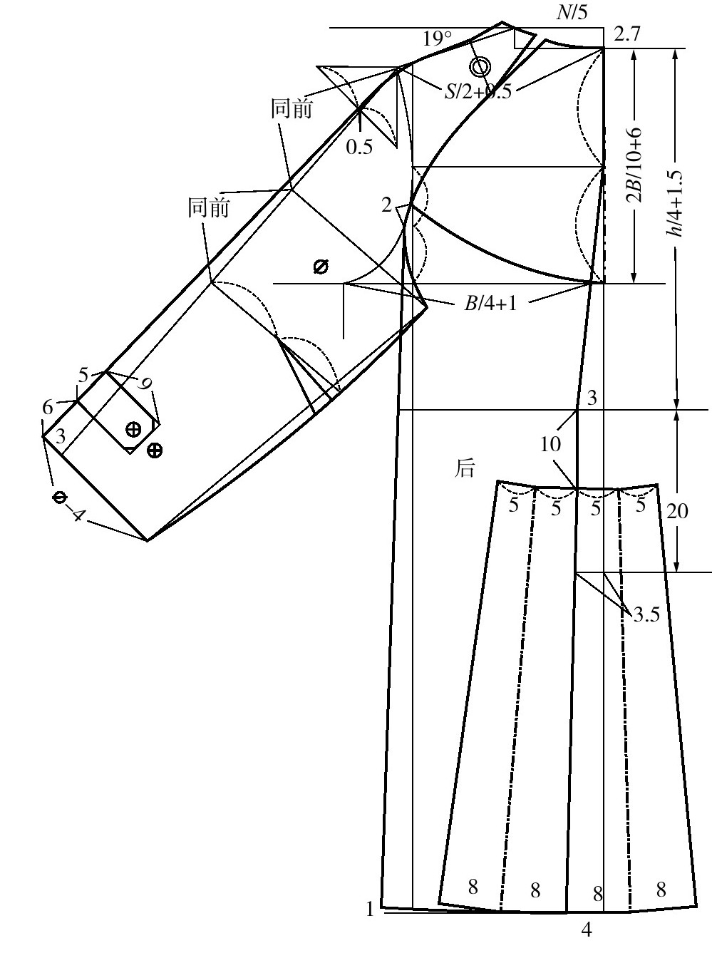
1.款式特点 风衣也称为风雨衣,是由第一次世界大战中士兵穿用的堑壕外套而发展起来的。风衣为宽松型风格,整体造型为A型,袖子为插肩袖,肩部设有肩襻,袖口设有袖襻,双排扣、登驳领,配有腰带,腰下设有带盖的斜插袋。右胸设有胸盖布,后背设有悬空的披肩。风衣属于功能性服装,肩襻是作为固定武装带而设计的;领襻、袖襻是为了防风防雨并具有保暖作用;双排扣的设计使重叠量更多,腰带的设计及悬空的肩设计都能够很好防止风雨侵入;后片下部开长衩,内有贴布,一是增加下摆活动的松量,二是具有防风防雨的功效(图7-20)。

图7-20
2.规格设计(表7-4)
(1)衣长:风衣与大衣相比可适当短些,可按0.6h+(4~6)cm。
(2)胸围:风衣为宽松型风格,胸围的加放量为30~36cm。
(3)袖长:0.3h+12cm。
(4)肩宽:0.3B+(12~13)cm。
(5)领围:关门领结构,考虑穿着的层次,可在衬衫领围的基础上加放5~6cm的松量。
表7-4 风衣规格设计(170/88A)
单位:cm

3.结构设计 风衣结构同巴尔玛外套虽在款式上有较大的区别,但在结构上基本相同,不同方面如下:
(1)前片衣身胸围大为B/2-后胸围大,不设计胸省和胁省,前片侧缝外放5cm;胸盖布距离前中线3cm、长度为胸围线上3cm确定(图7-21)。
(2)搭门宽为8~9cm,衣身驳头再上翘1cm、外放1.5cm。
(3)口袋为带盖的嵌线袋,袋口大18cm、斜度为3cm,袋盖宽度为5cm、袋盖尖总宽为6.5cm。
(4)前袖、后袖的袖口上6cm处,分别设有两个3cm长、1cm宽的袖襻。

图7-21
(5)第一粒纽扣高度为前领口宽下3cm处,扣距为14cm;第一排纽扣距离止口2.5cm,第二排纽扣位置以前中线对称确定。
(6)后片衣身背缝线在中腰收进3cm,在臀围线(腰节线下20cm定寸)处偏进3.5cm,然后连顺到底边;开衩高为腰节线下6cm处,开衩贴布上宽20cm、下宽32cm,折成褶裥;侧缝外放4cm(图7-22)。
(7)风衣的领子为登驳领,由立领和翻领两部分组成,立领前宽3.5cm、后中宽为4cm。先在领窝上确定立领前端造型,再根据前、后领窝弧长+0.3cm确定领子里口弧长,根据N/2确定领子上口弧长。翻领采用几何作图法,根据长为N/2+0.8cm、宽7cm绘制一个矩形,再平均分为4等分进行纸样剪切,并在每个等分线处加入1.5cm的松量,翻领前端的宽度为10cm,并画顺翻领的下口与外口弧线(图7-23、图7-24)。

图7-22

图7-23
五、时尚大衣

图7-24
时尚大衣是当今社会青年人喜欢穿着的大衣款式,和传统大衣相比较,款式更加简洁、大方,也没有礼仪方面的限制,属于便装范畴。时尚大衣没有更多的装饰,领型以翻驳领为主,袖子为两片西装袖。搭门以单搭门形式为多。衣身结构可以为三开身(图7-25时尚大衣A款)、也可以为四开身(图7-26时尚大衣B款),但基本上都保留后开衩造型。长度基本都在膝盖以上10cm左右。

图7-25

图7-26
案例1:时尚大衣A款
1.款式特点 时尚大衣A款的整体造型以X型造型为主,显得干练、洒脱(图7-25)。
2.规格设计(表7-5)
(1)衣长:时尚大衣衣长一般在膝盖以上10cm左右,也可以按0.5h~0.6h进行计算。
(2)胸围:时尚大衣为较合体型风格,胸围的加放量为14~18cm。
(3)袖长:0.3h+12cm。
(4)肩宽:0.3B+(12~13)cm。
表7-5 时尚大衣A款规格设计(170/88A)
单位:cm

3.结构设计(比例法)时尚大衣A款采用三开身结构进行设计,主要部位设计如下:
(1)领口设计:前领口宽为B/10,后领口宽为B/10-1cm、后领口深为2.5cm。
(2)肩宽设计:后肩宽为S/2+0.5cm,前小肩宽=后小肩宽-0.7cm。
(3)袖窿深:2B/10+5cm。
(4)后片衣身结构:后背缝线在中腰收进3cm、在臀围线(腰节线下20cm定寸)处偏进3.5cm,然后连顺到底边;开衩高为腰节线下10cm;侧缝中腰收进1.5cm,下摆放出3cm。
(5)前片衣身结构:前胸围大=B/2+1(省)-后胸围大,侧缝中腰收进1.5cm,下摆放出4cm。胁省为剑形省,省根大1cm、省中大1.5cm、省尖长至袋口中点下3cm。袋口中点从前宽线与腰节线交点下量9cm,袋口大18cm、袋口宽3cm、斜度为3cm。
(6)驳头设计:驳头止点在胸围线下5cm处,于止口线上定点。驳头宽为8cm,驳角大为4cm。
(7)领子设计:领座宽为3cm、翻领宽4.5cm、领角大3.5cm,领翘为3.5cm。
(8)袖子结构设计:袖山高取AH/3+1cm、袖长取SL-1.5cm、袖口斜度3cm、袖口大为B/10+4cm(图7-27)。

图7-27
案例2:时尚大衣B款
时尚大衣B款为单排三粒扣戗驳领造型,为较合体型风格(图7-26),因此胸围、肩宽的加放量要适当减小,与A款相比较,规格设计如表7-6所示。
表7-6 时尚大衣B款规格设计(170/88A)
单位:cm

时尚大衣B款在衣身结构上可采用三开身和四开身两种结构进行设计。其中,三开身结构根据着装效果图可以从袖窿门宽的2/5作垂直辅助线分割成侧片,后片、袖子结构保持不变(图7-28)。四开身结构在设计时后背结构保持不变,后胸围大=B/4+1cm、前胸围大=B/4-1cm,袖子结构仍然按两片袖结构进行设计(图7-29)。

图7-28

图7-29