【附录】
CCD密立根油滴仪
1.仪器结构
仪器主要由油滴盒、CCD 电视显微镜、电路箱、监视器等组成。
油滴盒是个重要部件,加工要求很高,其结构如图3-14所示。在油滴盒外套有防风罩,罩上放置一个可取下的油雾杯,杯底中心有一个落油孔及一个挡片,用来开关落油孔。

图3-14 油滴盒
1—油雾室;2—油雾孔开关;3—防风罩;4—上电极板;5—胶木圆环;6—下电极板;
7—底板;8—上盖板;9—喷雾口;10—油雾孔;11—上电极板压簧;12—电源孔
在照明座上方有一个安全开关,当取下油雾杯时,平行电极就自行断电。在上电极上方有一个可以左右拨动的压簧,注意,只有将压簧拨向最边上位置,方可取出上极板。这一点也与一般油滴仪采用直接抽出上极板的方式不同,为的是保证压簧与电极始终接触良好。
照明灯安装在照明座中间位置,照明光路与显微光路间的夹角增为150°~160°,油滴像特别明亮。MOD-5B油滴仪采用了带聚光的半导体发光器件,使用寿命长,为半永久性。
CCD电视显微镜的光学系统是专门设计的,体积小巧,成像质量好。由于CCD 摄像头与显微镜是整体设计,无须另加连接圈就可以方便地装上拆下,使用可靠、稳定、不易损坏CCD 器件。
电路箱体内装有高压产生、测量显示等电路。底部装有三只调平手轮,面板结构见图3-15。由测量显示电路产生的电子分划板刻度,与CCD 摄像头的行扫描严格同步,相当于刻度线是做在CCD 器件上的,所以,尽管监视器有大小,或监视器本身有非线性失真,但刻度值是不会变的。
由于空气阻力的存在,油滴是先经一段变速运动然后进入匀速运动的。但这变速运动时间非常短,小于0.01s,所以可以看作当油滴自静止开始运动时,油滴是立即匀速运动的。运动的油滴突然加上原平衡电压时,将立即静止下来。
2.主要技术指标
平均相对误差:<3%。
平行极板间距离:5.00mm±0.01mm。
极板电压:“+、0、-”可选,DC0~700V 可调。
提升电压:200~300V。
数字电压表:0~999V±1V。
数字毫秒计:0~99.99s±0.01s。
电视显微镜:总放大倍数30×(9″监视器、标准物镜)。

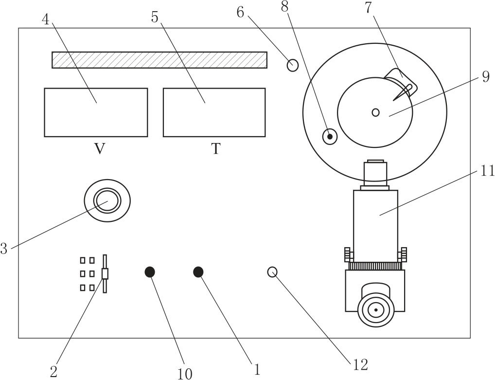
图3-15 油滴仪面板图
1—电源开关按钮;2—功能控制开关;3—平衡电压调节旋钮;4—数字电压表;5—数字秒表;
5—视频输出插座;7—照明灯室;8—水泡;9—上下电极;10—秒表清零键;
11—显微镜;12—CCD视频输入和电源
划板刻度:垂直线视场5mm,分六格,每格值0.5mm。
电源:0~220V、50Hz。