自动换刀装置结构比较复杂,它由刀库、机械手组成(有时还有中间传递装置)。
1)主轴准停装置
机床的切削扭矩由主轴上的端面键来传递,每次机械手自动装取刀具时,必须保证刀柄上的键槽对准主轴的端面键,这就要求主轴具有准确定位的功能。完成这一功能的机构是主轴准停(或称为主轴定向)装置,主轴定向装置有气动式、电气式等形式。
2)刀库的功能和结构形式
刀库的功能是存储加工工序所需的各种刀具,并按程序指令,把将要用的刀具迅速准确地送到换刀位置,并接受从主轴送来的已用刀具。刀库的存储容量一般在8~64把范围内,多的可达100~200把。
常见的刀库结构形式有转塔式刀库、圆盘式刀库、链式刀库、格子式刀库等,如图11-4-6所示。转塔式刀库主要用于小型车削加工中心,用伺服电动机转位或机械方式转位。圆盘式刀库在卧式、立式加工中心上均可采用,侧挂型一般是挂在立式加工中心的立柱侧面,有刀库平面平行水平面或垂直水平面两种形式,前者靠刀库和轴的移动换刀,后者采用机械手换刀;圆盘式顶端型则把刀库设在立柱顶上。圆盘式刀库具有控制方便、结构刚性好的特点,通常用在刀具数量不多的加工中心上。链式刀库可以安装几十把甚至上百把刀具,占用空间较大,选刀时间较长,一般用在多通道控制的加工中心,通常加工过程和选刀过程可以同时进行。格子式刀库容量大,适用于作为加工单元使用的加工中心。

图11-4-6 刀库种类
3)机械手及换刀过程(https://www.daowen.com)
机械手是自动换刀装置的重要机构。它的功能是把用过的刀具送回刀库,并从刀库上取出新刀送入主轴。加工中心的换刀可分为有机械手换刀方式和无机械手换刀方式两大类。大多数加工中心都采用有机械手换刀方式。无机械手换刀方式只适用于40号刀柄以下的小型加工中心。
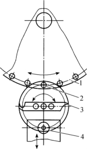
机械手的种类繁多,每个厂家都生产有自己独特的换刀机械手。图11-4-7、图11-4-8为机械手的典型形式。

图11-4-7 回转式单臂单爪机械手
1—刀库;2—换刀位置刀座;3—机械手;4—机床主轴

图11-4-8 回转式单臂双爪机械手
1—机械手;2—刀库;3—主轴;4—刀套;5—刀具
免责声明:以上内容源自网络,版权归原作者所有,如有侵犯您的原创版权请告知,我们将尽快删除相关内容。
