以曲柄的绘制为实例讲述旋转剖视图的绘制方法,如图7-144所示。
光盘路径
光盘\动画演示\第7章\曲柄.avi

图7-144 曲柄
操作步骤
设置图层。打开随书光盘中的文件:\原始文件\第7章\绘制曲柄.DWG,如图7-145所示。单击“默认”选项卡“图层”面板中的“图层特性”按钮
,弹出“图层特性管理器”对话框,新建1个图层,命名为“细实线”:颜色设为蓝色,其余属性默认。
绘制竖直辅助线。将“细实线”层置为当前层。单击“默认”选项卡“绘图”面板中的“构造线”按钮
,分别捕捉曲柄各个象限点及圆心,绘制6条竖直辅助线,如图7-146所示。

图7-145 曲柄

图7-146 绘制竖直辅助线
绘制水平辅助线。单击“默认”选项卡“绘图”面板中的“构造线”按钮
,在主视图下方适当位置处绘制水平直线,确定俯视图中曲柄最后面的轮廓线,并利用“偏移”命令将绘制的水平辅助线向下偏移12、7、3,结果如图7-147所示。
绘制俯视图轮廓线。
将“粗实线”层置为当前层。单击“默认”选项卡“绘图”面板中的“直线”按钮
,分别捕捉辅助线的交点,绘制直线:点1→点2→点3→点4→点5→点6→点7。重复“直线”命令,再分别捕捉辅助线的其他交点,绘制直线:点8→点9及点10→点11,结果如图7-148所示。

图7-147 绘制水平辅助线

图7-148 绘制直线
单击“默认”选项卡“修改”面板中的“圆角”按钮
,对绘制的直线进行倒圆角操作,圆角半径为2,结果如图7-149所示。
单击“默认”选项卡“修改”面板中的“镜像”按钮
,将绘制的粗实线,以最下端水平辅助线作为镜像线,进行镜像操作,结果如图7-150所示。

图7-149 倒圆角操作

图7-150 镜像操作
单击“默认”选项卡“修改”面板中的“删除”按钮
,删除所有的辅助线。
绘制俯视图中心线。将“中心线”层置为当前层。单击“默认”选项卡“绘图”面板中的“直线”按钮
,绘制中心线,命令行提示与操作如下:

方法相同,绘制右端中心线,结果如图7-151所示。
绘制俯视图。(https://www.daowen.com)
单击“默认”选项卡“修改”面板中的“镜像”按钮
,选取竖直中心线右端的所有图形,以竖直中心线为镜像线,进行镜像操作,结果如图7-152所示。

图7-151 绘制中心线

图7-152 镜像操作
将“粗实线”层置为当前层。单击“默认”选项卡“绘图”面板中的“构造线”按钮
,捕捉曲柄主视图中间直径为20圆的象限点及键槽端点,如图7-153所示,绘制3条竖直线。

图7-153 绘制构造线
单击“默认”选项卡“修改”面板中的“修剪”按钮
,对绘制的3条粗实线进行修剪,结果如图7-154所示。
将“细实线”层置为当前层。单击“默认”选项卡“绘图”面板中的“图案填充”按钮
,弹出“图案填充创建”对选项卡,选择“ANSI31”图案,选择俯视图中的填充区域填充剖面线,结果如图7-155所示,

图7-154 修剪构造线

图7-155 填充图案
补充
(1)应先假想按剖切位置剖开机件,然后将其中被倾斜剖切平面剖开的结构及其有关部分旋转到与选定的基本投影面平行后再进行投射。这里强调的是先剖开,后旋转,再投射,如图7-156所示。

图7-156 剖切位置
(2)在剖切平面后的其他结构,一般仍按原来位置投射,如图7-157所示主视图上的小孔在俯视图上的位置。
(3)当剖切后产生不完整要素时,应将此部分按不剖绘制,如图7-158所示。

图7-157 主视图上的小孔在俯视图上的位置

图7-158 剖切后产生不完整要素按不剖绘制
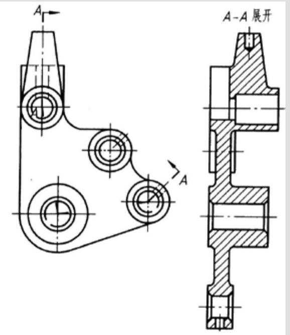
(4)采用旋转剖时必须按规定进行标注。如图7-159和图7-160所示

图7-159 连杆的旋转剖

图7-160 旋转剖的展开画法
免责声明:以上内容源自网络,版权归原作者所有,如有侵犯您的原创版权请告知,我们将尽快删除相关内容。
