复习思考题与练习
2-1 何谓地壳运动?地壳运动有哪些表现形式?
2-2 如何区分地层接触关系中的整合接触、平行不整合接触和角度不整合接触?地层接触关系与地壳运动有何关系?试根据清水河水库库区地层的接触关系,指出该区何时发生过什么形式的地壳运动?
2-3 什么叫岩层产状,它包括哪些要素?野外怎样测量岩层产状要素?如果某地岩层产状测量结果为145°∠20°,试详细说明它在地壳中的空间方位。
2-4 何谓地质构造?常见的地质构造有哪些类型?
2-5 褶曲的基本形式有哪些,在野外如何识别?用虚线恢复下列剖面图(图2-30)的褶曲形态,并说出褶曲名称。

图2-30 恢复褶曲形态
2-6 阅读清水河水库库区工程地质图,分析图中有哪些褶曲?
2-7 褶曲构造对水工建筑物有何影响,试以选坝址为例说明。比较褶曲构造对清水河水库梅村坝址和羊坊坝址的影响。
2-8 构造裂隙有哪些类型,其特征如何?利用裂隙玫瑰花图,怎样分析裂隙发育规律及其对坝基岩体稳定和渗漏的影响?
2-9 断层有哪些要素?根据断盘的相对位移,说出清水河水库库区断层的类型、性质和特征。
2-10 某地区的地质平面图如图2-31 所示,图中有三条坝线可供比较选择。试分析:①该地区有无褶曲,如有说出其形态类型;②从褶曲构造和地层岩性综合考虑,选出一条最优坝线。(https://www.daowen.com)

图2-31 某地区的地质平面图
1—志留系石英砂岩、粉砂岩;2—奥陶系石灰岩;3—寒武系页岩和石灰岩;4—岩层界线;5—岩层产状

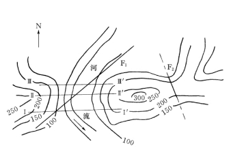
图2-32 某河段地质平面示意图
2-11 某一河段平面图如图2-32 所示,F1 和F2 为断层,图中有三条土坝坝线可供比较选择。试分析:①F1 断层对三条坝线的影响,选择受断层影响相对较小的一条坝线;②F2断层对该水利工程可能造成的影响和危害。
2-12 什么是岩体结构,岩体与岩石有何不同?按岩体质量系数,岩体可分为哪几种类型?试述不同结构类型岩体的工程地质性质。
2-13 地震震级和地震烈度有何不同?多大地震便会造成建筑物破坏?工程建筑物进行抗震设计时,设计烈度的确定要考虑哪些因素?
2-14 为什么说地震是现今地壳运动的一种特殊表现形式?你对地震是一种地质作用,同时又是一种不良的地质现象是如何理解的?
2-15 地质图反映哪些内容?地层岩性、地质构造在地质图上如何表示?怎样阅读地质图?
2-16 在地质平面图上怎样切绘地质剖面图?利用教材后面附图二“清水河水库梅村坝址区工程地质图”,沿图上甲—甲线和乙—乙线,练习切绘地质剖面图。