填空题(本大题共有10小题,每小题4分,共40分)

二、填空题(本大题共有10小题,每小题4分,共40分)

16.据报道,日本政府已决定将福岛核电站的高放射性冷却水排入太平洋。核废水中的氚一旦进入人体,可能从人体内部对人造成辐射损害,如果人类持续暴露在氚辐射下,可能会导致细胞死亡、DNA遗传损伤。氚原子可以用符号T表示,其相对原子质量为3。

第16题图

(1)氚原子和普通的氢原子都是氢的同位素原子,它们具有相同的________。

(2)由氚原子和普通氧原子构成的超重水分子(T2O),它的相对分子质量为________。

17.袁隆平的“海水稻”团队成功在柴达木盆地试种“海水稻”。

第17题图

(1)“海水稻”能从盐碱地吸收水分的主要原因是其根毛细胞的细胞液浓度________(填“大于”“等于”或“小于”)周围溶液浓度。

(2)如图为水稻种子在萌发成幼苗的过程中细胞干重变化的曲线,水稻幼苗开始进行光合作用的时间是在____________(填“b点之前”“b点”或“b点之后”)。

18.思维模型的建构既方便于问题的解决,又能促进深度学习。如图甲是小科同学对解决“气密性检查”类问题建构的思维模型:

结合小科建构的思维模型,完成图乙装置气密性检查相关操作的问题:

(1)操作一:往锥形瓶中加水至如图乙所示位置,从建模的角度分析,该操作归属于上述思维模型中的________________。

(2)操作二:往锥形瓶中加水后,接下来应该是从________(填“A”或“B”)管向瓶内吹气。

19.某兴趣小组用相同的若干块白棉布在四份不同质量分数的酒精溶液中浸透后,取出点火,做了“烧不坏的棉布”的实验。其实验结果如下:

(1)结合本次实验数据,表演“烧不坏的棉布”魔术时可以选用的最适合的酒精溶液的浓度为________。

(2)根据所学知识,分析实验②③“棉布不燃烧”现象产生的原因:__________________________。

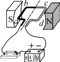
20.如图,这是________(填“发电机”或“电动机”)原理图,若将图中的磁体的S极和N极交换位置,其他保持不变,则闭合开关时,线圈ab边所受力的方向_________________(填“改变”“不改变”或“可能变也可能不变”)。

第20题图

21.如图是某化学变化的微观示意图,图中不同圆球代表不同原子。

第21题图

(1)根据以上示意图,写出该反应的化学方程式:__________________________(高温条件下水呈气态)。

(2)若1个CO2分子的质量为a千克,一个CO分子的质量为b千克,则以一个氧原子的1/16作为相对原子质量的标准,则CO的相对分子质量为________(用a、b表示)。

22.如图甲、乙模拟呼吸运动的两个过程。

第22题图

(1)乙图模拟________(填“吸气”或“呼气”)的过程。

(2)甲图中④模拟的结构处于________(填“收缩”或“舒张”)状态。

23.测电笔可以帮助我们辨别家庭电路中的火线和零线。图甲为测电笔的结构示意图。

(1)若测电笔氖管发光时的电流为0.36mA,人体的安全电压为不大于36V,则当测电笔的笔尖接触到火线时,要使人能处于安全状态,测电笔内电阻的阻值至少应为________Ω(不计氖管发光时的电阻)。

(2)图中乙、丙所示为使用该测电笔的两种方法,正确的是________。

24.气孔是植物叶表皮组织上的小孔,由两个保卫细胞围绕而成,是气体出入叶片的门户。

(1)从图甲中可知,保卫细胞与表皮细胞的最大区别是_____________________________________。

(2)小科用废弃的羽毛球拍、绿豆、透明硬塑料板以及标签纸(其上绘制有保卫细胞)等制作了叶片结构模型。透明硬塑料板可以模拟表皮,羽毛球拍中的网格线可以模拟叶脉,绿豆可以模拟________。

25.2021年5月19日,“祝融号”火星车登陆火星表面。

(1)若把火星表层“土壤”改造成类似地球上的土壤来栽培植物。改造过程中,不需要提供的是____________(填地球土壤的成分)。

(2)假如环境条件成熟,要使火星在自然条件下形成类似于地球土壤的火星土壤,请排出先后顺序:_______(用序号排序)。

①低等植物着生,积累有机质和养分,形成原始火星土壤;②岩石风化;③形成矿物颗粒,释放矿物成分;④腐殖质不断积累,成熟火星土壤形成。