【实验仪器】

【实验仪器】

ZKY-GD-4智能光电效应实验仪。

仪器由汞灯及汞灯电源、滤色片、光阑、光电管、基座、智能测试仪构成,仪器结构如图3-6所示,测试仪的调节面板如图3-7所示。测试仪有手动和自动两种工作模式,具有数据自动采集、存储、实时显示采集数据、动态显示采集曲线(连接示波器,可同时显示5个存储区中存储的曲线)及采集完成后查询数据的功能。

图示

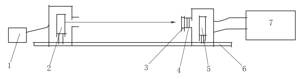
图3-6 仪器结构示意图

1—汞灯电源;2—汞灯;3—滤色片;4—光阑;5—光电管;
6—基座;7—智能测试仪(https://www.daowen.com)

图示

图3-7 仪器调节面板示意图