习 题

图2.7 链状高分子与胶体颗粒的吸附桥连

除了长链状有机高分子物质外,无机高分子物质及其胶体颗粒,如铝盐、铁盐的水解产物等,也都可以产生吸附架桥作用。

4)沉淀物网捕作用机理

沉淀物网捕,又称为卷扫,是指向水中投加含金属离子的混凝剂(如硫酸铝、石灰、氯化铁等高价金属盐类),当药剂投加量和溶液介质的条件足以使金属离子迅速生成氢氧化物沉淀时,所生成的难溶分子就会以胶体颗粒或细微悬浮物作为晶核形成沉淀物,即所谓的网捕、卷扫水中胶粒,以致产生沉淀分离。

在水处理工程中,以上所述的4种机理有可能会同时发挥作用,只是在特定情况下以某种机理为主。

2.1.3 影响混凝效果的主要因素

1)水温

水温对混凝效果有明显影响。低温水絮凝体形成缓慢,絮凝颗粒细小、松散,沉淀效果差。水温低时,即使过量投加混凝剂也难以取得良好的混凝效果。其原因主要有以下三点:

①水温低会影响无机盐类水解。无机盐混凝剂水解是吸热反应,低温时水解困难,造成水解反应慢。如硫酸铝,水温降低10℃,水解速度常数降低2~4倍;水温在5℃时,硫酸铝水解速度极其缓慢。

②低温水的黏度大,使水中杂质颗粒的布朗运动强度减弱,碰撞机会减少,不利于胶粒凝聚,混凝效果下降,同时,水流剪力增大,影响絮凝体的成长。这就是冬天混凝剂用量比夏天多的原因。

③低温水中胶体颗粒水化作用增强,妨碍胶体凝聚,而且水化膜内的水由于黏度和重度增大,影响了颗粒之间的黏附强度。

为提高低温水混凝效果,常用的办法是投加高分子助凝剂,如投加活化硅酸后,可对水中负电荷胶体起到桥连作用。如果与硫酸铝或三氯化铁同时使用,可降低混凝剂的用量,提高絮凝体的密度和强度。

2)pH

混凝过程中要求有一个最佳pH,使混凝反应速度达到最快,絮凝体的溶解度最小。这个pH可以通过试验测定。混凝剂种类不同,水的pH对混凝效果的影响程度也不同。

对于铝盐与铁盐混凝剂,不同的pH,其水解产物的形态不同,混凝效果也各不相同。对硫酸铝来说,用于去除浊度时,最佳pH为6.5~7.5;用于去除色度时,pH一般为4.5~5.5。对于三氯化铝来说,适用的pH范围较硫酸铝要宽,用于去除浊度时,最佳pH为6.0~8.4;用于去除色度时,pH一般为3.5~5.0。

高分子混凝剂的混凝效果受水的pH影响较小,故对水的pH变化适应性较强。

3)碱度

水中碱度高低对混凝起着重要的作用和影响,有时会超过原水pH的影响程度。由于水解过程中不断产生H,导致水的pH下降。要使pH保持在最佳范围以内,常需要加入碱使中和反应充分进行。天然水中均含有一定碱度(通常是HCO

3),对pH有缓冲作用:

当原水碱度不足或混凝剂投量很高时,天然水中的碱度不足以中和水解反应产生的H,水的pH将大幅度下降,不仅超出了混凝剂的最佳范围,甚至会影响到混凝剂的继续水解,此时应投加碱剂(如石灰)以中和混凝剂水解过程中产生的H

4)悬浮物含量

浊度高低直接影响混凝效果,过高或过低都不利于混凝。浊度不同,混凝剂用量也不同。对于去除以浑浊度为主的地表水,主要的影响因素是水中的悬浮物含量。

水中悬浮物含量过高时,所需铝盐或铁盐混凝剂投加量将相应增加。为了减少混凝剂用量,通常投加高分子助凝剂,如聚丙烯酰胺及活化硅酸等。对于高浊度原水处理,采用聚合氯化铝具有较好的混凝效果。

水中悬浮物浓度很低时,颗粒碰撞速率大大减小,混凝效果差。为提高混凝效果,可以投加高分子助凝剂,如活化硅酸或聚丙烯酰胺等,通过吸附架桥作用,使絮凝体的尺寸和密度增大;投加黏土类矿物颗粒,可以增加混凝剂水解产物的凝结中心,提高颗粒碰撞速率并增加絮凝体密度;也可以在原水投加混凝剂后,经过混合直接进入滤池过滤。

5)水力条件

要使杂质颗粒之间或杂质与混凝剂之间发生絮凝,一个必要条件是使颗粒相互碰撞。推动水中颗粒相互碰撞的动力来自两个方面,一是颗粒在水中的布朗运动,一是在水力或机械搅拌作用下所造成的流体运动。由布朗运动造成的颗粒碰撞聚集称为“异向絮凝”,由流体运动造成的颗粒碰撞聚集称为“同向絮凝”。

颗粒在水分子热运动的撞击下所作的布朗运动是无规则的,当颗粒完全脱稳后,一经碰撞就发生絮凝,从而使小颗粒聚集成大颗粒。由布朗运动造成的颗粒碰撞速率与水温成正比,与颗粒的数量浓度平方成正比,而与颗粒尺寸无关。实际上,只有小颗粒才具有布朗运动。随着颗粒粒径增大,布朗运动将逐渐减弱。当颗粒粒径大于1μm时,布朗运动基本消失。因此,要使较大的颗粒进一步碰撞聚集,还要靠流体运动的推动来促使颗粒相互碰撞,即进行同向絮凝。

同向絮凝要求有良好的水力条件。适当的紊流程度,可为细小颗粒创造相互碰撞接触机会和吸附条件,并防止较大的颗粒下沉。紊流程度太强烈,虽然相碰接触机会更多,但相碰太猛,也不能互相吸附,并容易使逐渐长大的絮凝体破碎。因此,在絮凝体逐渐成长的过程中,应逐渐降低水的紊流程度。

控制混凝效果的水力条件,往往以速度梯度G和GT作为重要的控制参数。

速度梯度是指相邻两水层中两个颗粒的速度差与垂直于水流方向的两流层之间距离的比值,用来表示搅拌强度。流速增量越大,间距越小,颗粒越容易相互碰撞。可以认为速度梯度G实质上反映了颗粒碰撞的机会或次数。

GT是速度梯度G与水流在混凝设备中的停留时间T之乘积,可间接地表示在整个停留时间内颗粒碰撞的总次数。

在混合阶段,异向絮凝占主导地位。药剂水解、聚合及颗粒脱稳进程很快,故要求混合快速剧烈,通常搅拌时间为10~30s,一般G为500~1000s-1。在絮凝阶段,同向絮凝占主导地位。絮凝效果不仅与G有关,还与絮凝时间T有关。在此阶段,既要创造足够的碰撞机会和良好的吸附条件,让絮体有足够的成长机会,又要防止生成的小絮体被打碎,因此,搅拌强度要逐渐减小,反应时间相对加长,一般在15~30min,平均G为20~70s-1,平均GT为1×104~1×105

2.1.4 混凝剂

为使胶体颗粒脱稳而聚集所投加的药剂,统称混凝剂。混凝剂具有破坏胶体稳定性和促进胶体絮凝的功能。习惯上把低分子电解质称为凝聚剂,这类药剂主要通过压缩双电层和电性中和机理起作用,把主要通过吸附架桥机理起作用的高分子药剂称为絮凝剂。在混凝过程中如果单独采用混凝剂不能取得较好的效果时,可以投加某类辅助药剂用来提高混凝效果,这类辅助药剂统称为助凝剂。

对混凝剂的基本要求是:混凝效果好,对人体健康无害,适应性强,使用方便,货源可靠,价格低廉。

混凝剂种类很多,按化学成分可分为无机和有机两大类,如表2.1所示。

无机混凝剂应用历史悠久,广泛用于饮用水、工业水的净化处理以及地下水、废水淤泥的脱水处理等。无机混凝剂按金属盐种类可分为铝盐系和铁盐系两类;按阴离子成分又可分为盐酸系和硫酸系;按分子量可分为低分子体系和高分子体系两大类。

有机混凝剂虽然价格低廉,但效果较差,特别是在某些冶炼过程中,实质上是加入了杂质,故应用较少。近20年来有机混凝剂的使用发展迅速。这类混凝剂可分为天然高分子混凝剂(褐藻酸、淀粉、牛胶)和人工合成高分子混凝剂(聚丙烯酰胺、磺化聚乙烯苯、聚乙烯醚等)两大类。由于天然聚合物易受酶的作用而降解,已逐步被不断降低成本的合成聚合物所取代。

表2.1 混凝剂的类型及名称

1)无机类混凝剂

(1)无机盐类

无机低分子混凝剂即普通无机盐,包括硫酸铝、氯化铝、硫酸铁、氯化铁等。在水处理混凝过程中,投加铝盐或铁盐后,发生金属离子水解和聚合反应过程,其产物兼有凝聚和絮凝作用的特性。无机电解质在水中发生电离水解生成带电离子,其电性与水中颗粒所带电性相反,水解离子的价态越高,凝聚作用越强。但用于水处理时,无机低分子混凝剂成本高,腐蚀性大,在某些场合净水效果还不理想

①硫酸铝

硫酸铝使用方便,混凝效果较好,是使用历史最久、目前应用仍较广泛的一种无机盐混凝剂。净水用的明矾就是硫酸铝和硫酸钾的复盐Al2(SO43·K2 SO4·24H2 O,其作用与硫酸铝相同。硫酸铝的分子式是Al2(SO43·18H2 O,其产品有精制和粗制两种。精制硫酸铝是白色结晶体。粗制硫酸铝质量不稳定,价格较低,其中Al2 O3量为10.5%~16.5%,不溶杂质含量为20%~30%,增加了药液配制和排除废渣等方面的困难。硫酸铝易溶于水,pH在5.5~6.5,水溶液呈酸性反应,室温时溶解度约为50%。

固体硫酸铝Al2(SO43·18H2 O溶于水后,立即离解出铝离子,且常以[Al(H2 O)63+的水合形态存在。在一定条件下,经水解、聚合或配合反应可形成多种形态的配合物或聚合物以及氢氧化铝Al(OH)3。各种物质组分的存在与否及含量多少,取决于铝离子水解时的条件,包括水温、水的硬度、pH和硫酸铝投加量等。

当pH<3时,水中的铝以[Al(H2 O)63+形态存在,[Al(H2 O)63+可起压缩双电层作用;在pH=4.5~6.0时,水中产生较多的多核羟基配合物,如[Al(OH)45+及[Al13 O4(OH)247+等,这些物质对负电荷胶体起电性中和作用,凝聚体比较密实;在pH=7.0~7.5时,水解产物以电中性氢氧化铝聚合物[Al(OH)3n为主,可起吸附架桥作用,同时也存在某些羟基配合物的电性中和作用。天然水的pH一般在6.5~7.8,铝盐的混凝作用主要是吸附架桥和电性中和。当铝盐投加量超过一定限度时,会产生“胶体保护”作用,使脱稳胶粒电荷变号或使胶粒被包卷而重新稳定;当铝盐投加量继续增大,超过氢氧化铝溶解度而产生大量氢氧化铝沉淀物时,则起网捕和卷扫作用。实际上,在一定的pH下,几种作用都可能同时存在,只是程度不同。

水温低时水解困难,形成的絮体较为松散。硫酸铝使用时水的有效pH范围较窄,与原水硬度有关。对于软水,pH为5.7~6.6;中等硬度的水,pH为6.6~7.2;较高硬度的水,pH为7.2~7.8。

在投加硫酸铝时应充分考虑上述因素,避免加入过量硫酸铝后使水的pH降至其适宜的数值以下,不仅浪费药剂,而且处理后的水质发浑。

除了固体硫酸铝外,还有液体硫酸铝。液体硫酸铝制造工艺简单,含Al2 O3量约为6%,一般用坛装或灌装,通过车、船运输。液体硫酸铝使用范围与固体硫酸铝差不多,但配制和使用均比固体硫酸铝方便得多,近年来在南方地区使用较为广泛。

②硫酸亚铁

硫酸亚铁分子式为Fe2 SO4·7H2 O,半透明绿色晶体,又称为绿矾。易于溶水,水温20℃时溶解度为21%,硫酸亚铁离解出的Fe2+只能生成最简单的单核络合物,所以没有三价铁盐那样良好的混凝效果。残留在水中的Fe2+会使处理后的水带色,Fe2+与水中的某些有色物质作用后会生成颜色更深的溶解物。因此在使用硫酸亚铁时,应将二价铁先氧化为三价铁,而后再混凝作用。

处理饮用水时,硫酸亚铁的重金属含量应极低,应考虑在最高投药量处理后,水中的重金属含量应在国家饮用水水质标准的限度内。

铁盐使用时,水的pH的适用范围较宽,为5.0~11。

③三氯化铁

三氯化铁分子式为FeCl3·6H2 O,是黑褐色晶体,也是一种常用的混凝剂,有强烈吸水性,极易溶于水,其溶解度随着温度的上升而增加,形成的矾花沉淀性能好,絮体结得大,沉淀速度快。处理低温水或低浊水时效果要比铝盐好。我国供应的三氯化铁有无水物、结晶水物和液体。液体、晶体物或受潮的无水物具有强腐蚀性,尤其是对铁的腐蚀性最强。对混凝土也有腐蚀,对塑料管也会因发热而引起变形。因此调制和加药设备必须考虑用耐腐蚀器材,例如采用不锈钢的泵轴运转几星期就腐蚀,一般采用钛制泵轴有较好的耐腐性能。三氯化铁pH的适用范围较宽,但处理后的水的色度比用铝盐高。

(2)无机高分子类

无机高分子絮凝剂是20世纪60年代在传统的铝盐、铁盐的基础上发展起来的一类新型的水处理剂。药剂加入水中后,在一定时间内吸附在颗粒物表面,以其较高的电荷及较大的分子量发挥电中和及黏结架桥作用。它比原有低分子絮凝剂可成倍地提高效能,且价格相对较低,因而有逐步成为主流药剂的趋势。目前无机高分子絮凝剂已有相当规模的生产和应用,聚合类药剂的生产占絮凝剂总产量的30%~60%。近年来,研制和应用聚合铝、铁、硅及各种复合型絮凝剂成为热点。

①聚合氯化铝

聚合氯化铝(PAC)是目前生产和应用技术成熟、市场销量最大的无机高分子絮凝剂。在实际应用中,聚合氯化铝具有比传统絮凝剂用量省、净化效能高、适应性宽等优点,比传统低分子絮凝剂用量少1/3~1/2,成本低40%以上,因此在国内外已得到迅速的发展。

聚合氯化铝也称碱式氯化铝,化学式表示为[Al2(OH)n·Cl6-nm,其中n可取1~5的任何整数,m为≤10的整数。这个化学式实际指m个Al2(OH)n·Cl6-n(称羟基氯化铝)单体的聚合物。

聚合氯化铝中OH与Al的比值对混凝效果有很大关系。一般用碱化度B来表示。

例如n=4时,碱化度B为:

一般来说,碱化度越高,其黏结架桥性能越好,但是因接近[Al(OH)3n而易生成沉淀,稳定性较差。目前聚合氯化铝产品的碱化度一般在50%~80%。

聚合氯化铝的外观状态与盐基度、制造方法、原料、杂质成分及含量有关。盐基度<30%时为晶状固体;30%~60%为胶状固体;40%~60%为淡黄色透明液体;>60%时为无色透明液体,玻璃状或树脂状固体;>70%时的固体状不易潮解,易保存。

聚合氯化铝作为混凝剂处理水时有以下特点:对污染严重或低浊度、高浊度、高色度和受微污染的原水都可达到好的混凝效果;水温低时,仍可保持稳定的混凝效果,因此在我国北方地区更为适用;矾花的形成较快,颗粒大而重,沉淀性能好,投药量一般比硫酸铝低;pH为5~9,当过量投加时也不会像硫酸铝那样造成水浑浊的反效果;碱化度比其他铝盐、铁盐高,因此药液对设备的侵蚀作用小,且处理后水的pH和碱度下降较小。

聚合氯化铝的混凝机理与硫酸铝相同,而聚合氯化铝可根据原水水质的特点来控制制造过程中的反应条件,从而制取所需要的最适宜的聚合物,当投入水中,水解后即可直接提供高价聚合离子,达到优异的混凝效果。

除了聚合氯化铝外,聚合硫酸铝在处理天然河水时,剩余浊度的质量分数低于4μg/g,CODCr低于6mg/L,脱色效果明显;在处理含氟废水时,F含量低于104μg/g。聚合硫酸铝除浊效果显著,并且有较宽的温度和pH适用范围。

②聚合硫酸铁

聚合硫酸铁(PFS)是一种红褐色的粘性液体,是碱式硫酸铁的聚合物,其化学式为[Fe2(OH)n·(SO43-n/2m,其中n为<2,m为>10的整数。聚合硫酸铁具有絮凝体形成速度快、絮团密实、沉降速度快、对低温高浊度原水处理效果好、适用水体的pH范围广等特性,同时还能去除水中的有机物、悬浮物、重金属、硫化物及致癌物,无铁离子的水相转移,脱色、脱油、除臭、除菌功能显著,它的腐蚀性远比三氯化铁小。与其他混凝剂相比,有着很强的市场竞争力,其经济效益也十分明显,值得大力推广应用。

③活化硅酸

活化硅酸(AS)又称为活化水玻璃、泡化碱,其分子式为Na2 O·xSiO2·yH2 O。活化硅酸是粒状高分子物质,属阴离子型絮凝剂,其作用机理是靠分子链上的阴离子活性基团与胶体微粒表面间的范德华力、氢键作用而引起的吸附架桥作用,而不具有电中和作用。活化硅酸是在20世纪30年代后期作为混凝剂开始在水处理中得到应用的。活化硅酸呈真溶液状态,在通常的pH条件下其组分带有负荷,对胶体的混凝是通过吸附架桥机理使胶体颗粒粘连,因此常常称之为絮凝剂或助凝剂。

活化硅酸一般在水处理现场制备,无商品出售。因为活化硅酸在储存时易析出硅胶而失去絮凝功能。实质上活化硅酸是硅酸钠在加酸条件下聚合反应进行到一定程度的中间产物,其电荷、大小、结构等组分特征主要取决于水解反应起始的硅浓度、反应时间和反应时的pH。活化硅酸适用于硫酸亚铁与铝盐混凝剂,可缩短混凝沉淀时间,节省混凝剂用量。在使用时宜先投入活化硅酸。在原水浑浊度低、悬浮物含量少及水温较低(14℃以下)时使用,效果更为显著。在使用时要注意加注点,要有适宜的酸化度和活化时间。

2)有机类混凝剂

有机类混凝剂,指线型高分子有机聚合物,即通常所说的絮凝剂。其种类按来源可分为天然高分子絮凝剂和人工合成的高分子絮凝剂;按反应类型可分为缩合型和聚合型;按官能团的性质和所带电性可分为阴离子型、阳离子型、非离子型和两性型。凡基团离解后带正电荷者称阳离子型,带负电荷者称阴离子型,分子中既含有正电荷基团又含有负电荷基团者称两性型,若分子中不含可离解基团者称非离子型。常用的有机类混凝剂,主要是人工合成的有机高分子混凝剂,其最大特点是可根据使用需要,采用合成的方法对碳氢链的长度进行调节。同时,在碳氢链上可以引入不同性质的官能团。这些有效官能团可以强烈吸附细微颗粒,在微粒与微粒之间形成架桥作用。

根据电性吸附原理,如果颗粒表面带正电荷,则应采用阴离子型絮凝剂;颗粒表面带负电荷,则应采用阳离子或非离子型絮凝剂。一般阴离子絮凝剂适用于处理氧化物和含氧酸盐,阳离子絮凝剂适用于处理有机固体。对于长时间放置能沉降的悬浮液,使用阴离子型或非离子型的高分子絮凝剂可以促进其絮凝速度。对于不能自然沉降的胶体溶液,浊度较高的废水,单独使用阳离子型的高分子絮凝剂,就可取得较佳的絮凝效果。阴离子、阳离子和非离子高分子絮凝剂由于自身应用的范围限制,故都将逐渐被两性高分子絮凝剂取代。

两性高分子絮凝剂在同一高分子链节上兼具阴离子、阳离子两种基团。在不同介质中均可应用。对废水中由阴离子表面活性剂所稳定的分散液、乳浊液及各类污泥或由阴离子所稳定的各种胶体分散液,均有较好的絮凝及污泥脱水功效。

世界各国研制的两性高分子水处理剂按其原料来源可分为天然高分子改性和化学合成两大类。天然改性型两性高分子絮凝剂大体可分为两性淀粉、两性纤维素、两性植物胶等。化学合成药剂具有产品性能稳定、容易根据需要控制合成产物分子量等特点。目前研究较多的化学合成型两性高分子絮凝剂主要有聚丙烯酰胺类两性高分子。

有机混凝剂品种很多,以聚丙烯酰胺为代表。其优点是投加量少、存放设施小、净化效果好。但对其毒性,各国学者看法不一,有待深入研究。聚丙烯酰胺(PAM)是非离子型聚合物的主要品种,另外还有聚氧化乙烯(PEO)。

聚丙烯酰胺又称三号絮凝剂,是使用最为广泛的人工合成有机高分子絮凝剂。它是由丙烯酰胺聚合而成的有机高分子聚合物,无色、无味、无嗅、易溶于水,没有腐蚀性。聚丙烯酰胺在常温下稳定,高温、冰冻时易降解,并降低絮凝效果。故在储存和配制投加时,注意温度控制在2~55℃。

聚丙烯酰胺的聚合度可高达20000~90000,相应的相对分子质量高达150万~600万。它的混凝效果在于对胶体表面具有强烈的吸附作用,在胶粒之间形成桥联。聚丙烯酰胺每一链节中均含有一个酰胺基(—CONH2)。由于酰胺基之间的氢键作用,线性分子往往不能充分伸展开来,致使桥联作用削弱。

通常将PAM在碱性条件下(pH>10)进行部分水解,生成阴离子型水解聚合物HPAM。PAM经部分水解后,部分酰胺基带负电荷,在静电斥力下,高分子得以充分伸展,吸附架桥得到充分发挥。由酰胺基转化为羧基的百分数称水解度。水解度过高负电性过强,对絮凝也产生阻碍作用。一般控制水解度在30%~40%较好。通常以HPAM作助凝剂以配合铝盐或铁盐作用,效果较为显著。

3)复合类混凝剂

(1)复合型无机高分子混凝剂

复合型无机高分子混凝剂是在普通无机高分子絮凝剂中引入其他活性离子,以提高药剂的电中和能力,诸如聚铝、聚铁、聚活性硅胶及其改性产品。王德英等研制的聚硅酸硫酸铝,其活性较好,聚合度适宜,不易形成凝胶,絮凝效果显著。用于处理低浊度水时,其效果优于PAC和PFS。此外,为了改善低温、低浊度水的净化效果,人们又研制开发出一种聚硅酸铁(PSF),这种药剂处理低温低浊水,比硫酸铁的絮凝效果有明显的优越性:用量少,投料范围宽,絮团形成时间短且颗粒大而密实,可缩短水样在处理系统中的停留时间,对处理水的pH基本无影响。

(2)无机唱有机高分子混凝剂复合使用

无机高分子混凝剂对含各种复杂成分的水处理适应性强,可有效除去细微悬浮颗粒,但生成的絮体不如有机高分子生成的絮体大。单独使用无机混凝剂投药量大,目前已很少这样使用。

与无机药剂相比,有机高分子絮凝剂用量小,絮凝速度快,受共存盐类、介质pH及环境温度的影响小,生成污泥量也少;而且有机高分子絮凝剂分子可带—COO—、—NH、—SO3、—OH等亲水基团,可具链状、环状等多种结构,有利于污染物进入絮体,脱色性好。许多无机絮凝剂只能除去60%~70%的色度,而有些有机絮凝剂可除去90%的色度。

由于某些有机高分子絮凝剂因其水解、降解产物有毒,合成产物价格较高,现多以无机高分子絮凝剂与有机高分子絮凝剂复合使用,或以无机盐的存在与污染物电荷中和,促进有机高分子絮凝剂的作用。

4)助凝剂

当单独使用某种絮凝剂不能取得良好效果时,还需要投加助凝剂。助凝剂是指与混凝剂一起使用,以促进水的混凝过程的辅助药剂。助凝剂通常是高分子物质。其作用是为了改善絮凝体结构,促使细小而松软的絮粒变得粗而密实,调节和改善混凝条件。

助凝剂的作用机理主要是吸附架桥。例如对于低温、低浊水,采用铝盐或铁盐混凝剂时,形成的絮粒一般细小而松散,不易沉淀;当投入少量活化硅酸时,絮凝体的尺寸和密度就会增大,沉速加快。

水处理常用助凝剂有骨胶、聚丙烯酰胺及其水解产物、活化硅酸、海藻酸钠等。

骨胶是一种粒状或片状动物胶,是高分子物质,相对分子质量在3000~80000,骨胶易溶于水,无毒、无腐蚀性,与铝盐或铁盐配合使用,效果显著。其价格比铝盐和铁盐高,使用较麻烦,不能预制保存,需要现场配制,即日使用,否则会变成冻胶。

在水处理过程中还会用到其他的一些种类助凝剂,按助凝剂的功能不同,可以分为调整剂、絮体结构改良剂和氧化剂3种类型。

①调整剂。在水的pH不符合工艺要求时,或在投加混凝剂后pH变化较大时,需要投加pH调整剂。常用的pH调整剂包括石灰、硫酸和氢氧化钠等。

②絮体结构改良剂。当生成的絮体较小且松散易碎时,可投加絮体结构改良剂以改善絮体的结构,增加其粒径、密度和强度,例如采用活化硅酸、黏土等。

③氧化剂。当水中有机物含量高时易起泡沫,使絮凝体不易沉降。这时可以投加氯气、次氯酸钠、臭氧等氧化剂来破坏有机物,从而提高混凝效果。

5)微生物絮凝剂

微生物絮凝剂,指由微生物的自身产生的、具有高效絮凝作用的天然高分子物质。具有分泌絮凝剂能力的微生物称为絮凝剂产生菌。微生物絮凝剂主要包括从微生物细胞壁提取物、利用微生物细胞代谢产物和直接利用微生物细胞等形式的絮凝剂。

许多带电量较高的微生物,如浮游藻类等,都有可能选择性地吸附到矿物表面,改变矿物表面电性而使矿粒互相絮凝沉降。带电量较高、疏水性也较强的微生物如草分枝杆菌等,吸附于矿物表面不但使矿物絮凝沉降速度加快,得到的絮团也更紧密。由于微生物絮凝剂的非特异性的絮凝和沉淀性能,它在水处理方面的巨大潜能已引起人们的普遍重视。

与有机合成高分子絮凝剂和无机絮凝剂相比,微生物絮凝剂具有高效、安全、无毒和无二次污染等优点,但目前对其的研究还主要停留在高效微生物絮凝剂的产生菌种的分离、筛选和培养上,所以微生物絮凝剂还未能大规模应用于水处理上。微生物絮凝剂是当今一种最具希望的絮凝剂,有着广阔的研究和发展前景。

2.1.5 混凝过程

水处理过程中,向水中投加药剂并加以混合,使水中的胶体物质产生凝聚或絮凝,这一综合过程称为混凝过程。凝混过程包括药剂的溶解、配制、计量、投加、混合和反应等几个部分。

1)混凝剂的配制与投加

混凝剂投加分干法投加和湿法投加两种方式。

干法投加是把药剂直接投放到被处理的水中。干法投加劳动强度大,投配量较难掌握和控制,对搅拌设备要求高。目前国内已很少使用。

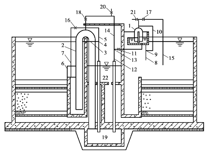
湿法投加是目前普遍采用的投加方式。将混凝剂配成一定浓度的溶液,直接定量投加到原水中。用以投加混凝剂溶液的投药系统,包括溶解池、溶液池、计量设备、提升设备和投加设备等。药剂的溶解和投加过程如图2.8所示。

图2.8 药剂的溶解和投加过程

(1)混凝剂溶解和溶液配制

溶解池是把块状或粒状的混凝剂溶解成浓溶液,对难溶的药剂或在冬季水温较低时,可用蒸汽或热水加热。一般情况下只要适当搅拌即可溶解。药剂溶解后流入溶液池,配成一定浓度。在溶液池中配制时同样要进行适当搅拌。搅拌时可采用水力、机械或压缩空气等方式。一般药量小时采用水力搅拌,药量大时采用机械搅拌。凡和混凝剂溶液接触的池壁、设备、管道等,应根据药剂的腐蚀性采取相应的防腐措施。

大中型水厂通常建造混凝土溶解池,一般设计两格,交替使用。溶解池通常设在加药间的底层,为地下式。溶解池池顶高出地面0.2m,底坡应大于2%,池底设排渣管,超高为0.2~0.3m。溶解池容积可按溶液池容积的20%~30%计算。根据经验,中型水厂溶解池容积为0.5~0.9m3/(104m3·d),小型水厂为1m3/(104m3·d)。

溶液池是配制一定浓度溶液的设施。溶解池内的浓药液送入溶液池后,用自来水稀释到所需浓度以备投加。溶液池容积按式(2.2)计算:

式中:W——溶液池容积,m3

 Q——处理水量,m3/h;

 a——混凝剂最大投加量,mg/L;

 b——溶液浓度,一般取5%~20%(按商品固体质量计);

 n——每日配制次数,一般不超过3次。

(2)混凝剂投加

通过计量或定量设备将药液投入到原水中,并能够随时调节。一般中小水厂可采用孔口计量,常用的有苗嘴和孔板,如图2.9所示。在一定液位下,一定孔径的苗嘴出流量为定值。当需要调整投药量时,只要更换苗嘴即可。标准图中苗嘴共有18种规格,其孔径从0.6mm到6.5mm。为保持孔口上的水头恒定,还要设置恒位水箱,如图2.10所示。为实现自动控制,可采用计量泵、转子流量计或电磁流量仪等。

图2.9 苗嘴和孔板

图2.10 恒位水箱

投加方式分为重力投加或压力投加,一般根据水厂高程布置和溶液池位置的高低来确定投加方式。

①重力投加,是利用重力将药剂投加在水泵吸水管内(图2.11)或吸水井中的吸水喇叭口处(图2.12),利用水泵叶轮混合。取水泵房离水厂加药间较近的中小型水厂采用这种办法较好。图中水封箱是为防止空气进入吸水管而设的。如果取水泵房离水厂较远,可建造高位溶液池,利用重力将药剂投入水泵压水管上,如图2.13所示。

图2.11 吸水管内重力投加

图2.12 吸水喇叭口处重力投加

图2.13 高位溶液池重力投加

图2.14 应用计量泵压力投加

②压力投加,是利用水泵或水射器将药剂投加到原水管中,适用于将药剂投加到压力水管中,或需要投加到标高较高、距离较远的净水构筑物内。

水泵投加是从溶液池抽提药液送到压力水管中,有直接采用计量泵和采用耐酸泵配以转子流量计两种方式,如图2.14所示。

水射器投加是利用高压水(压力>0.25MPa)通过喷嘴和喉管时的负压抽吸作用,吸入药液到压力水管中,如图2.15所示。水射器投加应设有计量设备。一般水厂内的给水管都有较高压力,故使用方便。

药剂注入管道的方式,应有利于水与药剂的混合,如图2.16所示为几种投药管布置方式。投药管道与零件宜采用耐酸材料,并且便于清洗和疏通。

图2.15 水射器压力投加
1—溶液池;2、4—阀门;3—投药箱;5—漏斗;6—高压水管;7—水射器;
8—原水进水管;9—澄清池;10—孔、嘴等计量装置

图2.16 投药管布置

药剂仓库应设在加药间旁,尽可能靠近投药点,药剂的固定储量一般按15~30d最大投药量计算,其周转储量根据供药点的远近与当地运输条件决定。

2)混凝试验的目的与方法

根据原水水质、水量变化和既定的出水水质目标,确定出混凝剂最佳投加量,是进行混凝试验的目的。

由于影响混凝效果的因素较复杂,且在水厂运行过程中水质、水量不断变化,故要达到最佳剂量且能即时调节、准确投加是相当困难的。目前,我国大多数水厂还是根据实验室混凝搅拌试验确定混凝剂最佳剂量,然后进行人工调节。为了提高混凝效果,节省耗药量,混凝工艺的自动控制和优化控制技术正逐步推广应用,如数学模型法、现场模拟试验法和单因子流动电流自动控制方法等。

(1)数学模拟法

数学模拟法,是指根据原水有关的水质参数,例如浊度、水温、pH、碱度、溶解氧、氨氮和原水流量等影响混凝效果的主要参数作为前馈值,以沉淀后出水的浊度等参数作为后馈值,建立数学模型来自动调节加药量的多少。

早期仅采用原水的参数建立的数学模型称为前馈模型。目前一般采用前、后馈参数共同参与控制的数学模型,又称为闭环控制法。

根据原水水质和水量,用数理统计方法建立前馈数学模型,在此基础上,根据沉淀池与滤池出水水质,建立反馈数学模型。由前馈给出量和反馈调节量就可获得最佳剂量。此方法是国内外比较先进的控制方式,可以达到提高水质、降低药耗的目的。

采用数学模型的关键,是必须要有大量可靠的生产数据。针对各地各水源的条件不同和所采用的药剂种类不同,建立的数学模型也各不相同。

采用数学模拟法实现加药过程的自动控制,可以采用以下4种方法:

①根据原水水质参数和原水流量,共同建立数学模型,给出一个控制信号,控制加注泵的转速来实现加注泵自动调节加注量。

②根据原水水质参数,建立数学模型,给出一个信号;用原水流量给出另一个信号;分别控制加注泵的冲程和转速,来实现自动调节加注量。

③根据原水流量作为前馈,给出一个信号;用处理水水质(一般为沉淀池出水浊度)作为后馈给出另一个信号;分别控制加注泵的冲程和转速,实现自动调节加注泵。

④根据原水水质参数和流量,共同建立数学模型并给出一个信号;用处理水水质给出另一个信号;分别控制加注泵的冲程和转速,来实现自动调节加注量。

(2)现场模拟法

现场模拟试验法是目前应用较多的一种方法,确定和控制投药量较为简单,常用的模拟装置有斜管沉淀器、过滤器或二者串联使用。

①当原水浊度较低时,常用模拟过滤器法。将水厂混合后的水引一定水样连续进入模拟过滤器(直径一般为0.1m左右),连续测定出水浊度,从而判断投药量是否合适,并反馈到投药量的自动控制系统。

②当原水浊度较高时,可将模拟沉淀池和模拟滤池串联使用。

现场模拟试验法是在现场连续检测,十几分钟就可以检测完成,检测时间较短,相对接近生产实际。

(3)特性参数法

在影响混凝效果的多种复杂因素中,可以发现某种情况下总是有一些影响混凝效果的主要参数,称之为特性参数。这些特性参数的变化能够反映混凝程度的变化。目前应用的特性参数法有流动电流检测法和透光率脉动法。

①流动电流检测法

流动电流是指胶体扩散层中反离子在外力作用下随着流体流动而产生的电流。流动电流与胶体的移动电位(ξ电位)有正相关关系。混凝后胶体的ξ电位变化可以反映胶体脱稳程度,因此混凝后的流动电流变化同样可以反映胶体脱稳程度。

流动电流检测法的控制系统包括检测器、控制器和执行装置3部分。其核心部分为流动电流检测器(SCD),把影响投加量的多种因素,只用检测凝聚后水的流动电流值单一参数代替。通过控制其流动电流值最佳范围,实现单因子自动控制。

②透光率脉动法

透光率脉动法是利用光电原理检测水中絮凝颗粒变化,从而达到混凝在线连续控制的一种方法。根据沉淀池出水浊度与投药混凝后水的相对脉动关系,选定一个给定值,其自控系统设计与流动电流法类似,通过控制器和执行装置完成投药的自动控制,使沉淀池出水浊度始终保持在预定要求范围内。

2.1.6 混凝设施

1)混合设施

为了创造良好的混凝条件,要求混合设施能够将投入的药剂快速均匀地扩散于被处理水中。混合设施种类较多,归纳起来有水泵混合、管式混合、机械混合和水力混合等方式。

(1)混合的基本要求

混合是取得良好混凝效果的重要前提。药剂的品种、浓度、原水的温度、水中颗粒的性质与大小等,都会影响到混凝效果,而混合方式的选择是最主要的影响因素。

对混合设施的基本要求在于,通过对水体的强烈搅动后,能够在很短的时间内促使药剂均匀地扩散到整个水体,达到快速混合的目的。

铝盐和铁盐混凝剂的水解反映速度非常快,例如,相对分子质量为几百万的聚合物,形成聚合的时间约为1s,所以没有必要延长混合时间。采用水流断面上多点投加,或者采用强烈搅拌的方式,可以使药剂均匀地分布于水体中。

在设计时注意混合设施尽可能与后继处理构筑物拉近距离,最好采用直接连接方式。采用管道连接时,管内流速可以控制在0.8~1.0m/s,管内停留时间不宜超过2min。根据经验,反映混合指标的速度梯度G一般控制在500~1000s-1

混合方式与混凝剂的种类有关。例如,使用高分子混凝剂时,因其作用机理主要是絮凝,所以只要求药剂能够均匀地分散到水体,而不要求采取快速和剧烈混合方式。

(2)各种混合方式的特点和适用条件

①管式混合

常用的管式混合有管道静态混合器、文氏管式、孔板式管道混合器、扩散混合器等。最常用的为管道静态混合器。

管道静态混合器是在管道内设置若干固定叶片,通过的水成对分流,并产生涡旋反向旋转和交叉流动,从而达到混合目的,如图2.17所示。

静态混合器在管道上安装容易,实现快速混合,并且效果好、投资省、维修工程量少。但会产生一定的水头损失,为了减少能耗,管内流速一般采用1m/s。该种混合器内一般采用1~4个分流单元,适用于流量变化较小的水厂。

扩散混合器是在孔板混合器的前面加上锥形配药帽组成的。锥形帽为90°夹角,顺水流方向投影面积是进水管面积的1/4,孔板面积是进水管面积的3/4,管内流速为1m/s左右,混合时间取2~3s,G一般为700~1000s-1,如图2.18所示。混合器的长度一般为0.5m以上,用法兰连接在原水管道上,安装位置低于絮凝池水面。扩散混合器的水头损失为0.3~0.4m,多用于直径为200~1200mm的进水管上,适用于中小型水厂。

图2.17 管道静态混合器

图2.18 扩散混合器

②水泵混合

水泵混合是利用水泵的叶轮产生涡流,从而达到混合目的。这种方式设备简单,无需专门的混合设备,没有额外的能量消耗,所以运行费用较省。但在使用三氯化铁等腐蚀性较强的药剂时会腐蚀水泵叶轮。

由于采用水泵混合可以省去专门的混合设备,故在过去的设计中较多采用。近年来的运行发现:水泵混合的G较低,水泵出水管进入絮凝池的投药量无法精确计量而导致自动控制投加难以实现,一般水厂的原水泵房与絮凝池距离较远,容易在管道中形成絮凝体,进入池内破碎影响絮凝效果。因此要求混凝剂投加点一般控制在100m之内,混凝剂投加在原水泵房水泵吸水管或吸水喇叭口处,并注意设置水封箱,以防止空气进入水泵吸水管。

③机械混合

图2.19 机械混合器

机械混合是通过机械在池内的搅拌达到混合目的。要求在规定的时间内达到需要的搅拌强度,满足速度快、混合均匀的要求。机械搅拌一般采用桨板式和推进式。桨板式结构简单,加工制造容易。推进式效能高,但制造较为复杂。混合池有方形和圆形之分,以方形较多。池深与池宽比为1∶1~3∶1,池子可以单格或多格串联,停留时间10~60s。

机械搅拌一般采用立式安装,为了减少共同旋流,需要将搅拌机的轴心适当偏离混合池的中心。在池壁设置竖直挡板可以避免产生共同旋流,如图2.19所示。机械混合器水头损失小,并可适应水量、水温、水质的变化,混合效果较好,适用于各种规模的水厂。但机械混合需要消耗电能,机械设备管理和维护较为复杂。

2)絮凝设施

(1)絮凝过程的基本要求

原水与药剂混合后,通过絮凝设备的外力作用,使具有絮凝性能的微絮凝颗粒接触碰撞,形成肉眼可见的大的密实絮凝体,从而实现沉淀分离的目的。在原水处理构筑物中,完成絮凝过程的设施称为絮凝池。絮凝过程是净水工艺中不可缺少的重要内容。

为了达到较为满意的絮凝效果,絮凝过程需要满足以下基本要求:

①颗粒具有充分的絮凝能力;

②具备保证颗粒获得适当的碰撞接触而又不致破碎的水力条件;

③具备足够的絮凝反应时间;

④颗粒浓度增加,接触效果增加,即接触碰撞机会增多。

(2)絮凝设施的分类

絮凝设施的形式较多,一般分为水力搅拌式和机械搅拌式两大类。

水力搅拌式是利用水流自身能量,通过流动过程中的阻力给水流输入能量,反映为在絮凝过程中产生一定的水头损失。

机械搅拌式是利用电机或其他动力带动叶片进行搅动,使水流产生一定的速度梯度,这种形式的絮凝不消耗水流自身的能量,絮凝所需要的能量由外部提供。

常用的絮凝设施分类见表2.2。

表2.2 常用的絮凝设施分类

除了表2.2所列主要形式以外,还可以将不同形式加以组合应用,例如穿孔旋流絮凝与隔板组合、隔板絮凝与机械搅拌组合等。

(3)几种常用的絮凝池形式

①隔板絮凝池

水流以一定流速在隔板之间通过从而完成絮凝过程的絮凝设施,称为隔板絮凝池。水流方向是水平运动的称为水平隔板絮凝池,水流方向为上下竖向运动的称为垂直隔板絮凝池。水平隔板絮凝池应用较早,隔板布置采用来回往复的形式,如图2.20所示。水流沿隔板间通道往复流动,流动速度逐渐减小,这种形式称为往复式隔板絮凝池。往复式隔板絮凝池可以提供较多的颗粒碰撞机会,但在转折处消耗能量较大,容易引起已形成矾花的破碎。

为了减小能量的损失,出现了回转式隔板絮凝池,如图2.21所示。这种絮凝池将往复式隔板180°的急剧转折改为90°,水流由池中间进入,逐渐回转至外侧,其最高水位出现在池的中间,出口处的水位基本与沉淀池水位持平。回转式隔板絮凝池避免了絮凝体的破碎,同时也减少了颗粒碰撞机会,影响了絮凝速度。

图2.20 往复式隔板絮凝池

图2.21 回转式隔板絮凝池

②折板絮凝池

折板絮凝池是在隔板絮凝池基础上发展起来的,应用较为普遍。在折板絮凝池内放置一定数量的平折板或波纹板,水流沿折板竖向上下流动,多次转折,以促进絮凝。

折板絮凝池的布置方式有以下几种分类:

a.按水流方向可以分为平流式和竖流式,以竖流应用较为普遍。

b.按折板安装相对位置不同,可以分为同波折板和异波折板,如图2.22所示。同波折板是将折板的波峰与波谷对应平行布置,使水流不变,水在流过转角处产生紊动;异波折板将折板波峰相对、波谷相对,形成交错布置,使水的流速时而收缩为最小,时而扩张为最大,从而产生絮凝所需要的紊动。

图2.22 单通道同波折板和异波折板絮凝池

c.按水流通过折板间隙数,又可分为单通道和多通道,如图2.22和2.23所示。单通道是指水流沿二折板间不断循序流动;多通道则是将絮凝池分隔成若干格,各格内设一定数量的折板,水流按各格逐格通过。

无论哪一种方式都可以组合使用。有时絮凝池末端还可采用平板。同波和异波折板絮凝效果差别不大,但平板效果较差,只能放置在池末起补充作用。

图2.23 多通道折板絮凝池

③机械搅拌絮凝池

机械搅拌絮凝池通过电动机经减速装置驱动搅拌器对水进行搅拌,使水中颗粒相互碰撞,发生絮凝。搅拌器可以旋转运动,也可以上下往复运动。国内目前都是采用旋转式,常见的搅拌器有桨板式和叶轮式,桨板式较为常用。根据搅拌轴的安装位置,又分为水平轴式和垂直轴式,如图2.24所示。前者通常用于大型水厂,后者一般用于中小型水厂。机械絮凝池宜分格串联使用,以提高絮凝效果。

图2.24 机械搅拌絮凝池
1—浆板;2—叶轮;3—旋转轴;4—隔墙

④穿孔旋流絮凝池

穿孔旋流絮凝池是利用进口较高的流速,使水流产生旋流运动,从而完成絮凝过程,如图2.25所示。为了改善絮凝条件,常采用多级串联的形式,由若干方格(一般不少于6格)组成。各格之间的隔墙上沿池壁开孔,孔口上下交错布置。水流通过呈对角交错开孔的孔口沿池壁切线方向进入后形成旋流,所以又称为孔室絮凝池。为适应絮凝体的成长,逐格增大孔口尺寸,以降低流速。穿孔旋流絮凝池构造简单,但絮凝效果较差。

⑤网格(栅条)絮凝池

图2.25 穿孔旋流絮凝池

网格(栅条)絮凝池如图2.26所示,是在沿流程一定距离的过水断面上设置网格或栅条,距离一般控制在0.6~0.7m。通过网格或栅条的能量消耗完成絮凝过程。这种形式的絮凝池形成的能量消耗均匀,水体各部分的絮体可获得较为一致的碰撞机会,所以絮凝时间相对较少。其平面布置和穿孔旋流絮凝池相似,由多格竖井串联而成:进水水流顺序从一格流到下一格,上下对角交错流动,直到出口。在全池约2/3的竖井内安装若干层网格或栅条,网格或栅条孔隙由密渐疏,当水流通过时,相继收缩、扩大,形成涡旋,造成颗粒碰撞,形成良好絮凝条件。

图2.26 网格(栅条)絮凝池

3)絮凝池的设计

(1)设计指标

絮凝池设计的目的在于创造一个最佳的水力条件,以较短的絮凝时间达到最好的絮凝效果。理想的水力条件不仅与原水的性质有关,而且随不同形式的絮凝池也有所不同。由于水质影响较为复杂,还不能作为工程设计的依据。

目前的设计方法仍然以经验为主,常用的设计指标有水流流速、絮凝时间、速度梯度G 和GT。

①水流流速与絮凝时间

对于不同的絮凝池,选择某一水流速度作为控制指标,根据控制流速和水在絮凝池内的停留时间,作为设计的控制指标。

②速度梯度G和GT

速度梯度G反映了絮凝过程中在单位体积水中絮体颗粒数减少的速率,同时以GT作为絮凝最终效果的控制指标,较为符合理论要求。由于推荐的G幅度太大,在实际设计时缺乏控制意义。所以,为了确定G的合理分布,一般通过搅拌试验来完成。

(2)隔板絮凝池的设计计算

①隔板絮凝池主要设计参数

a.絮凝时间20~30min,平均G为30~60s-1,GT为104~105

b.廊道流速,应沿程递减,从起端0.5~0.6m/s逐步递减到末端0.2~0.3m/s,一般宜分成4~6段。

c.隔板净距不小于0.5m,转角处过水断面积应为相邻廊道过水断面积的1.2~1.5倍。尽量做成圆弧形,以减少水流在转弯处的水头损失。

d.为便于排泥,底坡2%~3%,排泥管直径大于150mm。

e.总水头损失,往复式为0.3~0.5m,回转式为0.2~0.35m。

②计算公式

a.絮凝池容积

式中:V——絮凝池容积,m3

 Q——设计流量,m3/h;T——絮凝时间,min。

 b.池长

式中:L——池长,m;

 B——池宽,应和沉淀池等宽,m;

 H——有效水深,m。

 c.隔板间距

式中:v——隔板间流速,m/s。

d.水头损失

式中:hi——第i段廊道水头损失,m;

mi——第i段廊道内水流转弯次数;

vi、vit——分别为第i段廊道内水流速度和转弯处水流速度,m/s;

ξ——隔板转弯处局部阻力系数,往复式ξ=3,回转式ξ=1;

Ci——流速系数,通常按公式Ci

计算或直接查水力计算表;

li——第i段廊道总长度,m;

Ri——第i段廊道过水断面水力半径,m。

e.平均速度梯度G

式中:γ——水的容重,9.81×103 N/m3

 μ——水的动力黏度,Pa·s。

(3)折板絮凝池主要设计参数

①絮凝时间6~15min,平均G为30~50s-1,GT大于2×104

②分段数不宜小于3,前段流速0.25~0.35m/s,中段流速0.15~0.25m/s,末段流速0.10~0.15m/s。

③平折板夹角有90°和120°两种。折板长0.8~2.0m,宽0.5~0.6m,峰高0.3~0.4m,板间距(或峰距)0.3~0.6m。折板上下转弯和过水孔洞流速,前段0.3m/s,中段0.2m/s,末段0.1m/s。

折板絮凝池设计计算公式可参见有关设计手册。

(4)机械絮凝池主要设计参数

①絮凝时间15~20min,平均G为20~70s-1,GT为1×104~1×105

②池内一般设3~4挡搅拌机,每挡可用隔墙或穿孔墙分隔,以免短流。

③搅拌机桨板中心处线速度从第一档的0.5m/s逐渐减少到末挡的0.2m/s。

④每台搅拌器上桨板总面积宜为水流截面积的10%~20%,不宜超过25%。

⑤桨板长度不大于叶轮直径的75%,宽度宜取100~300mm。

2.2 地表水的沉淀、澄清处理

2.2.1 悬浮颗粒在静水中的沉淀

水中悬浮颗粒依靠重力作用从水中分离出来的过程称为沉淀。原水投加混凝剂后,经过混合反应,水中胶体杂质凝聚成较大的矾花颗粒,进一步在沉淀池中去除。水中悬浮物的去除,可通过水和颗粒的密度差,在重力作用下进行分离。密度大于水的颗粒将下沉,小于水的则上浮。

1)沉淀的4种基本类型

根据水中悬浮颗粒的密度、凝聚性能的强弱和浓度的高低,沉淀可分为4种基本的沉淀类型。

①自由沉淀:悬浮颗粒在沉淀过程中呈离散状态,其形状、尺寸、质量等物理性状均不改变,下沉速度不受干扰,单独沉降,互不聚合,各自完成独立的沉淀过程。在这个过程中只受到颗粒自身在水中的重力和水流阻力的作用。

②絮凝沉淀:颗粒在沉淀过程中,其尺寸、质量及沉速均随深度的增加而增大。

③拥挤沉淀:又称成层沉淀、拥挤沉淀。颗粒在水中的浓度较大,在下沉过程中彼此干扰,在清水与浑水之间形成明显的交界面,并逐渐向下移动。其沉降的实质就是界面下降的过程。

④压缩沉淀:颗粒在水中的浓度很高,沉淀过程中,颗粒相互接触并部分地受到压缩物支撑,下部颗粒的间隙水被挤出,颗粒被浓缩。

2)完成沉淀过程的主要构筑物

①沉淀池:通过悬浮颗粒下沉而实现去除目的的沉淀过程。

②气浮池:通过微气泡和悬浮颗粒的吸附,使其相对密度小于水而上浮去除的沉淀过程。

③澄清池:通过沉淀的泥渣与原水悬浮颗粒接触吸附而加速沉降去除的沉淀过程。

3)悬浮颗粒在静水中的3种假设

①水中沉降颗粒为球形,其大小、形状、质量在沉降过程中均不发生变化;

②颗粒之间距离无穷大,沉降过程互不干扰;

③水处于静止状态,且为稀悬浮液。

4)理论推导

图2.27 自由沉淀受力分析

基于以上假设,静水中的悬浮颗粒仅受到重力和水的浮力两种力的作用。由于悬浮颗粒的密度大于水的密度,重力对其的作用大于浮力的作用,因此开始时颗粒沿重力方向以某一加速度下沉,同时受到水对运动颗粒所产生的摩擦阻力作用,随着颗粒沉降速度的增加,水流阻力不断增大。颗粒在水中的净重为定值,当颗粒的沉降速度增加到一定值后,颗粒所受重力、浮力和水的阻力三者达到平衡(图2.27),颗粒的加速度为零,此时的颗粒开始以匀速下沉,并自此开始作匀速下沉运动。

以F1、F2、F3分别表示颗粒的重力、浮力和下沉过程中受到的水流阻力,则

式中:d——球形颗粒直径;

 ρs,ρl——分别为颗粒、水的密度;

 u——颗粒沉降速度;

 λ——阻力系数,是雷诺数Re=ρud/μ和颗粒形状的函数,其中μ为水的动力黏度,对于层流,λ=24/Re;

 A——颗粒的投影面积,A=πd2

自由沉淀可用牛顿第二定律表述为:

自由沉降达到平衡状态时,=0,由式(2.12)整理后得沉速公式为:

在Re<1的范围内,呈层流状态,将相应的阻力系数代入式(2.13),得到斯托克斯(Stokes)公式为:

斯托克斯公式表明影响沉淀(上浮)速度的诸因素。

①颗粒沉速u的决定因素是ρs-ρl。当ρs<ρl时,u呈负值,颗粒上浮;当ρs>ρl时,u呈正值,颗粒下沉;ρs=ρl时,u=0,颗粒在水中呈相对静止状态,不沉不浮。

②沉速u与颗粒直径d的平方成正比,颗粒越大,沉速越快。所以,增大颗粒直径d,可大大提高下沉(或上浮)效果。

③u与μ成反比,μ决定于水质与水温。在水质相同的条件下,水温高则μ值小,有利于颗粒下沉(上浮);水温低则μ值大,不利于颗粒下沉(上浮),所以,低温水难处理。

水中悬浮的组成比较复杂,颗粒形状多样,且粒径不均匀,密度也有差异,采用斯托克斯公式计算颗粒的沉速十分困难。因此,公式(2.14)并不直接用于工艺计算。

水中悬浮颗粒的自由沉降性能一般可以通过沉淀试验来获得。

2.2.2 理想沉淀池的沉淀原理

1)理想沉淀池的沉淀过程分析

(1)理想沉淀池的3个假定

①颗粒处于自由沉淀状态;

②水流沿着水平方向作等速流动,在过水断面上各点流速相等,颗粒的水平分速等于水流流速;

③颗粒沉到池底即认为已被去除。

(2)理想沉淀池的沉淀过程分析

理想沉淀池工作状况如图2.28所示。理想沉淀池分流入区、流出区、沉淀区和污泥区。从池中的点A进入的颗粒运动轨迹是水平流速v和颗粒沉速u的矢量和。直线Ⅰ表示从池顶A点开始下沉而能够在池底最远处D点之前沉到池底的颗粒的运动轨迹;直线Ⅱ表示从池顶A点开始下沉而不能够沉到池底的颗粒的运动轨迹;直线Ⅲ表示从池顶A点开始下沉而正好沉到池底最远处D点的颗粒的运动轨迹。

图2.28 理想沉淀池工作状况

将直线Ⅲ代表的颗粒具有的沉速定义为u0,故可得关系式:

式中:u0——颗粒沉速,m/s;

 v——水流速度,即颗粒的水平分速,m/s;

 H——沉淀区水深,m;

 L——沉淀区长度,m。

显然,沉速ut≥u0的颗粒,都可在D点前沉淀掉,见轨迹Ⅰ所代表的颗粒。沉速ut<u0的颗粒,视其在流入区所处位置而定。如果靠近水面则不能被去除,见轨迹Ⅱ实线所代表的颗粒;如果靠近池底就能被去除,见轨迹Ⅱ虚线所代表的颗粒。

轨迹Ⅲ所代表的颗粒沉速u0具有特殊意义,一般称为截留沉速。实际上,它反映了沉淀池所能全部去除的颗粒中的最小颗粒的沉速。

水平流速v和沉速u0都与沉淀时间t有关,即

式中:Q——沉淀池设计流量,m3/h;

 B——沉淀池宽度,m;

 V——沉淀池容积,m。

由此可以导出:

式中:A——沉淀池表面积,A=BL;

 q——表面负荷或溢流率。

表面负荷表示在单位时间内通过沉淀池单位表面积的流量,单位为m3/(m2·s)或m3/(m2·h),其数值等于截留沉速,但含义却不同。

理想沉淀池总的沉淀效率,在设定了截留沉速u0以后,由两部分组成。一部分是u>u0的颗粒去除率,这类颗粒将全部沉掉。若所有沉速小于截留沉速u0的颗粒质量占原水中全部颗粒质量的百分率为P0,则本部分去除率为(1-P0)。另一部分是u<u0的颗粒去除率,这类颗粒部分沉到池底被去除。设这类颗粒中某一沉速ui的颗粒浓度为Ci,沿着进水区高度H的截面进入的总量则为QCi=HBvCi,只有位于池底以上hi高度内的部分才能全部沉到池底,其质量为hi BvCi,则沉速为ui的颗粒去除率为:

式中:C0——原水中悬浮物浓度;

 dPi——具有沉速为ui的颗粒质量占原水中全部颗粒质量的百分率。

因此,所有u<u0的颗粒去除率为:

故理想沉淀池总的沉淀效率为:

由(2.21)得知:

①悬浮物在沉淀池中的去除率取决于沉淀池的表面负荷q和颗粒沉速ut,而与其他因素(如水深、池长、水平流速和沉淀时间)无关。这一理论由哈真在1904年提出。

②当去除率一定时,颗粒沉速ut越大,则表面负荷越高,产水量越大;当产水量和表面积不变时,ut越大,则去除率越高。颗粒沉速ut的大小与凝聚效果有关,所以生产上一般重视混凝工艺,污水处理中预曝气的作用也是为了促进絮凝。

③颗粒沉速ut一定时,增加沉淀池表面积可以提高去除率。当沉淀池容积一定时,池身浅则表面积大,去除率可以提高,这就是“浅池理论”,是斜板(管)沉淀池的发展理论基础。

2)影响沉淀池沉淀效果的因素分析

实际沉淀池由于受实际水流状况和凝聚作用等的影响,偏离了理想沉淀池的假设条件。

(1)沉淀池实际水流状况对沉淀效果的影响

在理想沉淀池中,假定流速均匀分布、水流稳定。但在实际沉淀池中,停留时间总是偏离理想沉淀池,实际沉淀池中水流在池子过水断面上流速分布是不均匀的,整个池子的有效容积没有得到充分利用,一部分水流通过沉淀区的时间小于理论停留时间,而另一部分水流则大于理论停留时间,这种现象称为短流。这主要是由于水流的流速和流程不同所导致。

短流产生的原因包括进水的惯性、出水堰产生的水流抽吸、较冷或较重的进水产生异重流、沉淀池内存在导流壁和刮泥设备影响、风浪影响等。由于产生短流现象,导致池内顺着某些流程的水流流速大于平均值,而在另一些区域则小于平均值,甚至形成死角。

水流的紊动性用雷诺数Re判别。雷诺数表示水流的惯性力与黏滞力之间的对比关系。

式中:v——水平流速,m/s;

 R——水力半径,m;

 μ——水的运动黏度,m2/s。

在沉淀池中,要求降低雷诺数以利于颗粒沉降。明渠流中的Re>500时,水流呈紊流状态,平流式沉淀池中水流的Re一般为4000~15000。此时水流除水平流速外,还有上下左右的脉动分速,并伴有小的涡流体,虽不利于颗粒的沉淀,但可使密度不同的水流较好混合,减弱分层流动。

异重流是进入较静而具有密度差异的水体的一股水流。例如悬浮固体很多的水体,密度较大,进入池子经过沉淀后,密度有显著的下降,这样进水与池水间出现密度上的差异,会出现进入池子的水流将沉潜在池水的下层,上层的水基本上不流动的状况。异重流如果重于池内水体,将下沉并以较高的流速沿着底部绕道前进;异重流轻于水体,则将沿水面径流至出水口。密度的差异主要是由于水温、所含盐分或悬浮固体量的不同所导致。如果池内的水平流速相当高,异重流会和池中水流汇合,基本上不会影响流态,此时的沉淀池具有稳定的流态。如果异重流在整个池内保持,则会存在不稳定的流态。

水流的稳定性以弗劳德数Fr判别。弗劳德数反映水流的惯性力与重力两者之间的对比关系。

式中:v——水平流速,m/s;

 R——水力半径,m;

 g——重力加速度,9.81m/s2

Fr数增大,表明重力作用相对减小,惯性力作用相对增强,水流对温差、密度差异重流及风浪影响的抵抗能力强,从而保持沉淀池内的流态稳定。平流式沉淀池的Fr数一般认为大于10-5为宜。

在平流式沉淀池中,提高Fr数和降低Re数的有效措施是减小水力半径。在沉淀池中进行纵向分格,采用斜板、斜管沉淀池,均可以达到这一目的。在沉淀池中增大水平流速后可以提高Re数而不利于沉降,却提高了Fr数,从而增加了水的稳定性,提高了沉淀效果。一般将水平流速控制在10~25mm/s。

(2)凝聚作用的影响

悬浮物的絮凝过程在沉淀池中仍继续进行。由于沉淀池内水流流速分布不均匀,水流中存在的速度梯度会引起颗粒相互碰撞而促进絮凝。

水中絮凝颗粒大小不均匀,故沉速也不同。在沉淀过程中沉速大的颗粒会追上沉速小的颗粒而引起絮凝。

水在池内的停留时间越长,由速度梯度引起的絮凝效果越明显;池深越大,因颗粒沉速不同引起的絮凝进行得就越彻底。故实际沉淀池的沉淀时间和水深都会影响沉淀效果,从而偏离了理想沉淀池的假定条件。

2.2.3 沉淀池

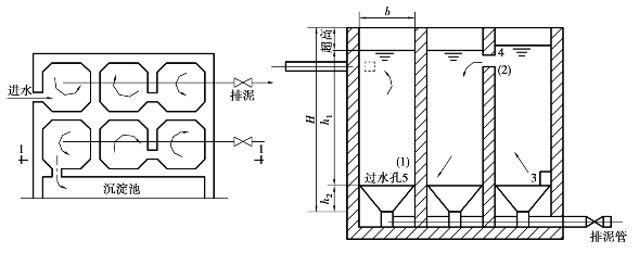
作为依靠重力作用进行固液分离的装置,可以分为两类:一类是沉淀有机固体为主的装置,通称为沉淀池;另一类则以沉淀无机固体为主的装置,通称为沉砂池。

1)沉淀池的分类

①按沉淀池的水流方向不同,可分为平流式沉淀池、竖流式沉淀池、辐流式沉淀池,如图2.29所示。

图2.29 按水流方向不同划分的沉淀池

a.平流式沉淀池。水从池的一端流入,按水平方向在池内向前流动,从另一端溢出。池表面呈长方形,在进口处底部设有污泥斗。

b.竖流式沉淀池。表面多为圆形,也有方形、多角形。水从池中央下部进入,由下向上流动,沉淀后上清液由池面和池边溢出。

c.辐流式沉淀池。池表面呈圆形或方形,水从池中心进入,沉淀后从池子的四周溢出,池内水流呈水平方向流动,但流速是变化的。

②按截流颗粒沉降距离不同,可分为一般沉淀池、浅层沉淀池。斜板或斜管沉淀池的沉降距离仅为30~200mm,是典型的浅层沉淀池。斜板沉淀池中的水流方向可以布置成同向流(水流与污泥方向相同)、异向流(水流与污泥方向相反)、侧向流(水流与污泥方向垂直),如图2.30所示。

图2.30 斜板斜管沉淀池

2)沉淀池的选用

选用沉淀池时一般应考虑以下几个方面的因素:

①地形、地质条件。不同类型沉淀池选用时会受到地形、地质条件限制,有的平面面积较大而池深较小,有的池深较大而平面面积较小。例如平流式沉淀池一般布置在场地平坦、地质条件较好的地方。沉淀池一般占生产构筑物总面积的25%~40%。当占地面积受限时,平流式沉淀池的选用就会受到限制。

②气候条件。寒冷地区冬季时,沉淀池的水面会形成冰盖,影响处理和排泥机械运行,将面积较大的沉淀池建于室内进行保温会提高造价,因此选用平面面积较小的沉淀池为宜。

③水质、水量。原水水质中的浊度、含砂量、砂粒组成、水质变化直接影响沉淀效果。例如斜管沉淀池积泥区相对较小,原水浊度高时会增加排泥困难。根据技术经济分析,不同的沉淀池常有其不同的适用范围。例如平流式沉淀池的长度仅取决于停留时间和水平流速,而与处理规模无关,水量增大时仅增加池宽即可。单位水量的造价指标随处理规模的增加而减小,所以平流式沉淀池适于水量规模较大的场合。

④运行费用。不同的原水水质对不同类型沉淀池的混凝剂消耗也不同;排泥方式的不同会影响到排泥水浓度和厂内自用水的耗水率;斜板、斜管沉淀池板材需要定期更新等,会增加经常运行费用。

3)平流式沉淀池

(1)基本构造

平流式沉淀池构造简单,为一长方形水池,由流入装置、流出装置、沉淀区、缓冲层、污泥区及排泥装置等组成,如图2.31所示。

图2.31 平流式沉淀池

①流入装置。其作用是使水流均匀地分布在整个进水断面上,并尽量减少扰动。原水处理时一般与絮凝池合建,设置穿孔墙(图2.32),水流通过穿孔墙,直接从絮凝池流入沉淀池,均布于整个断面上,保护形成的矾花。也可以采用其他一些整流措施,如图2.33所示。一般孔口流速不宜大于0.15~0.2m/s,孔洞断面沿水流方向渐次扩大,以减小进口射流,防止絮凝体破碎。沉淀池的水流一般采用直流式,避免产生水流的转折。

②流出装置。流出装置一般由流出槽与挡板组成,如图2.34所示。流出槽设自由溢流堰、锯齿形堰或孔口出流等。溢流堰要求严格水平,既可保证水流均匀,又可控制沉淀池水位。出流装置常采用自由堰形式,堰前设挡板,挡板入水深0.3~0.4m,距溢流堰0.25~ 0.5m。也可采用潜孔出流以阻止浮渣,或设浮渣收集排除装置。孔口出流流速为0.6~0.7m/s,孔径20~30mm,孔口在水面下12~15cm。堰口最大负荷,混凝沉淀池不宜大于20m3/(h·m)。

图2.32 穿孔墙

图2.33 平流沉淀池入口的整流措施
1—进水槽;2—溢流堰;3—有孔整流墙壁;
4—底孔;5—挡流板;6—潜孔

图2.34 平流式沉淀池的出水堰形式

为了减少负荷,改善出水水质,可以增加出水堰长。目前采用较多的方法是指形槽出水,即在池宽方向均匀设置若干条出水槽,以增加出水堰长度和减小单位堰宽的出水负荷。常用增加堰长的办法如图2.35所示。

图2.35 增加出水堰长度的措施

③沉淀区。平流式沉淀池的沉淀区在进水挡板和出水挡板之间,长度一般为30~50m。深度从水面到缓冲层上缘,一般不大于3m。沉淀区宽度一般为3~5m。

④缓冲层。为避免已沉污泥被水流搅起以及缓冲冲击负荷,在沉淀区下面设有0.5m左右的缓冲层。平流式沉淀池的缓冲层高度与排泥形式有关。重力排泥时缓冲层的高度为0.5m,机械排泥时缓冲层的上缘高出刮泥板0.3m。

⑤污泥区。污泥区的作用是贮存、浓缩和排除污泥。排泥方法一般有静水压力排泥和机械排泥。

沉淀池内的可沉固体多沉于池的前部,故污泥斗一般设在池的前部。池底的坡度必须保证污泥顺底坡流入污泥斗中,坡度的大小与排泥形式有关。污泥斗的上底可为正方形,边长同池宽;也可以设计成长条形,其一边长同池宽。下底为400mm×400mm的正方形,泥斗倾面与底面夹角不小于60°。污泥斗中的污泥可采用静力排泥方法。

静力排泥是依靠池内静水压力,将污泥通过污泥管排出池外。排泥装置由排泥管和泥斗组成,如图2.36所示。排泥管管径为200mm,池底坡度为0.01~0.02。为减少池深,可采用多斗排泥,每个斗都有独立的排泥管,如图2.37所示;也可采用穿孔管排泥。

图2.36沉淀池静水压力排泥 

图2.37 多斗式平流沉淀池

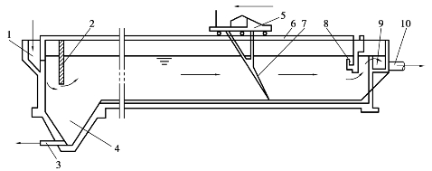
目前平流沉淀池一般采用机械排泥。机械排泥是利用机械装置,通过排泥泵或虹吸将池底积泥排至池外。机械排泥装置有链带式刮泥机、行车式刮泥机、泵吸式排泥和虹吸式排泥装置等。图2.38为设有行车式刮泥机的平流式沉淀池。工作时,桥式行车刮泥机沿池壁的轨道移动,刮泥机将污泥推入贮泥斗中,不用时将刮泥设备提出水外,以免腐蚀。图2.39为设有链带式刮泥机的平流式沉淀池。工作时,链带缓缓地沿与水流方向相反的方向滑动。刮泥板嵌于链带上,滑动时将污泥推入贮泥斗中。当刮泥板滑动到水面时,又将浮渣推到出口集中清除。链带式刮泥机的各种机件都在水下,容易腐蚀,养护较为困难。

图2.38 设有行车式刮泥机的平流式沉淀池
1—进水槽;2—挡流扳;3—排泥管;4—泥斗;5—刮泥行车;6—刮渣板;
7—刮泥板;8—浮渣槽;9—出水槽;10—出水管

图2.39 设有链带式刮泥机的平流式沉淀池
1—集渣器驱动;2—浮渣槽;3—挡板;4—可调节的出水槽;5—排泥管;6—刮板

当不设存泥区时,可采用吸泥机,使集泥与排泥同时完成。常用的吸泥机有多口式和单口扫描式,且又分为虹吸和泵吸两种。图2.40为多口虹吸式吸泥装置。刮板1、吸口2、吸泥管3、排泥管4成排地安装在桁架5上,整个桁架利用电机和传动机构通过滚轮架设在沉淀池壁的轨道上行走,在行进过程中,利用沉淀池水位所能形成的虹吸水头,将池底积泥吸出并排入排泥沟10。

图2.40 多口虹吸式吸泥装置
1—刮泥板;2—吸口;3—吸泥管;4—排泥管;5—桁架;6—电机和传动机构;
7—轨道;8—梯子;9—沉淀池壁;10—排泥沟;11—滚轮

(2)设计计算

平流式沉淀池的设计内容包括流入装置、流出装置、沉淀区、污泥区、排泥和排浮渣设备选择等。具体要求见现行枟室外给水设计规范枠(GB 50013—2006)。

4)斜板(管)沉淀池

(1)基本构造

根据哈真浅池理论,沉淀效果与沉淀面积和沉降高度有关,与沉降时间关系不大。为了增加沉淀面积,提高去除率,用降低沉降高度的办法来提高沉淀效果,在沉淀池中设置斜板或斜管,成为斜板(管)沉淀池。

在池内安装一组并排叠成,且有一定坡度的平板或管道,被处理水从管道或平板的一端流向另一端,相当于很多个浅而且小的沉淀池组合在一起。由于平板的间距和管道的管径较小,故水流在此处为层流状态,当水在各自的平板或管道间流动时,各层隔开互不干扰,为水中固体颗粒的沉降提供了十分有利的条件,大大提高了水处理效果和能力。

从改善沉淀池水力条件的角度来分析,由于斜板(管)沉淀池水力半径大大减小,从而使Re数降低,而Fr数大大提高。斜板沉淀池中的水流基本上属层流状态,而斜管沉淀池的Re数多在200以下,甚至低于100;斜板沉淀池的Fr数一般为10-3~10-4,斜管的Fr数更大。故斜板(管)沉淀池能够满足水流的紊动性和稳定性的要求。

在异向流、同向流和侧向流3种形式中,以异向流应用最广。异向流斜板(管)沉淀池,因水流向上流动,污泥下滑,方向各异而得名。如图2.41所示为异向流斜管沉淀池。

图2.41 异向流斜管沉淀池

斜板沉淀池分为入流区、出流区、沉淀区和污泥区4个区。其中沉淀区的构造对整个沉淀池的构造起着控制作用。沉淀区由一系列平行的斜板或斜管组成,斜板的排列分竖向和横向两种情况。

竖向排列是将斜板重迭起来布置,每块斜板的同一端在同一垂直面上,如图2.42(a)所示。沉淀区采用竖向排列大大提高了地面利用率。但从板上滑下的污泥会在同一垂直面上降落,降低了沉淀效率,所以竖向排列仅适用于小流量的沉淀池。

横向排列是将竖向排列的斜板端部错开,虽然这样使沉淀区的地面利用率降低,但入流区和出流区都不需要另占地面面积。一般旧池改造时都采用横向排列。横向排列可以分为顺向横排和反向横排,如图2.42(b)、(c)所示。在水处理工艺中,使用反向横排的效果要比顺向好。斜板沉淀池的进水流向是水平的,水流在沉淀的流向是顺着斜板倾斜向上的。水从入流区到沉淀区要改变方向。由于水流转弯时外侧流速大于内侧流速,如果斜板为顺向排列,沿斜板滑下的污泥正好与较高的上升流速的水流相遇,从而增加了污泥下滑的阻力。如果斜板为反向横排,污泥下滑时与流速成较小的水流相遇,污泥下滑的阻力较小,有利于排泥。

当斜板换成斜管后,就成为斜管沉淀池。

斜板(管)倾角一般为60°,长为1~1.2m,板间垂直间距80~120mm,斜管内切圆直径25~35mm。板(管)材要求轻质、坚固、无毒、价廉。目前较多采用聚丙烯塑料或聚氯乙烯塑料。如图2.43所示为塑料片正六角形斜管粘合示意。塑料薄板厚0.4~0.5mm,块体平面尺寸通常不大于1m×1m,热轧成半六角形,然后粘合。

横向排列的斜板沉淀池入流区位于沉淀区的下面,高度为1.0~1.5m。出流区位于沉淀区的上面,高度一般采用0.7~1.0m。缓冲区位于斜板上面,深度≥0.05m。出水槽一般采用淹没孔出流,或者采用三角形锯齿堰。

图2.42斜板的排列方式和水流方向 

图2.43 塑料片正六角形斜管粘合示意

(2)设计计算

斜板沉淀池的设计仍可采用表面负荷来计算。根据水中的悬浮物沉降性能资料,由确定的沉淀效率找到相应的最小沉速和沉淀时间,从而计算出沉淀区的面积。沉淀区的面积不是平面面积,而是所有的澄清单元的投影面积之和,要比沉淀池实际平面面积大得多。

2.2.4 澄清池

1)澄清池的工作原理

澄清池集混凝和沉淀两个水处理过程于一体,在一个处理构筑物内完成。如前所述,原水通过加药混凝,水中脱稳杂质通过碰撞结成大的絮凝体,而后在沉淀池内下沉去除。澄清池利用池中活性泥渣层与混凝剂以及原水中的杂质颗粒相互接触、吸附,把脱稳杂质阻留下来,使水达到澄清目的。活性泥渣层接触介质的过程就是絮凝过程,常称为接触絮凝。在絮凝的同时,杂质从水中分离出来,清水在澄清池的上部被收集。

泥渣层的形成,主要是在澄清池开始运转时,原水中加入较多的混凝剂,并适当降低负荷,经过一定时间运转后,逐步形成泥渣层。当原水浊度较低时,为加速形成泥渣层,可人工投加黏土。为了保持稳定的泥渣层,必须控制池内活性泥渣量,不断排除多余的泥渣,使泥渣层处于新陈代谢状态,保持接触絮凝的活性。

2)常见澄清池的类型及特点

根据池中泥渣运动的情况,澄清池可分为泥渣悬浮型和泥渣循环型两大类。前者有脉冲澄清池和悬浮澄清池,后者有机械搅拌澄清池和水力循环澄清池。

(1)泥渣悬浮型澄清池

泥渣悬浮型澄清池,又称为泥渣过滤型澄清池。如图2.44所示,加药后的原水由下而上通过悬浮状态的泥渣层,水中脱稳杂质与高浓度的泥渣颗粒碰撞发生凝聚,同时被泥渣层拦截。这种状态类似于过滤作用,通过悬浮层的浑水即达到澄清目的。

常用的泥渣悬浮型澄清池有悬浮澄清池和脉冲澄清池两种。

①悬浮澄清池

图2.44所示为悬浮澄清池的剖面图。其工艺流程是:加药后的原水经过气水分离器6从穿孔配水管1流入澄清室,水流自下而上通过泥渣悬浮层2,水中杂质则被泥渣层截留,清水从穿孔集水槽3流出。悬浮层中不断增加的泥渣,在自行扩散和强制出水管4的作用下,由排泥窗口5进入泥渣浓缩室,经浓缩后定期排除。强制出水管收集泥渣浓缩室内的上清液,并在排泥窗口两侧造成水位差,从而使澄清室内的泥渣流入浓缩室。气水分离器使水中空气在其中分离出来,以免进入澄清室后扰动悬浮层。

图2.44 悬浮澄清池流程
1—穿孔配水管;2—泥渣悬浮层;3—穿孔集水槽;4—强制出水管;5—排泥窗口;6—气水分离器

悬浮澄清池一般用于小型水厂。

②脉冲澄清池

脉冲澄清池的特点是通过脉冲发生器,使澄清池的上升流速发生周期性的变化。当上升流速小时,泥渣悬浮层收缩、浓度增大而使颗粒排列紧密;当上升流速大时,泥渣悬浮层膨胀。悬浮层不断产生周期性的收缩和膨胀,不仅有利于微絮凝颗粒与活性泥渣进行接触絮凝,还可以使悬浮层的浓度分布在全池内趋于均匀,并防止颗粒在池底沉积。

脉冲发生器有多种形式。真空泵脉冲发生器(图2.45)的工作原理是:原水通过进水管4进入进水室1,由于真空泵2造成的真空而使进水室内水位上升,此为充水过程。当水面达到进水室的最高水位时,进气阀3自动开启,使进水室与大气相通。这时进水室内水位迅速下降,向澄清池放水,此为放水过程。当水位下降到最低水位时,进气阀3又自动关闭,真空泵则自动启动,再次使进水室造成真空,进水室内水位又上升,如此反复进行脉冲工作,从而使悬浮层产生周期性的膨胀和收缩。

泥渣悬浮型澄清池由于受原水水量、水质、水温等因素的变化影响比较明显,因此目前设计中应用较少。

(2)泥渣循环型澄清池

如果促使泥渣在池内进行循环流动,可以充分发挥泥渣接触絮凝作用。泥渣循环可以借机械抽升或水力抽升的作用造成。

①机械搅拌澄清池

图2.45 采用真空泵脉冲发生器的澄清池剖面图
1—进水室;2—真空泵;3—进气阀;4—进水管;5—水位电极;
6—集水槽;7—稳流板;8—配水管

如图2.46所示,机械搅拌澄清池由第一絮凝室、第二絮凝室、导流室及分离室组成。整个池体上部是圆筒形,下部是截头圆锥形。加过药剂的原水由进水管1通过环形三角配水槽2的缝隙均匀流入第一絮凝室Ⅰ,由提升叶轮6提升至第二絮凝室Ⅱ。在第一、二絮凝室内与高浓度的回流泥渣相接触,达到较好的絮凝效果,结成大而重的絮凝体,经导流室Ⅲ流入分离室Ⅳ沉淀分离。清水向上经集水槽7流至出水管8,向下沉降的泥渣沿锥底的回流缝再进入第一絮凝室,重新参加絮凝,一部分泥渣则排入泥渣浓缩室9进行浓缩至适当浓度后经排泥管排除。

图2.46 机械搅拌澄清池剖面图
1—进水管;2—三角配水槽;3—透气管;4—投药管;5—搅拌桨;6—提升叶轮;7—集水槽;
8—出水管;9—泥渣浓缩室;10—排泥阀;11—放空管;12—排泥罩;13—搅拌轴;
Ⅰ—第一絮凝室;Ⅱ—第二絮凝室;Ⅲ—导流室;Ⅳ—分离室

根据实际情况和运转经验确定混凝剂加注点,可加在水泵吸水管内,亦可由投药管4加入澄清池进水管、三角配水槽等处,并可数处同时加注。透气管3的作用是排除三角配水槽中原水可能含有的气体,放空管进口处的排泥罩口,可使池底积泥沿罩的四周排除,使排泥彻底。

搅拌设备由提升叶轮和搅拌桨组成,提升叶轮装在第一和第二絮凝室的分隔处。搅拌设备一方面提升叶轮将回流水从第一絮凝室提升至第二絮凝室,使回流水中的泥渣不断地在池内循环;另外,搅拌桨使第一絮凝室内的水体和进水迅速混合,泥渣随水流处于悬浮和环流状态。因此,搅拌设备使接触絮凝过程在第一、二絮凝室内得到充分发挥。

第二絮凝室设有导流板,用以清除因叶轮提升时所引起的水的旋转,使水流平稳地经导流室流入分离室。分离室下部为泥渣层,上部为清水层,清水向上经集水槽流至出水槽。清水层一般应有1.5~2.0m的深度,以便在排泥不当而导致泥渣层厚度发生变化时,仍然可以保证出水水质。

机械搅拌澄清池的设计计算参数:

a.水在澄清池内总的停留时间为1.2~1.5h。

b.原水进水管流速一般在1m/s左右。由于进水管进入环形配水槽后向两侧环流配水,所以三角配水槽断面按设计流量的一半计算,配水槽和缝隙流速为0.5~1.0m/s。

c.清水区上升流速一般为0.8~1.1mm/s,低温低浊水可采用0.7~0.9mm/s,清水区高度为1.5~2.0m。

d.叶轮提升流量一般为进水流量的3~5倍。叶轮直径为第二絮凝室内径的70%~80%。

e.第一絮凝室、第二絮凝室(包括导流室)和分离室的容积比,一般控制在2∶1∶7左右。第二絮凝室和导流室流速为0.4~0.6mm/s。

f.小池可用环形集水槽,池径较大时应增设辐射式水槽。池径小于6m时可用4~6条辐射槽,直径大于6m时可用6~8条。环形槽和辐射槽壁开孔,孔眼直径为20~30mm,流速为0.5~0.6m/s。集水槽计算流量应考虑1.2~1.5的超载系数,以适应今后流量的增大。

g.当池径较小,且进水悬浮物量经常性小于1000mg/L时,可采用人工排泥。池底锥角在45°左右。当池径较大,或进水悬浮物含量较高时,须有机械刮泥装置。安装刮泥装置部分的池底可做成平底或球壳形。

h.污泥浓缩斗容积为澄清池容积的1%~4%,根据池的大小设1~4个污泥斗。计算公式参见有关设计手册。

图2.47 水力循环澄清池示意图
1—进水管;2—喷嘴;3—喉管;
4—喇叭口;5—第一絮凝室;6—第二絮凝室;
7—泥渣浓缩室;8—分离室

机械搅拌澄清池处理效率较高,对原水水质、水量的变化适应性强,操作运行较为方便,适用于大中型水厂,进水悬浮物浓度应小于1000mg/L,短时允许3000~5000mg/L。但能耗大,设备维修工作量大。

②水力循环澄清池

图2.47所示为水力循环澄清池剖面图。水力循环澄清池的工作原理是:原水从池底进水管1经过喷嘴2高速喷入喉管3,在喉管下部喇叭口4附近形成真空而吸入回流泥渣。原水与回流泥渣在喉管3中剧烈混合后,被送入第一絮凝室5和第二絮凝室6,从第二絮凝室流出的泥水混合液,在分离室中进行泥水分离,清水上升由集水渠收集经出水管排出,泥渣则一部分进入泥渣浓度室7,一部分被吸入到喉管重新循环,如此周而复始工作。

水力循环澄清池结构简单,不需要机械设备,但泥渣回流量难以控制,由于絮凝室容积较小,絮凝时间较短,回流泥渣接触絮凝作用发挥不好。其处理效果较机械加速澄清池差,耗药量大,对原水水量、水质、水温的适应性差。并且池体直径和高度要有一定的比例,直径大,高度就大,故水力循环澄清池一般适用于中小型水厂。由于水力循环澄清池的局限性,目前已较少设计。

2.3 地表水的过滤处理

过滤是指以粒状材料(如石英砂等)组成具有一定孔隙率的滤料层来截留水中悬浮杂质,使水获得澄清的工艺过程。过滤工艺采用的构筑物称为滤池。滤池通常设在沉淀池或澄清池之后。

2.3.1 过滤原理

1)过滤的作用

①进一步降低了水的浊度,使滤后水浊度达到生活饮用水标准。在常规工艺中,原水经混凝沉淀后,沉淀(澄清)池的出水浊度通常在10度以下,为进一步降低沉淀(澄清)池出水的浊度,必须进行过滤处理。

②为滤后消毒创造良好条件。水中附着于悬浮物上的有机物、细菌乃至病毒等在过滤的同时随着水的浊度降低被部分去除,而残存于滤后水中的细菌、病毒等也因失悬浮物的保护或依附,将在滤后消毒过程中被消毒剂杀灭。

在生活饮用水净化工艺中,过滤是极为重要的净化工序,有时沉淀池或澄清池可以省略,但过滤是不可缺少的,它是保证生活饮用水卫生安全的重要措施。

2)过滤机理

石英砂滤料粒径通常为0.5~1.2mm,滤料层厚度一般为700mm左右。石英砂滤料新装入滤池后,经高速水流反洗,向上流动的水流使砂粒处于悬浮状态,从而使滤料粒径自上而下大致按由细到粗的顺序排列,称为滤料的水力分级。这种水力分级作用,使滤层中孔隙尺寸也因此由上而下逐渐增大。设表层滤料粒径为0.5mm,并假定以球体计,则表层细滤料颗粒之间的孔隙尺寸约为80μm。经过混凝沉淀后的悬浮物颗粒尺寸大部分小于30μm,这些悬浮颗粒进入滤池后却仍然能被滤层截留下来,且在孔隙尺寸大于80μm的滤层深处也会被截留。过滤主要是悬浮颗粒与滤料颗粒之间黏附作用的结果。

悬浮颗粒与滤料颗粒之间黏附包括颗粒迁移和颗粒附着两个过程。过滤时,水在滤层孔隙中曲折流动,被水流挟带的悬浮颗粒,依靠颗粒尺寸较大时产生的拦截作用、颗粒沉速较大时产生的沉淀作用、颗粒惯性较大时产生的惯性作用、较小颗粒的布朗运动产生的扩散作用及非球体颗粒由于速度梯度产生的水动力作用,脱离水流流线而向滤料颗粒表面靠近接触,此种过程称为颗粒迁移。当水中悬浮颗粒迁移到滤料表面上时,则在范德华引力、静电力、某些化学键和某些特殊的化学吸附力、絮凝颗粒的架桥作用下,附着在滤料颗粒表面上,或者附着在滤料颗粒表面原先黏附的杂质颗粒上,此种过程称为颗粒附着。

当水中的悬浮物颗粒未经脱稳时,其过滤效果很差。因此,过滤效果主要取决于滤料颗粒和水中悬浮颗粒的表面物理化学性质,而无需增大水中悬浮颗粒的尺寸。相反,若水中悬浮颗粒尺寸过大时,会形成机械筛滤而造成表层滤料很快堵塞。在过滤过程中,特别是过滤后期,当滤层中孔隙尺寸逐渐减小时,表层滤料的筛滤作用也不能完全排除,快滤池运行中应尽量避免这种现象出现。

根据上述过滤机理,在水处理技术中出现了“直接过滤”工艺。直接过滤是指原水不经沉淀而直接进入滤池过滤。在生产中,直接过滤工艺的应用方式有两种:

①原水加药后不经任何絮凝设备直接进入滤池过滤的方式称为接触过滤。

②原水加药混合后先经过简易微絮凝池(絮凝时间通常在几分钟),待形成粒径在40~60μm的微絮粒后即刻进入滤池过滤的方式称为微絮凝过滤。

采用直接过滤工艺时要求:

①原水浊度较低(一般要求常年原水浊度低于50度)、色度不高、水质较为稳定。

②滤料应选用双层、三层或均质滤料,且滤料粒径和厚度要适当增大,以提高滤层去污能力。

③需投加高分子助凝剂(如活化硅酸等)以提高微絮粒的强度和黏附力。

④滤速应根据原水水质决定,一般在5m/h左右。

3)滤层内杂质分布规律

过滤过程中,水中悬浮颗粒在与滤料颗粒黏附同时,还存在着因孔隙中水流剪力作用不断增大而导致颗粒从滤料表面上脱落趋势。在过滤的初期阶段,滤料层比较干净,孔隙率较大,孔隙流速较小,水流剪力也较小,因而黏附作用占优势。由于滤料在反洗以后形成粒径上小下大的自然排列,滤层中孔隙尺寸由上而下逐渐增大,所以,大量杂质将首先被表层的细滤料所截留。随着过滤时间的延长,滤层中杂质逐渐增多,孔隙率逐渐减小,表层的细滤料中的水流剪力亦随之增大,脱落作用占优,最后被粘附上的颗粒将首先脱落下来,或者被水流挟带的后续颗粒不再有黏附现象,于是,悬浮颗粒便向下层移动并被下层滤料截留,下层滤料的截留作用才逐渐得到发挥。但是下层滤料的截留作用还没有得到完全发挥时,过滤就被迫停止。这是由于表层滤料粒径最小,黏附比表面积最大,截留悬浮颗粒量最多,而滤料颗粒间孔隙尺寸又最小,因而,过滤到一定阶段后,表层滤料颗粒间的孔隙将逐渐被堵塞,严重时,会产生筛滤作用而形成“泥膜”,如图2.48(a)所示。其结果是:在一定过滤水头下,滤速急剧减小;或者在一定滤速下,水头损失达到极限值;或者因滤层表面受力不均匀而使泥膜产生裂缝,水流自裂缝中流出,造成短流而使出水水质恶化,如图2.48(b)所示。当上述情况其中一种出现时,过滤就将被迫停止,从而造成整个滤层的截留悬浮固体能力未能发挥出来,使滤池工作周期大大缩短。

过滤时,杂质在滤料层中的分布如图2.49所示,其分布不均匀的程度与进水水质、水温、滤料粒径、形状和级配、滤速、凝聚微粒强度等多种因素有关。衡量滤料层截留杂质能力的指标通常有滤层截污量和滤层含污能力等。单位体积滤层中所截留的杂质量称为滤层截污量。在一个过滤周期内,整个滤层单位体积滤料中的平均含污量称为滤层含污能力,单位为g/cm3或kg/m3。图2.49中曲线与坐标轴所包围的面积除以滤层总厚度即为滤层含污能力。在一定滤层厚度下,此面积越大,滤层含污能力越大。

图2.48 滤池“泥膜“示意图

图2.49 滤料层杂质分布图

提高滤层含污能力的根本途径是尽量使杂质在滤层中均匀分布。为此,出现了“反粒度”过滤,即沿过滤水流方向滤料粒径逐渐由大到小。具有代表性的有双层滤料、三层滤料及均质滤料等,如图2.50所示。

图2.50 滤料组成示意

双层滤料的组成:上层采用密度较小、粒径较大的轻质滤料(如无烟煤,密度约为1.5g/cm3,粒径为0.8~1.8mm),下层采用密度较大、粒径较小的重质滤料(如石英砂,密度约为2.65g/cm3,粒径为0.5~1.2mm),如图2.50(a)所示。由于两种滤料的密度差,在一定反冲洗强度下,经反冲洗水力分级后,粒径较大的轻质滤料(无烟煤)仍分布在滤层的上层,粒径较小的重质滤料(石英砂)则位于下层。虽然每层滤料粒径自上而下仍是由小到大,但对整个滤层来讲,上层滤料的平均粒径总是大于下层滤料的平均粒径。实践证明,双层滤料含污能力较单层滤料约高1倍以上。因此,在相同滤速下,可增长过滤周期;在相同过滤周期下,可提高滤速。

三层滤料的组成:上层采用小密度、大粒径的轻质滤料(如无烟煤,粒径为0.8~1.6mm),中层采用中等密度、中等粒径的滤料(如石英砂,粒径为0.5~0.8mm),下层采用小粒径、大密度的重质滤料(如石榴石、磁铁矿等,粒径为0.25~0.5mm),如图2.50(b)所示。就整个滤层而言,各层滤料平均粒径由上而下递减。如果三种滤料经反冲洗后在整个滤层中适当混杂,则称混合滤料。尽管称之为混合滤料,每层仍以其原有滤料为主,掺有少量其他滤料。这种滤料组合不仅可以提高滤层的含污能力,且因下层重质滤料粒径很小,对保证滤后水质有很大作用。

所谓均质滤料,是指沿整个滤层深度方向的任一横断面上,滤料组成和平均粒径均匀一致,如图2.50(c)所示。它并非指整个滤层的粒径完全相同,滤料粒径仍存在一定程度的差别。采用均质滤料,反冲洗时要求滤料层不能膨胀,为此应采用气、水反冲洗。

无论采用双层滤料、三层滤料或均质滤料都是对滤层组成的变动,但其滤池构造和工作过程和单层滤料滤池基本相同。

4)过滤的水头损失

(1)清洁滤层水头损失

过滤刚开始时,滤层经过反洗比较干净,此时产生的过滤水头损失较小,称为清洁滤层水头损失或起始水头损失,以h0表示。滤速为8~10m/h时,单层砂滤池的起始水损失约为30~40cm。

清洁滤层水头损失计算可采用卡曼唱康采尼(Carman唱Kozony)公式:

式中:h0——清洁滤层水头损失,cm;

 μ——水的运动黏度,cm2/s;

 g——重力加速度,981cm/s2

 m0——滤料孔隙率;

 d0——与滤料体积相同的球体直径,cm;

 l0——滤层厚度,cm;

 v——滤速,cm/s;

 φ——滤料颗粒球度系数。

对于非均匀滤料,应分为若干层,分别按式(2.24)计算出各层的水头损失再求和。

(2)等速过滤与变速过滤

过滤开始以后,随着过滤时间的延续,滤层中截留的杂质越来越多,滤层的空隙率逐渐减少。根据公式(2.24),当滤料形状、粒径、级配、厚度以及水温一定时,随着滤料孔隙率的减小,若水头损失保持不变,将引起滤速的逐渐减小。反之,在滤速保持不变时,将引起水头损失的增加。这样就产生了快滤池的两种基本过滤方式:等速过滤和变速过滤。

过滤过程中,滤池过滤速度保持不变,即滤池流量保持不变的过滤方式,称等速过滤。在等速过滤状态下,滤层水头损失增加值与过滤时间一般呈直线关系。随着过滤水头损失逐渐增加,滤池内水位随之升高,当水位升高至最高允许水位时,过滤停止以待冲洗,故等速过滤又称为变水头等速过滤。虹吸滤池和无阀滤池即属于等速过滤的滤池。

过滤过程中,滤池过滤速度随过滤时间的延续而逐渐减小的过滤方式称为变速过滤或减速过滤。在变速过滤状态下,过滤水头损失始终保持不变,由于滤层的孔隙率逐渐减小,必然使滤速也逐渐减小,故变速过滤又称为等水头变速过滤。移动罩滤池即属于变速过滤的滤池,普通快滤池可以设计成变速过滤,也可设计成等速过滤。

(3)滤层中的负水头

过滤过程中,当滤层截留了大量杂质,以致砂面以下某一深度处的水头损失超过该处水深时,便出现负水头现象。滤层出现负水头后,由于压力减小,原来溶解在水中的气体会不断释放出来。释放出来的气体对过滤有两个破坏作用:一是增加滤层局部阻力,减少有效过滤面积,增加过滤时的水头损失,严重时会影响滤后水质;二是气体会穿过滤层,上升到滤池表面,有可能把部分细滤料或轻质滤料带上来,从而破坏滤层结构。在反洗时,气体更容易将滤料带出滤池,造成滤料流失。

过滤时,滤层中的压力变化如图2.51所示,由于大量杂质被上层细滤料所截留,故在上层滤料中往往出现负水头现象。由图2.52可知,在a处和c处之间(如砂面以下b处),水头损失大于其相应位置的水深,于是在a~c范围内出现负水头现象。要避免出现负水头现象,一般有两种解决方法:一是增加滤层上的水深,二是使滤池出水水位等于或高于滤层表面。虹吸滤池和无阀滤池由于其出水水位高于滤层表面,所以不会出现负水头现象。

图2.51 慢滤池示意图

图2.52 过滤时滤层压力变化
1—静水压强线;2—清洁滤料过滤时水压线;3—过滤时间为t1时的水压线;
4—过滤时间为t2(t2>t1)时的水压线

2.3.2 快滤池的构造和工作过程

1)快滤池的类型

人类早期使用的滤池称为慢滤池,主要是依靠滤层表面因藻类、原生动物和细菌等微生物生长而生成的滤膜去除水中的杂质。慢滤池能较为有效地去除水中的色度、嗅和味,但由于滤速太慢(滤速仅为0.1~0.3m/h)、占地面积太大而被淘汰。快滤池就是针对这一缺点而发展起来的,其中以石英砂作为滤料的普通快滤池使用历史最久。在此基础上,为了增加滤层的含污能力以提高滤速和延长工作周期、减少滤池阀门以方便操作和实现自动化,人们从不同的工艺角度进行了改进和革新,出现了其他形式的快滤池,大致分类如下:

①按滤料层的组成可分为:单层石英砂滤料、双层滤料、三层滤料、均质滤料、新型轻质滤料滤池等。

②按阀门的设置可分为:普通快滤池、双阀滤池、单阀滤池、无阀滤池、虹吸滤池、移动冲洗罩滤池等。

③按过滤的水流方向可分为:下向流、上向流、双向流滤池等。

④按工作的方式可分为:重力式滤池、压力式滤池。

⑤按滤池的冲洗方式可分为:高速水流反冲洗滤池,气、水反冲洗滤池和表面助冲加高速水流反冲洗滤池。

2)快滤池的工作过程

滤池形式各异,但过滤原理基本一样,基本工作过程也相同,即过滤和冲洗交替进行。以普通快滤池为例,简要介绍快滤池的基本构造和工作过程。

普通快滤池又称四阀滤池,其构造如图2.53所示。图2.53是小型水厂滤池的格数较少时,采用的单行排列的布置形式。而大中型水厂由于滤池的格数较多,则宜采用双行对称排列,两排滤池中间布置管渠和阀门,称为管廊。普通快滤池本身包括浑水渠(进水渠)、冲洗排水槽、滤料层、承托层和配水系统5个部分。管廊内主要是进水、清水、冲洗来水、冲洗排水(或废水渠)等5种管渠及其相应的控制阀门。

图2.53 普通快滤池构造剖视图
1—进水总管;2—进水支管;3—清水支管;4—冲洗水支管;5—排水阀;
6—冲洗排水槽;7—滤料层;8—承托层;9—配水支管;10—配水干管;
11—冲洗水总管;12—清水总管;l3—浑水渠;14—废水渠

过滤时,关闭冲洗水支管4上的阀门与排水阀5,开启进水支管2与清水支管3上的阀门,原水经进水总管1、进水支管2由浑水渠13流入冲洗排水槽6后从槽的两侧溢流进入滤池,经过滤料层7、承托层8后,由底部配水系统的配水支管9汇集,再经配水系统干管10、清水支管3进入清水总管12流往清水池。原水流经滤料层时,水中杂质即被截留在滤料层中。随着过滤的进行,滤料层中截留的杂质越来越多,滤料颗粒间孔隙逐渐减少,滤料层中的水头损失也相应增加。当滤层中的水头损失增加到设计允许值(一般小于2.0~2.5m)以致滤池产水量减少,或水头损失不大但滤后水质不符合要求时,滤池须停止过滤进行反冲洗,从过滤开始到过滤结束所经历的时间称为过滤周期。

反冲洗时,关闭进水支管2与清水支管3上的阀门,开启排水阀5与冲洗水支管4上的阀门,冲洗水(即滤后水)由冲洗水总管11、冲洗水支管4经底部配水系统的配水干管10、配水支管9及支管上均匀分布的孔眼中流出,均匀地分布在整个滤池平面上,自下而上穿过承托层7及滤料层8。滤层在均匀分布的上升水流中处于悬浮状态,滤层中截留的杂质在水流剪力和滤料颗粒间的碰撞摩擦作用下从滤料颗粒表面剥离下来,随反冲洗废水进入冲洗排水槽6,再汇集入浑水渠13,最后经排水管和废水渠14排入下水道或回收水池。冲洗一直进行到滤料基本洗干净为止。冲洗结束后,即可关闭冲洗水支管4上的阀门与排水阀5,开启进水支管2与清水支管3上的阀门,过滤重新开始。

从过滤开始到冲洗结束所经历的时间称为快滤池工作周期。工作周期的长短涉及滤池的实际工作时间和反冲洗耗水量,因而直接影响到滤池的产水量。工作周期过短,滤池日产水量减少。快滤池工作周期一般为12~24h。

快滤池的产水量受诸多因素影响,其中最主要的是滤速。滤速相当于滤池负荷,是指单位时间、单位表面积滤池的过滤水量,单位为m3/(m2·h),通常化简为m/h。根据枟室外给水设计规范枠(GB 50013—2006)规定:当滤池的进水浊度在10度以下时,单层石英砂滤料滤池的正常滤速可采用8~10m/h,双层滤料滤池的正常滤速宜采用10~14m/h,三层滤料滤池的正常滤速宜采用18~20m/h。

2.3.3 滤料

1)对滤料的基本要求

在水处理中,过滤是利用具有一定孔隙率的滤料层截留水中悬浮杂质的。地表水处理中所用的滤料,必须符合以下要求:

①具有足够的机械强度,以免在冲洗过程中滤料出现磨损和破碎现象;

②具有足够的化学稳定性,以免滤料与水产生化学反应而恶化水质,尤其不能含有对人体健康和生产有害的物质;

③具有合适的粒径、良好的级配和适当的孔隙率;

④货源充足,价格低廉,应尽量就地取材。

迄今为止,生产中使用最为广泛的滤料仍然是石英砂。此外,随着双层和多层滤料的出现,常用的滤料还有无烟煤、磁铁矿、金钢砂、石榴石、钛铁矿、天然锰砂等。另外,还有聚苯乙烯及陶粒等轻质滤料。

2)滤料粒径级配

滤料颗粒都具有不规则的形状,其粒径是指正好可通过某一筛孔的孔径,如图2.54所示。

图2.54 校准孔径示意图

滤料粒径级配是指滤料中各种粒径颗粒所占的质量比例。生产中,滤料的粒径级配通常以最大粒径dmax、最小粒径dmin和不均匀系数K80来表示。

式中:d10——通过滤料质量10%的筛孔孔径,mm;

 d80——通过滤料重量80%的筛孔孔径,mm。

其中d10又称为有效粒径,它反映滤料中细颗粒尺寸;d80反映滤料中粗颗粒尺寸。由此可见,K80的大小反映了滤料颗粒粗细不均匀程度,K80越大,则粗细颗粒的尺寸相差越大,颗粒越不均匀,对过滤和反冲洗都会产生非常不利的影响。因为K80较大时,滤层的孔隙率小、含污能力低,从而导致过滤时滤池工作周期缩短;反冲洗时,若满足细颗粒膨胀要求,粗颗粒将得不到很好清洗,反之,若为满足粗颗粒膨胀要求,细颗粒可能被冲出滤池。K80越接近于1,滤料越均匀,过滤和反冲洗效果越好,但滤料价格很高。为了保证过滤和反冲洗效果,通常要求K80<2.0。

滤料粒径级配除采用最大粒径、最小粒径和不均匀系数表示以外,还可采用有效粒径d10和不均匀系数K80来表示。

另外,在生产中也有用K60(K60=d60/d10)代替K80来表示滤料不均匀系数。d60的涵义与d10或d80相同。

3)双层及多层滤料级配

双层滤料经反冲洗以后,有可能出现部分混杂(在煤唱砂交界面上),这主要取决于煤、砂的密度差、粒径差及煤和砂的粒径级配、滤料形状、水温及反冲洗强度等因素。生产经验表明,煤唱砂交界面混杂厚度在5cm左右,对过滤有益无害。我国常用的双层滤料粒径级配见表2.3。

三层滤料反冲洗后,滤层中也存在适当混杂,但上层仍然以煤粒为主,中层以石英砂为主,下层以重质矿石为主。就整个滤层而言,滤层孔隙尺寸由上而下递减。三层滤料粒径级配见表2.3。

表2.3 滤料级配及滤速

续表

注:滤料密度一般为:石英砂2.60~2.65g/cm3;无烟煤1.40~1.60g/cm3;重质矿石4.70~5.00g/cm3

4)滤料筛分

工程中,要求滤料必须在一定粒径范围内,并满足级配指标要求,故应对滤料进行筛选。以石英砂滤料为例,取某砂样300g,洗净后于105℃恒温箱中烘干,待冷却后称取100g,放于一组筛子过筛,筛毕称出留在各个筛子上的砂量,并计算出通过相应筛子的砂量,填入表2.4,然后据此表绘出筛分曲线,如图2.55所示。

表2.4 筛分试验记录

根据图2.55筛分曲线,可求得d10=0.4mm,d80=1.34mm,因此K80=3.37。由于K80>2.0,故该滤料不符合级配要求,必须进行筛选。假定设计要求:d10=0.55mm,K80=2.0,则d80=2.0×0.55=1.10mm。按此要求筛选滤料,步骤如下:

首先,自横坐标0.55mm和1.10mm两点分别作垂线与筛分曲线相交,自两交点作平行线与右边纵坐标轴相交。然后,以两交点分别作为10%和80%,并将10%~80%分成7等分,以此向上下两端延伸,即得0和100%之点重新建立新坐标,如图2.55右侧纵坐标所示。最后,再自新坐标原点和100%作平行线与筛分曲线相交,此两点以内即为所选滤料,其余部分应全部筛除(图中阴影部分)。由图可知,粗颗粒(d>1.54mm)约筛除13%,细颗粒(d<0.44mm)约筛除13%,共计26%左右。

图2.55 滤料筛分曲线

5)滤料层孔隙率的测定

滤料层孔隙率是指滤料层中的孔隙所占的体积与滤料层总体积之比,用m表示。滤料层孔隙率的测定方法与步骤如下:

①取一定量的滤料,在105℃下烘干、称重;

②用比重瓶测出其密度;

③将滤料放入过滤筒中,用清水过滤一段时间,待其压实后,量出滤层体积;

④按下式求出滤料孔隙率:

式中:G——滤料质量,kg;

 ρ——滤料颗粒密度,kg/m3

 V——滤料层体积,m3

滤料层孔隙率的大小影响快滤池的过滤效率,一般来讲,孔隙率越大,滤层的含污能力越高,滤池的工作周期就越长。滤料层孔隙率与滤料颗粒的形状、粒径、均匀程度以及滤料层的压实程度等因素有关。形状不规则和粒径均匀的滤料,孔隙率较大。一般石英砂滤料层的孔隙率在0.42左右。

在过滤和反冲洗过程中,滤料由于碰撞、摩擦会出现破碎和磨蚀而变细,从而造成滤料层孔隙率减小,对过滤产生不利影响。因此,在生产中应根据具体情况更换滤料。

2.3.4 配水系统和承托层

1)配水系统

配水系统位于滤池底部,其作用有:一是反冲洗时,使反冲洗水在整个滤池平面上均匀分布;二是过滤时,能均匀地收集滤后水。配水均匀性对反冲洗效果至关重要。若配水不均匀,水量小处,反冲洗强度低,滤层膨胀不足,滤料得不到足够的清洗;水量大处,因滤层膨胀过甚,造成滤料流失,反冲流速很大时,还会使局部承托层发生移动,过滤时造成漏砂现象。

根据配水系统反冲洗时产生的阻力大小,配水系统可分为大阻力、中阻力和小阻力三种配水系统。

(1)大阻力配水系统

常用的大阻力配水系统是穿孔管大阻力配水系统,如图2.56所示。它是由居中的配水干管(或渠)和干管两侧接出的若干根间距相等且彼此平行的支管构成。在支管下部开有两排与管中心铅垂线成45°且交错排列的配水孔。反冲洗时,水流从干管起端进入后流入各支管,由各支管孔口流出,再经承托层自下而上对滤料层进行冲洗,最后流入排水槽。

图2.56 穿孔管大阻力配水系统

如图2.56所示的大阻力配水系统中,a孔和c孔分别是距进口最近和最远的两孔,因此也是孔口内压力水头相差最大的两孔。在配水系统中,如果a孔和c孔的出流量近似相等,则其余各孔口的出流量更相近,即可认为在整个滤池平面上冲洗水是均匀分布的。大阻力配水系统的干管和支管均可近似看作沿程均匀泄流管路,若假定干管及支管的沿程水头损失忽略不计且各支管进口局部水头损失又基本相等,则由水力分析可得a孔与c孔内的压力水头关系为:

式中:Ha——a孔内的压力水头;

 Hc——c孔内的压力水头;

 v1——干管起端流速;

 v2——支管起端流速。

a孔和c孔内的压力水头与孔口流出后的终点水头之差,即为水流经孔口、承托层和滤料层的总水头损失,分别以H′a和H′c表示。由于反冲洗排水槽上缘水平,可以认为冲洗时自各孔口流出后的终点水头相同。式(2.27)中Ha和Hc均减去同一终点水头,可得:

由于水头损失与流量的平方成反比,则有:

式中:Qa——a孔的出流量;

 Qc——c孔的出流量;

 S1——孔口阻力系数,各孔口尺寸和加工精度相同时,其阻力系数均相同;

 S′2,S″2——分别为a孔和c孔处承托层及滤料层阻力系数之和。

将式(2.29)、式(2.30)代入式(2.28),可得:

分析式(2.31)可知,两孔口出流量不可能相等。但如果减小孔口面积以增大孔口阻力系数S1,就可以削弱承托层和滤料层阻力系数S′2、S″2及配水系统压力不均匀的影响,从而使Qa接近Qc,实现配水均匀。这就是大阻力配水系统的基本原理。

一般来讲,滤池冲洗时,承托层和滤料层对配水均匀性影响较小,当配水系统配水均匀性符合要求时,基本上可达到均匀反冲洗目的。通常要求Qa/Qc≥0.95,以保证配水系统中任意两孔口出流量之差不大于5%,由此得出,大阻力配水系统构造尺寸应满足下式:

式中:f——配水系统孔口总面积,m2

 ω1——干管截面积,m2

 ω2——支管截面积,m2

 n——支管根数。

式(2.32)表明,反冲洗配水的均匀性只与配水系统构造尺寸有关,而与反冲洗强度和滤池面积无关。但实际上,当单池面积过大时,影响配水均匀性的其他因素也将对冲洗效果产生影响,故单池面积一般不宜大于100m2

穿孔管大阻力配水系统的构造尺寸可根据设计参数来确定,见表2.5。

表2.5 穿孔管大阻力配水系统设计参数

注:①开孔比(α)是指配水孔口总面积与滤池面积之比;
②当干管(渠)直径大于300mm时,干管(渠)顶部也应开孔布水,并在孔口上方设置挡板;
③干管(渠)的末端应设直径为40~100mm排气管,管上安装阀门。

大阻力配水系统的优点是配水均匀性较好,但系统结构较复杂、检修困难,而且水头损失很大(通常在3.0m以上),冲洗时需要专用设备(如冲洗水泵),动力耗能多,故不能用于反冲洗水头有限的虹吸滤池和无阀滤池。此时,应采用中、小阻力配水系统。

(2)中、小阻力配水系统

由式(2.31)可知,如果将干管起端流速v1和支管起端流速v2减小至一定程度,配水系统压力不均匀的影响就会大大削弱,此时即使不增大孔口阻力系数S1,同样可以实现均匀配水,这就是小阻力配水系统的基本原理。

生产中,小阻力配水系统不再采用穿孔管系统而通常采用较大的底部配水空间,其上铺设钢筋混凝土穿孔滤板,如图2.57(a),(c)所示。由于水流进口断面积大、流速较小,底部配水室内压力将趋于均匀,从而达到均匀配水的目的。

图2.57 小阻力配水系统

另外,滤池采用气、水反冲洗时,还可以采用长柄滤头,如图2.57(b)所示。

小阻力配水系统的配水均匀性取决于开孔比的大小,开孔比越大,则孔口阻力越小,配水均匀性越差。小阻力配水系统的开孔比通常都大于1.0%,水头损失一般小于0.5m。由于其配水均匀性较大阻力配水系统差,故使用有一定的局限性,一般多用于单格面积不大于20m2的无阀滤池、虹吸滤池等。

由于孔口阻力与孔口总面积或开孔比成反比,故开孔比越大,孔口阻力越小。大阻力配水系统如果增大开孔比到0.60%~0.80%,就可以减小孔眼中的流速,从而减少配水系统的阻力。

所谓中阻力配水系统,就是指其开孔比介于大、小阻力配水系统之间,水头损失一般为0.5~3.0m。中阻力配水系统的配水均匀性优于小阻力配水系统。常见的中阻力配水系统有穿孔滤砖等,如图2.58所示。

图2.58 穿孔滤砖

2)承托层

承托层设于滤料层和底部配水系统之间。其作用有:一是支承滤料,防止过滤时滤料通过配水系统的孔眼流失,为此要求反冲洗时承托层不能发生移动;二是反冲洗水时均匀地向滤料层分配反冲洗水。滤池的承托层一般由一定级配天然卵石或砾石组成,铺装承托层时应严格控制好高程,分层清楚,厚薄均匀,且在铺装前应将黏土及其他杂质清除干净。采用大阻力配水系统时,单层或双层滤料滤池的承托层粒径和厚度见表2.6。

表2.6 单层或双层滤料滤池承托层粒径和厚度

对于三层滤料滤池,考虑到下层滤料粒径小、重度大,承托层上层应采用重质矿石,以免反冲洗时承托层移动。三层滤料滤池的承托层材料、粒径和厚度见表2.7。

表2.7 三层滤料滤池承托层材料、粒径与厚度

续表

注:配水系统如用滤砖且孔径为4mm时,第6层可不设。

如果采用中、小阻力配水系统,承托层可以不设,或者适当铺设一些粗砂或细砾石,视配水系统具体情况而定。

2.3.5 滤池的冲洗

滤池过滤一段时间后,当水头损失增加到设计允许值或滤后水质不符合要求时,滤池须停止过滤并进行反冲洗。反冲洗的目的是清除截留在滤料层中的杂质,使滤池在短时间内恢复过滤能力。

1)滤池冲洗方法

快滤池的反冲洗方法有3种:高速水流反冲洗;气、水反冲洗;表面辅助冲洗加高速水流反冲洗。

(1)高速水流反冲洗

高速水流反冲洗是利用高速水流反向通过滤料层时,产生的水流剪力和流态化滤层造成滤料颗粒间碰撞摩擦的双重作用,把截留在滤料层中的杂质从滤料表面剥落下来,然后被冲洗水带出滤池。为了保证反冲洗达到良好效果,要求必须有一定的冲洗强度、适宜的滤层膨胀度和足够的冲洗时间,称之为冲洗三要素。生产中,冲洗强度、滤层膨胀度和冲洗时间应根据滤料层的类别来确定,见表2.8。

表2.8 冲洗强度、膨胀度和冲洗时间

注:①设计水温按20℃计,水温每增减1℃,冲洗强度相应增减1%;
②由于全年水温、水质有变化,应考虑有适当调整冲洗强度的可能;
③选择冲洗强度应考虑所用混凝剂品种;
④膨胀度数值仅作设计计算用。

①滤层膨胀度。滤层膨胀度是指反冲洗时滤层膨胀后所增加的厚度与滤层膨胀前厚度之比,用e表示:

式中:L0——滤层膨胀前厚度,cm;

 L——滤层膨胀后厚度,cm。

②反冲洗强度。反冲洗强度是指单位面积滤层上所通过的冲洗流量,以L/(s·m2)计,也可换算成反冲洗流速,以cm/s计,1cm/s=10L/(s·m2)。

冲洗效果决定于反冲洗强度(即冲洗流速)。反冲洗强度过小时,滤层膨胀度不够,滤层孔隙中水流剪力小,截留在滤层中的杂质难以被剥落掉,滤层冲洗不净;反冲洗强度过大时,滤层膨胀度过大,由于滤料颗粒过于离散,滤层孔隙中水流剪力降低、滤料颗粒间相互碰撞摩擦的几率减小,滤层冲洗效果差,严重时还会造成滤料流失。故反冲洗强度过大或过小,冲洗效果均会降低。

生产中,反冲洗强度的确定还应考虑水温的影响,夏季水温较高,水的黏度较小,所需反冲洗强度较大;冬季水温低,水的黏度大,所需的反冲洗强度较小。一般来说,水温增减1℃,反冲洗强度相应增减1%。

③冲洗时间。冲洗时间长短也影响到滤池的冲洗效果。当冲洗强度和滤层膨胀度都满足要求但反冲洗时间不足时,滤料颗粒表面的杂质因碰撞摩擦时间不够而不能得到充分清除;同时,反冲洗废水也因排除不彻底导致污物重返滤层,覆盖在滤层表面而形成“泥膜”或进入滤层形成“泥球”。因此,足够的冲洗时间也是保证冲洗效果的关键。冲洗时间可按表2.8选用,也可根据冲洗废水的允许浊度决定。

对于非均匀滤料,在一定冲洗强度下,粒径小的滤料膨胀度大,粒径大的滤料膨胀度小。因此,要同时兼顾粗、细滤料膨胀度要求是不可能的。理想的膨胀率应该是截留杂质较多上层滤料恰好完全膨胀起来而下层最大颗粒滤料刚刚开始膨胀,才能获得较好的冲洗效果。因此,设计或操作中,可以最粗滤料刚开始膨胀作为确定冲洗强度的依据。如果由此而导致上层细滤料膨胀度过大甚至引起滤料流失,滤料级配应加以调整。

(2)气、水反冲洗

高速水流反冲洗虽然操作方便,池子和设备较简单,但冲洗耗水量大,水力分级现象明显,而且未被反冲洗水流带走的大块絮体沉积于滤层表面后,极易形成“泥膜”,妨碍滤池正常过滤。因此,为了改善反冲洗效果,需要采取一些辅助冲洗措施,如气、水反冲洗等。

气、水反冲洗的原理是:利用压缩空气进入滤池后,上升空气气泡产生的振动和擦洗作用,将附着于滤料表面杂质清除下来并使之悬浮于水中,然后再用水反冲把杂质排出池外。空气由鼓风机或空气压缩机和储气罐组成的供气系统供给,冲洗水由冲洗水泵或冲洗水箱供应,配气、配水系统多采用长柄滤头。气、水反冲操作方式有以下几种:

①先进入压缩空气擦洗,再进入水反冲。

②先进入气—水同时反冲,再进入水反冲。

③先进入压缩空气擦洗,再进入气—水同时反冲,最后进入水反冲。

确定冲洗程序、冲洗时间和冲洗强度时,应考虑滤池构造、滤料种类、密度、粒径级配及水质水温等因素。目前,我国还没有气、水反冲洗控制参数和要求的统一规定。生产中,多根据经验选用。

采用气、水反冲洗有以下优点:空气气泡的擦洗能有效地使滤料表面污物破碎、脱落,故冲洗效果好,节省冲洗水量;冲洗时滤层不膨胀或微膨胀,不产生或不明显产生水力分级现象,从而提高滤层含污能力。但气、水反冲洗需增加气冲设备(鼓风机或空气压缩机和储气罐),池子结构及冲洗操作也较复杂。国外采用气、水反冲比较普遍,我国近年来气、水反冲也日益增多。

2)冲洗水的供给

普通快滤池反冲洗水供给方式有两种:冲洗水泵和冲洗水塔(箱)。水泵冲洗建设费用低,冲洗过程中冲洗水头变化较小,但由于冲洗水泵是间隙工作且设备功率大,在冲洗的短时间内耗电量大,使电网负荷极不均匀;水塔(箱)冲洗操作简单,补充冲洗水的水泵较小,并允许在较长的时间内完成,耗电较均匀,但水塔造价较高。若有地形时,采用水塔(箱)冲洗较好。

(1)冲洗水塔(箱)

水塔(箱)冲洗如图2.59所示,为避免冲洗过程中冲洗水头相差太大,水塔(箱)内水深不宜超过3m。水塔(箱)容积按单格滤池所需冲洗水量的1.5倍计算:

式中:W——水塔(箱)容积,m3

 F——单格滤池面积,m2

 t——冲洗历时,min;

 q——反冲洗强度,L/(s·m2)。

水塔(箱)底高出滤池冲洗排水槽顶高度H0,可按下式计算:

H0=h1+h2+h3+h4+h5(2.35)

式中:h1——从水塔(箱)至滤池的管道中总水头损失,m;

 h2——滤池配水系统水头损失,m。

大阻力配水系统按孔口平均水头损失计算:

图2.59 水塔(箱)冲洗

α——配水系统开孔比;

μ——孔口流量系数;

h3——承托层水头损失,m。

q——反冲洗强度,L/(s·m2);

Z——承托层厚度,m;

h4——滤料层水头损失,m;

h5——备用水头,一般取1.5~2.0m。

(2)水泵冲洗

水泵冲洗如图2.60所示。冲洗水泵要考虑备用,可单独设置冲洗泵房,也可设于二级泵站内。水泵流量按冲洗强度和滤池面积计算:

式中:q——反冲洗强度,L/(s·m2);

 F——单格滤池面积,m2

水泵扬程为:

式中:H0——排水槽顶与清水池最低水位高差,m;

 h1——清水池至滤池的管道中总水头损失,m。

其余符号含义同式(2.35)。

图2.60 水泵冲洗

快滤池冲洗水的供给除采用上述冲洗水泵和冲洗水塔(箱)两种方式外,虹吸滤池、移动罩滤池、无阀滤池等则是利用同组其他格滤池的出水及其水头进行反冲洗,而无需设置冲洗水塔(箱)或冲洗水泵。

3)冲洗废水的排除

滤池冲洗废水的排除设施包括反冲洗排水槽和废水渠。反冲洗时,冲洗废水先溢流入反冲洗排水槽再汇集到废水渠后排入下水道(或回收水池),如图2.61所示。

(1)反冲洗排水槽

为了及时均匀地排除冲洗废水,反冲洗排水槽设计应符合以下要求:

①冲洗废水应自由跌落进入反冲洗排水槽,再由反冲洗排水槽自由跌落进入废水渠,以避免形成壅水,使排水不畅而影响冲洗均匀。为此,要求反冲洗排水槽内水面以上保持7cm左右的超高,废水渠起端水面低于反冲洗排水槽底20cm。

图2.61 反冲洗废水排除示意图

②反冲洗排水槽口应力求水平一致,以保证单位槽长的溢入流量相等。故施工时其误差应限制在2mm以内。

③反冲洗排水槽总平面面积一般应小于25%的滤池面积,以免影响上升水流的均匀性。

④相邻两槽中心距一般为1.5~2.0m,间距过大会影响排水的均匀性。

⑤反冲洗排水槽高度要适当。槽口太高,废水排除不净;槽口太低,会使滤料流失。

为避免冲走滤料,滤层膨胀面应控制在槽底以下。生产中常用的反冲洗排水槽断面如图2.62所示,反冲洗排水槽顶距未膨胀滤料表面的高度H为:

图2.62 反冲洗排水槽断面

式中:e——冲洗时滤层膨胀度,%;

 H2——未膨胀滤料层厚度,m;

 x——反冲洗排水槽断面模数,m。

 Q1——每条反冲洗排水槽流量,m3/s;

 q——反冲洗强度,L/(s·m2);

 F——单个滤池面积,m2

 n——单个滤池的反冲洗排水槽条数;

 δ——反冲洗排水槽底厚度,m。

式中,0.07m为反冲洗排水槽超高。

反冲洗排水槽底可以水平设置,也可以设置一定坡度。

(2)废水渠

废水渠为矩形断面,沿滤池池壁一侧布置。当滤池面积很大时,为使排水均匀,废水渠也可布置在滤池中间。废水渠底距反冲洗排水槽底高度可按下式计算:

式中:Q——滤池总冲洗流量,m3/s;

 B——废水渠宽度,m;

 g——重力加速度,9.81m/s2

 0.2m——废水渠起端水面低于反冲洗排水槽底高度,m。

2.3.6 普通快滤池工艺设计

普通快滤池设有4个阀门,即进水阀、排水阀、反冲洗阀、清水阀,故又称为四阀滤池,如图2.63(a)(b)(c)所示。如果用虹吸管代替进水阀门和排水阀门,则又称为双阀滤池,如图2.63(d)所示。双阀滤池与普通快滤池构造和工艺过程完全相同,仅以排水虹吸管和进水虹吸管分别代替排水阀门和进水阀门而已。

图2.63 快滤池管廊布置

1)滤池总面积及单池面积

如前所述,滤速相当于滤池负荷,是指单位时间、单位表面积滤池的过滤水量。由此可得出滤池总面积F为:

式中:Q——设计流量(水厂供水量与水厂自用水量之和),m3/h;

 v——设计滤速,m/h。

在设计流量一定时,设计滤速越高,滤池面积越小,滤池造价越低,反之亦然。设计滤速的确定应以保证滤后水质为前提,同时考虑经济影响和运行管理。一般情况下,当水源水质较差、滤前处理效果难以保证及从总体规划考虑,需要适当保留滤池生产潜力时,设计滤速宜选用低一些。设计滤速范围见表2.3。

单池面积可根据滤池总面积与滤池个数确定:

式中:F′——单池面积,m2

 n——滤池个数。

滤池个数直接涉及滤池造价、冲洗效果和运行管理。滤池个数多时,单池面积小,冲洗效果好,运转灵活,强制滤速低(强制滤速是指1个或2个滤池停产检修时,其余滤池在超过正常负荷下的滤速,用vn表示),但滤池总造价高,操作管理较麻烦。若滤池个数过少,一方面因单池面积过大,布水均匀性差,冲洗效果欠佳;另一方面当某个滤地反冲洗或停产检修时,对水厂生产影响较大,且强制滤速高,安全性差。设计中,滤池个数应通过技术经济比较确定,但不得少于两个。单池面积与滤池总面积的关系参考表2.9。

表2.9 单池面积与滤池总面积

2)滤池长宽比

单个滤池平面可为正方形,也可为矩形。滤池长宽比决定于处理构筑物总体布置,同时与造价也有关系,应通过技术经济比较确定。单个滤池的长宽比可参考表2.10。

表2.10 单个滤池长宽比

3)滤池总深度

滤池总深度包括:

①滤池保护高度:0.20~0.30m;

②滤层表面以上水深:1.5~2.0m;

③滤层厚度:单层砂滤料一般为0.70m,双层及多层滤料一般为0.70~0.80m;

④承托层厚度:见表2.2和表2.3。

考虑配水系统的高度,滤池总深度一般为3.0~3.5m。

4)管(渠)设计流速

快滤池管(渠)断面应根据设计流速来确定,见表2.11。

表2.11 快滤池管(渠)设计流速

注:考虑到处理水量有可能增大,流速不宜取上限值。

5)管廊布置

集中布置滤池的管(渠)、配件及闸阀的场所称为管廊。管廊中的管道一般采用金属材料,也可用钢筋混凝土渠道。

管廊布置应力求紧凑、简捷;要有良好的防水、排水、通风及照明设备;要留有设备及管配件安装、维修的必要空间;要便于与滤池操作室联系。设计中,往往根据具体情况提出几种布置方案进行比较后决定。当滤池个数少于5个时,宜采用单行排列,管廊设置于滤池一侧;超过5个时,宜采用双行排列,管廊设置于两排滤池中间。常见的管廊布置形式有以下几种:

①进水、清水、反冲洗水及排水4个总渠,全部布置于管廊内,如图2.63(a)所示。

②反冲洗水和清水两个总渠布置于管廊内,进水渠和排水渠则布置于滤池的一侧,如图2.63(b)所示。

③进水、反冲洗水及清水管均采用金属管道,排水总渠单独设置,如图2.63(c)所示。

④用排水虹吸管和进水虹吸管分别代替排水和进水支管,反冲洗水和清水2个总渠布置于管廊内,反冲洗水支管和清水支管仍用阀门控制,称为虹吸式双阀滤池,简称双阀滤池,如图2.63(d)所示。

6)设计中注意的问题

①滤池底部应设排空管,其入口处设栅罩,池底应有一定的坡度,坡向排空管。

②每个滤池宜装设水头损失计及取样管。

③各种密封渠道上应设人孔,以便检修。

④滤池壁与砂层接触处应拉毛成锯齿状,以免过滤水在该处形成“短路”而影响水质。

⑤滤池清水管上应设置短管,管径一般采用75~200mm,以便排放初滤水。

2.3.7 其他形式滤池

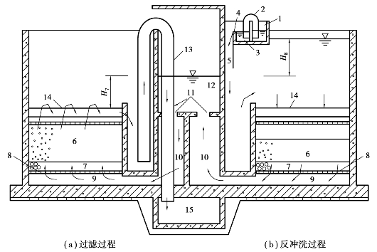
1)虹吸滤池

(1)虹吸滤池构造和工作过程

虹吸滤池是由6~8格单元滤池所组成的一个过滤整体,称为“一组(座)滤池”,其构造如图2.64所示。由于每格单元滤池的底部配水空间通过清水渠相互连通,故单元滤池之间存在着一种连锁的运行关系。一组(座)虹吸滤池的平面形状多为矩形,呈双排布置,两排中间为清水渠,在清水渠的一端设有清水出水堰以控制清水渠内水位。每格单元滤池都设有排水虹吸管和进水虹吸管,分别用来代替排水阀门和进水阀门,依靠这两个虹吸可控制虹吸滤池的过滤和反冲洗。排水虹吸管和进水虹吸管的虹吸形成与破坏均借用真空系统的作用。

①过滤过程。图2.64(a)为虹吸滤池的过滤过程,待滤水由进水总渠1借进水虹吸管2流入单元滤池进水槽3,再经溢流堰4溢流入布水管5后进入滤池。溢流堰4起调节进水槽3中水位的作用。进入滤池的水自上而下通过滤层6进行过滤,滤后水经承托层7、小阻力配水系统8、底部配水空间9进入清水室10,由连通孔11进入清水渠12,汇集后经清水出水堰溢流进入清水池。

在过滤过程中,随着滤料层中截留悬浮杂质的不断增加,过滤水头损失不断增大,由于清水出水堰上的水位不变,因此滤池内水位不断上升。当某一格单元滤池的水位上升到最高设计水位(或滤后水浊度不符合要求)时,该格单元滤池便需停止过滤,进行反冲洗。此时,滤池内最高水位与清水出水堰堰顶高差,即为最大过滤水头(H8),亦即期终允许水头损失值,一般采用1.5~2.0m。

图2.64 虹吸滤池过滤反冲洗过程
1—进水总管;2—进水虹吸管;3—进水槽;4—溢流堰;5—布水管;6—滤料层;
7—承托层;8—配水系统;9—底部配水空间;10—清水室;11—连通孔;
12—清水渠;13—排水虹吸管;14—排水槽;15—排水渠

②反冲洗过程。图2.64(b)为虹吸滤池的反冲洗过程。反冲洗时,应先破坏该格单元滤池的进水虹吸,使该格单元滤池停止进水,但过滤仍在进行,故滤池水位逐渐下降。当滤池内水位下降速度显著变慢时,利用真空系统抽出排水虹吸管13中的空气使之形成虹吸,滤池内剩余待滤水被排水虹吸管13迅速排入滤池底部排水渠15,滤池内水位迅速下降。待池内水位低于清水渠12中的水位时,反冲洗正式开始,滤池内水位继续下降。当滤池内水面降至冲洗排水槽14顶端时,反冲洗水头达到最大值。在反冲洗水头的作用下,其他5(或7)格单元滤池的滤后水源源不断地从清水渠12经连通孔11、清水室10进入该格单元滤池的底部配水空间9,清水经小阻力配水系统8、承托层7沿着与过滤时相反的方向自下而上通过滤料层6,对滤料层进行反冲洗。冲洗废水经排水槽14收集后由排水虹吸管13排入滤池底部排水渠15,经排水水封井溢流进入下水道。待反冲洗废水变清(废水浊度20度左右)后,破坏排水虹吸管13的真空,冲洗停止。然后再用真空系统使进水虹吸管2恢复工作,过滤重新开始。运行中,6(或8)格单元滤池将轮流进行反冲洗,应避免2格以上单元滤池同时冲洗。

反冲洗时,清水出水堰堰顶与反冲洗排水槽顶高差即为最大冲洗水头(H7),冲洗水头一般采用1.0~1.2m。由于冲洗水头的限制,虹吸滤池只能采用小阻力配水系统。冲洗强度和冲洗历时与普通快滤池相同。

为了适应滤前水水质的变化和调节冲洗水头,通常在清水渠出水堰上设置可调节堰板,以便根据运转的实际情况进行调节。

(2)虹吸滤池的水力自控系统

如图2.65所示为是一种常见的虹吸滤池水力自控系统。

图2.65 虹吸滤池水力自控示意图
1—进水虹吸管;2—排水虹吸管;3—排水虹吸管副主管;4—水射器;5—抽气管;6—计时水槽;
7—排水虹吸破坏管;8—进水虹吸辅助管;9—水射器;10—抽气管;11—强制虹吸辅助管阀门;
12—强制虹吸辅助管;13—水射器;14—抽气管;15—进水虹吸破坏管;16—及时调节阀;
17—破坏管封闭阀门;18—强制操作阀门;19—排水渠;20,21—强制破坏阀门;22—清水渠

①水力自控运行。工作过程是:虹吸滤池的过滤后期,由于滤池内水位上升至最高水位,排水虹吸辅助管3的管口被淹没,水开始由排水虹吸辅助管3溢流进排水渠19。此时,在水射器4处产生负压抽气作用,通过抽气管5使排水虹吸管2形成虹吸,滤池内水位快速下降,当降至滤池清水渠22的水位以下时,冲洗自动开始。由于进水虹吸破坏管15的管口与大气相通,空气进入进水虹吸管1后,进水虹吸被破坏,进水停止。池中水位继续下降,当水位下降至计时水槽6缘口以下时,排水虹吸管2在排水同时,通过排水虹吸破坏管7抽吸计时水槽6中的水,直至将水吸完(吸空时间可通过计时调节阀16控制),使排水虹吸破坏管7管口露出,空气进入排水虹吸管,虹吸即被破坏,冲洗结束。由于各格单元滤池底部相通,池内水位回升,封住进水虹吸破坏管15的管口,并借进水虹吸辅助管8、水射器9和抽气管10抽出进水虹吸管1内的空气,形成虹吸,进水重新开始。此时,滤池内水位继续上升,当超过清水渠内的水位时,过滤又自动重新开始,最终实现了虹吸滤池的过滤与反冲洗自动交替进行。

②强制操作

a.强制冲洗:打开强制虹吸辅助管12上的阀门11及抽气管14上的阀门18,就可以依靠水力作用使排水虹吸管形成虹吸,进行反冲洗。冲洗结束后,应关闭阀门11和18。

b.强制破环:打开阀门21以破坏进水虹吸;关闭阀门11,打开阀门18和20可以破坏排水虹吸。

(3)虹吸滤池的设计要点

①单元滤池的格数。由于虹吸滤池的冲洗水是由同组其他格单元滤池的滤后水通过清水渠直接供给的,因此当一格单元滤池反冲洗时,其所需的反冲洗水量不能大于同组其他格单元滤池的过滤水量之和,即

式中:n——单元滤池的格数;

 F——单元滤池的面积,m2

 q——反冲洗强度,L/(s·m2);

 vn——强制滤速,m/h。

强制滤速是指在进水量不变的条件下,一格单元滤池反冲洗时同组其他格单元滤池的滤速。由于1格单元滤池冲洗时滤池总进水流量(Q=nvF)仍保持不变,即

式中:v——设计滤速,m/h。

将式(2.48)代入式(2.46)得:

以单层石英砂滤料虹吸滤池为例,按设计规范,若选用的反样洗强度q=15L/(s· m2),v=9m/h,则n≥6格。分格数少时,一方面冲洗强度不能保证;另一方面在滤池总面积一定时则单元滤池面积大,因虹吸滤池采用的是小阻力配水系统,冲洗均匀性就差。分格数多,则滤池的造价增加。因此,在我国规范规定的滤速和反冲洗强度下,虹吸滤池分格数一般为6~8格。

②虹吸滤池的总深度。

式中:H1——滤池底部配水空间高度,一般取0.3m;

 H2——小阻力配水系统的高度,0.1~0.2m;

 H3——承托层厚度,一般取0.2m;

 H4——滤料层厚度,0.7~0.8m;

 H5——冲洗时滤层的膨胀高度,H5=H4×e(m);

 H6——反冲洗排水槽高度,H6=2.5x+δ+0.07(m);

 H7——清水出水堰堰顶与反冲洗排水槽顶高差,即为最大冲洗水头,采用1.0~1.2m;

 H8——滤池内最高水位与清水出水堰堰顶高差,即为最大过滤水头,采用1.5~2.0m;

 H9——滤池保护高度,一般取0.15~0.3m。

虹吸滤池的总深度一般为4.5~5.5m。

③虹吸管。通常,排水虹吸管流速宜采用1.4~1.6m/s,进水虹吸管流速宜采用0.6~1.0m/s。为了防止排水虹吸管进口端形成涡旋挟带空气,影响排水虹吸管工作,可在该管进口端设置防涡栅。

虹吸滤池的主要优点是:无需大型阀门及相应的开闭控制设备,不设管廊,操作管理方便,易于实现自动化;它利用同组其他单元滤池的出水及其水头进行反冲洗,不需要设置冲洗水塔(箱)或冲洗水泵;出水水位高于滤料层,过滤时不会出现负水头现象。主要存在的问题是:由于虹吸滤池的构造特点,池深比普通快滤池大且池体构造复杂;反冲洗水头低,只能采用小阻力配水系统,冲洗均匀性较差;冲洗强度受其余几格滤池的过滤水量影响,故冲洗效果不像普通快滤池那样稳定。

2)重力式无阀滤池

(1)构造及工作过程

重力式无阀滤池的构造如图2.66所示。过滤时,待滤水经进水分配槽1,由U形进水管2进入虹吸上升管3,再经伞形顶盖4下面的配水挡板5整流和消能后,均匀地分布在滤料层6的上部,水流自上而下通过滤层6、承托层7、小阻力配水系统8进入底部集水空间9,然后清水从底部集水空间经连通渠(管)10上升到冲洗水箱11,冲洗水箱水位开始逐渐上升,当水箱水位上升到出水渠12的溢流堰顶后,溢流入渠内,最后经滤池出水管进入清水池。冲洗水箱内贮存的滤后水即为无阀滤池的冲洗水。

过滤开始时,虹吸上升管内水位与冲洗水箱中水位的高差H0称为过滤起始水头损失,如图2.66所示,一般为0.2m左右。

在过滤过程中,随着滤料层内截留杂质量的逐渐增多,过滤水头损失也逐渐增加,从而使虹吸上升管3内的水位逐渐升高。如图2.66所示,当水位上升到虹吸辅助管13的管口时(这时的虹吸上升管内水位与冲洗水箱中水位的高差H称为终期允许水头损失,一般采用1.5~2.0m),水便从虹吸辅助管13中不断向下流入水封井16内,依靠下降水流在抽气管14中形成的负压和水流的挟气作用,抽气管14不断将虹吸管中空气抽出,使虹吸管中真空度逐渐增大。其结果是虹吸上升管3中水位和虹吸下降管15中水位都同时上升,当上升管中的水越过虹吸管顶端下落时,下落水流与下降管中上升水柱汇成一股冲出管口,把管中残留空气全部带走,形成虹吸。此时,由于伞形盖内的水被虹吸管排出池外,造成滤层上部压力骤降,从而使冲洗水箱内的清水沿着与过滤时相反的方向自下而上通过滤层,对滤料层进行反冲洗。冲洗后的废水经虹吸管进入排水水封井16排出。冲洗时水流方向如图2.67所示。

图2.66 无阀滤池过滤过程
1—进水分配槽;2—进水管;3—虹吸上升管;4—顶盖;5—挡板;6—滤料层;7—承托层;8—配水系统;
9—底部配水空间;10—连通渠;11—冲洗水箱;12—出水渠;13—虹吸辅助管;14—抽气管;
15—虹吸下降管;16—水封井;17—虹吸破坏斗;18—虹吸破坏管;19—压力水管;20—锥形挡板

图2.67 无阀滤池冲洗过程
1—进水分配槽;2—进水管;3—虹吸上升管;4—顶盖;5—挡板;6—滤料层;7—承托层;
8—配水系统;9—底部配水空间;10—连通渠;11—冲洗水箱;12—出水渠;13—虹吸辅助管;14—抽气管;
15—虹吸下降管;16—水封井;17—虹吸破坏斗;18—虹吸破坏管;19—压力水管;20—锥形挡板

在冲洗过程中,冲洗水箱内水位逐渐下降。当水位下降到虹吸破坏斗17缘口以下时,虹吸管在排水同时,通过虹吸破坏管18抽吸虹吸破坏斗中的水,直至将水吸完,使管口与大气相通,空气由虹吸破坏管进入虹吸管,虹吸即被破坏,冲洗结束,过滤自动重新开始。

在正常情况下,无阀滤池冲洗是自动进行的。但是,当滤层水头损失还未达到最大允许值而因某种原因(如周期过长、出水水质恶化等)需要提前冲洗时,可进行人工强制冲洗。强制冲洗设备是在虹吸辅助管与抽气管相连接的三通上部,接一根压力水管,夹角为15°,并用阀门控制,如图2.68所示。当需要人工强制冲洗时,打开阀门,高速水流便在抽气管与虹吸辅助管连接三通处产生强烈的抽气作用,使虹吸很快形成,进行强制反洗。

(2)重力式无阀滤池的设计要点

①冲洗水箱。重力式无阀滤池冲洗水箱与滤池整体浇制,位于滤池上部。水箱容积按冲洗一次所需水量确定:

图2.68 人工强制反冲洗装置

式中:q——冲洗强度,L/(s·m2);

 F——滤池面积,m2

 t——冲洗时间,min,一般取4~6min。

考虑到反冲洗时冲洗水箱内水位是变化的,为减小反冲洗强度的不均匀程度,应采用2格以上滤池合用一个冲洗水箱,以减小冲洗水箱水深。

设n格滤池合用一个冲洗水箱,则水箱平面面积应等于单格滤池面积的n倍。水箱有效水深ΔH为:

由此可见,合用一个冲洗水箱的滤池格数越多,所需冲洗水箱深度便越小,滤池总高度可以降低。这样,不仅可以降低造价,也有利于与滤前处理构筑物在高程上的衔接,同时冲洗强度的不均匀程度也可降低。一般情况下,多以2格滤池合用一个冲洗水箱。实践证明,若合用水箱的滤池过多,当其中一格滤池的冲洗即将结束时,虹吸破坏管刚露出水面,由于其余数格滤池不断向冲洗水箱大量供水,管口很快又被水封,致使虹吸破坏不彻底,造成该格滤池时断时续地不停冲洗。

考虑到一格滤池检修时不影响其他格滤池生产,通常在冲洗水箱内根据滤池分格情况设置隔墙,其间用连通管相连,管上设闸板,平时开启,以便反冲洗时水经连通管冲洗另一格滤池。检修时关闭,以便将滤池放空。

②虹吸管计算。如图2.69所示,无阀滤池在冲洗过程中,因冲洗水箱内水位不断下降,反冲洗水头(水箱内水位与排水水封井堰口水位差)由大到小,从而使冲洗强度也由高到低,一般初始冲洗强度为12L/(s·m2),终期冲洗强度用8L/(s·m2)。因此,在设计中通常以平均冲洗水头Ha(即最大冲洗水头Hmax与最小冲洗水头Hmin的平均值)作为计算依据,来选定冲洗强度,称之为平均冲洗强度qa。由qa计算所得的冲洗流量称为平均冲洗流量,以Q1表示。冲洗时,若滤池继续进水(进水流量以Q2表示),则虹吸管中的计算流量应为平均冲洗流量与进水流量之和(即Q=Q1+Q2)。其余部分(包括连通渠、配水系统、承托层、滤料层)所通过的计算流量仍为冲洗流量Q1。冲洗水头即为水流在整个流程中(包括连通渠、配水系统、承托层、滤料层、挡水板及虹吸管等)的水头损失之和,总水头损失为:

式中:h1——连通渠水头损失,m;

 h2——小阻力配水系统水头损失,m,视所选配水系统型式而定;

 h3——承托层水头损失,m;

 h4——滤料层水头损失,m;

 h5——挡板水头损失,一般取0.05m;

 h6——虹吸管沿程和局部水头损失之和,m。

按平均冲洗水头和计算流量即可求得虹吸管管径。管径一般采用试算法确定,即初步选定管径,算出总水头损失钞h,当钞h接近Ha时,所选管径适合,否则重新计算。

图2.69 反冲洗强度调节器

在有地形可利用的情况下(如丘陵、山地),降低排水水封井堰口标高以增加可以利用的冲洗水头,可以减小虹吸管管径以节省建设费用。无阀滤池在运行过程中,由于实际运行条件的改变或季节的变化,往往需要调整反冲洗强度。为此,应在虹吸下降管管口处设置反冲洗强度调节器,如图2.69所示。反冲洗强度调节器由锥形挡板和螺杆组成。后者可使锥形挡板上、下移动以控制出口开启度。当需要增大反冲洗强度时,可降低锥形挡板高度,增大出口面积,减少出口阻力;当需要减小冲洗强度时,可升高锥形挡板高度,从而减小出口面积,增大出口阻力。

③进水分配槽。进水分配槽的作用,是通过槽内堰顶溢流使各格滤池独立进水,并保持进水流量相等。分配槽堰顶标高应等于虹吸辅助管和虹吸上升管连接处的管口标高再加进水管水头损失,再加10~15cm富余高度,以保证堰顶自由跌水。槽底标高应考虑气、水分离效果,若槽底标高较高,大量空气会随水流进入滤池,无法正常进行过滤或反冲洗。通常,将槽底标高降至滤池出水渠堰顶以下约0.5m。

④反冲洗时自动停止进水装置。无阀滤池因不设置进水阀门,而往往造成反冲洗时不能停止进水。这样不仅浪费水量,而且使虹吸管管径增大。为此,应考虑设置冲洗时自动停止进水装置,如图2.70所示。

其工作原理是:过滤开始前,进水总渠1中的水由连通管6流出,借虹吸抽气管4抽吸进水虹吸管2中的空气,使进水虹吸产生,滤池进水过滤。反冲洗时,由于排水虹吸管的抽吸作用,U形存水弯水面将迅速下降至冲洗水箱水面以下,故虹吸破坏管5的管口很快露出水面,空气进入,破坏虹吸,进水很快停止。反冲洗完毕后,由于其他滤池的过滤没有停止,滤后水充满冲洗水箱,U形存水弯中水面上升使虹吸破坏管口重新被水封,进水虹吸管又形成虹吸,滤池进水恢复,过滤重新开始。

图2.70 虹吸式自动停止进水装置
1—进水总渠;2—进水虹吸管;
3—进水虹吸水封;
4—虹吸抽气管;5—虹吸破坏管;
6—连通管;7—进水U形管

⑤U形进水管。为防止滤池冲洗时空气经进水管进入虹吸管,造成虹吸被破坏,应在进水管上设置U形存水弯。为安装方便,同时也为了水封更加安全,常将存水弯底部置于水封井的水面以下。

(3)重力式无阀滤池的运行管理

①滤池初次运行应排除滤料层中的空气。

②滤池刚投入试运行时,应待冲洗水箱充满后连续进行多次的人工强制冲洗,到滤料洗净为止,然后再用漂白粉溶液或液氯进行消毒处理。

③滤池在试运行期间,应对冲洗历时、虹吸形成时间、滤池冲洗周期、滤池工作周期等指标进行测定,并校核到正常状态。平时正常运转时,只需对进、出水浊度及各种特殊情况进行记录。

④滤池初次反冲洗前,应将冲洗强度调节器调整到相当于虹吸下降管管径1/4的开启度,然后逐渐加大开启度到额定冲洗强度为止。

⑤滤池运行后,每隔半年左右应打开人孔进行检查。

重力式无阀滤池的的优点是:运行全部自动,操作管理方便;节省大型阀门,造价较低;出水面高出滤层,在过滤过程中滤料层内不会出现负水头。其主要缺点是:冲洗水箱建于滤池上部,滤池的总高度较大;出水水位较高,相应抬高了滤前处理构筑物(如沉淀或澄清池)的标高,从而给水厂总体高程布置带来困难;滤料处于封闭结构中,装、卸困难;池体结构较复杂。

重力式无阀滤池多适用于1×104 m3/d以下的小型水厂。单池平面积一般不大于16m2,少数也有达25m2以上的。

3)移动罩滤池

移动罩滤池因设有可以移动的冲洗罩而命名,故又称为移动冲洗罩滤池。它是由若干滤格(n>8)为一组构成的滤池,滤料层上部相互连通,滤池底部配水区也相互连通,故一座滤池仅有一个公用的进水和出水系统。运行中,移动罩滤池利用机电装置驱动和控制移动冲洗罩顺序对各滤格进行冲洗。考虑到检修,滤池座数不得少于2座。

移动罩滤池的构造如图2.71所示。过滤时,待滤水由进水管1经中央配水渠2及两侧渠壁上配水孔3进入滤池,水流自上而下通过滤层4进行过滤,滤后水由底部配水室5流入钟罩式虹吸管6的中心管7。当虹吸中心管7内水位上升到管顶且溢流时,带走钟罩式虹吸管和中心管间的空气,达到一定真空度时,虹吸形成,滤后水便从钟罩式虹吸管与中心管间的环形空间流出,经出水堰8、出水管9进入清水池。滤池内水面标高Z1和出水堰上水位标高Z2之差即为过滤水头,一般取1.2~1.5m。

图2.71 虹吸式移动冲洗罩滤池
1—进水管;2—中央配水渠;3—配水孔;4—滤层;5—底部配水室;6—钟罩式虹吸管;
7—虹吸中心管;8—出水堰;9—出水管;10—水位恒定器;11—冲洗罩;12—桁车;
13—排水虹吸管;14—排水渠;15—气管;16—排水管

钟罩式虹吸管6上装有水位恒定器10,它由浮筒和针形阀组成。当滤池出水流量低于进水流量时,滤池内水位升高,水位恒定器的浮筒随之上升并促使针形阀封闭进气口,使钟罩式虹吸管6中真空度增加,出水量随之增大,滤池水位随之下降。当滤池出水流量超过进水流量时(如滤池刚冲洗完毕投入运行时),滤池内水位下降,水位恒定器的浮筒随之下降使针形阀打开,空气进入钟罩式虹吸管,真空度减小,出水流量随之减小,滤池水位复又上升,防止清洁滤池内滤速过高而引起出水水质恶化。因此,浮筒总是在一定幅度内升降,使滤池水面基本保持一定。当滤格数多时,移动罩滤池的过滤过程就接近等水头减速过滤。

反冲洗时,冲洗罩11由桁车12带动移动到需要冲洗的滤格上面定位,并封住滤格顶部,同时用抽气设备抽出排水虹吸管13中的空气。当排水虹吸管真空度达到一定值时,虹吸形成,冲洗开始。冲洗水为同座滤池的其余滤格滤后水,经小阻力配水系统的底部配水室5进入滤池,自下而上通过滤料层4,对滤料层进行反冲洗。冲洗废水经排水虹吸管13排入排水渠14。出水堰上水位标高Z2和排水渠中水封井的水位标高Z3之差即为冲洗水头,一般取1.0~1.2m。当滤格数较多时,在一格滤池冲洗期间,滤池仍可继续向清水池供水。冲洗完毕,破坏冲洗罩11的密封,该格滤池恢复过滤。冲洗罩移至下一滤格,再准备对下一滤格进行冲洗。

移动罩滤池冲洗时,冲洗水来自同座其他滤格的滤后水,因而具有虹吸滤池的优点。移动冲洗罩的作用是使滤格处于封闭状态,这和无阀滤池伞形顶盖相同,又具有无阀滤池的某些特点。冲洗罩的移动、定位和密封是滤池正常运行的关键。移动速度、停车定位和定位后密封时间等,均根据设计要求用程序控制或机电控制。设计中务求罩体定位准确、密封良好、控制设备安全可靠。

移动罩滤池的反冲洗排水装置除采用上述虹吸式外,还可以采用泵吸式,称为泵吸式移动罩滤池,如图2.72所示。泵吸式移动冲洗罩滤池是靠水泵的抽吸作用克服滤料层及沿程各部分的水头损失进行反冲洗,不仅可以进一步降低池高,还可以利用冲洗泵的扬程,直接将冲洗废水送往絮凝沉淀池回收利用。冲洗泵多采用低扬程、吸水性能良好的水泵。

移动罩滤池的优点是:无大型阀门、管件;能自动连续运行;无需冲洗水泵或水塔;采用泵吸式冲洗罩时,池深较浅,造价低;滤池分格多,单格面积小,配水均匀性好;一格滤池冲洗水量小,对整个滤池出水量无明显影响。缺点是:移动罩滤池增加了机电及控制设备;自动控制和维修较复杂;与虹吸滤池一样无法排除初滤水。移动罩滤池一般较适用于大、中型水厂,以便充分发挥冲洗罩使用效率。

图2.72 泵吸式移动罩滤池
1—传动装置;2—冲洗罩;3—冲洗水泵;
4—排水槽;5—滤层;6—底部空间

4)V形滤池

V形滤池是由法国德格雷蒙(DEGREMONT)公司设计的一种快滤池,其命名是因滤池两侧(或一侧也可)进水槽设计成V形。

(1)V形滤池的特点

①采用较粗滤料、较厚滤料层以增加过滤周期或提高滤速。一般采用砂滤料,有效粒径d10=0.95~1.50mm,不均匀系数K60=1.2~1.6,滤层厚0.95~1.35m。根据原水水质、滤料组成等,滤速可在7~20m/h范围内选用。

②反冲时滤层不膨胀,不发生水力分级现象,粒径在整个滤层的深度方向分布基本均匀,即所谓“均质滤料”,从而提高了滤层的含污能力。

③采用气、水反冲再加始终存在的表面扫洗,冲洗效果好,冲洗耗水量大大减少。

④可根据滤池水位变化自动调节出水蝶阀开启度来实现等速过滤。

⑤滤池冲洗过程可按程序自动控制。

(2)V形滤池的构造

如图2.73所示为V形滤池构造简图。通常一组滤池由数只滤池组成。每只滤池中间设置双层中央渠道,将滤池分成左、右两格。渠道的上层为排水渠7,作用是排除反冲洗废水;下层为气、水分配渠8,其作用:一是过滤时收集滤后清水,二是反冲洗时均匀分配气和水。在气、水分配渠8上部均匀布置一排配气小孔10,下部均匀布置一排配水方孔9。滤板上均匀布置长柄滤头19,每平方米布置50~60个,滤板下部是底部空间11。在V形进水槽底设有一排小孔6,既可作为过滤时进水用,又可冲洗时供横向扫洗布水用。

过滤时,打开进水气动隔膜阀1和清水阀16,待滤水由进水总渠经进水气动隔膜阀1和方孔2后,溢过堰口3再经侧孔4进入V形进水槽5,然后待滤水通过V形进水槽底的小孔6和槽顶溢流均匀进入滤池。自上而下通过砂滤层进行过滤,滤后水经长柄滤头19流入底部空间11,再经方孔9汇入中央气水分配渠8内,由清水支管流入管廊中的水封井12,最后经出水堰13、清水渠14流入清水池。

冲洗时,关闭气动隔膜阀1和清水阀16,但两侧方孔2常开,故仍有一部分水继续进入V形进水槽并经槽底小孔6进入滤池。而后开启排水阀15,滤池内浑水从中央渠道的上层排水渠7中排出,待滤池内浑水面与V形槽顶相平,开始反冲洗操作。

(3)冲洗操作过程

①进气:启动鼓风机,打开进气阀17,空气经中央渠道下层的气、水分配渠8的上部配气小孔10均匀进入滤池底部,由长柄滤头19喷出,将滤料表面杂质擦洗下来并悬浮于水中。此时V形进水槽底小孔6继续进水,在滤池中产生横向水流的表面扫洗作用下,将杂质推向中央渠道上层的排水渠7。

②进气、水:启动冲洗水泵,打开冲洗水阀门18,此时空气和水同时进入气、水分配渠8,再经方孔9(进水)、小孔10(进气)和长柄滤头19均匀进入滤池。使滤料得到进一步冲洗,同时,表面扫洗仍继续进行。

③单独进水漂洗:关闭进气阀17停止气冲,单独用水再反冲洗,加上表面扫洗,最后将悬浮于水中杂质全部冲入排水渠7,冲洗结束。停泵,关闭冲洗水阀18,打开气动隔膜阀1和清水阀16,过滤重新开始。

气冲强度一般在14~17L/(s·m2),水冲强度约为4L/(s·m2),表面扫洗强度约为1.4~2.0L/(s·m2)。因水流反冲洗强度小,故滤料不会膨胀,总的反冲洗时间为10~12min。V形滤池冲洗过程全部由程序自动控制。

5)压力滤池

图2.73 V形滤池构造简图
1—进水气动隔膜阀;2—方孔;3—堰口;4—侧孔;5—V形槽;6—小孔;7—排水渠;
8—气、水分配渠;9—配水方孔;10—配气小孔;11—底部空间;12—水封井;13—出水堰;
14—清水渠;15—排水阀;16—清水阀;17—进气阀;18—冲洗水阀;19—长柄滤头

压力滤池是用钢制压力容器为外壳制成的快滤池,其构造如图2.74所示。压力滤池外形呈圆柱状,直径一般不超过3m。容器内装有滤料、进水和反冲洗配水系统,容器外设置各种管道和阀门等。配水系统大多采用小阻力系统中的缝隙式滤头。滤层粒径、厚度都较大,粒径一般采用0.6~1.0mm,滤料层厚度一般为1.0~1.2m,滤速为8~10m/h。压力滤池的进水管和出水管上都安装有压力表,两表的压力差值即为过滤时的水头损失,其期终允许水头损失值一般可达5~6m。运行中,为提高冲洗效果和节省冲洗水量,可考虑用压缩空气辅助冲洗。

图2.74 压力滤池

压力滤池的优点是:运转管理方便;由于它是在压力作用下进行过滤,因此有较高余压的滤后水被直接送到用水点,可省去清水泵站。常在工业给水处理中与离子交换器串联使用,也可作为临时性给水使用。其缺点是耗用钢材多,滤料进出不方便。

2.4 地表水的消毒处理

由于天然水受到生活污水和工业废水的污染,会含有各种微生物,包括能致病的细菌性病原微生物和病毒性病原微生物,它们大多黏附在悬浮颗粒上。水经混凝、沉淀、过滤处理后,可以去除绝大多数病原微生物,但还难以达到生活饮用水的细菌学指标要求。

消毒是生活饮用水处理中必不可少的一个步骤,它对饮用水细菌学起保证作用。我国饮用水标准规定:细菌总数不超过100个/mL,大肠菌群不超过3个/L。消毒的目的就是杀死各种病原微生物,防止水致疾病的传播,保障人们身体健康。

给水处理中常用的是氯消毒法。氯消毒具有经济、有效、使用方便等优点,应用历史最久。但自从发现受污染水源经氯化消毒会产生三氯甲烷等小分子的卤代烃类和卤代酸类致癌物以后,对氯消毒的副作用便引起了广泛重视,对其危害程度也存在争议。目前,氯消毒仍是最广泛使用的一种消毒方法,而其他消毒方法也日益受到重视。

2.4.1 氯消毒原理

氯在水中的消毒作用根据水质不同可分为两种情况。

1)原水中不含氨氮

易溶于水的氯溶解在水中,几乎瞬时发生下列反应:

HOCl(次氯酸)和OCl(次氯酸根)都具有氧化能力,统称为有效氯,也称为自由氯。近代消毒作用观点认为:次氯酸HOCl由于是很小的中性分子,可以扩散到带负电的细菌表面,并渗入到细菌内部,氧化破坏细菌体内的酶,而使细菌死亡;而次氯酸根OCl虽具有氧化作用,但因其带负电,难于靠近带负电的细菌,故较难起到消毒作用。

HOCl和OCl的相对比例取决于温度和pH。从图2.75可以看出:在相同水温下,水的pH越低,所含HOCl越多,当pH<6时,HOC1接近100%;当pH>9时,OCl接近100%;当pH=7.54时,HOCl和OCl大致相等。生产实践表明,pH越低,相同条件下,消毒效果越好,也证明HOCl是消毒的主要因素。

2)原水中含有氨氮

原水中,由于受到有机污染而含有一定的氨氮。氯加入含有氨氮成分的水中,产生如下反应:

图2.75 不同pH和水温时,水中HOCl和OCl的比例

NH2 Cl、NHCl2和NCl3分别叫作一氯胺、二氯胺和三氯胺,它们统称为化合性氯或结合氯。它们在平衡状态下的含量比例决定于氯、氨的相对浓度、pH和温度。一般当pH>9时,一氯胺占优势;当pH=7.0时,一氯胺和二氯胺同时存在,近似等量;当pH<6.5时,主要是二氯胺;当pH<4.5时,三氯胺才存在,自来水中一般不可能形成。

从消毒效果而言,水中有氯胺时,起消毒作用的仍然是HOCl,这些HOCl由氯胺与水反应生成[见式(2.56)~式(2.58)],因此氯胺消毒比较缓慢。根据实验表明,用氯消毒5min内可杀灭细菌达99%以上;在相同条件下,氯胺消毒5min内仅达60%;要达到99%以上的灭菌效果,需要将水与氯胺的接触时间延长到十几个小时。比较3种氯胺消毒效果,NHCl2要胜过NH2 Cl,但前者具有臭味。NCl3消毒效果最差,且具有恶臭味,因其在水中溶解度很低,不稳定且易气化,所以三氯胺的恶臭味并不引起严重问题。一般情况下,水的pH较低时,NHCl所占比例大,消毒效果较好。

2.4.2 投氯量与余氯量

水中的投氯量可以分为两部分:需氯量和余氯量。需氯量指用于杀死细菌、氧化有机物和还原性物质所消耗的部分。余氯量是为了抑制水中残存细菌的再度繁殖而在消毒处理后水中维持的剩余氯量。我国枟生活饮用水卫生标准枠规定,投氯接触30min后,游离性余氯不应低于0.3mg/L,集中式给水出厂水除应符合上述要求外,管网末梢水不应低于0.05mg/L。后者余氯量仍具有杀菌能力,但对再次污染的消毒尚嫌不够,而可作为预示再次受到污染的信号,这对于管网较长设备陈旧且间隙运行的水厂尤为重要。余氯量及余氯种类与投氯量、水中杂质种类及含量等有密切关系。

图2.76 加氯量和余氯量的关系

水中无细菌、有机物和还原性物质等,则需氯量为零,投氯量等于余氯量,如图2.76所示的虚线①,该虚线与坐标轴成45°。

事实上,天然水特别是地表水源多少已受到有机物和细菌污染,虽然经澄清过滤处理,但仍然有少量细菌和有机物残留水中,氧化有机物和杀死细菌要消耗一定的氯量,即需氯量。投氯量必须超过需氯量,才能保证一定的剩余氯。如果水中有机物较少,而且主要不是游离氨和含氮化合物时,需氯量OM满足以后就会出现余氯,如图2.76中的实线②所示。此曲线与横坐标交角小于45°,其原因有:一是水中有机物与氯作用的速度有快慢,在测定余氯时,有一部分有机物尚在继续与氯作用中;二是水中有一部分氯在水中某些杂质或光线的作用下会自行分解。

图2.77 折点加氯

当水中的有机物主要是氨和氮化合物时,情况比较复杂。投氯量与余氯量之间的关系曲线如图2.77所示。当起始的需氯量OA满足以后,投氯量增加,剩余氯也增加(曲线AH段),但余氯增加得慢一些。超过H点投氯量后,虽然投氯量增加,余氯量反而下降(HB段),H点称为峰点。此后随着投氯量的增加,剩余氯又上升(BC段),B点称为折点。

图2.77中,曲线AHBC与斜虚线间的纵坐标值b表示需氯量;曲线AHBC的纵坐标a表示余氯量。曲线可分为4区:在1区即OA段,余氯量为零,需氯量b1,1区消毒效果不可靠;在2区AH段,投氯后,氯与氨反应,有化合性余氯产生(主要为一氯胺),具有一定消毒效果;在3区HB段,仍然产生化合性余氯,随着投氯量增加,产生下列不具有消毒作用的化合物、余氯反而减少,直至折点B为止,折点余氯量最少。

在4区BC段,水中已没有消耗氯的物质,故随着投氯量增加,水中余氯也随着增加,而且是自由性余氯,此区消毒效果最好。

生产实践表明,当原水中游离氨在0.3mg/L以下时,通常投氯量控制在折点后,称为折点加氯;原水游离氮在0.5mg/L以上时,峰点以前的化合性余氯量已够消毒,控制在峰点前以节约加氯量;原水游离氨在0.3~0.5mg/L的范围内,投氯量难以掌握。缺乏资料时,一般的地面水经混凝、沉淀和过滤后或清洁的地下水,投氯量可采用1.0~1.5mg/L;一般的地面水经混凝沉淀未经过滤时可,采用1.0~1.5mg/L。

2.4.3 投氯点

图2.78 氯的投加

一般采用滤后投氯,即把氯投在滤池出水口或清水池进口处,或滤池至清水池的连接管(渠)上,称为滤后投氯消毒。滤后消毒为饮用水处理的最后一步。这种方法一般适用 于原水水质较好,经过滤处理后水中有机物和细菌已被大部分除去,投加少量氯即能满足余氯要求。如果以地下水作水源,无混凝沉淀过滤等净化设施,则需在泵前或泵后投加。如图2.78所示为自来水消毒的一般工艺流程。

当处理含腐殖质的高色度原水时,在投加混凝剂的同时投氯,以氧化水中有机物,可提高混凝效果。这种氯化法称为滤前氯化或预氯化。预氯化也可用于硫酸亚铁作为混凝剂时(将亚铁氯化为三价铁,促进硫酸亚铁的混凝效果)。预氯化还能防止水厂内各类构筑物中滋长青苔和延长氯胺消毒的接触时间,使投氯量维持在图2.77中的AH段,以节省加氯量。

当城市管网延伸很长,管网末梢的余氯难以保证时,需要在管网中途补充投氯。这样既能保证管网末梢的余氯,又不致使水厂附近的余氯过高。管网中途投氯的位置一般都设在加压泵站及水库泵站中。

一般在投氯点后可安装静态混合器,使氯与水均匀混合,提高杀菌效果,并节省氯量。同时应加强余氯的连续监测,有条件时,投氯地点宜设置余氯连续测定仪。

2.4.4 投氯设备、加氯间和氯库

人工操作的加氯设备主要包括加氯机(手动)、氯瓶和校核氯瓶重量(即校核氯重)的磅秤等。近年来,自来水厂的加氯自动化发展很快,特别是新建的大、中型水厂,大多采用自动检测和自动加氯技术,因此,加氯设备除了加氯机(自动)和氯瓶外,还相应设置了自动检测(如余氯自动连续检测)和自动控制装置。加氯机是安全、准确地将来自氯瓶的氯输送到加氯点的设备。手动加氯机往往存在加氯量调节滞后、余氯不稳定等缺点,影响制水质量。自动加氯机配以相应的自动检测和自动控制设备,能随着流量、氯压等变化自动调节加氯量,保证了制水质量。加氯机形式很多,可根据加氯量大小、操作要求等选用。氯瓶是一种储氯的钢制压力容器。干燥氯气或液态氯对钢瓶无腐蚀作用,但遇水或受潮则会严重腐蚀金属,故必须严格防止水或潮湿空气进入氯瓶。氯瓶内保持一定的余压也是为了防止潮气进入氯瓶。

加氯间是安置加氯设备的操作间氯库是储备氯瓶的仓库。加氯间和氯库可以合建,也可分建。由于氯气是有毒气体,故加氯间和氯库位置除了靠近加氯点外,还应位于主导风向下方,且需与经常有人值班的工作间隔开。加氯间和氯库在建筑上的通风、照明、防火、保温等应特别注意,还应设置一系列安全报警、事故处理设施等。有关加氯间和氯库设计要求请参阅设计规范和有关手册。

2.4.5 其他消毒法

1)二氧化氯消毒

二氧化氯(ClO2)用于受污染水源消毒时,可减少氯化有机物的产生,故二氧化氯作为消毒剂日益受到重视。

二氧化氯气体有与氯相似的刺激性气味,易溶于水。它的溶解度是氯气的5倍。ClO2水溶液的颜色随浓度增加由黄色转成橙色。ClO2在水中是纯粹的溶解状态,不与水发生化学反应,故它的消毒作用受水的pH影响极小,这是与氯消毒的区别之一。在较高pH下,ClO2消毒能力比氯强。ClO2易挥发,稍一曝气即可从溶液中逸出。气态和液态ClO2均易爆炸,温度升高、曝光、与有机质接触时也会发生爆炸,所以ClO2通常在现场制备。

ClO2的制取方法主要是:

由于亚氯酸钠较贵,且ClO2生产出来即须使用,不能贮存,所以,只有水源污染严重(尤其是氨或酚的含量达几mg/L),而一般氯消毒有困难时,才采用ClO2消毒。

ClO2对细胞壁的穿透能力和吸附能力都较强,从而有效地破坏细菌内含硫基的酶,它可控制微生物蛋白质的合成,因此,ClO2对细菌、病毒等有很强的灭活能力;ClO2消毒如制备过程中不产生自由氯,则对有机物污染的水也不会产生THMs,ClO2仍可保持其全部杀菌能力。此外,ClO2还有很强的除酚能力,且消毒时不产生氯酚臭味。

2)漂白粉和漂白精消毒

漂白粉由氯气和石灰加工而成,其组成复杂,可简单表示为CaOCl2,有效氯约为30%。漂白精分子式为Ca(OCl)2,有效氯约为60%。二者均为白色粉末,有氯的气味,易受光、热和潮气作用而分解使有效氯降低,故必须放在阴凉干燥和通风良好的地方。漂白粉加入水中反应如下:

反应后生成HOCl,因此,消毒原理与氯气相同。

漂白粉需配制成溶液加注,溶解时先调成糊状物,然后再加水配成1.0%~2.0%(以有效氯计)浓度的溶液。当投加在滤后水中时,溶液必须经过4~24h澄清,以免杂质带进清水中;若加入浑水中,则配制后可立即使用。

3)次氯酸钠消毒

电解食盐水可得到次氯酸钠(NaOCl):

次氯酸钠的消毒作用依然靠HOCl,但其消毒作用不及氯强。

因次氯酸钠易分解,通常采用次氯酸钠发生器现场制取,就地投加,不宜贮运,一般适用于小型水厂。

4)氯胺消毒

采用氯胺消毒,由于作用时间长,杀菌能力比自由氯弱,目前我国应用较少,但氯胺消毒具有以下优点:当水中含有有机物和酚时,氯胺消毒不会产生氯臭和氯酚臭,同时大大减少THMs产生的可能;能保持水中余氯较久,适用于供水管网较长的情况。

人工投加的氨可以是液氨、硫酸氨或氯化铵。液氨投加方法与液氯相似,化学反应式见式(2.56)~式(2.57)。硫酸铵和氯化铵应先配成溶液,然后投加到水中。氯和氨的投加量视水质不同而采用不同比例,一般采用氯∶氨=3∶1~6∶1。当以防止氯臭为主要目的时,氯和氨之比小些;当以杀菌和维持余氯为主要目的时,氯和氨之比应大些;采用氯胺消毒时,一般先投氨,待其与水充分混合后再投氯,这样可减少氯臭,特别当水中含酚时,这种投加顺序可避免产生氯酚恶臭。但主要为了维持余氯持久时(当管网较长时),则对采用进厂水投氯消毒,出厂水投氨减臭并稳定余氯。

5)臭氧消毒

臭氧分子由3个氧原子组成,在常温常压下为无色气体,它是淡蓝色的具有强烈刺激性的气体。臭氧极不稳定,分解时放出新生态氧:

新生态氧[O]具有强氧化能力,对具有顽强抵抗力的微生物如病毒、芽子孢等有强大的杀伤力;臭氧杀菌能力强,其原因除[O]氧化能力强以外,还可能由于渗入细胞壁能力强,或可能由于臭氧破坏细菌有机体链状结构而导致细菌死亡。臭氧能氧化有机物,去除水中的色、嗅、味,还可去除水中溶解性的铁、锰盐类及酚等。

臭氧是空气中的氧通过高压放电产生的。制造臭氧的空气必须先行净化和干燥,以提高臭氧发生器效率并减少腐蚀。臭氧发生系统的前部为空气净化和干燥装置,以后为臭氧发生器。其系统布置如下:空压机将空气送至冷却器,然后再经过滤加以净化,再经过1~2级硅胶或分子筛干燥器,将空气干燥至露点(-50℃)以下,最后经臭氧发生器,通过15000~17500V高压电,在空气中放电后产生臭氧。如图2.79所示为臭氧消毒流程。

臭氧消毒,欧洲国家用得较多,目前我国用得较少。臭氧在水中不稳定,容易消失,不能在管网中继续保持杀菌能力,故在臭氧消毒后,往往需要投加少量氯,以维持水中一定的余氯量。

近年来,通过大量研究表明:含有机物污染的水经臭氧处理后,有可能将致突变物或THMs的前体物如腐殖酸等大分子有机物分解成分子较小的有可能致突变物;水中含有氨氮时,在臭氧投量有限的情况下,臭氧不可能去除氨氮,有可能把有机氨氮氧化为氨氮,致使水中氨氮含量增高。因此,在使用臭氧时,应注意解决可能产生的问题。

图2.79 臭氧消毒流程
1—压缩机组;2—换热器;3—空气流量计;4—臭氧发生器;
5—电气柜;6—变压器;7—臭氧化空气进口;8—尾气管;9—接触池

6)紫外线消毒

一般认为:紫外线杀菌机理是细菌受紫外光照射后,紫外光谱能量为细菌核酸所吸收,使核酸结构破坏。根据试验,波长在200~295nm的紫外线具有杀菌能力,而波长为260nm左右的杀菌能力最强。同时,紫外线能破坏有机物。

紫外线光源由紫外灯管提供。不同型号、规格的紫外灯管所提供的紫外光主波长不同,应根据需要选用。消毒设备主要有两种形式:浸入式和水平式。浸入式将灯管置于水中,其特点是辐射能利用率高,杀菌效果好,但构造复杂。水平式构造简单,但杀菌效果不如前者。紫外线消毒的主要优点是:不存在THMs之虑;处理后的水无味无色。主要缺点是:消毒效力受水中悬浮物含量影响;消毒后不能保持持续杀菌能力,同时,消毒费用高。紫外线消毒只用于少量水消毒处理。

常用的的消毒剂性能及选择参见表2.12。

表2.12 消毒剂性能

续表

2.5 地表水处理工艺系统

地表水水处理的主要任务是通过必要的处理方法去除水中杂质,以价格合理、水质优良安全的水供给人们使用,并提供符合质量要求的水用于各个行业。

地表水处理的方法一般根据水源水质和用水对象对水质的要求而确定。由于水源水质的差异以及要求达到的水质目标不同,因此采用的给水处理工艺手段也不相同。如果原水水质好,处理工艺流程就可以简化,水质要求的目的就可以达到。而现实情况是原水污染情况在加剧,影响人体健康的有机物和无机杂质不断增加,水处理工艺流程也趋于复杂。

地表水处理技术已形成了被普遍称之为常规处理工艺的处理方法,即混凝、沉淀或澄清、过滤和消毒。这种常规处理工艺至今仍被世界大多数国家采用,是目前地表水处理的主要工艺。

2.5.1 地表水处理工艺系统的选择原则

地表水处理工艺选择的原则,主要是针对原水水质的特点,以最低的基建投资和经常运行费用,达到出水水质要求。给水处理工艺设计一般按初步设计、施工图设计两阶段进行。工程规模大的可分初步设计、扩大初步设计、施工图设计三阶段进行。在设计开始前,必须认真、全面地展开调查研究,掌握设计所需的全部原始资料。在采用新的处理工艺时,往往需要进行小型或中型试验,取得可靠的设计参数,做到适用、经济、安全。

1)水处理工艺选择时必需的基础资料

(1)原水水质分析

首先要确定采用哪一种水源,其供水保证率如何,它决定着水源的取舍;水质是否良好,它关系着处理的难易及费用。对确定的水源水质应有长期的观察资料,对于地表水来说,要认真分析比较丰水期和枯水期的水质、受潮汐影响河流的涨潮和落潮水质、表层与深层的水质等。对选定的水源水质分析,找出产生污染物的原因及其污染源,对于潜在的污染影响和今后的发展趋势,要做出正确的分析和判断。

(2)出水水质要求

供水对象不同,则对出水水质的要求也有所不同。在确定出水水质目标的同时,还要考虑今后可能对水质标准的提高所采取的相应规划措施。

(3)当地或类似水源水处理工艺的应用情况

了解当地已建成投产运行的给水处理厂站水处理工艺的应用情况,分析所采用的处理工艺及其处理效果。

(4)操作人员的经验和管理水平

要对操作人员和管理人员进行严格的培训,使其熟悉所选择的工艺流程,并能正确操作和管理,以达到工艺过程预期的处理目标。

(5)场地的建设条件

工艺不同,对场地面积和地基承载要求不尽相同。因此在工艺选择时要有相关的自然资料,并留有今后扩建的可能。

(6)当地经济发展情况

当地经济发展情况决定了所选择的水处理工艺是否能够正常发挥其作用。根据当地经济条件,选择合适的基建投资和运行费用,是水处理工艺选择的重要因素之一。

2)水处理工艺选择时必需的试验

为了准确确定设计参数和验证拟采用的工艺处理效果,要进行必要的试验。除了对水质指标进行全面检测和分析以外,常用的水处理试验有搅拌试验、多嘴沉降管沉淀试验、泥渣凝聚性能试验和滤柱试验等。

(1)搅拌试验

搅拌试验的目的是分析絮凝过程的效果,选择合适的混凝剂品种、投加量、投加次数及次序。

在定量的烧杯中,投加不同品种和剂量的混凝剂和絮凝剂,同时可以进行pH的调整。在设定的G值条件下进行模拟混合和絮凝的机械搅拌,观察絮凝体的形成过程情况,测定沉淀水的浊度、色度、沉淀污泥百分比、污泥的沉降速度等,另外还可检测沉淀水的耗氧量等其他指标。

(2)多嘴沉降管沉淀试验

用沉降管模拟池子深度,在不同深度处设置取样管嘴,原水在沉降管中完成混合、絮凝,然后进行静止沉淀。在不同沉淀时间和不同的深度,取样测定其剩余浊度。通过绘制沉降曲线,得出不同截留速度时的浊度去除率,现时可以分析不同沉速颗粒的组成百分比。对比不同深度处的沉降曲线,可以分析出颗粒在沉降过程中继续絮凝的情况。

(3)泥渣凝聚性能试验

进行泥渣凝聚性能试验,有助于分析泥渣接触型澄清池澄清分离性能及絮凝剂对澄清的影响。

在250mL的量筒中放入搅拌试验的泥渣,泥渣可以在不同的烧杯中收集,但须是在同一混凝剂加注量形成的泥渣。注入泥渣后的量筒静置10min,用虹吸抽出过剩泥渣,在量筒中仅剩余50mL泥渣。在量筒中放入带有延伸管的漏斗,延伸管伸至离量筒底约10mm,在漏斗中断续地小量加入搅拌试验澄清的水,多余的水将从量筒顶端溢出。记录不同泥渣膨胀高度时的水流上升流速,上升流速可通过注入100mL水的时间计算。上升流速与膨胀泥渣体积的关系呈线性。

(4)滤柱试验

采用模拟滤柱试验,可以对不同过滤介质的过滤性能进行比较,选择合适的滤料规格和厚度。对于活性炭等吸附介质的吸附效果,也可以采用类似方法进行试验。

对于过滤水浊度和水头损失,可以在试验过程中分层检测,进行不同滤速的比较。通过滤柱试验,对反冲洗效果进行分析,观察反冲洗时滤料的膨胀情况、双层或多层滤料不同滤层间的掺混情况以及冲洗排水的浊度变化等。

为观察过滤和反冲洗情况,滤柱采用有机玻璃制作。滤柱直径一般不小于150mm,以避免界壁对过滤效果的影响。为了防止过滤过程中滤层中出现负压,滤柱应有足够的高度。在试验时,可以并行设置多个滤柱进行比较不同滤料、不同级配和厚度时的情况。

2.5.2 原始资料

1)有关设计任务的资料

①设计范围和设计项目。

②城镇发展现状和总体发展规划的资料。

③近期、远期的处理规模与水质标准。城镇发展有个过程,投资也有一定限制,设计时需考虑分期建设,远期可适当提高处理规模与标准。

2)有关水量、水质的资料

水源水量情况,是否适合取水以及其供水保证率如何;水质情况,处理过程难易以及程度大小。

3)有关自然条件的资料

①气象资料。历年最热月或最冷月的平均气温、多年土壤最大冰冻深度、多年平均风向玫瑰图、雨量资料等。

②水文资料。当地河流百年一遇的最大洪水量、洪水位,枯水期95%保证率的月平均最小流量、最低水位,各特征水位时的流速,水体水质及污染情况。

③水文地质资料。地下水的最高、最低水位、运动状态、流动方向及其综合利用资料。

④地质资料。厂区地质钻孔柱状图,地基的承载力,有无流沙,地震等级等。

⑤地形资料。厂区附近1∶5000地形图。厂址和取水口附近1∶500地形图。

4)有关编制概算和施工方面的资料

①当地建筑材料,设备的供应情况和价格。

②施工力量(技术水平,设备,劳动力)的资料。

③编制概算的定额资料,包括地区差价、间接费用定额、运输等。

④租地、征税、青苗补偿、拆迁补偿等规章和办法。

2.5.3 厂址选择

①厂址选择应在整个给水系统设计方案中全面规划,综合考虑,通过技术经济比较确定。在选择时要结合城市或工厂的总体规划、地形、管网布置、环保要求等因素,进行现场踏勘,进行多方案比较。

②厂址应选择在地形及地质条件较好、不受洪水威胁的地方;有利于处理构筑物的平面与高程的布置和施工,例如一般选择地下水位低、承载能力大、湿陷性等级不高、岩石较少的地层;同时应考虑防洪措施。

③少占和尽可能不占良田。

④考虑周围环境卫生条件,给水厂应布置在城镇上游,并满足枟生活饮用水卫生标准枠中的卫生防护要求。

⑤尽量设置在靠近电源的地方,以方便施工和降低输电线路造价,并使管网的基建费用最省。当取水地点距用水区较近时,给水厂一般设置在取水构筑物附近;当距用水区较远时,给水厂选址通过技术经济比较后确定;对于高浊度水,有时也可将预沉池与取水构筑物合建,而水厂其余部分设置在主要用水区附近。

⑥考虑交通和运输方便、防火距离、卫生防护距离、环保措施、应靠近主要用水点,远离污染源(大气、粉尘噪声等)。

⑦考虑发展扩建可能。

给水厂所需要的面积如表2.13所示,供选择厂址时参考。

表2.13 给水厂所需要的面积

2.5.4 工艺流程选择

处理方法和工艺流程的选择,应根据原水水质、用水水质要求等因素,通过调查研究、必要的试验,并参考相似条件下处理构筑物的运行经验,经技术经济比较后确定。另外,还要考虑当地的电力、地形、地质、场地面积等情况,以免影响处理工艺流程及处理构筑物类型的选择。例如地下水位高、地质条件较差的地方,不宜选用深度大、施工难度高的处理构筑物。

1)原水水质不同时的工艺流程选择

①取用地面水水质较好时,一般经过混凝—沉淀—过滤—消毒常规处理,水质即可达到生活饮用水卫生标准。

②当原水浊度较低(如150mg/L以下),可考虑省略沉淀构筑物,原水加药后直接经双层滤料接触过滤。

③取用湖泊、水库水时,水中含藻类较多,可考虑采用气浮代替沉淀或用微滤机预处理及多点加氯,以延长滤池工作周期。

④取用高浊度水,为了达到预期混凝沉淀效果,减少混凝剂用量,应增设预沉池。

2)用水对象不同时的工艺流程选择

用水对象不同,要求的工艺流程不同,在选择时根据具体情况进行合理确定。例如要求浊度在1000mg/L以下的热电站冷却水,由一次沉淀池处理供给;要求浊度为20~50mg/L的化工厂冷却水,由混凝沉淀供给;生活饮用水由过滤消毒水供给;软化水由用水单位用过滤消毒水自行软化。如图2.80所示为某大型水厂的处理流程,综合反映了以地面水为水源,分别供水的典型处理流程。其中饮用水流程为地面水处理典型工艺流程。

图2.80 某大型水厂的处理流程

2.5.5 平面与高程布置

1)总体布置

地表水厂,常称为给水厂或净水厂,其基本组成包括生产性构筑物和辅助性建筑物两部分。生产性构筑物包括处理构筑物、泵房、风机房、加药间、消毒间、变电所等;辅助建筑物,包括化验室、修理车间、仓库、车库、办公室、浴室、食堂、厕所等。

根据枟室外给水设计规范枠规定,水厂总体布置应结合工程目标和建设条件,在确定的工艺组成和处理构筑物形式的基础上进行。平面布置和竖向设计应满足各建(构)筑物的功能和流程要求;水厂附属建筑和附属设施应根据水厂规模、生产和管理体制,结合当地实际情况确定。

水厂生产构筑物的布置应符合下列要求:

①高程布置应充分利用原有地形条件,力求流程通畅、能耗降低、土方平衡。

②在满足各构筑物和管线施工要求的前提下,水厂各构筑物应紧凑布置。寒冷地区生产构筑物应尽量集中布置。

③生产构筑物间连接管道的布置,宜水流顺直、避免迂回。

附属生产建筑物(机修间、电修间、仓库等)应结合生产要求布置。

生产管理建筑物和生活设施宜集中布置,力求位置和朝向合理,并与生产构筑物分开布置。采暖地区锅炉房应布置在水厂最小频率风向的上风向。

生产构筑物和建筑物平面尺寸由设计计算确定,而附属建筑物使用面积应根据水厂规模、工艺流程、管理体制、人员编制及城镇给水厂附属建筑和附属设备设计标准的规定来合理选取,见表2.14。

2)平面布置

当构筑物和建筑物个数和面积确定后,根据工艺流程和功能要求,综合考虑各类管线、道路等,结合厂内地形和地质条件进行平面布置。

表2.14 水厂附属建筑物使用面积  单位:m2

水厂平面布置的主要内容包括各种构筑物和建筑物的平面定位,生产管线、厂区内给排水、供暖系统的管路、阀井布置,供电系统及道路、围墙、绿化布置。

(1)基本要求

地表水厂平面布置时,一般要考虑下列几点要求:

①布置紧凑,以减少占地面积和连接管渠的长度,并便于管理。生产关系密切的应互相靠近,甚至组合在一起。各构筑物的间距一般可取5~10m,主要考虑它们中间的道路或铺建管线所需要的宽度以及施工要求,施工时地基的相互影响等。厂内车行道路面宽3~4m,转弯半径6m,人行道宽1.5~2.0m。处理厂平面图可根据处理规模采用1∶200~1∶500比例尺绘制。

②各处理构筑物之间连接管渠简捷,应尽量避免立体交叉;水流路线简短,避免不必要的拐弯,并尽量避免把管线埋在构筑物下面。

③充分利用地形,以节省挖、填方的工程量,使处理水或排放水能自流输送。有时地形条件会反过来要求构筑物的形状和布置做某些调整,使地面得到最大限度的利用。

④考虑构筑物的放空及跨越,以便检修。最好做到自流放空。

⑤考虑环境卫生及安全。例如把氯库、锅炉房布置在主导风向的下风位置;化验室、办公室远离风机房、泵房,以保证良好的工作条件。在大的处理厂,最好把生产区和生活区分开,尽量避免非生产人员在生产区通行和逗留,以确保生产安全。

⑥设备布置,一般按水处理流程的先后次序,按设备的不同性质分门别类进行布置,使整个站房分区明确,设备布置整齐合理,操作维修方便;考虑留有适当通道及不同设备的吊装、组装净空和净距;水泵机组应尽可能集中布置,以便于管理维护和采取隔声、减振措施;酸、碱、盐等的贮存和制备设备也应集中布置,并考虑贮药间的防水、防腐、通风、除尘、冲洗、装卸、运输等;考虑地面排水明渠布置,保证运行场地干燥、整洁。

⑦一种处理构筑物有多座池子时,要注意配水均匀性,为此在平面布置时,常为每组构筑物设置配水井;在适当位置设置计量设备。

⑧考虑扩建可能,留有适当的扩建余地。

当水厂内的构筑物及建筑物的个数和面积确定后,根据工艺流程和构筑物及建筑物的功能要求,结合水厂的地形和地质条件,即可进行平面布置。水厂的平面布置是在水厂场地内将各项构筑物和建筑物进行合理安排和布置,便于生产管理及物料运输。

(2)平面布置的内容

①构筑物及建筑物的平面定位;

②工艺管道(包括原水管、加药管、沉淀水管、清水管、加氯管、排泥管、放空管等)的布置;

③厂区内给排水、供暖系统的管道、阀门及配件布置;

④道路、围墙、绿化及供电线路的布置。

(3)给水处理厂平面布置形式

给水处理厂的厂址确定后,要依据地形的特征及进出水管的走向,布置处理构筑物单元,之后进行附属建筑物的布置。其平面布置形式可分为直线式、折角式、回转式及组合式。

①直线式。净水处理构筑物根据流程布置成直线形式,该形式是采用较广泛的形式之一,大中型水厂采用较多。其优点是工艺流程合理,各构筑物间的水头损失小,易于远期扩建。但此种形式要求厂区有足够的长度,一般需超过300m,如图2.81(a)(b)所示。

②折角式。若由于厂址等因素的限制,不能采用直线式布置各构筑物时,可采用折角式式布置。即将沉淀池和滤池布置成直线,将清水池和二级泵房向另一个方向布置。虽然此种布置形式能够充分利用地形,但会对厂区的扩建带来困难,对远期发展的适应性也相对较差,如图2.81(c)(d)所示。

③回转式。该形式适用于进出水在同一方向的水厂。虽形式多样,但布置时近远期结合较困难,适用于小型水厂,如图2.81(e)所示。水厂的布置通常需要提出多个方案进行比较,以确定最为经济合理的方案。如图2.82所示为水厂平面布置的案例。

图2.81 水厂工艺流程布置形式
1—沉淀池;2—滤池;3—清水池;4—吸水井;5—二级泵房

图2.82 水厂平面布置图

3)高程布置

(1)给水处理厂高程布置的任务

①确定各处理构筑物和泵房的标高;

②确定连接管渠的尺寸和标高;

③确定是否需提升及提升水泵扬程。

(2)处理构筑物与连接管的水头损失

处理构筑物中的水头损失与构筑物和构造有关,一般需要计算确定,并应适当留有余地,估算时可采用表2.15的数据确定。

表2.15 水处理构筑物水头损失值

各构筑物间的连接管断面尺寸由流速决定。当地形有适当坡度可利用时,可选择较大流速以减小管道直径及相应配件和阀门尺寸;但地形平坦时,宜采用较小流速,可避免增加填、挖土方量及构筑物等造价。连接管的水头损失(包括沿程和高程)应通过水力计算确定,估算时可采用表2.16的数据确定。

表2.16 连接管的水头损失值

(3)高程布置

各项水头损失确定后,可进行构筑物高程布置。高程布置与厂区地形、地质条件及所采用的构筑物的形式有关。布置时应尽量利用地形坡度,既要避免清水池埋设过深,又要避免混合絮凝池、沉淀池或澄清池在地面上的抬高而增加造价。

应进行整个流程的标高计算来确定各构筑物、管渠及泵房的标高。计算时要选择距离最长、损失最大的一条流程,并按最大流量进行计算。

如图2.83所示为某给水处理厂高程布置图,各构筑物之间的水面高差由计算确定。

图2.83 水厂高程布置图

2.5.6 一般地表水处理系统

对于一般地表水处理工艺流程的选择,应当根据原水水质与用水水质要求的差距、处理规模、原水水质相似的城市或工厂的水处理经验、水处理试验资料、处理厂地区有关的具体条件等因素综合分析,进行合理的流程组合。

一般地表水处理系统,指的是常规水处理,即被处理原水在水温、浊度(含砂量)以及污染物含量方面均在常见的范围内。因此,一般地表水处理系统是指对一般浊度的原水采用混凝、沉淀、过滤、消毒的净水过程,以去除浊度、色度、细菌和病毒为主的处理工艺,在水处理系统中是最常用、最基本的方法。

根据原水水质的不同,一般地表水处理系统可以分为以下几种工艺流程。

1)采用简单消毒处理工艺

对于没有受到污染、水质优良的原水,如果除细菌以外各项指标均符合出水水质要求时,采用简单的消毒处理工艺即可满足净水水质要求的标准。这种方法在一般地表水系统中很难应用,而更多地用于处理优质地下水。

2)采用直接过滤处理工艺

当原水浊度较低,经常在15NTU以下,最高不超过25NTU,色度不超过20度,一般在过滤前可以省去沉淀工艺,而直接采用过滤工艺。

直接过滤工艺又可以分为在过滤前设置絮凝设施和不设置两种情况。过滤前设置絮凝设施,是在原水加注混凝剂后,经快速的混合而流入絮凝池,在池中形成一定大小的絮凝体,之后进入快滤池。不设置絮凝设施,是采用煤、砂双层滤料,原水加注混凝剂并经快速混合后,直接进入滤池。这种情况中的絮凝过程是在滤层中进行的。加注混凝剂的原水悬浮物在煤层中一方面完成絮凝过程,同时也被部分截除,而在砂层中被充分去除掉。

直接过滤形成的絮体并不需要太大,故药耗相对较少,又被称为微絮凝过滤。由于直接过滤截留的悬浮物数量比一般滤池为多,所以在滤层选择上应注意有较高的含污能力,一般采用双层滤料。

3)混凝、沉淀、过滤、消毒处理工艺

由于人类对环境的影响,一般地表水浊度均超过了直接过滤所允许的范围,所以要求在过滤前设置混凝反应池、沉淀池,以去除大部分悬浮物质。

原水在投加混凝剂并经快速混合后进入絮凝反应池,在絮凝池中形成分离沉降所需要的絮状体。为有效提高絮状体的沉降性能,在快速混合后可以再投加高分子絮凝剂,通过架桥和吸附作用形成较易沉降的絮状体。

根据原水的水质情况,在进入混合前可投加pH调正剂和氧化剂。当原水碱度不能满足混凝要求的最佳pH时,需要投加pH调正剂。例如原水碱度较低时,投加石灰或氢氧化物,为了去除有机物需要形成较低pH时,则加酸处理。投加氧化剂的目的,是改善混凝性能,氧化部分有机物和保持净水处理构筑物的清洁,避免藻类滋生。

经过混凝、沉淀、过滤、消毒处理后,如果出水水质pH不能满足水质稳定要求时,应在最后投加pH调正剂,使出水水质达到稳定。

2.5.7 高浊度水处理系统

1)高浊度水工艺选择因素

高浊度水是指浊度较高的含砂水体,并且具有清晰的界面分选沉降。通常情况下指粒径不大于0.025mm为主的含砂量较高的水体。在我国,以黄河流域和长江上游各江河采用的处理工艺较为典型。

在工艺流程选择时一般要考虑以下几个方面的因素。

(1)水文和泥沙

①水砂典型年和多年最大断面平均含砂量。水砂典型年作为重要的设计依据,要求对取水河流的年际和年内的水砂分配情况、最大断面平均含砂量、洪水流量、枯水流量、砂量等进行研究。水砂典型年的选择要符合规范对取水保证率和供水保证率的要求。如果处理能力不能满足要求时,要求采取相应的措施,例如在流程中增加调蓄水库,以达到要求的供水保证率。

②砂峰延续时间和间隔时间。通过分析砂峰延续时间和间隔时间,确定避砂峰调蓄水库的容积和允许补充调蓄水库的时间,为增大取水和净化能力补充调节器蓄水库水量,来保证安全供水。

③泥砂粒径。泥砂粒径的组成,直接决定着高浊度水液面沉速大小,故需要确定稳定泥砂的最大数值来选择取水和净水能力。可以通过多年最大断面平均含砂量系列中,选择分析最大或较大的各项有关泥砂粒径资料。在缺乏粒径分析资料时,也可以采用类似工程经验。

对于非稳定泥砂的粒径研究同样也很重要。例如在中下游粗砂较多的河段,泥砂对水泵的磨损较为严重,排泥水量的电耗较大。为此需要排除粒径大于0.03mm泥砂。

④脱流和断流。调蓄水库的容积确定,与取水口的脱流、断流关系密切。一些游荡性河段砂洲出没无常,主流变化不定。故需要研究取水口的脱流情况以及从脱流到归槽的时间间隔。河道断流的情况时有发生,有些河道受沿河取水的影响,河水流量在枯水期已经出现减少的趋势。因此需要设计较大的调蓄水库来满足要求的供水保证率。

⑤冰凌。同一河道,其冰凌情况也有所差异。一般采取有效排冰措施即可正常供水。对于河道封冻和淌凌期停止引水的工程,需要增大调蓄水库以满足供水要求。

(2)药剂使用情况

高浊度水处理需要投加的混凝剂,要求有较高的有效范围,而一般的混凝剂有效范围均较低。目前在水处理工艺中使用较多的是聚丙烯酰胺。

当沉淀构筑物设计浑液面沉速为常数时,稳定泥砂含量越大,聚丙烯酰胺的投加量越大,所以处理最大含砂量一般采用小于100kg/m3的使用量。

(3)排泥

高浊度水处理厂一般采用刮泥机械进行排泥,除非供水量特别小的水厂有采用斗底排泥的。在下游段大型预沉池中,多采用挖泥船来排泥,有些工程采用水力冲洗排泥。

为了减轻下游河床的淤积,保证洪水期两岸堤坝安全,不准将未经处置的排泥水直接排入河道,对于泥砂处置可以采取相应措施来合理利用,如盖淤还耕、生产砖瓦、加固大堤、改造低洼的盐碱地等。

另外,还需要考虑取水口、调蓄水库、净水厂的地形地质条件选择。

2)高浊度水处理的工艺流程选择

与一般水处理工艺流程不同,高浊度水处理工艺受河道泥砂影响大,一般设有调蓄水库。在沉淀过程中,往往采用二次沉淀。

(1)不设调蓄水库时的处理工艺

多砂高浊度水一般见于长江上游各江河中,稳定泥砂以及含砂量的比例较小,砂粒比较容易下沉,并且取水可以保证。故一般不设置调蓄水库,采用的工艺流程为二级或三级絮凝沉淀,如图2.84所示。

图2.84 不设调蓄水库时的二次沉淀处理工艺

(2)设浑水调蓄水库时的处理工艺

浑水调蓄水库用于一次沉淀池的泥砂沉淀,一般将沉淀部分和蓄水部分分别设置。其工艺流程如图1.7所示。

(3)设清水调蓄水库的处理工艺

由于地形、地质条件的限制,以及供水安全方面的考虑,在高浊度水处理工艺上采用清水调蓄水库,如图2.85所示。清水调蓄水库库容根据避砂峰、取水口脱流、河道断流和取水口冰害等因素确定。水厂不能取水运行时,则要消耗清水调蓄水库的水量。一旦水厂恢复取水运行,要及时补充清水调蓄水库所消耗的水量。

图2.85 设清水调蓄水库自然沉淀处理工艺

(4)一次沉淀(澄清)处理工艺

一次沉淀(澄清)处理工艺主要用于一些中小型工程。其工艺流程如图2.86所示。

一次沉淀(澄清)处理构筑物多采用水旋絮凝混凝澄清池一类的新型处理构筑物,这类构筑物在砂峰时,为减少出水浊度,除投加絮凝剂外,同时也投加混凝剂,河水较清时则仅投加混凝剂。由于这类池型采用絮凝混凝沉淀和沉淀泥渣的二次分离技术,故占地小、效率高。

图2.86 一次沉淀(澄清)处理工艺

2.5.8 微污染水处理系统

1)微污染水源水的水质特点

微污染水源水是指受到有机物污染,部分指标超过饮用水源卫生标准的地表饮用水水源。这类水中所含的污染物种类较多、性质较复杂,但浓度比较低。微污染水源水中主要是有机污染物,一部分是属于天然的有机化合物,例如水中动植物分解而形成的产物如腐殖酸等,再就是人工合成的有机物,包括农药、重金属离子、氨氮、亚硝酸盐氮及放射性物质等有害污染物。微污染水源水的水质特点表现在以下几个方面:

①水源受排放污水影响,使水质发生不良变化,水质波动。微污染水源水的水质主要受排入的工业废水和生活污水影响,在江河水源上表现为氨氮、总磷、色度、有机物等指标超出生活饮用水源卫生标准;在湖泊水库水源上,表现为水库和湖泊水体的富营养化,并在一定时期藻类滋生,造成水质恶化,腐烂时腥臭逼人。

②有机物含量高,导致生产过程中的氯消毒副产物明显。水中溶解性有机物大量增加,特别是自来水出厂水、管网水经常于春末夏初、夏秋之交出现明显异味,氯耗季节性猛增。水中有机物多带负电,增大了混凝剂和消毒剂投量,腐蚀管壁,降低管网寿命。

③水质标准提高,有害微生物较难去除。国家卫生部颁布的枟生活饮用水卫生标准枠,提出了更高的水质标准。而目前已发现的一些有害微生物较难去除,如贾第氏鞭毛虫、隐孢子虫、军团细菌、病毒等。

④内分泌干扰物质的去除效率不高。内分泌干扰物质又称环境荷尔蒙,指某些化学品不仅具有“三致”作用,还会严重干扰人类和动物的生殖功能。

2)微污染水源水处理技术

针对微污染水源水的水质特点,国内外进行了大量的研究和应用。按照作用原理,可以分为物理、化学、生物净水工艺;按照处理工艺的流程,可以分为预处理、常规处理、深度处理;按照工艺特点,可以分为传统工艺强化技术、新型组合工艺处理技术。现就处理工艺的流程和特点不同,对微污染水源水处理技术研究现状加以综述。

(1)预处理技术

预处理技术是指附加在传统净化工艺之前的处理工序,可分为氧化法和吸附法,氧化法又可分为化学氧化法和生物氧化法。

(2)深度处理技术

一般把附加在传统净化工艺之后的处理工序称为深度处理技术。在常规处理工艺以后,采用适当的处理方法,将常规处理工艺不能有效去除的污染物或消毒副产物的前驱物加以去除,以提高和保证饮用水质。应用较广泛的有生物活性炭、臭氧唱活性炭联用和膜技术等。

(3)传统工艺强化处理技术

改进和强化传统净水处理工艺是目前控制水厂出水有机物含量最经济、最具实效的手段。对传统净化工艺进行改造、强化,可以进一步提高处理效率,降低出水浊度,提高水质。包括强化混凝、强化沉淀和强化过滤等。

(4)新型组合工艺处理技术

采用新型组合工艺,可以有效去除水质标准要求的各种物质。如生物接触氧化唱气浮工艺、臭氧唱砂滤联用技术、生物活性炭唱砂滤联用技术、臭氧唱生物活性炭联合工艺、生物预处理唱常规处理唱深度处理组合工艺。利用生物陶粒预处理能有效去除氨氮、亚硝酸盐氮、锰和藻类,并能降低耗氧量、浊度和色度;强化混凝处理能提高有机物与藻类的去除率,降低出厂水的铝含量;活性炭处理对有机污染物有显著的去除效果,使Ames卫生毒理学试验结果由阳性转为阴性。

各种微污染水源水预处理和深度处理工艺技术有着广阔的发展前景,由于这些技术目前的投资或运行操作费用较大,在我国经济还欠发达、居民生活水平和消费能力还不高的情况下,较难普遍地使用这些技术。结合当前我国的经济状况,要求普遍增加深度处理也是不现实的。因此改造已有常规的给水处理工艺、强化混凝处理过程、联系实际地充分挖掘已有设备的潜力,成为适合我国国情的微污染水源水处理技术的一个重要发展方向。

2.5.9 优质饮用水处理系统

1)优质饮用水的概念

优质饮用水是最大程度地去除原水中的有毒有害物质,同时又保留原水中对人体有益的微量元素和矿物质的饮用水。优质饮用水应仅仅局限于供人们直接饮用和做饭等那一部分直接入口的专门饮用水。城市供水中只有2%~5%用于生活饮用,其余95%~98%的水适用于生产、绿化和消防等方面。

优质饮用水包括3个方面的意义:

①去除了水中的病毒、病原菌、病原原生动物(如寄生虫)的卫生安全的饮用水。在目前不断发现新的病原微生物(如贾第鞭毛虫、军团细菌、隐孢子囊虫等)这一形势下,人们不再对消毒工艺抱有绝对信心。

②去除了水中的多种多样的污染物,特别是重金属和微量有机污染物等对人体有慢性、急性危害作用的污染物质。这样可保证饮用水的化学安全性。

③在上述基础上尽可能地保持一定浓度的人体健康所必须的各种矿物质和微量元素。

优质饮用水是安全性、合格性、健康性三者的有机统一。在3个层次上相互递进、相互统一构成了优质饮用水的实际意义,其中安全性是第一位的。

2)优质饮用水的水质

饮用水水质指标是一定发展阶段的产物,它与一定的水处理水平和分析检测水平是相互适应的,是随着人们生活水平和科学技术水平的提高而发生变化的。优质饮用水的指标体系应该不同于目前的枟生活饮用水卫生标准枠。

由于水的浊度一定程度上反应了水质的优劣和安全程度,我国供水规划要求一类自来水公司浊度达到1NTU,作为优质饮用水水质对浊度指标要求应更高,枟饮用净水水质标准枠(征求意见稿)建议定为0.5NTU。Ames致突变试验是综合检验水中污染物导致基因突变的一种遗传毒理学方法,在美、日、法等国较普遍地用于水质处理的评价,所以Ames试验应作为评价优质饮用水的水质指标。

我国饮用水水质标准中常规的综合指标或少数几种有毒物的最高允许浓度,已不能反映众多有机物对人体健康的危害,也不能反映多种毒物同时存在所产生的协同效应。国外先进的饮用水水质标准已经将水质指标除感官性指标和微生物指标外,向农药、消毒副产物、微量有机污染物、病毒等指标发展。这应该是饮用水水质指标体系的发展方向。

3)优质饮用水处理工艺

(1)活性炭吸附深度处理工艺

以活性炭为代表的吸附工艺是目前治理有机污染物的首选工艺,其他吸附剂如多孔合成树脂、活性炭纤维等也正在推广应用中。活性炭来源广泛,比表面积大,对色、嗅、味、农药、消毒副产物、微量有机污染物等都具有一定的吸附能力,还可以有效去除铁、锰、汞、铬、砷等重金属,因此在研究和应用中使用广泛、效果较好。

(2)臭氧唱生物活性炭(O3唱BAC)处理技术

为了改善对有机物的处理效果和延长活性炭的使用寿命,1970年欧洲开始应用臭氧唱生物活性炭(O3唱BAC)处理技术,它具有优异的除有机污染物性能。该工艺将臭氧氧化、活性炭吸附、微生物降解统为一体,其中适量的臭氧氧化所产生的中间产物有利于活性炭的吸附去除,臭氧自降解产物氧气导致的活性炭中的好氧微生物活性提高和生物再生。

由于O3无持续消毒能力,而Cl2消毒会增加水中的消毒副产物THMs,因此作为优质饮用水供水系统,在出厂前可采用ClO2消毒,以维持管网中的杀菌能力。

(3)精密过滤处理技术

精密过滤是使用精密过滤器对水进行过滤,其能去除杂质短粒范围视精密过滤器的种类而不同。精密过滤器在水处理中常用的有滤芯过滤器和预涂膜过滤器。滤芯过滤器的滤芯元件常用的是多孔陶瓷和聚丙烯纤维,能去除2~5μm以上的颗粒。预涂膜过滤器常用的有硅藻土过滤,它是在过滤前首先对滤元预涂硅藻土形成2~3mm厚的过滤膜,能够去除胶体颗粒、细菌和部分病毒及大分子有机物。精密过滤在优质饮用水处理中,应用时一般应与活性炭吸附相结合。

(4)膜分离处理技术

反渗透膜、超滤膜、微滤膜和纳滤膜最初应用于工业用水、海水、苦咸水等的淡化和脱盐处理等,现在已经广泛地应用于去除水中的浊度、色度、嗅味、消毒副产物前驱物质、微生物、溶解性有机物等。选择合适的膜技术或膜技术组合,可以对饮用水进行深度净化处理,甚至可以将原水处理到所希望的任何水质水平。

膜处理技术是水经过滤膜后,将水中杂质截留。膜分离分为微滤、超滤和反渗透。微滤是水通过由中空聚丙烯纤维等组成的微滤膜,微滤膜孔径在0.1~0.26μm,因此能截留水中0.1~0.2μm以上的杂质,可去除浊度、臭味、色度及较大的病毒和部分有机物,其工作压力在0.15~0.2MPa;超滤是水通过2.0~20μm孔径的超滤膜,因而能去除大部分有机物,并能将病毒全部去除,其工作压力为0.5MPa。反渗透是水通过半透膜,能截留水中的小分子、离子,其工作压力达5~10MPa。

(5)生物预处理

生物预处理可部分地除去水中的有机污染物、氨氮、亚硝酸盐以及三氯甲烷前驱物质(如富里酸、苯酚、苯胺等),减轻后续工艺的有机负荷,提高整体处理流程的处理效果。强化加氯点的选择和加氯量的控制,尽量选用二氧化氯或其他消毒剂,使用臭氧、Cl2、KMnO4等进行预氧化,是控制出水有机物尤其是消毒副产物的有效途径。

(6)氧化工艺

氧化工艺是饮用水深度净化的常用工艺之一。它包括臭氧、二氧化氯、双氧水、高锰酸钾氧化、光催化氧化以及紫外线和臭氧、双氧水相结合的高级氧化技术。单纯的氧化工艺相对来说需要的能量和费用较高,不太适合大规模的优质饮用水的制取。它只是有选择的将危害性较大的有毒有害物质变为危害较小的物质或与其他的处理单元如活性炭吸附等作适当的结合,才有可能广泛地用于实践。

本章小结

本章内容以地表水处理经典工艺为主线,形成混凝、沉淀、过滤、消毒4个重要组成部分。每一部分详细介绍了其单元构筑物工作原理、构筑物及设备组成、基本技术参数,并着重强调了针对各种不同水源水水质的地表水处理系统与工艺选择。要求学生能够掌握地表水处理经典工艺过程和原理,并能进行传统地表水厂的平面布置和高程设计,通过现场实训,熟悉地表水厂的运行管理基本知识、岗位要求、职责、安全操作维护。

习 题

1.胶体有哪些特性?

2.影响混凝效果的主要因素有哪些?

3.沉淀的四种基本类型是什么?

4.理想沉淀池的三个假定的内容是什么?

5.根据水流方向不同,沉淀池可分为哪几种类型?

6.滤料的基本要求有哪些?

7.试述快滤池的工作原理及其基本组成?

8.地表水处理工艺系统的选择原则是什么?

9.水处理工艺选择时必需的试验有哪些?

10.根据原水水质的不同,一般地表水处理系统可以分为哪几种工艺流程?