习 题

④栅后槽总高度:

H=h+h1+h 2=0.4+0.08+0.3=0.78m

⑤栅槽的总长度:

⑥每日栅渣量:

每日栅渣量大于0.2m3/d,故采用机械清渣。

4.1.2 沉砂池

沉砂池的功能是从污水中分离相对密度较大的无机颗粒,例如砂、炉灰渣等。它一般设在泵站、沉淀池之前,用于保护机件和管道免受磨损,还能使沉淀池中污泥具有良好的流动性,能防止排放与输送管道被堵塞,且能使无机颗粒和有机颗粒分别分离,便于分别处理和处置。

根据沉砂池的功能,应注意控制沉砂池内的水流速度,只让密度约为2.65g/cm3、粒径大于0.2mm的无机颗粒沉淀下来,而有机颗粒应随水流出进入下一处理单元。

沉砂池的设计流量应按分期建设考虑,如果污水自流进入,按每期的最大设计流量计算;如果是提升进入,按每期工作水泵的最大组合流量计算;合流制处理系统,按合流设计流量计算。

城市污水的沉砂量按0.03L/m3计算,生活污水的沉砂量按0.01~0.02L/(人·d)计算,沉砂的含水率约为60%,密度为1500kg/m3。沉砂池的砂斗容积不应大于2d的沉砂量,采用重力排砂时,砂斗的斗壁与水平面的夹角不应小于55°。沉砂池一般采用机械排砂的方法,并经砂水分离后贮存或外运;采用人工时,排砂管直径不应小于200mm。砂的流动性不如污泥,排砂管应考虑防堵塞措施。

常用的沉砂池有平流沉砂池、曝气沉砂池和钟式沉砂池。

1)平流沉砂池

(1)基本构造

平流沉砂池结构简单、截留效果好,是沉砂池中常用的一种。平流沉砂池由入流渠、出流渠、闸板、水流部分、沉砂斗和排砂管组成,一般设为一池两渠的形式,如图4.5所示。平流沉砂池的水流部分实际上是一个加宽加深的明渠,两端设有闸板,以控制水流,池底设1~2个贮砂斗,利用重力排砂,也可用射流泵或螺旋泵排砂。

图4.5 平流沉砂池工艺图

(2)设计参数

平流沉砂池的设计思路是:根据最大水平流速、最大水力停留时间和有效水深计算出沉砂池的尺寸,然后用最小流速核算,以免过多的污泥随砂粒一起沉淀下来。主要参数如下:

①池内最大流速为0.3m/s,最小流速为0.15m/s;

②最高流量的停留时间不应小于30s,一般采用30~60s;

③有效水深不应大于1.2m,一般采用0.25~1.0m,每格宽度不小于0.6m;

④贮砂斗容积一般按2d内沉砂量考虑;

⑤沉砂池超高不宜小于0.3m;

⑥沉砂池座数或分格数不应少于2个,按并联设计,当污水量较少时,可考虑一格工作,一格备用。

(3)计算公式

①沉砂池水流部分(沉砂池两闸板之间的区域)的长度L:

式中:v——最大流速,m/s;

 t——最大设计流量的停留时间,s。

②水流断面面积A:

式中:Qmax——最大设计流量,m3/s。

③池总宽度B:

式中:h2——设计有效水深,m。

④沉砂斗容积V:

式中:x1——城市污水沉砂量,一般取0.03L/m3

 T——清除沉砂的时间间隔,d;

 Kz——流量总变化系数;

 x2——生活污水沉砂量,一般取0.01~0.02L/(人·d);

 N——沉砂池服务人口数。

沉砂斗尺寸的计算方法可参考平流沉淀池。

⑤沉砂池总高度:

式中:h1——超高,m;

 h2——有效水深,m;

 h3——贮砂室的高度,包括沉砂斗的高度和池底坡向沉砂斗的高度(计算方法可参考平流沉淀池),m;

⑥验算:

最小流量Qmin时,池内的流速vmin为:

式中:n——最小流量时工作的沉砂池数;

 ω——工作沉砂池的水流断面面积,m2

若vmin≥0.15m/s,则设计合格。

2)曝气沉砂池

(1)基本构造

普通沉砂池截留的沉砂中夹杂有15%的有机物,使沉砂的后续处理难度增加,采用曝气沉砂池可在一定程度上克服此缺点。曝气沉砂池是一长形渠道,沿池壁一侧的整个长度距池底60~90cm的高度处安设曝气装置,而在其下部设有集砂槽,在池底的另一侧有0.1~0.5的坡度坡向集砂槽(以保证砂粒滑入集砂槽),如图4.6所示。

图4.6 曝气沉砂池断面图
1—压缩空气管;2—空气扩散组件;3—集砂槽

在水流从进水端流向出水端的过程中,由于曝气的作用,使池内水流产生与主流垂直的横向旋流,因此,水流在池内呈螺旋状前进。水的旋流运动,增加了无机颗粒相互碰撞和摩擦的机会,把砂粒表面有机物擦掉,获得较纯净的砂粒。在旋流的离心力作用下,这些密度较大的砂粒被甩向外部沉入集砂槽,而密度较小的有机物随水流向前流动被带到下一处理单元。另外,在水中曝气可脱臭,改善水质,有利于后续处理,还可起到预曝气作用。

(2)设计参数

①最大旋流速度为0.25~0.30m/s,水平前进流速为0.1m/s;

②最大流量的停留时间应大于2min;

③有效水深为2~3m,宽深比为1.0~1.5;

④处理1m3污水的曝气量为0.1~0.2m3空气,可使旋流速度达到0.25~0.30m/s即可;

⑤为防止水流短路,进水方向应与池中旋流方向一致,出水方向应与进水方向垂直。

(3)计算公式

①沉砂池总有效容积V:

式中:Qmax——最大设计流量,m3/s;

 T——最大设计流量的停留时间,min。

②池断面积A:

式中:v——最大设计流量时水平前进流速,m/s。

③池总宽度B:

式中:H——设计有效水深,m。

④池的长度L:

式中:L——池的长度,m。

⑤每小时所需空气量q:

式中:D——处理1m3污水所需曝气量,m3/m3

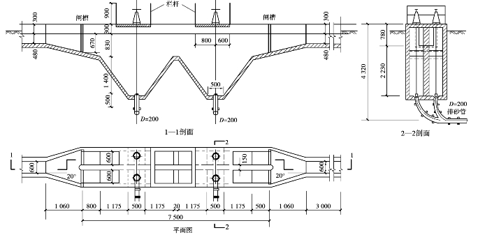
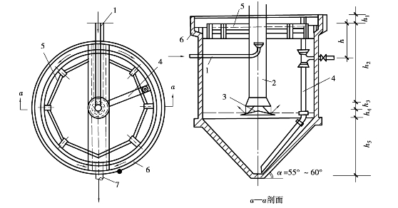
3)钟式沉砂池

图4.7 钟式沉砂池

钟式沉砂池在结构上为圆形,水流状态是旋流的沉砂池,如图4.7所示。污水从切线方向进入,池中设有可调速的转盘和叶片,使池内水流保持螺旋状环流。在离心力的作用 下,污水中密度较大的砂粒被甩向池壁,掉入砂斗;有机物则被留在污水中,随水排走进入下一处理单元。通过调整转速,可以达到最佳沉砂效果。沉砂可用砂泵或空气提升器排除,清洗水回流至沉砂区。

钟式沉砂池已有定型产品可供选用,不用自己单独设计。

不同型号钟式沉砂池的处理流量及各部分尺寸见表4.4和图4.8。

表4.4 钟式沉砂池各部分尺寸

图4.8 钟式沉砂池各部分尺寸

4.1.3 沉淀池

1)沉淀池的类型

在污水处理中,按沉淀池的用途和工艺布置不同,可分为初次沉淀池、二次沉淀池、污泥浓缩池等。按沉淀池内水流方向不同,可分为平流式沉淀池、竖流式沉淀池、辐流式沉淀池。

初次沉淀池设置在沉砂池之后,作为化学处理与生物处理的预处理,可降低污水的有机负荷。二次沉淀池用于化学处理或生物处理后,分离化学沉淀物、活性污泥或生物膜。污泥浓缩池设在污泥处理段,用于剩余污泥的浓缩脱水。

2)平流式沉淀池

(1)基本构造

平流式沉淀池的构造与理想沉淀池最为相似,为一长方形水池,水在池内水平流动,从一端流入,从另一端流出。平流式沉淀池由进水装置、出水装置、沉淀区、缓冲层、污泥区及排泥装置等组成。

(2)沉淀池设计

平流式沉淀池的设计应符合枟室外排水设计规范枠(GB 50014—2006)的要求。除构造部分已介绍的数据外,还应熟悉以下设计参数。

①城市污水沉淀池的设计参数应参考表4.5。

表4.5 城市污水沉淀池设计数据

②沉淀池的超高不应小于0.3m。

③按表面负荷设计平流池时,可按水平流速进行校核。最大水平流速:初沉池为7mm/s,二沉池为5mm/s。

污泥区(包括污泥斗)的总容积:采用机械排泥时按4h的污泥量算;采用静水压力排泥时,初沉池按不大于2d的污泥量算,生化池后的二沉池按不大于2h的污泥量算。

主要的设计参数有:

①沉淀区有效水深h2

式中:q——表面负荷,m3/(m2·h);

 t——停留时间,h。

②沉淀区总面积A:

式中:Qmax——最大设计流量,m3/s。

③沉淀区有效容积V1

④沉淀区长度L:

式中:v——最大设计流量时的水平流速,mm/s。

⑤沉淀区总宽B:

⑥沉淀池座数或分格数n:

式中:b——每座或每格沉淀池的宽度,m。

⑦污泥区容积W。污泥区容积应根据每日沉下的污泥量和污泥储存周期决定,计算公式为:

式中:Q——设计流量,m3/d;

 C0;C1——进、出水中的悬浮物浓度,kg/m3

 γ——污泥密度,污泥主要为有机物且含水率大于95%时,取1000kg/m3

 P——污泥含水率,一般取95%~97%;

 T——两次排泥的时间间隔;

 S——每人每天产生的污泥量,L/(人·d);

 N——设计人口数。

根据污泥区容积进一步确定、核算污泥斗的尺寸。

⑧沉淀池总高度H:

式中:h1——超高,采用0.3m;

 h2——沉淀区高度,m;

 h3——缓冲层高度,m;

 h4——污泥区高度,包括池底沉积污泥的梯形部分的高度和污泥斗的高度,m。

3)辐流式沉淀池

(1)基本构造

辐流式沉淀池是一种圆形的、直径较大而有效水深则相应较浅的沉淀池(也有将池子做成方形的)。通常采用中心进水周边出水,污水自进水管流入中心管,经穿孔挡板均匀分配,向四周辐射流向周边的出水堰。下沉的污泥由刮泥机刮至池中心,经排泥管排出,如图4.9所示。有少量的辐流式沉淀池采用周边进水中心出水或周边进水周边出水的方式,其构造示意图如图4.10所示。

图4.9 中心进水的辐流式沉淀池
1—进水管;2—中心管;3—穿孔挡板;4—刮泥机;5—出槽;6—出水管;7—排泥管

图4.10 周边进水的辐流式沉淀池示意图

辐流式沉淀池的直径一般在20~30m以上,最大可达100m,池子的直径与有效水深的比宜为6~12,坡向泥斗的底坡坡度不宜小于0.05。穿孔挡板开孔面积为过水断面积的6%~20%。沉淀的污泥一般采用机械排泥,大多采用周边传动的刮泥机,其驱动装置设在桁架的外缘,刮泥机桁架的一侧装有刮渣板,可将浮渣刮入设于池边的浮渣箱。池径小于20m时,一般用中心传动的刮泥机,其驱动装置设在池子中心走道板上。刮泥机的旋转速度一般为1~3r/h,刮泥板的外缘线速度不宜大于3m/min。如果池的直径较小,不想采用机械排泥,也可采用多斗排泥,但管理比较麻烦。

(2)设计计算

辐流式沉淀池的设计内容主要包括:各部分尺寸的确定、进出水方式,以及排泥装置的选择,除构造部分已介绍的特征数据外,其余设计参数可参考平流沉淀池设计部分内容。

①沉淀池表面积A和池径D:

式中:Q——设计流量,m3/h;

 n——池数;

 q——表面负荷,参考表4.5。

②有效水深h2

式中:t——沉淀时间,参考表4.5。

③沉淀池高度H:

式中:h1——沉淀池超高,同前取0.3m;

 h2——有效水深,m;

 h3——缓冲层高度,取值同平流沉淀池,m;

 h4——沉淀池底坡落差,m;

 h5——污泥斗高度,m。

4)竖流式沉淀池

(1)基本构造

竖流式沉淀池在平面图形上一般呈圆形或正方形,污水通常由设在池中央的中心管流入,在中心管的下端经反射板拦阻,均匀散开折向上流,水中沉速超过上升流速的悬浮颗粒则向下沉降到污泥斗中,清水从池的顶部周边流出,如图4.11所示。由于水流在沉降区的流动方向是由池的下面向上作竖向流动,故称竖流池。

图4.11 圆形竖流式沉淀池
1—进水管;2—中心管;3—反射板;4—排泥管;5—出水挡板;6—出水槽;7—出水管

为了达到池内水流均匀分布的目的,直径或边长不能太大,一般为4~7m,不大于10m。池径或边长与有效水深的比值不大于3。中心管内的流速不宜大于30mm/s,中心管下口应设有喇叭口及反射板,具体尺寸如图4.12所示。反射板板底距泥面至少0.3m。如果池子直径大于7m,为使池内水流分布均匀,可增设辐射方向的流出槽,流出槽前设挡板以隔除浮渣。污泥依靠静水压力将污泥从排泥管中排出,排泥管直径、污泥斗尺寸、排泥静水压力等参数同前。

(2)设计计算

①中心管面积f1与直径d0

式中:qmax——每个池的最大设计流量,m3/s;

v0——中心管内流速,m/s。

②有效沉淀高度,即中心管高度h2

图4.12 中心管及反射板的结构尺寸
1—中心管;2—喇叭口;3—反射板

式中:v——水在沉淀区的上升流速,等于表面负荷q,参考表4.5,mm/s;

 t——沉淀时间,参考表4.5,h。

③中心管喇叭口到反射板之间的间隙高度h3

式中:v1——间隙流出速度,一般不大于40mm/s;

 d1——喇叭口直径,m。

④沉淀区面积f2

⑤沉淀池总面积A和池径D:

⑥沉淀池总高度H:

式中:h1——沉淀池超高,同前取0.3m;

 h4——缓冲层高度,一般取0.3m;

 h5——污泥斗高度,m。其计算方法以及污泥斗容积计算参见平流式沉淀池。

5)各种沉淀池特点比较

各种沉淀池没有绝对的好坏之分,它们在各自的适用条件下,都能获得最佳效益。因此,在水处理设计中,首先要了解各种沉淀池的特点和适用条件,选取适合具体情况的沉淀池,然后再按上述的设计方法进行设计。现将各种沉淀池的特点及适用条件列表对比,见表4.6。

表4.6 各种沉淀池的优缺点及适用条件

4.2 城镇污水的活性污泥法处理

4.2.1 污水生物处理理论

1)微生物的新陈代谢及规律

(1)微生物的分类

微生物是指所有形体微小、单细胞的或个体结构较为简单的多细胞,甚至无细胞的,必须借助光学显微镜或电子显微镜才能观察到的低等生物的通称。微生物类群庞杂、种类繁多,且繁殖快,易变异,适应能力极强,在环境中分布极广。水中常见的微生物见表4.7。

表4.7 水中常见的微生物

水中微生物对水体的自净有重要作用,也是污水生物化学处理的工作主体。与自然水体中的同类微生物相比,生活在污水中的微生物,其形态结构、生理特性、遗传变异等方面都有某些特异性改变,水中污染物浓度和种类等因素影响着微生物的生长规律和类群分布。

细菌是在自然界分布最广、数量最多、与人类关系最密切的微生物类群之一。其个体微小,种类繁多,对环境的适应性强,增长速度快。根据细菌对营养物质需求的不同,可将其分为自养菌和异养菌两大类。自养菌以CO2为主要碳源,利用光能或通过氧化某些无机物释放能量,合成自身细胞物质。异养菌以有机物作为碳源,并利用分解这些有机物过程中产生的能量作为能源,合成细胞物质。在污水生物化学处理设施中参与净化作用的微生物主要是异养菌。

真菌包括霉菌和酵母菌,与污水生化处理有关的是多细胞的霉菌和单细胞的酵母菌。真菌是好氧菌,以有机物为碳源,常出现在低pH、分子氧较少环境中。

在污水生化处理设施中,真菌的种类和数目一般没有细菌和原生动物多,其菌丝常能用肉眼看到。在生物滤池的生物膜内,真菌形成广大的网状物,具有结合生物膜的作用。在活性污泥中,如繁殖了大量霉菌,也会引起污泥膨胀。在活性污泥中的酵母菌,具有较强的氧化能力。

藻类细胞内含叶绿素及其他辅助色素,能进行光合作用。在有光线照射时,能利用光能吸收CO2合成细胞物质,同时放出O2。在夜间无阳光时,则通过呼吸作用取得能量,吸收O2同时放出CO2。氮、磷的存在会引起藻类的大量繁殖。

原生动物是最原始的、最低等的单细胞动物,个体很小,但却是一个完整的有机体,它具备了动物所必需的营养、呼吸、排泄和生殖等机能。在污水生化处理中,原生动物虽不如细菌那样重要,但原生动物除具有吞食污水中有机物颗粒和游离细菌的能力外,还能在一定程度上反映出污水水质和净化处理的效果。在不同的水质环境中会出现不同种类的原生动物,因此原生动物可作为指示生物,指示污水水质和净化处理效果。例如,钟虫在水中的溶解氧充足时会大量出现,并且很活跃;而在溶解氧较低是则较少出现,也不活跃或发生虫体变形等现象。

后生动物是多细胞动物,在污水生化处理中常见的有轮虫和线虫等。轮虫以细菌、小的原生动物及有机颗粒等为食,对污水有一定的净化作用。轮虫也可以作为指示生物,当活性污泥中出现轮虫时,往往表明处理效果良好。

(2)微生物的代谢

在生命细胞中发生的物质化学转变过程称为代谢。代谢是生命活动的基本特征之一,生命活动的任何过程都离不开代谢,代谢一旦停止,生命随之结束。在微生物的代谢过程中,细胞不断从外部环境中摄取生长需要的能源和营养物质,同时不断将代谢产物(废物)排泄到外部环境中去,因此代谢又称为新陈代谢。微生物要靠代谢维持其生命活动,诸如生长、繁殖、运动等。代谢被分为两大类,即分解代谢和合成代谢。

①分解代谢。分解代谢也称异化作用,是指微生物将自身或外来的各种物质分解以获取能量的过程,产生的能量用以维持各项生命活动需要,部分以热能的形式与代谢废物一起排出体外。根据分解代谢过程对氧的需求,又可分为好氧分解代谢和厌氧分解代谢。

好氧分解代谢过程中,有机物的分解比较彻底,最终产物是含能量最低的CO2和H2 O,故释放能量多、代谢速度快、代谢产物稳定。从污水处理的角度来说,希望保持这样一种代谢形式,在较短时间内将污水中有机物稳定化。

厌氧分解代谢中有机物氧化不彻底,用于处理污水时,不能达到排放要求,还需要进一步处理。厌氧分解代谢可生产沼气,回收甲烷。

②合成代谢。合成代谢亦称同化作用,是指微生物不断由外界取得营养物质合成为自身细胞物质并贮存能量的过程,是微生物机体自身物质制造的过程。在此过程中,微生物合成所需要的能量和物质由分解代谢提供。

分解代谢与合成代谢是一个协同的、一体化的过程,它们是密不可分的。微生物的生命过程是营养物质不断被利用,细胞物质不断合成又不断消耗的过程。在这一过程中伴随着新生命的诞生,旧生命的死亡和营养物质的转化。污水的生物化学处理就是利用微生物对污染物(营养物质)的代谢作用实现的。

(3)微生物的生长条件

水的生物化学处理是利用微生物的作用来完成的,微生物的代谢对环境因素有一定的要求。因此,需要给微生物创造适宜生长繁殖的环境条件,使微生物大量生长繁殖,才能获得良好的污水处理效果。影响微生物生长繁殖的主要因素有水温、营养物质、pH、溶解氧和有毒物质等。

(4)微生物的生长规律

图4.13 活性污泥生物生长曲线

在水的生化处理过程中,微生物是以活性污泥或生物膜形式存在的混合群体,可以看作是一种微生物的连续培养过程,即不断给微生物补充食物,使微生物数量不断增加。将活性污泥微生物在污水中接种,并在温度适宜、溶解氧充足的条件下培养,按时取样计量,即可得出具有一定规律的微生物的生长曲线,反映微生物群体在不同培养环境下的生长情况及微生物群体的生长过程。按微生物生长速度不同,生长曲线可划分为4个生长时期,如图4.13所示。

①适应期(停滞期)。这是微生物培养的最初阶段,由于微生物刚接入新鲜培养基中,对新的环境还处在适应阶段,所以在此时期微生物的数量基本不增加,生长速度接近于零。这一时期一般在活性污泥的培养驯化时或处理水质突然发生变化后出现,能适应的微生物则能够生存,不能适应的微生物则被淘汰,此时微生物的数量有可能减少。

②对数增长期。微生物经历了适应期后,已适应了新的培养环境,在营养物质(基质)较丰富的条件下,微生物的生长繁殖不受基质的限制,开始大量生长繁殖,菌体数量以几何级数增加,菌体数量的对数值与培养时间呈直线关系,因此,对数期也被称作指数增长期或等速生长期。增长速度的大小取决于微生物本身的世代时间及利用基质的能力,即取决于微生物自身的生理机能。

在这一时期微生物具有繁殖快、活性大、对基质分解速度快的特点。如果要维持微生物在对数期生长,必须提供充分的食物,使微生物处于食物过剩的环境中。在这种情况下,微生物体内能量高,絮凝和沉降性能较差,势必导致活性污泥处理系统出水中的有机物浓度过高。也就是说,如果控制微生物处于对数增长期,虽然反应速度快,但取得稳定的出水是比较困难的。

③平衡期。微生物经过对数增长期大量繁殖后,培养基中的基质逐渐被消耗,再加上代谢产物的不断积累,使环境条件变得不利于微生物的生长繁殖,致使微生物的增长速度逐渐减慢,死亡速度逐渐加快,微生物数量趋于稳定,所以平衡期又称减速增长期或稳定期。微生物处于减速增长期时,污染物浓度低,絮凝沉降性能好。将生化处理设施的运行状态控制在平衡期,可以获得较好的出水水质。

④内源呼吸期。在减速增长期后,培养基中的基质消耗殆尽,微生物只能利用体内贮存的物质或以死亡的菌体作为养料,进行内源呼吸,维持生命。在此时期,由内源代谢造成的菌体细胞死亡速度超过新细胞的增长速度,使微生物数量急剧减少,生长曲线呈现明显下降趋势,故内源呼吸期亦称衰亡期。在这个时期有些细菌往往产生芽孢,絮凝体形成速度增高,吸附基质的能力显著,游离细菌被原生动物所捕食,所以处于内源呼吸期运行的生化处理系统,出水水质最好。

在污水生化处理过程中,通过控制基质量(F)与微生物量(M)的比值F/M,使微生物处于不同的生长时期,从而控制微生物的活性和处理效果。一般常将F/M控制在较低范围内,利用平衡期或内源代谢初期的微生物的生长活动,使污水中的有机物稳定化,以取得较好的处理效果。

2)污染物的降解及可生化性

(1)生物化学反应动力学

在水的生化处理过程中,其生物化学反应是指在环境因素,如水温、溶解氧、pH等都满足要求的条件下,微生物对有机污染物的代谢,微生物本身的增长及微生物对溶解氧的利用等生物化学反应。

①微生物增长速度。微生物的增长速度不仅与微生物量有关,而且与基质浓度(限制性营养物质浓度)有关。法国学者莫诺(Monod)在研究微生物生长的大量实验数据的基础上,提出了微生物的增长速度与限制性营养物质浓度之间的关系式,即莫诺方程式:

式中:μ——微生物比增长速度,μ=

 ,d-1,x为微生物浓度(mg/L);

μmax——微生物最大比增长速度,d-1

 S——基质浓度,mg/L;

 Ks——饱和常数,即当μ=μmax/2时的基质浓度,又称半速度常数,mg/L。

莫诺方程式表示的关系如图4.14所示。当基质浓度S较小时,S虫Ks,μ=,是一级反应,即微生物的增长速度与基质浓度成正比,微生物的增长处于平衡期;当基质浓度S很大时,S冲Ks,μ=μmax,达到最大,是零级反应,此时再增加基质浓度,对微生物的增长也无影响,微生物的增长处于对数期;当S与Ks相差不大时,反应级数为0~1,是混合级反应,增大基质浓度,微生物增长速度加快,但与基质浓度不成正比。

图4.14 微生物比增长速度与基质浓度的关系

在使用莫诺方程式时,S项必须是限制微生物增长的营养物质浓度。在污水生物处理 过程中,一般认为有机物是限制微生物增长的营养物质,通常以生化需氧量(BOD)或化学需氧量(COD)计。

②基质降解速度。在微生物的代谢过程中,一部分基质被降解为低能化合物,微生物从中获得能量;一部分基质用于合成新的细胞物质,使微生物体不断增加,因此微生物的增长是基质降解的结果。

在微生物代谢过程中,不同的基质用于合成微生物细胞的比例不同,但微生物的增长速度与基质的降解速度之间有一定的关系:

式中:μ——微生物比增长速度,d-1

 q——基质比降解速度,d-1

 Y——微生物产率系数,又称微生物增长系数。

由式(4.38)定义μmax=Yqmax,代入式(4.37),可得:

式中:qmax——最大基质比降解速度,d-1

Ks— ——饱和常数,即当q=时 的基质浓度,又称半速度常数,mg/L。

式(4.39)是莫诺方程式的另一种形式,它表示了基质降解速度与基质浓度之间的关系。

③微生物净增长速度。一般在污水的生物化学处理过程中,为了获得较好的处理效果,通常控制微生物的生长处于平衡期或内源呼吸期初期,这样,在新细胞合成的同时,部分微生物也存在内源呼吸而导致微生物细胞物质的减少,使得微生物的净增长量小于细胞合成量。因此,微生物净增长速度可表达为:

式中:

 ——微生物净增长速度;

 ——微生物细胞合成速度;

 Y——微生物产率系数,又称微生物增长系数;

 Kd x——微生物因内源呼吸消耗的速度;

 Kd——微生物的衰减系数,表示单位时间内,单位微生物量由于内源呼吸而自身消耗的量,d-1

式(4.40)两边同除以x,得:

式中:μ′——微生物比净增长速度。

在生产实践中,产率系数Y常以实测的表观产率系数Yobs代替,表观产率系数Yobs没有包括由于内源呼吸作用而减少的那部分微生物质量,所以又称微生物净增长系数。这样,式(4.40)和式(4.41)可分别改写为:

式(4.40)至式(4.43)表达了微生物净增长和基质降解之间的基本关系。在污水生化处理的工程实践中,式(4.37)、式(4.39)、式(4.40)和式(4.42)等是常用的基本动力学方程式。式中的μmax、Ks、qmax、Y、Yobs和Kd等动力学参数与微生物种类和浓度、基质种类、温度和pH等有关。不同的生化处理系统有着不同的动力学参数,一般可通过试验测得。

(2)污水的可生化性

污水的可生化性是指污水中所含的有机污染物在微生物的代谢作用下改变化学结构,从复杂的大分子物质转变为简单的小分子物质,从而改变化学和物理性能所能达到的生物降解程度。研究有机物的可生化性的目的在于了解其分子结构能否在微生物作用下分解到环境所允许的结构形态,以及是否有足够快的分解速度。如果污水中的有机物不能被微生物降解,生物处理则不能获得良好的效果。因此,评价污水的可生化性是设计污水生化处理工程的前提条件。

3)生化处理方法的分类

(1)生化处理方法的分类

从微生物的代谢形式出发,生化处理方法主要可分为好氧生化处理和厌氧生化处理两大类;按照微生物的生长方式,可分为悬浮生长和固着生长两类,即活性污泥法和生物膜法。此外,按照系统的运行方式,可分为连续式和间歇式;按照主体设备的水流状态,可分为推流式和完全混合式等类型。常用的生化处理方法见表4.8。

表4.8 常用的生化处理方法

(2)好氧生化处理与厌氧生化处理的区别

①起作用的微生物群不同。好氧生化处理是好氧微生物和兼性厌氧微生物群体起作用;而厌氧生化处理先是厌氧产酸菌和兼性厌氧菌作用,然后是另一类专性厌氧菌,即产甲烷菌进一步消化。

②反应速度不同。好氧生化处理由于有氧作受氢体,有机物转化速度快,需要时间短;厌氧生化处理反应速度慢,需要时间长。

③产物不同。在好氧生化处理过程中,有机物被转化为CO2、H2 O、NH3和 等;厌氧生化处理中,有机物先被转化为中间有机物,如有机酸、醇类和CO2、H2 O等,其中有机酸又被甲烷菌继续分解。由于能量限制,其最终产物主要是CH4,而不是CO2,硫被转化为H2 S,而不是SO24等,产物复杂,有异臭,其中CH4可用作能源。

④对环境要求不同。好氧生化处理要求充分供氧,对环境要求不太严格;厌氧生物处理要求绝对厌氧环境,对pH、温度等环境条件要求甚严。

4.2.2 活性污泥与活性污泥法

1)活性污泥

(1)活性污泥的形态和组成

活性污泥通常为黄褐色絮绒状颗粒,也称为“菌胶团”或“生物絮凝体”,其直径一般为0.02~0.2mm;含水率一般为99.2%~99.8%;密度因含水率不同而异,一般为1.002~1.006g/cm3;活性污泥具有较大的比表面积,一般为20~100cm2/mL。

活性污泥由有机物和无机物两部分组成,组成比例因污泥性质的不同而异。例如,城市污水处理系统中的活性污泥,其有机成分占75%~85%,无机成分仅占15%~25%。活性污泥中有机成分主要由生长在活性污泥中的微生物组成,这些微生物群体构成了一个相对稳定的生态系统和食物链,其中以各种细菌和原生动物为主,也存在着真菌、放线菌、酵母菌以及轮虫等后生动物。在活性污泥上还吸附着被处理的废水中所含有的有机和无机固体物质,在有机固体物质中包含某些惰性的难以被微生物降解的物质。

(2)活性污泥的微生物及其功能

活性污泥中的微生物是由各种细菌、真菌类、原生动物和以轮虫为主的后生动物组成的混合培养体。原生动物以细菌为食物,后生动物以细菌和原生动物为食物。在活性污泥中的有机物、细菌、原生动物和后生动物构成了一个相对稳定的小生态系统食物链。

图4.15 活性污泥微生物集合体的食物链

活性污泥中的微生物可分为形成活性污泥絮体的微生物、腐生生物、捕食者及有害生物等多种类型。活性污泥微生物集合体的食物链如图4.15所示。

腐生生物是降解有机物的生物,以细菌为主。显然,这些细菌中包括被看作形成絮体的大多数细菌,也可能包括不絮凝的细菌,但它们被包裹在由细菌形成的絮体颗粒中。腐生生物可分为初级和二级腐生生物,前者用于降解原始基质,而后者则以前者的代谢产物为食。有研究认为,腐生细菌大多数为革兰氏阴性的杆菌,主要菌种有动胶杆菌属、假单胞菌属、芽孢杆菌属、产碱杆菌属、无色杆菌属等。

在活性污泥的群落中主要的捕食者是以细菌为食的原生动物和后生动物,其中纤毛虫几乎都捕食细菌,通常为占优势的原生动物。由于原生动物和后生动物的数量会随着污水处理的运行条件及处理水质的变化而变化,所以,可以通过显微镜观察活性污泥中的原生动物和后生动物的种类来判断处理水质的好坏。因此,一般将原、后生动物作为活性污泥系统中的指示生物。

所谓的有害生物指的是那些达到一定数目时就会干扰活性污泥处理系统正常运行的生物。一般认为,丝状菌和真菌对活性污泥沉降效果有影响。即使当丝状菌的数量在整个生物群落中所占的百分比很小时,污泥絮体的实际密度也会降低很多,以至于污泥很难用重力沉淀法进行有效分离,从而最终影响出水水质,这种情况通常被成为污泥膨胀。

活性污泥中存在大量的细菌,其主要功能是降解有机物,是有机物净化功能的中心。同时,活性污泥中还存在硝化细菌与反硝化细菌,在生物脱氮中起着十分重要的作用。

2)活性污泥法

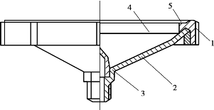
活性污泥法处理工艺主要由曝气池、二次沉淀池、曝气与空气扩散系统和污泥回流系统等组成,如图4.16所示。

图4.16 活性污泥法的基本流程

经适当预处理后的污水与二次沉淀池回流的活性污泥同时进入曝气池,由曝气与空气扩散系统送出的空气,以小气泡的形式进入污水中,其作用是除向污水充氧外,还使曝气池内的污水、污泥处于剧烈的搅拌状态,活性污泥与污水互相混合、充分接触,使活性污泥反应得以正常进行。

活性污泥反应的结果是污水中有机污染物得到降解和去除,污水得到净化,同时由于微生物的生长和繁殖,活性污泥也得到增长。曝气池中混合液(活性污泥和污水、空气的混合液体)进入二次沉淀池进行沉淀分离,上层出水排放,分离后的污泥一部分返回曝气池,使曝气池内保持一定浓度的活性污泥,其余为剩余污泥,由系统排出。

3)活性污泥法的净化过程

活性污泥能够连续从污水中去除有机污染物,是由以下几个净化阶段完成的。

(1)初期吸附去除

在活性污泥系统内,污水与活性污泥微生物充分接触,形成混合液,在很短的时间(5~10min)内就会出现很高的有机物(BOD)去除率。这种初期高速去除现象是吸附作用所引起的。由于活性污泥表面积很大(介于2000~10000m2/m3混合液),且表面具有多糖类黏质层,因此,污水中悬浮和胶体物质被絮凝和吸附去除。吸附在微生物细胞表面的BOD,经过几小时的曝气后,才会相继摄入代谢。在初期,被污泥去除的有机物数量是有一定限度的,它取决于污水的类型以及与污水接触时的污泥性能。例如,污水中呈悬浮的和胶体的有机物多,则初期去除率大;反之,如溶解性有机物多,则初期去除率小。又如,回流污泥未经足够曝气,预先贮存在污泥里的有机物将代谢不充分,污泥未得到再生,不能很好恢复活性,因而必将降低初期去除率;但是,如回流污泥经过长时间的曝气,则会使污泥长期处于内源呼吸阶段,由于过分自身氧化失去活性,同样降低初期去除率。

(2)微生物的代谢

进入细胞体内的有机污染物通过微生物的代谢反应而被降解,或被彻底氧化为CO2和H2 O等,或转化为新的有机体,使细胞增殖。一般来说,自然界中的有机物都可以被某些微生物所分解,多数合成有机物也可以被经过驯化的微生物分解。活性污泥法是多基质多菌种的混合培养系统,其中存在错综复杂的代谢方式和途径,它们相互联系、相互影响。

(3)凝聚体的形成与凝聚沉淀

絮凝体是活性污泥的基本结构,它能够防止微型动物对游离细菌的吞噬,并承受曝气等外界不利因素的影响,更有利于与处理水分离。水中能形成絮凝体的微生物很多,动胶菌属、埃希氏大肠杆菌、产碱杆菌属、假单胞菌属、芽孢杆菌属、黄杆菌属等,都具有凝聚性能,可形成大块菌胶团。凝聚的原因主要是微生物摄食过程释放的黏性物质促进凝聚。另外,在不同的条件下,细菌内部的能量不同,当外界营养不足时,细菌内部能量降低,表面电荷减少,细菌颗粒间的结合力大于排斥力,形成颗粒;而当营养物充足时,细菌内部能量大,表面电荷增大,形成的颗粒重新分散。

沉淀是混合液中固相活性污泥颗粒同处理水分离的过程。固液分离的好坏直接影响出水水质。如果处理水挟带生物体,出水BOD和SS将增大。所以,活性污泥法的处理效率同其他生化处理方法一样,应包括二次沉淀池的效率,即用曝气池及二沉池的总效率表示。

4)活性污泥的性能指标及设计运行参数

活性污泥法处理技术是通过采取一系列人工强化、控制的技术措施,使活性污泥微生物所具有的氧化、分解有机物的生理功能得到充分发挥,以达到污水净化目的的生物工程技术。

在活性污泥系统中,人工强化、控制技术的措施是在认真考虑活性污泥微生物净化反应的各项影响因素,并切实实施的基础上制定的控制指标,这些指标也是对活性污泥的评价,在工程上就是活性污泥处理系统的设计与运行参数。

(1)活性污泥性能指标

为了增加活性污泥与污水的接触面积,提高处理效率,活性污泥应具有颗粒松散、易于吸附氧化有机物的能力。但是经过曝气池之后,在澄清时,又希望活性污泥与水迅速分离,因此又要求活性污泥具有良好的凝聚沉降性能。活性污泥是否具有良好的凝聚沉降性能,将关系到沉淀后出水水质、回流污泥量的多少、二沉池的大小和剩余污泥后处理的难易程度。

评价活性污泥性能的指标主要有以下几项:

①污泥浓度(MLSS、MLVSS)。污泥浓度是指曝气池中单位体积混合液内所含的悬浮固体(MLSS)或挥发性悬浮固体(MLVSS)的质量,单位为g/L或mg/L。显然,污泥浓度的大小可以间接地反映混合液中所含微生物量的多少。

用悬浮固体浓度表示微生物量是不准确的,因为它包括了活性污泥吸附的无机惰性物质,这部分物质没有生物活性。采用挥发性悬浮固体浓度表示,也不能排除非生物有机物和已死亡微生物的惰性部分。然而,在正常的运行状态下,一定的活性污泥法处理系统,MLSS和MLVSS之间以及MLSS和活性污泥微生物之间具有相对稳定的相互关系。因此,用MLSS或MLVSS间接代表微生物浓度是可行的。目前,在工作中应用最多的是MLSS。

一般认为,在活性污泥曝气池内常保持MLSS浓度在2~4g/L为宜。

②污泥沉降比(SV)。污泥沉降比是指一定量的曝气池混合液静置30min后,沉淀污泥与原混合液体积的百分数,以%表示,即:

污泥沉降比(SV)=混合液经30min静置沉淀后的污泥体积/混合液体积活性污泥混合液经30min沉淀后,沉淀污泥可接近最大密度,因此,以30min作为测定活性污泥沉淀性能的依据。由于SV测定方法简便、迅速,所以常用SV来指导活性污泥系统的运行。

如果活性污泥的凝聚、沉降性能良好时,SV的大小可以反映曝气池正常运行的污泥量,所以在污水处理厂往往用SV来控制污泥排放量。当SV超过某个数值时,就应该排泥,使曝气池中维持所需的浓度范围。如果SV出现突变,就要查找原因看是否出现故障。

工作中常用SV作为活性污泥的重要指标,对于一般城市污水,其正常范围在15%~30%。

③污泥容积指数(SVI)。污泥容积指数简称污泥指数,是指曝气池混合液经30min沉淀后,1g干污泥所形成的沉淀污泥的体积,单位为mL/g,一般不标注。SVI的计算式为:

SVI比SV更能准确地评价活性污泥的凝聚和沉降性能。一般来说,如SVI低,则表明活性污泥沉降性能好;SVI高,活性污泥沉降性能差。但是,如SVI过低,则污泥颗粒细小而密实,无机化程度高,这时污泥活性和吸附性都较差;如SVI过高,则污泥可能要发生膨胀,这时污泥往往是丝状菌占了优势。

通常认为,SVI<100时,污泥具有良好的沉降性能;当SVI为100~200时,污泥沉淀性能一般;而当SVI>200时,则说明活性污泥的沉淀性能较差,已有产生膨胀现象的可能。

对于生活污水和城市污水,一般常控制SVI在70~100为宜,但根据污水性质不同,这个指标也有差异。如污水中溶解性有机物含量高时,正常的SVI可能较高;相反,污水中含无机性悬浮物较多时,正常的SVI可能较低。

(2)活性污泥法的设计运行参数

①污泥负荷。在活性污泥法中,一般将有机污染物量与活性污泥量的比值(F/M),也就是曝气池内单位质量(kg)的活性污泥,在单位时间(1d)内,能够接受并将其降解到预定程度的有机污染物(BOD)的量,称为污泥负荷,常用Ns表示,即:

式中:Q——污水流量,m3/d;

 Sa——原污水中有机污染物(BOD)浓度,mg/L;

 V——曝气池容积,m3

 X——混合液悬浮固体(MLSS)浓度,mg/L。

在活性污泥处理系统的设计与运行中,还使用另一种负荷,即容积负荷(Nv),其表示式为:

即单位曝气池容积(m3),在单位时间(1d)内,能够接受并将其降解到预定程度的有机污染物(BOD)的量。

Ns值与Nv值之间的关系为:

污泥负荷与污水处理效率、活性污泥特性、污泥生成量、氧的消耗量等有很大关系,污水温度对污泥负荷的选择也有一定影响。在活性污泥的不同增长阶段,污泥负荷各不相同,净化效果也不一样,因此,污泥负荷是活性污泥法设计和运行的主要参数。

一般来说,对于城市污水,污泥负荷在0.3~0.5kgBOD5/(kgMLSS·d)范围内,BOD5去除率可达90%以上,SVI为80~150,污泥吸附和沉降性能都较好。

②污泥龄(θc)。污泥龄表示曝气池内活性污泥平均增长1倍所需的时间,一般用θc表示。它反映了活性污泥吸附了有机物后,进行稳定氧化的时间长短。污泥龄长,有机物氧化得越彻底,处理效果越好,剩余污泥量越少。但污泥龄也不能太长,否则污泥会老化,影响沉淀效果;污泥龄不应短于活性污泥中微生物的世代时间,否则曝气池中的污泥会流失。

在实际运行时,用泥龄作为控制参数,只要求调节每日的排污量。一般城市污水的普通活性污泥法的污泥龄采用5~15d。

③有机污染物降解与活性污泥增长。在活性污泥微生物的代谢作用下,曝气池内污水中的有机污染物得到降解、去除,与此同步产生的则是活性污泥本身的增殖和随之而来的活性污泥的增长。在微生物细胞合成的同时,还存在着微生物的内源呼吸,即进行自身氧化过程。因此,活性污泥每日在曝气池内的净增殖量应为微生物细胞的产生量与内源呼吸消耗量的差值,即:

式中:ΔX——曝气池每日增长的污泥量,即剩余污泥每日排放量,kg/d;

 Q——污水流量,m3/d;

 Sr——污水中被降解、去除的有机污染物(BOD)的量,kg/m3

 Sa——进入曝气池污水中含有的有机污染物(BOD)量,kg/m3

 Se——经活性污泥处理系统处理后,处理水中含有的有机污染物(BOD)量,kg/m3

 V——曝气池有效容积,m3

 X——曝气池内混合液悬浮固体浓度,kg/m3

 a——污泥增长系数,即去除每千克BOD所产生的活性污泥千克数;

 b——污泥自身氧化率,即曝气池内每日每千克活性污泥由于内源呼吸所消耗的千克数。

活性污泥增长系数因有机污染物的组成不同而异,生活污水一般为0.49~0.73,而自身氧化率为0.07~0.075。工业废水的污泥增长系数与自身氧化率宜通过试验确定。

④有机污染物降解与需氧量。在曝气池内,微生物对有机物的氧化分解和其本身氧化自身细胞的内源代谢都是耗氧过程。这两部分所需的氧量一般由下列公式求得:

式中:O2——曝气池混合液需氧量,kg/d;

 a′——微生物氧化分解有机物过程中的需氧率,即活性污泥微生物每代谢1kgBOD所需的氧量,kg;

 Sr——有机污染物降解量,kg/m3

 b′——微生物内源代谢氧化自身细胞过程中的需氧率,即1kg活性污泥(MLVSS)每日自身氧化所需氧量,kg。

 Xv——曝气池内混合液挥发性悬浮固体浓度,kg/m3。城市污水的a′、b′、ΔO2值见表4.9。

表4.9 城市污水的a′、b′、ΔO2

注:表中ΔO2=O2/QSr,为去除1kgBOD的需氧量,kg/(kg·d)。

⑤污泥回流比。污泥回流比是指回流污泥量与污水流量之比,常用%表示。曝气池内混合液污泥浓度与污泥回流比及回流污泥浓度之间的关系是:

式中:X——曝气池混合液污泥浓度,mg/L;

 R——污泥回流比;

 Xr——回流污泥浓度,mg/L。

 Xr值取决于二次沉淀池的污泥浓缩程度,正常条件下,其与污泥容积指数有密切关系。污泥容积指数高,则回流污泥浓度低,含水率大。

为保持曝气池中混合液污泥浓度为一定值,可通过污泥回流比来进行调节。

4.2.3 曝气系统

1)曝气原理

曝气是采用相应的设备和技术措施,使空气中的氧转移到混合液中而被微生物利用的过程。曝气的主要作用除供氧外,还起搅拌混合作用,使曝气池内的活性污泥保持悬浮状态,与污水充分接触混合,从而提高传质效率,保证曝气池的处理效果。

空气中的氧通过曝气传递到混合液中,氧由气相向液相中转移,最后被微生物所利用。这种转移通常以双膜理论为理论基础。双膜理论认为,在气唱水界面上存在着气膜和液膜,当气液两相做相对运动时,气膜和液膜间属层流状态,而在其外的两相体系中均为紊流,氧的转移是通过气、液膜间进行的分子扩散和在膜外进行的对流扩散完成的。对于难溶于水的氧来说,分子扩散的阻力大于对流扩散,传递的阻力主要集中在液膜上。因此,采用曝气搅拌是快速变换气唱水界面克服液膜阻力的最有效方法。

2)曝气装置

曝气装置又名空气扩散装置,是活性污泥系统的重要设备,按曝气方式可将其分为鼓风曝气和机械曝气两大类。

衡量曝气装置的主要技术性能指标有动力效率(EP)、氧的利用效率(EA)和氧的转移效率(EL)。动力效率是每消耗1kW电能转移到混合液中的氧量(kg/kWh);氧的利用效率是通过鼓风曝气转移到混合液中的氧量,占总供氧量的百分比(%);氧的转移效率也称充氧能力,是通过机械曝气装置,在单位时间内转移到混合液中的氧量(kg/h)。

3)鼓风曝气装置

鼓风曝气系统由鼓风机、曝气装置和空气输送管道组成。鼓风机将空气通过一系列管道输送到安装于曝气池底部的曝气装置,经过曝气装置,将空气中的氧转移到混合液中去。

鼓风曝气系统的曝气装置主要分为微气泡、中气泡、水力剪切、水力冲击等类型。

(1)微气泡曝气器

微气泡曝气器也称多孔性空气扩散装置,采用多孔材料如陶粒、粗瓷等掺以适当的如酚醛树脂一类的黏合剂,在高温下烧结成为扩散板、扩散管和扩散罩的形式。这一类扩散装置的特点是产生微小气泡,气、液接触面积大,氧利用率高;缺点是气压损失大,易堵塞,送入的空气应预先通过过滤处理。

①固定式平板型微孔曝气器。主要组成包括扩散板、布气底盘、通气螺栓、配气管、三通短管、橡胶密封圈、压盖和连接池底的配件等,如图4.17所示。

常见的平板型微孔曝气器有钛板微孔曝气器、微孔陶板、青刚玉和绿刚玉为骨料烧结成的曝气板。其主要技术参数:平均孔径100~200μm;服务面积0.3~0.75m2/个;动力效率4~6kgO2/kWh;氧利用率20%~25%。

②固定式钟罩型微孔曝气器

有微孔陶瓷钟罩型盘、青刚玉骨料烧结成的钟罩型盘,如图4.18所示。技术参数与平板型微孔曝气器基本相同。

图4.17 固定式平板型微孔曝气器

图4.18固定式钟罩型微孔曝气器

图4.19 膜片式微孔曝气器

③膜片式微孔曝气器。如图4.19所示,该曝气器的底部为聚丙烯制作的底座,底座上覆盖着合成橡胶制成的微孔膜片,膜片被金属丝箍固定在底座上。在膜片上开有按同心圆形式布置的孔眼。鼓风时,空气通过底座上的通气孔进入膜片和底座之间,使膜片微微鼓起,孔眼张开,空气从孔眼逸出,达到布气扩散的目的。供气停止,压力消失,在膜片的弹性作用下孔眼自动闭合,由于水压的作用膜片压实在底座之上。曝气池内的混合液不能倒流,因此,不会堵塞膜片孔眼。这种曝气器可扩散出直径为1.5~3.0mm的气泡,即使空气中含有少量尘埃,也可以通过孔眼,不会堵塞,也不需设除尘设备。

(2)中气泡曝气器

这种装置产生的气泡直径2~6mm,在过去主要是穿孔管。穿孔管由钢管或塑料管制成,直径25~50mm,在管壁两侧下部开直径3~5mm的孔眼,间距50~100mm。穿孔管不易堵塞,构造简单阻力小;但氧的利用率低,动力效率低。因此,目前在活性污泥曝气池中较少采用。

网状膜曝气器是近年来开发出的具有代表性的中气泡曝气器,如图4.20所示。其特点是不易堵塞,布气均匀,构造简单,便于维护管理,氧的利用率较高。该曝气器由主体、螺盖、网状膜、分配器和密封圈所组成;空气由曝气器底部进入,经分配器第一次切割并均匀分配到气室,然后通过网状膜进行二次切割,形成微小气泡扩散到混合液中。

每个网状膜曝气器的服务面积为0.5m2,动力效率2.7~3.7kgO2/kWh,氧利用率12%~15%。

(3)水力剪切式空气曝气器

①倒伞式曝气器。倒伞式曝气器由伞形塑料壳体、橡胶板、塑料螺杆和压盖等组成,如图4.21所示。空气从上部进气管进入,由伞形壳体和橡胶板间的缝隙向周边喷出,在水力剪切的作用下,空气泡被剪切成小气泡。停止供气,借助橡胶板的回弹力,使缝隙自行封口,防止混合液倒灌。

该曝气器的服务面积为6×2m2;动力效率为1.75~2.88kgO2/kWh,氧利用率为6.5%~8.5%。

②固定螺旋曝气器。该曝气器由直径300或400mm、高1500mm的圆形外壳和固定在壳体内部的螺旋叶片组成,每个螺旋叶片扭曲180°,两个相邻叶片的螺旋方向相反。空气由布气管从底部的布气孔进入装置内,向上流动,由于壳体内外混合液的密度差,产生提升作用,使混合液在壳体内外不断循环流动。空气泡在上升过程中,被螺旋叶片反复切割,形成小气泡。

该曝气器有固定单螺旋、固定双螺旋和固定三螺旋三种形式。

图4.20 网状膜曝气器
1—螺盖;2—曝气器主体;3—分配器;
4—网状膜;5—密封圈

图4.21 倒伞式曝气器
1—伞形塑料壳体;2—橡胶板;3—密封圈;
4—塑料螺杆;5—塑料螺母;6—不锈钢开口销

(4)水力冲击式曝气器

该种曝气器以射流式空气扩散装置为主,利用水泵打入的泥、水混合液的高速水流的动能,吸入大量空气,泥、水、气混合液在喉管中强烈混合搅动,将气泡粉碎为雾状,使氧迅速转移至混合液中,氧的转移率可高达20%,但动力效率不高。近年来,由于泵的防水性能的改进,已实现动力装置和扩散装置的一体化。

4)机械曝气装置

机械曝气装置安装在曝气池水面上、下,在动力的驱动下进行转动,通过下述三方面的作用使空气中的氧转移到污水中去:曝气装置转动时,表面的混合液不断地从曝气装置周边抛向四周,形成水跃,液面剧烈搅动,卷入空气;曝气装置转动,具有提升液体的作用,使池内混合液连续上下循环流动,气液接触界面不断更新,不断使空气中的氧向液体内转移;曝气装置转动,在其后侧形成负压区,吸入空气。

按转动轴的安装方向,机械曝气装置可分为竖轴式和卧轴式两类。

(1)竖轴式曝气装置

这种装置又称竖轴叶轮曝气机,常用的曝气叶轮有泵型叶轮、倒伞型叶轮、平板型叶轮等,如图4.22所示。

图4.22 几种表面曝气叶轮

曝气叶轮的充氧能力和提升能力与叶轮直径、叶轮旋转速度和浸液深度等因素有关。叶轮直径一定,叶轮旋转的线速度大,充氧能力也强,但线速度过大时,会打碎活性污泥颗粒,影响沉淀效率。一般叶轮周边线速度以2~5m/s为宜。叶轮浸液深度适当时,充氧效率高,浸液深度过大,没有水跃产生,叶轮只起搅拌作用,充氧量极小,甚至没有空气吸入,浸液深度过小,则提水和输水作用减小,池内水流缓慢,甚至存在死区,造成表面水充氧好,而底层充氧不足。因此,常将叶轮旋转的线速度和浸液深度设计成可调的,以便运行中随时调整。一般竖轴叶轮曝气机的氧转移率为15%~25%,动力效率为2.5~3.5kgO2/kWh。

(2)卧轴式曝气装置

卧轴式曝气装置主要是转刷曝气器。如图4.23所示为一种应用较多的转刷曝气器,由水平转轴和固定在轴上的叶片所组成,转轴带动叶片转动,搅动水面溅成水花,空气中的氧通过气液界面转移到水中。

转刷曝气器主要用于氧化沟,它具有负荷调节方便、维护管理容易、动力效率高等优点。

5)曝气池池型

活性污泥法处理污水的主要构筑物是曝气池。按混合液在曝气池中的流态可分为推流式、完全混合式和循环混合式三种池型;按平面几何形状可分为长方形、廊道形、圆形、方形和环形跑道形四种;按所采用的曝气方法可分为鼓风曝气池、机械曝气池和两种方法联合使用的机械唱鼓风曝气池;按曝气池和二次沉淀池的关系可分为曝气唱沉淀合建式和分建式两种。

(1)推流式曝气池

图4.23 转刷曝气器

图4.24 推流式鼓风曝气池空气扩散装置布置形式与水流在横断面的流态

推流式曝气池多为长方廊道形,常采用鼓风曝气。传统的做法是将空气扩散装置安装在曝气池廊道底部的一侧,如图4.24(a)所示,这样布置可使水流在池中呈螺旋状流动,提高气泡和混合液的接触时间。如果曝气池的宽度较大,则应考虑将空气扩散装置安装在曝气池廊道底部的两侧,如图4.24(b)所示。也可按一定的形式,如互相垂直的正交形式或呈梅花形交错式均衡地布置在整个曝气池池底。

曝气池的数目随污水处理厂的规模而定,一般在结构上分成若干单元,每个单元包括一座或几座曝气池,每座曝气池常由1个或2~5个廊道组成,如图4.25所示。当廊道数为单数时,污水的进、出口在曝气池的两端;而廊道数为双数时,则位于廊道的同一端。

曝气池廊道的长度可达100m,一般以50~70m为宜。为了防止短流,廊道的长度和宽度之比应大于5,甚至大于10。曝气池的宽深比常在1.5~2。池深与造价和动力费用密切相关。池深大,有利于氧的利用,但造价和动力费用将有所提高;反之,造价和动力费用降低,但氧的利用率也将降低。

此外,还应考虑土建结构和曝气池的功能要求、允许占用的土地面积、能够购置到的鼓风机所具有的压力等因素。目前我国对推流式曝气池采用的深度多为3~5m。

为了使混合液在曝气池内的旋转流动能够减少阻力,并避免形成死区,将廊道横剖面池壁两墙的墙顶和墙脚做成45°斜面。为了节约空气管道,相邻廊道的空气扩散装置常沿公共隔墙布置。

图4.25 曝气池的廊道组合

曝气池的进水口和进泥口均设于水面以下,采用淹没出流方式,以免形成短流,并设闸门以调节流量;出水一般采用溢流堰的方式,处理水流过堰顶,溢流入排水渠道。

在曝气池底部设直径为80~100mm放空管,用于维修或池子清洗时放空。考虑到在活性污泥培养、驯化周期排放上清液的要求,根据具体情况,在距池底一定距离处设2~3根排水管,直径也是80~100mm。

(2)完全混合曝气池

完全混合曝气池常采用表面机械曝气装置供氧,其表面多呈圆形、方形或多边形。使用较多的是合建式完全混合曝气沉淀池,简称曝气沉淀池,由曝气区、导流区和沉淀区三部分组成,如图4.26所示。

图4.26 圆形曝气沉淀池剖面示意图

①曝气区。曝气装置设于池顶部中央,并深入水下某一深度。污水从池底部进入,并立即与池内原有混合液完全混合,并与从沉淀区回流缝回流的活性污泥充分混合、接触。经过曝气反应后的污水从位于顶部四周的回流窗流出并导入导流区。回流窗设有活门,可以通过调节窗孔大小,控制回流污泥量。

图4.27 长方形曝气沉淀池

②导流区。位于曝气区和沉淀区之间,宽度一般在0.6m左右,高约1.5m。内设竖向挡流板,起缓冲水流作用,并在此释放混合液中挟带的气泡,使水流平稳进入沉淀区,为固液分离创造良好条件。

③沉淀区。位于导流区和曝气区的外侧,其作用是泥水分离,上部为澄清区,下部为污泥区。澄清区的深度不宜小于1.5m,污泥区的容积应不小于2h的存泥量。澄清的处理水沿设于池四周的出流堰进入排水槽,出流堰常采用锯齿状的三角堰。

污泥通过回流缝回流到曝气区,回流缝一般宽0.15~0.20m,在回流缝上侧设池裙,以避免死角。在污泥区的一定深度设排泥管,以排出剩余污泥。

如图4.27所示为长方形的曝气沉淀池,一侧为曝气区,另一侧为沉淀区,采用鼓风曝气系统。原污水从曝气区的一侧均匀地进入池内,处理水均匀地从沉淀区溢出。

在生产实践中还有与沉淀池分建的完全混合曝气池,如图4.28所示。污水和回流污泥沿曝气池池长均匀引入,并均匀地排出混合液,进入二次沉淀池。

图4.28 分建式完全混合曝气池
1—进水槽;2—进泥槽;3—出水槽;4—进水孔口;5—进泥孔口

4.2.4 活性污泥法运行方式

活性污泥法自从开创以来已有近百年的历史,在长期的工程实践过程中,根据水质的变化、微生物代谢活动的特点、运行管理、技术经济和排放要求等方面的情况,又发展成多种行之有效的运行方式和工艺流程。

1)传统活性污泥法

传统活性污泥法又称普通活性污泥法,是早期开始使用并沿用至今的运行方式,其工艺流程如图4.16所示。污水与回流污泥从长方形曝气池的首端同步流入,污水与回流污泥形成的混合液在池内呈推流形式由池末端流出池外,进入二次沉淀池,处理后的污水与活性污泥在二次沉淀池内分离,部分污泥回流曝气池,剩余污泥排除系统。

图4.29 曝气池内需氧量的变化示意图

在曝气池内,有机污染物的降解经历了第一阶段的吸附和第二阶段的微生物代谢的完整过程。有机污染物浓度沿池长逐渐降低,需氧速度也沿池长逐渐降低(图4.29),活性污泥也经历了一个从池首端的对数增长,经减速增长到池末端的内源呼吸的完整生长周期。

传统活性污泥法系统处理效果好,BOD去除率可达90%以上,适用于处理净化程度高而水质较稳定的污水。传统活性污泥法系统存在下列各项问题:

①曝气池首端有机污染物负荷高,需氧量也高,为了避免池首端由于缺氧而引起厌氧状态,进水有机物负荷不宜过高,因此,曝气池容积大,占地面积大、基建投资高。

②需氧量沿池长变化,而供氧速度难于与其吻合、适应,在池前段可能出现供氧不足,后段溶解氧过剩的现象,对此,采用渐减供氧方式(图4.30),可在一定程度上解决这一问题。

图4.30渐减曝气法 

图4.31 阶段曝气法

③对进水水质、水量变化的适应性较低,运行效果易受水质、水量变化的影响。

2)渐减曝气法活性污泥法

渐减曝气活性污泥法是针对传统活性污泥法有机物浓度和需氧量沿池长减小的特点而改进的。通过合理布置曝气装置,使供气量沿池长逐渐减小,与池内有机污染物浓度变化相对应。这种曝气方式比均匀供气的曝气方式更为经济。其工艺流程如图4.30所示。

3)阶段曝气活性污泥法

阶段曝气活性污泥法又称分段进水活性污泥法或多段进水活性污泥法,其工艺流程如图4.31所示。

阶段曝气活性污泥法处理系统是针对传统活性污泥法系统存在的问题而改进的。污水沿曝气池长分多点进入,以均衡池内有机负荷,克服传统活性污泥法系统供氧弊病(图4.29),有助于能耗的降低,活性污泥的降解功能也得以充分发挥。此外,由于分散进水,污水在池内稀释程度较高,混合液活性污泥浓度也沿池长降低,从而有利于二次沉淀池的泥水分离。与传统活性污泥法系统相比,处理相同的污水时,所需池容积可减小30%,BOD去除率一般可达90%。

4)吸附唱再生活性污泥法处理系统

吸附唱再生活性污泥又称生物吸附活性污泥法或接触稳定法。这种运行方式是将活性污泥降解有机污染物的吸附和代谢过程分别在各自的反应池中进行,其工艺流程如图4.32所示。

图4.32 吸附唱再生活性污泥法

污水和经过在再生池中充分再生,活性很强的活性污泥同步进入吸附池,两者在吸附池中充分接触,污水中有机污染物被活性污泥所吸附,污水得到净化。由二次沉淀池分离出的污泥进入再生池,活性污泥微生物在这里将所吸附的有机物代谢,并进入内源呼吸期,使其活性和吸附功能得到充分恢复,然后再与污水一起进入吸附池。

在吸附—再生活性污泥法系统中,污水与活性污泥在吸附池的接触时间较短,吸附池容积较小,由于再生池接纳的仅是浓度较高的回流污泥,再生池的容积亦小,因此,吸附池与再生池容积之和仍低于传统法曝气池容积。本方法能够承受一定的冲击负荷,当吸附池的活性污泥遭到破坏时,可由再生池的污泥予以补救。

本方法的处理效率,低于传统活性污泥法。此外,对溶解性有机物高的污水,处理效果差。

5)延时曝气活性污泥法

本工艺又称完全氧化活性污泥法,其主要特点是有机负荷低,污泥持续处于内源呼吸状态,剩余污泥少且稳定,不需再进行消化处理,这种工艺可称为污水、污泥综合处理工艺。本工艺还具有处理水质稳定性高,对污水冲击负荷有较强适应性和不需设初次沉淀池等优点。主要缺点是曝气时间长、池容大、建设费和运行费都较高,而且占地面积大。

延时曝气活性污泥法一般都采用流态为完全混合式的曝气池,适用于处理水质要求高,又不宜采用活性污泥处理技术的小型城镇污水和工业废水。

6)完全混合活性污泥法

在完全混合活性污泥法系统内,污水与回流污泥进入曝气池后,立即与池内混合液充分混合。可以认为池内混合液是已经处理而未经泥水分离的处理水。因此,池内混合液的组成、F/M、微生物群体和数量是完全均匀一致的。整个处理过程在污泥增长曲线上的位置仅是一个点,这意味着在曝气池内各部位有机污染物降解的生化反应是相同的,氧吸收率也都相同。工艺流程如图4.33所示。

图4.33 完全混合活性污泥法

完全混合曝气池内混合液对污水起稀释作用,能较好地承受冲击负荷;由于全池需氧要求相同,能节省动力;曝气池和沉淀池也可合建,不单独设置污泥回流系统,便于运行管理。

本工艺的主要缺点是连续进出水,可能产生短流,出水水质不如传统法,易发生污泥膨胀。

7)AB法污水处理工艺

AB法污水处理工艺,是吸附—生物降解的工艺的简称。工艺系统共分三段,即预处理段、A段和B段,如图4.34所示。

图4.34 AB法污水处理工艺流程

在预处理段只设格栅、沉砂池等简易设备,不设沉淀池;A段由吸附池和中间沉淀池组成,B段则由曝气池和二沉池组成;A段和B段串联运行,污泥独立回流,形成两种各自与其水质和运行条件相适应的完全不同的微生物群落。

由于不设初次沉淀池,A段在直接接受城市排水系统中污水的同时,也接种和充分利用了经排水系统所优选的适应原污水的微生物种群;由于A段负荷高,能够成活的微生物种群只能是抗冲击负荷能力强的原核细菌,而原生动物和后生动物不能存活;A段对污染物的去除主要依靠活性污泥的吸附作用,这样某些重金属、难降解有机物和氮、磷等都能通过A段得到一定程度的去除。A段的污泥负荷一般为2~6kgBOD/(kgMLSS·d);污泥龄0.3~0.5d;水力停留时间30min;池内溶解氧浓度0.2~0.7mg/L;BOD去除率大致为40%~70%。经A段处理后的污水,可生化性得到改善,有利于后续B段的生物降解作用。

B段接受A段的处理水,负荷较低,水质、水量也较稳定,许多原生动物可以很好地生长繁殖,由于不受冲击负荷影响,其净化功能得以充分发挥,较传统活性污泥处理系统,曝气池的容积可减少40%左右。B段的污泥负荷一般为0.15~0.3kgBOD/(kgMLSS·d);污泥龄15~20d;水力停留时间2~3h;池内溶解氧浓度1~2mg/L。

8)氧化沟

氧化沟是一种改良的活性污泥法,其曝气池呈封闭环状沟渠形,污水和活性污泥混合液在其中循环流动,又称环形曝气池。

(1)氧化沟的工作原理与特征

①构造方面有如下特征:

a.氧化沟一般呈环形沟渠状,平面多为环形或椭圆形,总长可达几十米,甚至百米以上。沟深取决于曝气装置,一般为2~6m。

b.单池进水装置比较简单,采用管道进水即可,如双池以上工作时,则应设配水井,采用交替工作系统时,配水井内还应设自动控制装置,以变换水流方向。

c.出水一般宜采用可升降式溢流堰,以调节池内水深。采用交替工作系统时,溢流堰应能自动启闭,并与进水装置相呼应,以控制池内水流方向。

②在水流混合方面有以下特征:

在流态上,氧化沟介于完全混合与推流之间。

污水在沟内的平均流速一般为0.4m/s,如氧化沟的总长为100~500m时,污水完成一个循环所需的时间为4~20min,如水力停留时间定为24h,则在整个停留时间内要作72~360个循环。因此,可以认为氧化沟内混合液的水质是一致的,氧化沟内的流态是完全混合式。但又有某些推流式的特征,如曝气装置的下游溶解氧沿池长从高向低变动,甚至可能出现缺氧段。

氧化沟的这种水流状态,有利于活性污泥的生物凝聚作用,而且可以形成好氧区、缺氧区,通过对系统的合理设计与控制,能够取得良好的脱氮效果。

③在工艺方面有以下特征:

a.由于氧化沟水力停留时间长、污泥负荷低、污泥龄长,在氧化沟内的有机性悬浮物和溶解性有机物能够得到较彻底的降解,排出的剩余污泥已得到高度稳定,因此,氧化沟不设初次沉淀池,污泥不需要厌氧消化;

b.通过采用一定形式的氧化沟系统,将氧化沟和二次沉淀池合建,以及近年来开发的交替工作的氧化沟,可不用二次沉淀池和污泥回流系统,从而使处理流程更为简化;

c.污泥龄一般为15~30d,可以存活、繁殖世代时间长、增殖速度慢的微生物,如硝化菌,在氧化沟内产生硝化反应;

d.对水温、水质、水量的变动有较强的适应性,能够承受冲击负荷,而不致于影响处理性能。

(2)常用的氧化沟系统

①卡鲁塞尔(Carrousel)氧化沟。卡鲁塞尔氧化沟系统是20世纪60年代由荷兰某公司开发的,它是由多沟串联氧化沟和二次沉淀池、污泥回流系统所组成,如图4.35所示。

图4.36所示为六廊道并采用垂直安装的低速表面曝气器的卡鲁塞尔氧化沟,每组沟渠的转弯处安装一台表面曝气器,靠近曝气器下游为富氧区,而曝气器上游则为低氧区,外环还可能成为缺氧区,这样,在氧化沟内能够形成生物脱氮的环境条件。

卡鲁塞尔氧化沟系统在世界各地广泛应用,规模大小不等,从200m3/d到650000m3/d, BOD5去除率可达95%~99%,脱氮效率约为90%,除磷效率约为50%。

图4.35 卡鲁塞尔氧化沟系统(一)
1—污水泵站;2—回流污泥泵站;3—氧化沟;4—转刷曝气器;
5—剩余污泥排放;6—二次沉淀池;7—处理水排放

卡鲁塞尔氧化沟的表面曝气机单机功率大,平均传氧效率达到2.1kg/kWh,其水深可达5m以上,使氧化沟占地面积减少,土建费用降低。因此,卡鲁塞尔氧化沟具有极强的混合搅拌与耐冲击负荷能力。当有机负荷较低时,可以停止某些曝气器的运行,在保证水流搅拌混合循环流动的前提下,节约能量消耗。

②交替工作氧化沟。交替工作氧化沟系统是由丹麦Kruger公司创建的,主要有2池和3池交替工作氧化沟系统,如图4.37和图4.38所示。

图4.36 卡鲁塞尔氧化沟系统(二)
1—原污水;2—氧化沟;3—表面机械曝气器;
4—导向隔墙;5—处理水去往二沉池

图4.37 2池交替工作氧化沟
1—沉砂池;2—曝气转刷;3—出水堰;
4—排泥井;5—污泥井

图4.38 3池交替工作氧化沟
1—沉砂池;2—曝气转刷;3—出水堰;
4—排泥井;5—污泥井

2池交替氧化沟,由容积相同的A、B两池组成,串联运行,交替地作为曝气池和沉淀池,不需设置污泥回流系统。该系统可获得优良的处理水和稳定的污泥。

3池交替工作氧化沟,两侧的A池和C池交替地作为曝气池和沉淀池,中间的B池则一直作为曝气池,原污水交替地进入A池或C池,处理水则相应地从作为沉淀池的A池或C池流出。

氧化沟内的曝气转刷具有混合器和曝气器的双重功能,氧化沟的好氧和缺氧过程完全可由转刷转速的改变进行自动控制。经过适当运行,3池交替工作氧化沟能够完成BOD去除和硝化、反硝化过程,取得优异的BOD去除和脱氮效果,同样不需要污泥回流系统。

交替工作的氧化沟系统需要安装控制进、出水方向,溢流堰的启闭和曝气转刷的开动与停止的自动控制系统。上述各工作阶段的时间,则根据水质情况确定。

图4.39 Orbal氧化沟

③奥贝尔(Orbal)氧化沟。奥贝尔氧化沟由多个呈椭圆形的同心沟渠组成,沟渠中安装有水平旋转的曝气转盘,用来充氧和混合。污水首先进入最外环的沟渠,在其中不断循环的同时,依次进入下一个沟渠,最后从中心沟渠流出进入二次沉淀池,如图4.39所示。

奥贝尔氧化沟多采用三层沟渠,最外层的容积最大,占总容积的60%~70%,第二渠占20%~30%,第三渠则仅占10%左右。

在运行时,应保持外、中、内三层沟渠混合液的溶解氧分别为0,1,2mg/L,即三沟溶解氧的0—1—2梯度分布,这样既有利于提高充氧效果,又有可能使沟渠具有脱氮除磷的功能。

9)序批式活性污泥法

这种方法又称间歇式活性污泥法工艺,简称SBR工艺。由于这项工艺在技术上具有某些独特的优越性以及曝气池混合液溶解氧浓度(DO)、pH、电导率、氧化还原电位(ORP)等都能通过自动检测仪表做到自控操作,使本工艺在污水处理领域得到较为广泛的应用。

(1)SBR工艺的工作原理和运行操作

SBR工艺采用间歇运行方式,污水间歇进入系统并间歇排出。系统内只设一个处理单元,该单元在不同的时间发挥不同的作用,污水进入该单元后,按顺序进行不同的处理。SBR工艺的一个运行周期是由流入、反应、沉淀、排放、待机(闲置)5个工序组成,如图4.40所示。

图4.40 间歇式活性污泥法曝气池运行操作5个工序示意图

①流入工序。流入工序是反应池接纳污水的过程。在污水流入之前是前一周期的排水或待机状态,反应池内剩有高浓度的活性污泥混合液,相当于传统活性污泥法的回流污泥,此时反应池水位最低。

由于流入工序只流入污水,不排放处理水,反应池起到调节作用,因此,反应池对水质、水量的变动有一定的适应性。

污水流入,水位上升,可以根据其他工艺上的要求,配合进行其他的操作过程,如曝气可取得预曝气的效果,又可使活性污泥再生恢复活性;也可以根据要求,如脱氮、释放磷等,进行缓速搅拌;又如根据限制曝气的要求,不进行其他技术措施,而单纯注水。不论采取哪种方式,都是根据工艺要求和污水的性质作为整体的处理目标来决定的,这是SBR工艺最大的特点。

本工序所用时间,根据实际排水情况和设备条件确定,从工艺效果上要求,一般污水注入时间以短促为宜,瞬间最好。

②反应工序。污水注入达到预定容积后,即开始反应操作。根据污水处理的目的,如BOD去除、硝化和磷的吸收,采取的相应措施为曝气,反硝化脱氮则为缓速搅拌,并根据需要达到的程度来决定反应的延续时间。

为保证沉淀工序的效果,在反应工序后期,沉淀工序之前,还需进行短暂的微量曝气,吹脱附着在污泥上的氮气。

③沉淀工序。本工序相当于传统活性污泥法的二次沉淀池,停止曝气和搅拌,使活性污泥与水在静止状态分离,因而有更高的沉淀效率。

沉淀工序采取的时间与二次沉淀池相同,一般为1.5~2.0h。

④排放工序。经过沉淀后产生的上清液,作为处理水排放至最低水位,反应池底部沉淀的活性污泥大部分作为下个处理周期的回流污泥使用,排出剩余污泥。

⑤待机工序。也称闲置工序,即在处理水排放后,等待下一个工作周期的阶段。此工序时间,根据现场具体情况确定。

(2)SBR工艺的特点

在实际工程中,根据需要可分别采用不同形式的SBR工艺系统。无论采用哪种形式,SBR工艺作为污水处理方法都有其共同的特征。

①处理构筑物的构成简单,设备费、运行管理费较连续式少;

②SVI较低,污泥易于沉淀,一般情况下不产生污泥膨胀现象;

③大多数情况下,不需要流量调节池,曝气池容积较连续式小;

④通过对运行方式的调节,在单一的曝气池内能够进行脱氮和除磷反应;

⑤运行管理得当,可获得比连续式更好的处理水水质。

(3)SBR工艺的形式

SBR工艺仍属于发展中的污水处理技术。在基本SBR工艺基础上,通过工程应用实践,逐渐开发出了各具特色的新的工艺形式。

①间歇式循环曝气活性污泥工艺(ICEAS)。本工艺的进水方式为连续进水(沉淀工序和排水工序仍保持进水)、间歇排水,在反应池的进水端增加了一个预反应区。在反应阶段,污水多次反复地经受“曝气好氧”和“闲置缺氧”状态,从而产生有机物降解、硝化、反硝化、吸收磷、释放磷等反应,能够取得比较彻底的BOD去除、脱氮和除磷的效果。本工艺无污泥回流和混合液的内循环,能耗低;污泥龄长,沉降性能好,剩余污泥少。

②循环式活性污泥工艺(CAST)。本工艺在进水区设置一生物选择器,即一个容积较小的污水和污泥的接触区。活性污泥由反应池回流,在生物选择器内与进入的污水混合、接触,创造微生物种群在高负荷、高浓度环境下的竞争生存条件,从而选择出适应该系统生存的独特微生物菌群,并有效地抑制丝状菌的过分增殖,避免污泥膨胀,提高系统的稳定性。

活性污泥从反应池的回流率一般取20%,混合液在生物选择器内的水力停留时间为1h。经生物选择器后,混合液进入反应池反应,并按顺序经过沉淀、排放等工序。本工艺沉淀工序不进水,使污泥沉降无水力干扰,保证系统有良好的分离效果。如需要脱氮、除磷,则将反应阶段设计成为缺氧唱好氧唱厌氧环境,污泥得到再生并取得脱氮、除磷的效果。

③DAT唱IAT工艺。DAT唱IAT工艺主体构筑物由需氧池(DAT)和间歇式曝气池(IAT)组成。

在DAT,污水与从IAT回流的活性污泥同时连续流入,通过高强度的连续曝气,强化活性污泥的生物吸附作用,充分发挥活性污泥的初期降解功能,去除大部分有机物。

在IAT,由于DAT的初步生化、调节、均衡作用,进水水质稳定、负荷低,提高了对水质变化的适应性。由于C/N较低,能够发生硝化反应。又由于进行间歇曝气和搅拌,能够形成缺氧唱好氧唱厌氧唱好氧的交替环境,在去除BOD的同时,获得脱氮、除磷的效果。

本工艺的沉淀和排放工序也连续进水。与CAST和ICEAS相比,DAT唱IAT能够保持较长的污泥龄和很高的混合液浓度,对有机负荷及毒物有较强的抗冲击能力。

除以上各工艺外,开发出的新型工艺还有IDAL、IDEA、CASS、CAPS、UNITANK等,并以得到工程化应用。

10)浅层曝气活性污泥法

浅层曝气活性污泥法又名殷卡曝气法,由瑞典Inka公司所开发。其原理基于气泡只有在形成和破碎的一瞬间氧的转移率最高。曝气池的空气扩散装置多为穿孔管制成的曝气栅,设置在曝气池的一侧,距水面0.6~0.8m。为了在池内形成环流,在池中间设置导流板,如图4.41所示。

浅层曝气池可采用低压鼓风机,有利于节省电耗,充氧能力可达1.8~2.6kgO2/kWh。

11)深水曝气活性污泥法系统

图4.41 浅层曝气
1—空气管;2—曝气栅;3—导流板

采用深度在7m以上的深水曝气池,由于水压增大,氧的转移速率加快,可以提高混合液的饱和溶解氧浓度,有利于活性污泥微生物的增殖和有机物的降解。同时,曝气池向竖向扩展,可以减少土地占用面积。本工艺主要有下列两种形式:

(1)深水中层曝气池

水深在10m左右,空气扩散装置设在4m左右处,为了使混合液在池内形成环流和减少底部水层的死区,一般在池内设导流板或导流筒,如图4.42所示。

(2)深水底层曝气池

水深仍在10m左右,空气扩散装置设在池底部,使用高压风机,不需要设导流装置,池内自然形成环流,如图4.43所示。

图4.42 深水中层曝气

图4.43 深水底层曝气

12)深井曝气活性污泥法

深井曝气开创于20世纪70年代中期,具有充氧能力强、动力效率高、设备简单、易于操作、不受气候影响和占地少等优点。在大多数情况下可不设初次沉淀池,适用于处理高浓度有机废水。

深井曝气池一般呈圆形,直径为1~6m,深度为50~100m,井中间设隔墙将井一分为二或在井中心设内井筒,将井分为内外两部分,在井身内,通过空压机的作用,使混合液形成升流和降流的流动,如图4.44所示。由于水深度大,氧的利用率高,有机物降解速率快,处理效果良好。

图4.44 深井曝气

13)纯氧曝气活性污泥法

纯氧曝气活性污泥法又名富氧曝气活性污泥法,该法用纯氧或富氧空气作氧源曝气,可以显著提高氧在混合液中的溶解度和传递速度,从而使池内高浓度活性污泥处于好氧状态,在污泥负荷相同时,曝气池容积负荷可大大提高。

随着池内溶解氧浓度的提高,可以加大氧在污泥絮体颗粒内的渗透深度,使絮体中好氧微生物所占比例增大,污泥活性保持在较高水平上,因而净化功能良好;不会发生由于缺氧而引起的丝状菌污泥膨胀,活性污泥颗粒较结实,SVI一般为30~50;硝化菌的生长不会受到溶解氧不足的限制,有利于生物脱氮过程。此外,由于溶解氧和活性污泥的浓度高,曝气池系统耐冲击负荷和工作稳定性都好。

纯氧曝气法的缺点是装置复杂,运转管理较麻烦,密闭池子结构和施工要求高等。

4.2.5 活性污泥法工艺系统

1)曝气池设计

在进行曝气池容积计算时,应在一定范围内合理地确定污泥负荷(Ns)和污泥浓度(X)值。此外,还应同时考虑处理效率、污泥容积指数(SVI)和污泥龄等参数。

设计参数的来源主要有两个途径,一是经验数据,另一个是通过试验获得。以生活污水为主体的城市污水,主要设计参数已比较成熟,可以直接取用于设计,但是对于工业废水,则应通过试验和现场实测以确定其各项设计参数。在工程实践中,由于受试验条件的限制,一般也可根据经验选取。

(1)曝气池容积的设计计算

曝气池容积常用的是有机负荷计算法。负荷有两种表示方法,即污泥负荷和容积负荷。一般采用污泥负荷,根据污泥负荷的定义Ns,可以求得曝气池的容积:

式中:V——曝气池容积,m3

 Q——污水流量,m3/d;

 Sa——原污水中BOD5浓度,mg/L或kg/m3

 X——混合液悬浮固体(MLSS)浓度,mg/L或kg/m3

 Ns——污泥负荷,kgBOD5/(kgMLSS·d)。

由上式可见,正确、合理和适度地确定污泥负荷值(Ns)和混合液污泥浓度(X)是正确确定曝气池容积的关键。

(2)污泥负荷的确定

污泥负荷一般根据经验确定,对于城市污水多取值为0.3~0.5kgBOD5/(kgMLSS·d),也可参考表4.10所列数值。但为稳妥计,需加以校核,校核公式如下:

式中:Se——处理水中BOD5浓度,mg/L或kg/m3

 f——曝气池混合液挥发性悬浮固体与混合液悬浮固体比值,即MLVSS/MLSS,对于城市污水一般在0.75~0.85;

 η——原污水BOD5去除率,%,即(Sa-Se)/Sa

 K2——系数,对于城市污水一般在0.0168~0.0281。

(3)混合液污泥浓度的确定

混合液中的污泥来自二次沉淀池的回流污泥,而回流污泥的浓度(Xr)与污泥沉淀性能及其在二次沉淀池中浓缩的时间有关。一般回流污泥的浓度可近似地按下式计算:

式中:r——二次沉淀池中污泥综合系数,一般取值1.2左右。

混合液污泥浓度(X)和污泥回流比(R)以及回流污泥的浓度(Xr)的关系为:

将公式,可得出估算混合液污泥浓度的公式:

表4.10所列举的不同运行方式活性污泥处理系统常采用的混合液污泥浓度(X)数值,也可作为设计参考。

2)需氧量和供气量的计算

(1)需氧量

活性污泥法处理系统的需氧量一般可由下列公式求得:

污水的a′、b′可以从表4.9中选取。

(2)供气量

①影响氧转移的因素

a.氧的饱和浓度(Cs)。氧转移效率与氧的饱和浓度成正比,不同温度下饱和溶解氧的浓度也不同,见表4.10。

表4.10 氧在蒸馏水中的溶解度(即饱和度)

b.水温。在相同的气压下,温度对氧总转移系数(KLa)和Cs也有影响。温度升高,有利于氧分子的转移,KLa随着上升,而Cs则下降。温度对KLa的影响,一般可通过下式校正:

式中:KLa(20℃)——20℃时的KLa

KLa(T)——T℃时的KLa

 θ——温度修正系数,其值介于1.016~1.047,一般取1.024。

c.污水性质。污水中含有的各种杂质对氧的转移产生一定影响,将适用于清水的KLa用于污水时,需要用系数α进行修正。

修正系数α可通过试验确定。一般α为0.8~0.85。

污水中的盐类也影响氧在水中的饱和度(Cs),污水Cs用清水Cs乘以β来修正,β一般介于0.9~0.97。

大气压影响氧气的分压,因此影响氧的传递,进而影响Cs。气压增高,Cs升高。对于大气压不是1.013×105 Pa的地区,Cs应乘以压力修正系数ρ,ρ=所在地区的实际气压/(1.013×105 Pa)。

对于鼓风曝气池,空气压力还与池水深度有关。安装在池底的空气扩散装置出口处的氧分压最大,Cs也最大。但随着气泡的上升,气压逐渐降低,在水面时,气压为1.013×105 Pa(即1大气压),气泡上升过程中一部分氧已转移到液体中。鼓风曝气池内的Cs应是扩散装置出口和混合液表面两处溶解氧饱和浓度的平均值,按下式计算:

式中:Csb——鼓风曝气池内混合液溶解氧饱和浓度的平均值,mg/L;

 Cs——在1.013×105 Pa条件下氧的饱和浓度,mg/L;

 pb——空气扩散装置出口处的绝对压力,Pa,pb=p+9.8×103 H;

 p——标准大气压,p=1.013×105 Pa;

 H——空气扩散装置的安装深度,m;

 Ot——曝气池逸出气体中的含氧百分率,无量纲,×100%;

 EA——空气扩散装置的氧转移效率,一般为6%~12%。

另外,氧的转移还和气泡的大小、液体的紊动程度、气泡与液体的接触时间有关。空气扩散装置的性能决定气泡直径的大小。气泡越小,接触面积越大,将提高KLa,有利于氧的转移;但另一方面不利于紊动,从而不利于氧的转移。气泡与液体的接触时间越长,越利于氧的转移。

氧从气泡中转移到液体中,逐渐使气泡周围液膜的含氧量饱和,因而,氧的转移效率又取决于液膜的更新速度。紊流和气泡的形成、上升、破裂,都有助于气泡液膜的更新和氧的转移。

从上述分析可见,氧的转移效率取决于气相中氧分压梯度、液相中氧的浓度梯度、气液之间的接触面积和接触时间、水温、污水的性质和水流的紊动程度等因素。

②供气量的计算

在标准条件下,转移到曝气池混合液的总氧量(R0)为:

生产厂家提供空气扩散装置的氧转移参数是在标准状态下测定的,所谓标准状态是指:水温20℃,大气压为1.013×105 Pa,测定用水是脱氧清水。因此,必须根据实际条件对厂商提供的氧转移速度等数值加以修正。在式(4.61a)中引入各项修正系数,可得在实际条件下,转移到曝气池混合液的总氧量(R):

式中:C——混合液中含有的溶解氧浓度,mg/L。

联立式(4.61a)和式(4.61b)可得:

R可以根据公式O2=a′QSr+b′VXv求定。因此,R0可以由式(4.61c)求出。

在一般情况下,R/R0=1.33~1.61,即在实际工程中所需的空气量比标准条件下多33%~61%。

氧转移效率(氧利用效率)为:

式中:S——供氧量,kg/h;

 Gs——供气量,m3/h;

 0.21——氧在空气中所占百分数;

 1.43——氧的容重,kg/m3

对鼓风曝气,各种空气扩散装置在标准状态下,EA是厂商提供的,因此,供气量可以通过下式计算,即:

式中,R0可以由式(4.61c)确定。

对机械曝气,各种叶轮的充氧量与叶轮直径和叶轮线速度的关系,也是厂商通过实际测定确定并提供的。如泵型叶轮的充氧量可按下列经验公式计算:

式中:Qos——标准条件下(水温20℃,大气压为1.013×105 Pa)清水的充氧量,kg/h;

 v——叶轮周边线速度,m/s;

 D——叶轮公称直径,m;

 K——池型结构对充氧量的修正系数,一般圆形池为1;正方形池为0.64;长方形池为0.9。

3)曝气系统设计

(1)空气扩散装置

空气扩散装置的类型较多,目前应用较多的是微孔曝气器。该类型曝气器氧利用率高,阻力损失小,混合效果好,不易堵塞,并且连接部位具有可靠、有效的密封性能。

微孔曝气器直径为215~260mm,服务面积为0.3~0.8m2/个。根据曝气池池底面积和曝气器的服务面积,可以计算出所需曝气器的数量。

式中:n——曝气器数量,个;

 A——曝气池池底面积,m2

 A0——曝气器服务面积,m2/个。

微孔曝气器的曝气量为1.5~5.0m3/(个·h),根据此数值可以计算出曝气池的工作气量。曝气池的工作气量应与按需氧量计算出的供气量相匹配,否则应进行调整。微孔曝气器一般安装于曝气池池底,膜片距池底200~250mm。

(2)曝气器管网设计

曝气器一般采用回环式管网布置(图4.45),可使每个曝气器的进气压力相等,达到沿池面均匀曝气的效果。根据供气量和选取的流速计算空气管道的直径和阻力损失。空气干管流速一般取10~15m/s,支管流速取5m/s。曝气池外采用焊接钢管,池内采用ABS管连接。

图4.45 曝气器管网布置示意

(3)鼓风机的选择

根据所需的供气量和空气管道的阻力损失选择鼓风机。鼓风机的升压(H)≥微孔曝气器的膜片距曝气池液面的距离(H0)+阻力损失(钞hf)。在缺少数据的情况下,也可按H≥H0+1(m)估算。

中、小型污水处理厂(站)一般选用罗茨鼓风机,大、中污水处理厂还可选用离心鼓风机。在同一供气系统中,应尽量选择同一型号的鼓风机。当工作鼓风机≤3台时,备用1台;工作鼓风机≥4台时,备用2台。鼓风机选好后,再按鼓风机的实际流量校核管网系统的流速和阻力,并进行适当调整。

4)污泥回流设备的设计

回流污泥量是关系到污水处理效果的重要设计参数,应根据不同的水质、水量和运行方式确定适宜的回流比(表4.10)。

首先确定回流污泥浓度,可按下式计算:

式中,r为综合系数,一般取为1.2。

污泥回流比的计算公式如下:

回流比的大小取决于混合液污泥浓度和回流污泥浓度,而回流污泥浓度又与SVI有关。在曝气池的实际运行中,由于SVI在一定范围内变化,并且需要根据进水负荷的变化调整混合液污泥浓度,因此,在进行污泥回流设备的设计时,应按最大回流比设计,并使其具有在较小回流比时工作的可能性,以便使回流污泥量可以在一定幅度内变化。

活性污泥的回流设备有提升设备和输泥管渠等,常用的污泥提升设备是污泥泵和空气提升器。污泥泵的形式主要有螺旋泵和轴流泵,其运行效率较高,可用于各种规模的污水处理工程。选择污泥泵时应首先考虑的因素是不破坏污泥的特性,且运行稳定可靠等。空气提升器结构简单、管理方便,并可在提升过程中对污泥进行充氧,但效率较低,因此,常用于中、小型鼓风曝气系统。

5)二沉池设计

二次沉淀池的作用是泥水分离,使混合液澄清,污泥浓缩,并且将分离的活性污泥回流到曝气池,由于水质、水量的变化,还要暂时贮存污泥。其工作性能对活性污泥处理系统的出水水质和回流污泥浓度有着直接影响。初沉池的设计原则一般也适用于二次沉淀池,但由于进入二次沉淀池的活性污泥混合液浓度高,具有絮凝性,属于成层沉淀,并且密度小,沉速较慢,因此,设计二次沉淀池时,最大允许水平流速(平流式、辐流式)或上升流速(竖流式)都应低于初沉池。由于二次沉淀池起着污泥浓缩的作用,所以需要适当地增大污泥区容积。

二次沉淀池设计的主要内容包括:池型的选择,沉淀池的面积,有效水深的计算,污泥区容积计算,污泥排放量计算等。

(1)二次沉淀池池型的选择

带有刮吸泥设施的辐流式沉淀池比较适合大、中型污水处理厂;小型污水处理厂则多采用竖流式沉淀池或多斗式平流式沉淀池。

(2)二次沉淀池面积和有效水深计算

二次沉淀池面积和有效水深的计算公式如下:

式中:Q——污水最大时流量,m3/h;

 q——表面负荷,m3/(m2·h);

 u——活性污泥成层沉淀时的沉速,mm/s;

 t——水力停留时间,h,一般为1.5~2.5h。

 u变化范围一般在0.2~0.5mm/s。q为0.72~1.8m3/(m2·h),该值的大小与污水水质和混合液污泥浓度有关。当污水中的无机物含量高时,可采用较高的u;而当污水中的溶解性有机物含量较多时,则u宜低。混合液污泥浓度对u影响较大。表4.11列举的是u与混合液污泥浓度之间的关系,可供设计时参考。

表4.11 混合液污泥浓度与u之间的关系

二次沉淀池面积以最大时流量作为设计流量,而不计回流污泥量。但中心管的计算,则应包括回流污泥量在内。

(3)污泥斗容积的计算

污泥斗的作用是贮存和浓缩沉淀污泥,由于活性污泥因缺氧而失去活性和腐败,所以污泥斗容积不宜过大。对于分建式二次沉淀池,一般污泥斗的贮泥时间为2h,故可采用下列公式计算污泥斗容积:

式中:Q——污水流量,m3/d;

 X——混合液污泥浓度,mg/L;

 Xr——回流污泥浓度,mg/L;

 R——污泥回流比;

 Vs——污泥斗容积,m3

(4)污泥排放量的计算

二次沉淀池中的污泥部分作为剩余污泥排放,其污泥排放量应等于污泥增长量(ΔX),可用下式确定去除单位BOD所产生的VSS量:

式中,Yobs为表观产率系数,kgMLVSS/kgBOD,用来估算每天的污泥量。

 Y、Kd的确定是很重要的,以通过试验求得为宜,也可按经验参数进行计算。

污泥排放量也可以根据公式ΔX=aQSr-bVX计算。

(5)活性污泥法工程案例

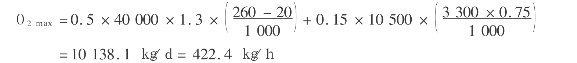
【例4.2】 某城市的污水日排放量为40000m3时变化系数为1.3,BOD5为350mg/L,拟采用活性污泥法进行处理,要求处理后的出水BOD5为20mg/L,试计算该活性污泥法处理系统的设计参数。

【解】 (1)污水处理程度及运行方式

①污水处理程度

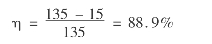
污水的BOD5为350mg/L,经初次沉淀池处理后,其BOD5按降低25%计,则进入曝气池的污水BOD5浓度(Sa)为:

②活性污泥法的运行方式

根据提供的条件,考虑曝气池运行方式的灵活性和多样性,以传统活性污泥法系统作为基础,又可按阶段曝气法和生物吸附再生法运行的可能性。

(2)曝气池的计算与各部位尺寸确定

①污泥负荷的确定

拟定采用的污泥负荷为0.3kgBOD5/(kgMLSS·d),但为稳妥计,需加以校核,校核公式如下:

K2取0.0185,f=MLVSS/MLSS=0.75,代入各值,得:

计算结果确证,N s取0.3是适宜的。

②确定混合液污泥浓度(X)

根据Ns,SVI在80~150,取SVI=120(满足要求)。另取r=1.2,R=50%,曝气池的混合液污泥浓度为:

③确定曝气池容积

曝气池的容积为:

④确定曝气池各部尺寸

曝气池面积:设两座曝气池(n=2),池深(H)取4.2m,则每座曝气池面积为

曝气池宽度:设池宽(B)为6m,=1.43,在1~2,符合要求。

曝气池长度:曝气池长度=34.7(大于10),符合要求。

图4.46 曝气池平面图(单位:m)

取曝气池超高为0.5m,则曝气池的总高度为:4.2+0.5=4.7m。

进水方式设计:为使曝气池能按多种方式运行,将进水方式设计成既可在池首端集中进水,按传统活性污泥法运行;也可沿池长多点进水,按阶段曝气法运行;又可集中在池中部某点进水按生物吸附法运行。

(3)曝气系统的计算与设计

①平均时需氧量的计算

平均日需氧量按下式计算,即:

O2=a′QSr+b′VXv

查表4.9,选用a′=0.5,b′=0.15,代入各值得:

②最大时需氧量

③每日去除BOD5

④去除每kgBOD的需氧量

⑤最大时需氧量与平均时需氧量之比

(4)供气量的计算

采用微孔曝气器,敷设于距池底0.2m处,淹没水深4.0m,计算温度按最不利条件考虑,本设计定为30℃。查表4.10得水中溶解氧饱和度Cs(20)=9.17mg/L,Cs(30)=7.63mg/L

①空气扩散器出口处的绝对压力(Pb

Pb=1.013×105+9.8×103 H Pa

代入各值,得:

P b =1.013× 105 +9.8× 103 × 4=1.405× 105 P a

②空气离开曝气池面时氧气的百分比(Ot

微孔曝气器的氧转移效率(EA)取15%,则

③曝气池混合液中平均氧饱和度(Csb

代入各值,得:

④换算为在20℃条件下,脱氧清水的充氧量(R0

取其值α=0.82,β=0.95,C=2.0,ρ=1.0,代入各值得:

相应的最大时需氧量为:

⑤曝气池平均时供气量(Gs

代入各值,得:

⑥曝气池最大时供气量

⑦去除每kgBOD5的供气量

⑧每m3污水的供气量

⑨曝气系统

微孔曝气器的曝气量(g0)取2.5m3/(个·h),服务面积0.5m2/个。

曝气器数量为:

曝气器实际服务面积≈0.55m2/个,符合要求。

鼓风机型号:采用风量为90m3/min、静压力为49kPa的罗茨鼓风机4台,其中1台备用。高负荷时3台工作,平时2台工作,低负荷时1台工作。

空气管道的直径根据管网布置情况计算。

4.2.6 活性污泥法系统运行维护

在活性污泥系统投产运行时,运行管理人员不仅应熟悉处理设备的构造和功能,还要深入掌握设计内容和设计意图。对于城市污水和性质与其相类似的工业废水,在投产前首先进行的是培养活性污泥;对于其他工业废水,除培养活性污泥外,还需要对活性污泥进行驯化,使其适应所处理废水的特点。

当活性污泥的培养驯化结束后,还应进行试运行,以确定系统的最佳运行条件。

1)活性污泥的培养

根据污水水量、水质和污水处理厂(站)的条件,可采用的活性污泥培养法有下列几种:

(1)全流量连续直接培养法

全部流量通过活性污泥系统的曝气池和二次沉淀池,连续进水和出水。二次沉淀池不排放剩余污泥,全部回流曝气池,直到MLSS和SV达到适宜数值为止。

为了加快培养速度,减少培养时间,可考虑污水不经初次沉淀池处理,直接进入曝气池;在不产生大量泡沫的前提下,提高供气量,以保证向混合液提供足够的溶解氧,并使其充分混合;也可以从同类的正在运行的污水处理厂提取一定数量的活性污泥进行接种。

活性污泥培养驯化期间必须考虑满足微生物的营养物质保持平衡。

(2)流量分段直接培养法

采用连续进水和出水方式运行,控制污水投配流量,使其随形成的污泥量的增加而增加。即将培养期分为几个阶段,最后使污水投配流量达到设计流量,MLSS达到适宜浓度。

(3)间歇培养法

适用于生活污水所占比例较小的城市污水处理厂。将污水引入曝气池,水量为曝气池容积的50%~70%,曝气4~6h,再静止1~1.5h。排放上清液,排放量约占总水量的50%。此后再注入污水,重复上述操作,每天1~3次,直到混合液中的SV达到15%~20%为止。

水温在15℃以上的条件下,一般营养比较平衡的城市污水,经7~15d的培养,即可达到上述情况。为了缩短培养时间,也可以考虑用同类污水处理厂的剩余活性污泥进行接种。

2)活性污泥的驯化

对工业废水,除培养外,还需对活性污泥进行驯化,使其适应所处理的废水。常用的驯化方法可分为异步驯化法和同步驯化法。异步驯化法是先培养后驯化,即先用生活污水或粪便稀释水将活性污泥培养成熟,此后再逐步增加工业废水在混合液中的比例,以逐步驯化污泥。同步驯化法则是在用生活污水培养活性污泥的开始,就投加少量的工业废水,以后则逐步提高工业废水在混合液中的比例,逐步使活性污泥适应工业废水的特性。驯化阶段以全部使用工业废水而结束。

3)活性污泥系统的试运行

活性污泥培驯成熟后,就开始试运行。试运行的目的是确定活性污泥系统的最佳运行条件。在系统的运行中,作变数考虑的因素有混合液污泥浓度、空气量、污水注入方式等;如采用生物吸附法,则还有污泥再生时间和吸附时间的比值;如采用曝气沉淀池,还要确定回流窗孔开启高度;如工业废水养料不足,还应确定氮、磷的投加量等。将这些变数组合成几种运行条件分阶段试验,观察各种条件的处理效果,并确定最佳运行条件,这就是试运行的任务。

活性污泥法要求在曝气池内保持适宜的营养物与微生物的比值,供给所需要的氧,使微生物与有机污染物很好地接触,并保持适当的接触时间等。如前所述,营养物与微生物的比值一般用污泥负荷率加以控制,其中营养物数量由流入污水量和浓度所决定,因此应通过控制活性污泥的浓度来维持适宜的污泥负荷率。不同的运行方式有不同的污泥负荷率,运行的混合液污泥浓度就是以其运行方式的适宜污泥负荷率作为基础确定的,并在试运行过程中确定最佳条件下的Ns和MLSS。

MLSS最好每天都能够测定,如SVI稳定时,也可用污泥沉降比暂时代替MLSS的测定。根据测定的MLSS或污泥沉降比,便可控制污泥回流量和剩余污泥量,并获得这方面的运行规律。此外,也可通过相应的污泥龄加以控制。

关于空气量,应满足供氧和搅拌这两者的要求。在供氧上应使最高负荷时混合液溶解氧含量保持在1~2mg/L。搅拌的作用是使污水与污泥充分混合,因此搅拌程度应通过测定曝气池表面、中间和池底各点的污泥浓度是否均匀而定。

活性污泥系统有多种运行方式,在设计中应予以充分考虑,各种运行方式的处理效果应通过试运行阶段加以比较观察,然后确定出最佳效果的运行方式及其各项参数。在正式运行过程中,还可以对各种运行方式的效果进行验证。

4)活性污泥系统运行效果检测

试运行确定最佳条件后,即可转入正常运行。为了经常保持良好的处理效果,积累经验,需要对处理情况定期进行检测。检测项目如下:

①反映处理效果的项目:进出水总的和溶解性的BOD、COD,进出水总的和挥发性的SS,进出水的有毒物质(对应工业废水);

②反映污泥情况的项目:污泥沉降比(SV)、MLSS、MLVSS、SVI、溶解氧(DO)、微生物观察等;

③反映污泥营养和环境条件的项目:氮、磷、pH、水温等。

一般SV和溶解氧最好2~4h测定一次,至少每班一次,以便及时调整回流污泥量和空气量。微生物观察最好每班一次,以预示污泥异常现象。除氮、磷、MLSS、MLVSS、SVI可定期测定外,其他各项应每天测定一次。

此外,每天要记录进水量、回流污泥量和剩余污泥量,还要记录剩余污泥排放规律、曝气设备的工作情况、空气量和电耗等。上述检测项目如有条件,应尽可能进行自动检测和自动控制。

5)活性污泥系统运行过程中的异常情况

活性污泥系统在运行过程中,有时会出现异常情况,使处理效果降低,污泥流失。下面介绍运行中可能出现的几种主要的异常现象和对其采取的相应措施。

(1)污泥膨胀

正常的活性污泥沉降性能良好,含水率在99%左右。当污泥变质时,污泥不易沉淀,SVI增高,污泥的结构松散和体积膨胀,含水率上升,澄清液稀少(但较清澈),颜色也有异变,这就是污泥膨胀。污泥膨胀主要是由于丝状菌大量繁殖所引起,也有由污泥中结合水异常增多导致的污泥膨胀。一般污水中碳水化合物较多,缺乏氮、磷、铁等养料,溶解氧不足,水温高或pH较低等都容易引起丝状菌大量繁殖,导致污泥膨胀。此外,超负荷、污泥龄过长或有机物浓度梯度小等,也会引起污泥膨胀。排泥不通畅则引起结合水性污泥膨胀。

为了防止污泥膨胀,首先应加强操作管理,经常检测污水水质、曝气池内溶解氧、污泥沉降比、污泥指数和进行显微镜观察等。如发现不正常现象,就需采取预防措施。一般可采取调整、加大空气量,及时排泥,在有可能时采取分段进水,以减轻二次沉淀池的负荷等措施。

当污泥发生膨胀后,解决的办法可针对引起膨胀的原因采取措施。如缺氧、水温高等,可加大曝气量,或降低进水量以减轻负荷,或适当降低MLSS,使需氧量减少等;如污泥负荷率过高,可适当提高MLSS,以调整负荷。必要时还要停止进水,“闷曝”一段时间。如缺乏氮、磷、铁等养料,可投加硝化污泥或氮、磷等成分。如pH过低,可投加石灰等调节pH。若污泥大量流失,可投加5~10mg/L氯化铁,帮助凝聚,刺激菌胶团生长;也可投加漂白粉或液氯(按干污泥的0.3%~0.6%投加),抑制丝状菌繁殖,特别能控制结合水性污泥膨胀。也可投加石棉粉末、硅藻土、黏土等惰性物质,降低污泥指数。污泥膨胀的原因很多,以上只是污泥膨胀的一般处理措施。

(2)污泥腐化

在二次沉淀池有可能由于污泥长期滞留而产生厌气发酵,生成H2 S、CH4等气体,从而使大块污泥上浮的现象。上浮的污泥腐败变黑,产生恶臭。此时也不是全部污泥上浮,大部分污泥都是正常排出或回流,只有积在死角长期滞留的污泥才腐化上浮。防止污泥腐化上浮的措施有:安设不使污泥外溢的浮渣清除设备;消除沉淀池的死角区;加大池底坡度或改进池底刮泥设备不使污泥滞留于池底;及时排泥和疏通堵塞等。

(3)污泥上浮

污泥在二次沉淀池呈块状上浮的现象,并不是由于腐败所造成的,而是由于在曝气池内污泥龄过长,硝化进程较高(一般硝酸铵达5mg/L),在沉淀池底部产生反硝化,硝酸盐中的氧被利用,氮即呈气体脱出附于污泥上,从而使污泥比重降低,整块上浮。所谓反硝化是指硝酸盐被反硝化菌还原成氨和氮的作用。反硝化作用一般在溶解氧低于0.5mg/L时发生,并在实验室静沉30~90min以后发生。因此,为防止这一异常现象发生,应增加污泥回流量或及时排出剩余污泥,在脱氮之前即将污泥排除,或降低混合液污泥浓度,缩短污泥龄和降低溶解氧等,使之不进行到硝化阶段。

(4)污泥解体

处理水质混浊、污泥絮体微细化、处理效果变坏等则是污泥解体现象。导致这种异常现象的原因有运行中的问题,也有可能是由于污水中混入了有毒物质。

运行不当,如曝气过量,会使活性污泥微生物唱营养的平衡遭到破坏,使微生物量减少并失去活性,吸附能力降低,絮凝体缩小质密,一部分则成为不易沉淀的羽毛状污泥,处理水质浑浊,SVI降低等。当污水中存在有毒物质时,微生物会受到抑制或伤害,净化功能下降或完全停止,从而使污泥失去活性。一般可通过显微镜观察来判别产生的原因。当鉴别出是运行方面的问题时,应对污水量、回流污泥量、空气量和排泥状态以及SV、MLSS、DO、Ns等多项指标进行检查,加以调整。当确定是污水中混入有毒物质时,需查明来源,采取相应措施。

(5)泡沫问题

曝气池中产生泡沫,主要原因是污水中存在大量合成洗涤剂或其他起泡物质。泡沫给生产操作带来一定困难,如影响操作环境,带走大量污泥。当采用机械曝气时,还能影响叶轮的充氧能力。消除泡沫的措施有:分段注水以提高混合液浓度,进行喷水或投加除沫剂。常用的除沫剂有机油、煤油等,投量为0.5~1.5mg/L。此外,用风机机械消泡也是一种有效措施。

4.3 城镇污水的生物膜法处理

生物膜法是根据土壤自净的原理发展起来的。最早人们利用污水灌溉农田,发现土壤渗滤作用对污水中有机物有净化作用,因此,用人工方法建造了间歇沙滤池及接触滤池。继而采用较大颗粒的滤料,建成了所谓滴滤池,现一般称为生物滤池。最早的生物滤池是1893年在英国试验成功,1900年用于污水处理。

从微生物对有机物降解过程的基本原理分析,生物膜法与活性污泥法是相同的,两者的主要不同之点在于微生物在处理构筑物中存在的形式不同。在活性污泥法中,微生物形成絮状,悬浮在混合液中,不停地与废水混合和接触,称为悬浮生长;而在生物膜法中,微生物固定于载体的表面形成所谓生物膜,当废水流经其表面时,互相接触,称为附着生长。

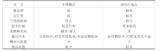
传统活性污泥法基建和运行费用较高,能耗大,管理也较为复杂,易出现污泥膨胀和污泥上浮问题,对N、P去除效果有限;而生物膜法运行稳定,脱氮效果强,抗冲击负荷,节能、经济,无污泥膨胀问题,可以形成较长食物链,污泥产量少。中小型城镇和温暖地区较为适用。

利用生物膜净化污水的装置称为生物膜反应器。根据废水与生物接触形式的不同,生物膜反应器可分为生物滤池(普通生物滤池、高负荷生物滤池、塔式生物滤池)、生物转盘、生物接触氧化、生物流化床和曝气生物滤池等。

4.3.1 生物膜与生物膜法

1)生物膜

废水通过滤池时,滤料截留了废水中的悬浮物质,并把废水中的胶体物质吸附在自己的表面,它们中的有机物使微生物很快繁殖起来,这些微生物又进一步吸附了废水中呈悬浮、胶体和溶解状态的物质,填料表面逐渐形成一层生物膜。生物膜主要由细菌的菌胶团和大量的真菌菌丝组成,其中还有许多原生动物和较高等动物生长。

在生物滤池表面的滤料中,常常存在着一些褐色或其他颜色的菌胶团。也有的滤池表层有大量的真菌菌丝存在,因此形成一层灰白色黏粘膜。下层滤料生物膜则呈黑色。在春夏秋三季,滤池中容易滋生灰蝇,它们的幼虫色白透明,头粗尾细,常分布在滤料表面,成虫后即在滤池及其周围栖翔。

2)生物膜法

生物膜法,即采用生物膜处理污水的方法。生物膜法的基本流程如图4.47所示,污水经沉淀池去除悬浮物后进入生物膜反应池,去除有机物。生物膜反应池出水入二沉池去除脱落的生物体,澄清液排放。污泥浓缩后运走或进一步处置。

图4.47 生物膜法基本流程

图4.48是生物膜一小块滤料放大了的示意图。它可以帮助分析、理解生物膜对污水的净化作用。

从图中可以看出,滤料表面的生物膜可分为厌氧层和好氧层。由于生物膜的吸附作用,在好氧层表面有一层附着水层,在附着水层外部是流动水层。由于进入生物处理池中待处理污水,有机物浓度较高。因此,当流动水流经滤料表面时,有机物就会从运动着的污水中通过扩散作用转移到附着水层中去,并进一步被生物膜所吸附。同时空气中的氧也通过流动水、附着水进入生物膜的好氧层中,生物膜中的微生物在氧的参与下对有机物进行氧化分解和机体新陈代谢,其代谢产物如CO2、H2 O等无机物又沿着相反方向从生物膜经过附着水排到流动水层及空气中去,使污水得到净化。同时,微生物不断繁殖,生物膜厚度不断增加,造成厌氧层厚度不断增加。

图4.48 生物膜结构及其工作示意图

内部厌氧层的厌氧菌用死亡的好氧菌及部分有机物进行厌氧代谢,代谢产物如有机酸、H2 S、NH3等转移到好氧层或流动水层中。当厌氧层还不厚时,好氧层仍能保持净化功能;但当厌氧层过厚,代谢产物过多时,二层间将失去平衡,好氧层上的生态系统遭到破坏,生物膜就呈老化状态从而脱落(自然脱落),再行开始增长新的生物膜。在生物膜成熟后的初期,微生物好氧代谢旺盛,净化功能最好,在膜内出现厌氧状态时,净化功能下降,而当生物膜脱落时降解效果最差。生物膜就是通过吸附→氧化→增厚→脱落过程而不断地对有机污水进行净化的。但好氧代谢起主导作用,是有机物去除的主要过程。

3)生物膜法的分类

按生物膜与污水的接触方式不同,生物膜法可分为充填式和浸没式两类。充填式生物膜法的填料(载体)不被污水淹没,自然通风或强制通风供氧,污水流过填料表面或盘片旋转浸过污水,如生物滤池和生物转盘等。浸没式生物膜法的填料完全浸没于水中,一般采用鼓风曝气供氧,如接触氧化和生物流化床等。

4)生物膜处理法的特征

(1)微生物相方面的特征

①参与净化反应的微生物多样化。生物膜中微生物附着生长在滤料表面,生物固体平均停留时间较长,因此在生物膜上可生长世代期较长的微生物,如硝化菌等。在生物膜中丝状菌很多,有时还起主要作用。由于生物膜是固着生长在载体表面,不存在污泥膨胀的问题,因此丝状菌的优势得到了充分发挥。此外,线虫、轮虫类以及寡毛类微型动物出现的频率也较高。

②生物的食物链较长。在生物膜上生长繁育的生物中,微型动物存活率较高。在捕食性纤毛虫、轮虫类、线虫类之上栖息着寡毛类和昆虫,因此,生物膜上形成的食物链较长。生物膜处理系统内产生的污泥量也少于活性污泥处理系统。

③硝化菌得以增长繁殖。因此,生物膜处理法的各项处理工艺都具有一定的硝化功能,采取适当的运行方式,还可以使污水反硝化脱氮。

④各段具有优势菌种。由于生物滤池污水是自上而下流动,逐步得以净化,由于上下水质不断发生变化,因此对生物膜上微生物种群发生了很大影响。在上层大多是以摄取有机物为主的异养微生物,底部则是以摄取无机物为主的自养型微生物。

(2)处理工艺方面的特征

①运行管理方便、耗能较低。生物处理法中丝状菌起一定的净化作用,但丝状菌的大量繁殖会降低污泥或生物膜的密度,如果在活性污泥法运行管理中,丝状菌增加能导致污泥膨胀,而丝状菌在生物膜法中无不良作用。相对于活性污泥法,生物膜法处理污水的能耗低。

②具有硝化作用。在污水中起硝化作用的细菌属自养型细菌,容易生长在固体介质表面上被固定下来,故用生物膜法进行污水的硝化处理,能取得好的效果,且较为经济。

③抗冲击负荷能力强。污水的水质、水量时刻在变化,当短时间内变化较大时,即产生了冲击负荷,生物膜法处理污水对冲击负荷的适应能力较强,处理效果较为稳定。有毒物质对微生物有伤害作用,一旦进水水质恢复正常后,生物膜净化污水的功能即可得到恢复。

④污泥沉降脱水性能好。生物膜法产生的污泥主要是从介质表面上脱落下来的老化生物膜,为腐殖污泥,其含水率较低,呈块状,沉降及脱水性能良好,在二沉池内易分离,得到较好的出水水质。

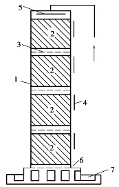
4.3.2 生物滤池

1)生物滤池的分类

生物滤池可分为普通生物滤池、高负荷生物滤池、塔式生物滤池。

生物膜法处理污水最初使用的装置为普通生物滤池,也称滴滤池,为第一代生物滤池。这种装置是将污水喷洒在由粒状介质(石子等)堆积起来的滤料上,污水从上部喷淋下来,经过堆积的滤料层,滤料表面的生物膜将污水净化,供氧由自然通风完成,氧气通过滤料的空隙,传递到流动水层、附着水层、好氧层。此种方法处理污水的负荷较低,但出水水质很好,故亦成为低负荷生物滤池。20世纪初,英国最先得到实际应用,之后在欧洲和北美得到了应用。

为了提高生物滤池的处理效率,20世纪中期,人工制造的滤料的出现,由于其比表面积大、滤料之间的空隙大、质轻等优点,提高了生物滤池的负荷,减小了占地面积,高负荷生物滤池和塔式生物滤池工艺得到了发展。

2)生物滤池的构造

(1)普通生物滤池的构造

普通生物滤池由池体、滤料、布水装置和排水系统4部分组成,其构造如图4.49所示。

①池体。普通生物滤池在平面上多呈方形或矩形。四周围以池壁(池壁起围挡滤料的作用)一般用砖石或混凝土筑造,池壁要能承受滤料的压力,池壁高度一般应高出滤池表面0.4~0.5m。

图4.49 普通生物滤池构造示意图

②滤料。滤料是生物滤池的主体,对生物滤池的净化功能有直接影响,对滤料的要求是:具有较大的比表面积,以利于形成较高的生物量;较大的空隙率,以利于氧的供应和氧的传递;具有较高的机械强度,耐腐蚀性强;价格低廉,能够就地取材。常用实心拳状滤料,主要有碎石、卵石、炉渣和焦炭等。滤料分为工作层和承托层,总厚度为1.5~2.0m。工作层为1.3~1.8m,粒径一般在30~50mm;承托层厚0.2m,粒径为60~100mm。各层滤料粒径应均匀一致,对于有机物浓度较高的废水,应采用粒径较大的滤料,以防止滤料堵塞。

③布水系统。生物滤池布水系统的作用是向滤料表面均匀地布水。若布水不均匀,会造成某一部分滤料负荷过大,而另一部分负荷不足。普通生物滤池常用的布水系统是固定喷嘴式布水系统,它由投配池、虹吸装置、布水管道和喷嘴4部分所组成。

如图4.50所示,污水进入配水池,当水位达到一定高度后,虹吸装置开始工作,污水进入布水管路。配水管设有一定坡度以便放空,布水管道敷设在滤池表面下0.5~0.8m,喷嘴安装在布水管上,伸出滤料表面0.15~0.2m,喷嘴的口径为15~20mm。当水从喷嘴喷出,受到喷嘴上部设有的倒锥体的阻挡,使水流向四周分散,形成水花,均匀喷洒在滤料上。当配水池水位降到一定程度时,虹吸被破坏,喷水停止。这种布水装置的优点是运行方便,易于管理和受气候影响较小;缺点是需要的水头较大(20m)。

图4.50 固定喷嘴式布水系统

④排水系统。生物滤池的排水系统设在滤池的底部,其作用是排除处理后的污水、保证滤池有良好的通风和支撑滤料。排水系统包括渗水装置、集水沟和排水渠。

渗水装置有多种,常用的是混凝土板式渗水装置。渗水装置的作用是支撑滤料,排除滤过的污水,进入空气。渗水装置上的空隙总面积不得小于滤池总面积的20%,渗水装置与池底之间的距离不得小于0.4m。

池底以1%~2%的坡度坡向集水沟,集水沟宽0.15m、间距2.5~4.0m,并以0.5%~1.0%的坡度坡向总排水沟,总排水沟的坡度不应小于0.5%,为了通风良好,总排水沟的过水断面积应小于其总断面积的50%,沟内流速应大于0.7m/s,以免发生沉积和堵塞。小型的普通生物滤池,池底可不设集水沟,全部做成1%的坡度,坡向总排水沟。

3)高负荷生物滤池的构造

高负荷生物滤池的构造与普通生物滤池基本相同,由于其布水系统采用旋转布水器,故其平面尺寸多为圆形。

高负荷生物滤池的滤料与普通生物滤池不同。其滤料粒径一般为40~100mm,大于普通生物滤池,滤料的空隙率较高,滤料层高一般为2.0m。差别主要表现在布水装置。

高负荷生物滤池多采用旋转布水器(图4.51)。它是由固定不动的进水管和可旋转的布水横管组成,布水横管有2根或4根,横管中心轴距滤池地面0.15~0.25m,横管绕竖管旋转,旋转的动力可以用电机,也可用水力反冲产生。从图4.51可以看出,在横管的统一侧开一系列间距不等的孔口,周边较密,中心较疏,当污水从孔口喷出后产生反作用力,布水横管按喷水反方向旋转,将污水均匀洒布在池面上。横管与固定进水竖管连接处要封闭良好,并减小旋转时的摩擦力,布水器的旋转部分与固定竖管的连接处采用轴承连接。

图4.51 旋转布水器示意图

4)塔式生物滤池的构造

塔式生物滤池的构造与一般生物滤池基本相似,主要不同在于采用轻质高孔隙率的塑料滤料和塔体结构,如图4.52所示。主要由塔身、滤料、布水设备、通风装置和排水系统所组成。

①塔身。塔身起围挡滤料的作用,可用钢筋混凝土结构、砖结构、钢结构和钢框架与塑料板面的混合结构。塔身分若干层,每层设有支座以支撑滤料和生物膜的重量,另外,塔身上还开设观察窗,供观察、采样、填装滤料等用。

②滤料。塔滤中所采用滤料大多为轻质高孔隙率的塑料滤料。其形状可做成蜂窝状、波纹状等。目前多采用经酚醛树脂固化,内切圆直径为19~25mm的纸质蜂窝滤料和玻璃布蜂窝滤料。

③布水装置。塔滤的布水装置与一般的生物滤池相同,也广泛使用旋转布水器,也采用固定式穿孔管。前者适用于圆形滤池,后者适用于方形滤池。

④通风装置。塔滤一般都采取自然通风,塔底有高度为0.4~0.6m的空间,周围留有通风孔。也可以采用人工机械通风。

⑤排水系统。塔滤的出水汇集于塔底的集水槽,然后通过渠道送往沉淀池进行生物膜与水的分离。

5)生物滤池的运行方式

图4.52 塔式生物滤池构造
1—塔身;2—滤料;3—格栅;
4—检修口;5—布水器;
6—通风口;7—集水槽

生物过滤法系统基本上由初沉池、生物滤池、二次沉淀池组合而成,其组合形式有单级运行系统和多级运行系统。

单级运行系统如图4.53所示。图4.53(a)为单级直流系统,多用于低负荷生物滤池。图4.53(b),(c),(d)均为单级回流系统,多用于高负荷生物滤池。图4.53(b)的处理水回流至生物滤池前,用以加强表面负荷,又不加大初沉池的容积,但二次沉淀池要适当大些。图4.53(c)是生物滤池出水直接回流到生物滤池前,可加大表面负荷,又利用生物接种,促进生物膜更新,这个系统的两个沉淀池都比较小。图4.53(d)是不设二次沉淀池,滤池出水回流到初沉池前,加强初沉池生物絮凝作用,促进沉淀效果。

图4.53 生物滤池的单级运行系统

多级运行系统如图4.54所示。据实验和分析,第一级生物滤池处理效率可达70%,第二级处理效率可达20%,第三、四级的处理效率很低,在5%左右,所以一般取两级。图4.54(a),(b)均为二级直流系统。二级串联工作的生物滤池的优点是:滤层深度可适当减小,通风条件好,两次洒水充氧,出水水质较好些;缺点是:增加了提升泵,加大了占地面积。一般第一级生物滤池采用粒径较大的滤料,后一级采用粒径较小的滤料。图4.54(c),(d)均为二级回流系统。

采用回流的优点是:增大水力负荷,促进生物膜的脱落,防止堵塞;污水被稀释,降低了基质浓度;可向生物滤池连续接种,促进生物膜的生长;提高进水的溶解氧;由于进水量增加,有可能采用水力旋转布水器;防止滤池滋生蚊蝇。缺点是:缩短污水在滤池中的停留时间;洒水量大,将降低生物膜吸附有机物的速度;回流水中难降解的物质会产生积累,以及冬天使池中水温降低等。

图4.54 生物滤池的多级运行系统

如图4.55所示为二级交流运行系统,每一生物滤池可交替作为一级和二级使用,循环往复,使负荷率比一般二级系统提高2~3倍。

图4.55 生物滤池二级交替运行系统

采用生物滤池处理污水时,应该做好滤池类型和运行系统的选择。一般来说,低负荷生物滤池的体积大、占地多、滤料的需要量大、易堵塞,常出现池蝇和臭味,目前已不常采用,仅在水量小的地区选用。目前大多数采用高负荷生物滤池。

确定流程时,应该决定是否用初次沉淀池,采用几级过滤,采用回流与否,选择回流方式及回流比等问题。是否用初次沉淀池视水质而定,悬浮物较多的污水一般都使用初沉池。

6)生物滤池的性能

生物滤池早于活性污泥法,活性污泥法的发明之初是以生物滤池的替代工艺出现的,但生物滤池至今仍有大量应用。

与活性污泥工艺不同的是,在生物滤池中常采用出水回流,而基本不会采用污泥回流,因此从二沉池排出的污泥全部作为剩余污泥进入污泥处理流程进行进一步的处理。

生物膜法与活性污泥法的比较见表4.12。

表4.12 生物膜法与活性污泥法的比较

7)生物滤池的设计

(1)普通生物滤池的设计与计算

普通生物滤池的设计与计算包括:滤料的选定,滤料容积、滤池深度和平面尺寸的确定,布水系统和排水系统的设计计算。

滤料容积可以按容积负荷计算:

式中:V——滤料容积,m3

 Q——原污水的日平均流量,m3/d;

 La——原污水的BOD5值,mg/L;

 Nv——容积负荷,gBOD5/(m3滤料·d)。

滤池表面积:

式中:A——滤池表面积,m2

 H——滤料层高度,m。

求出滤池面积后,用水力负荷校核,水力负荷值应在10~30m3/(m2滤料·d)。

(2)高负荷生物滤池工艺设计与计算

高负荷生物滤池的设计计算分为两部分:滤池的计算与设计;旋转布水器的计算与设计。

滤池容积的计算方法有多种,本教材介绍负荷法。

滤池容积的负荷率按日平均污水量计算。进入滤池的污水,当BOD5大于200mg/L时,必须加回流水稀释。在进行工艺计算前,首先应确定进入滤池的污水经回流稀释后的BOD5 值La,以及回流稀释倍数。

经处理水稀释后,进入滤池污水的BOD5值为:

式中:La——喷洒向滤池污水的BOD5值,mg/L;

 Le——滤池处理水的BOD5值,mg/L;

 α——系数,按表4.13所列数据选用。

表4.13 系数α

回流比可按下式求得:

式中:L0——原污水的BOD5值,mg/L;

其余符号含义同前。

按容积负荷计算,滤料容积V:

式中:Q——原污水日平均流量,m/d;

 Nv——容积负荷率,gBOD5/(m3滤料·d);其余符号同前。

滤池表面积A:

式中:H——滤料层高度,m。

按水力负荷计算,滤池表面积A:

式中:Nq——滤池表面水力负荷,m3污水/(m2滤料表面·d);

其余符号含义同前。

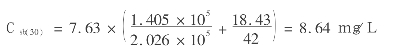
【例4.3】 城镇设计人口N=60000人,污水量标准250L/(人·d),排放的BOD5量为30g/(人·d)。镇内有一座工厂,污水量2000m3/d,BOD5值为1000mg/L。混合污水冬季平均温度为15℃,年平均气温10℃。滤料层厚度为H=2.0m,采用旋转布水器布水,要求处理后出水BOD5≤30mg/L。

【解】 高负荷生物滤池计算。

①污水平均日流量Q:

②污水的BOD5浓度L0

③因为L0>200mg/L,原污水必须用回流水稀释,回流稀释后混合污水浓度(La):

根据所给条件查表4.13得α=4.4,故

La=4.4×30=132mg/L

④回流稀释比r:

⑤滤池总面积A:

取NA=1800gBOD5/m2·d

⑥滤池滤料总体积V:

V=HA=2×2365=4730m3

⑦单个滤池面积A1

采用4个滤池,每个滤池面积:A1×2365≈591.25m2

⑧滤池直径D:

⑨校核水力负荷Nq

水力负荷介于10~30m3/(m2·d),符合要求。经计算,采用4座直径27.5m、高2.0m的高负荷生物滤池。

4.3.3 生物转盘

1)生物转盘的构造

生物转盘是由盘片、接触反应槽、转轴及驱动装置所组成,如图4.56所示。盘片串联成组,其中贯以转轴,转轴的两端安设在半圆形的接触反应槽的支座上。转盘面积的45%~50%浸没在槽内的污水中,转轴高出水面10~25cm。

图4.56 生物转盘构造图

(1)盘片

长期以来多采用圆形或正多边形。近年来,为了提高单位体积盘片的表面积,也有采用波纹圆板或采用波纹圆板与平面圆板相组合的盘片,也有采用蜂窝转盘的。

转盘的材料要求质轻、高强、耐腐、不易变形和比表面大等,常采用聚氯乙烯、聚苯乙烯塑料以及玻璃钢等材料。

转盘的直径一般为2~3m,目前也有增大至4.0m的。盘片之间的净间距一般为20~30mm(废水浓度高时取上限)。间距太大,转盘的有效表面积减少;间距太小,通风不良,易于堵塞。盘片的厚度在保证强度的前提下,应尽量小,一般为2~10mm。在一套生物转盘装置内,盘片多达100~200片,它们平行地装在转轴上,需有支撑加固以防止挠曲变形以及互相碰上。

(2)氧化槽

氧化槽可用钢板制作,也可采用钢筋混凝土或砖砌。断面最好是半圆形,以防止产生死角。槽壁与盘片之间的距离一般为20~50mm。槽内水面应在转轴以下约15mm。氧化槽的容积V可根据盘片总面积来决定。氧化槽容积与盘片面积之比称为体积面积比,用下式表示:

式中:G——氧化槽体积面积比,L/m2

 钞F——盘片总面积,m2

 V——氧化槽有效容积,L。

一般建议G≥5L/m2。试验表明,当G<5L/m2,增大G可提高出水水质;G>5L/m2,出水水质变化不大。

(3)转轴

转轴一般采用碳钢,轴长一般应控制在0.5~6.0m,有时可达7~8m。轴长不宜太长,否则往往由于同心度加工不良,易于挠曲变形,发生断裂。轴直径应通过强度和刚度计算确定,一般采用30~50mm,大型转盘的直径可达80mm。

转盘的转速一般为0.8~3r/min,线速度以10~20m/min为宜。转速太高,能耗大,转轴易于损坏,使生物膜过早脱落。

(4)驱动装置

生物转盘的驱动装置包括动力设备和减速装置两部分。动力设备分为电力机械传动、空气传动及水力传动等。国内一般采用电动和气动。电动生物转盘以电动机为动力,通过变速装置带动转轴按所希望的转速转动。对于大型转盘,一般一台转盘设一套驱动装置;对于中、小型转盘,可由一套驱动装置带动一组(一般为3~4级)转盘转动。气动生物转盘以压缩空气为动力,推动转盘转动。在转盘的下部设有空气喷头,低压空气以0.2kg/cm2左右从喷头释放,流向附着于转盘外缘的空气栅。由于捕捉空气产生一种浮力,随之在转动轴上产生一种转矩,使转盘转动。气动传动兼有充氧作用,动力消耗较省。由于传动受力均匀,转轴寿命长。

2)生物转盘的工作原理与运行特征

(1)生物转盘工作原理

盘片是生物膜的载体,起着生物滤池中滤料的相同作用。运行时,转盘表面的生物膜交替与废水和大气相接触。与废水接触时,生物膜吸附废水中的有机物,同时也分解所吸附的有机物;与空气接触时,可吸附空气中的氧,并继续氧化所吸附的有机物。这样,盘片上的生物膜交替与废水和大气相接触,反复循环,使废水中的有机物在好氧微生物(即生物膜)作用下得到净化。盘片上的生物膜不断生长和不断自行脱落,所以在转盘后应设二次沉淀池。

生物转盘的流程要根据污水的水质和处理后水质的要求确定。城市污水常规处理流程如图4.57所示。

图4.57 城市污水生物转盘处理流程图

根据转轴和盘片的布置形式,生物转盘可分为单轴单级、单轴多级(图4.58)和多轴多级(图4.59)。级数的多少主要根据污水性质、出水要求而确定。

图4.58 单轴4级生物转盘图

图4.59 3轴3级生物转盘图

一般城市污水多采用4级转盘进行处理。应当注意,首级负荷高、供氧不足,应采取加大盘片面积、增加转速来解决供氧不足问题。

(2)生物转盘运行特征

生物转盘作为污水处理反应器,具有结构简单、运转安全、处理效果好、维护管理方便、运行费用低等优点,是因为其运行工艺和维护方面具有下面特征:

①处理污水成本较低。由于转盘上的生物膜从水中进入空气中时充分吸收了有机污染物,生物膜外侧的附着水层可以从空气中吸氧,接触反应槽不需要曝气,因此,生物转盘运转较为节能。有关文献记载,以流入污水的BOD浓度为200mg/L计,每去除1kg BOD约耗电0.71kWh,为活性污泥反应系统的1/4~1/3。

②接触反应时间短。对于处理城市污水的生物转盘,其第一段的生物膜可达194g/m2,如果以氧化槽容积折算此值,相当于40000~60000mg/L的MLVSS。F/M为0.05~0.1,只是活性污泥法F/M的几分之一。因此,生物转盘能在较短的接触时间取得较高的净化率。

③生物相分级。在每段转盘上生长着适应于流入该级污水性质的生物相,在后段可以出现原生动物、藻类和后生动物;同时在转盘上可以生长污泥龄长、增殖世代时间长的微生物(消化菌即属此类微生物)因此,生物转盘具有硝化和反硝化的功能。

④产生的污泥量少。在生物膜上存在较长的食物链,微生物逐级捕食,因此,污泥产量少,大致是活性污泥系统的1/2。产生的污泥量与原水的SS浓度、水温、转盘转数以及BOD去除率有关。在水温为5~20℃、转数为2~5r/min的条件下,BOD5去除率为90%时,去除1kgBOD的污泥产率的为0.25kg左右。

⑤能够处理10~40000mg/L范围的污水,并能取得较好的处理效果。多段生物转盘最适合处理高浓度污水。当BOD浓度低于30mg/L时,就能产生硝化反应。

⑥具有除磷功能。直接向接触反应槽投加混凝剂,能够去除80%以上的磷,再则生物转盘不需回流污泥,可直接向二沉池投加混凝剂去除磷和胶体性污染物质。

⑦易于维护管理。生物转盘反应器设备简单,复杂设备少,不产生污泥膨胀现象,日常对设备定期保养即可。

⑧噪声低,无不良气味。设计运行合理的生物转盘也不生长滤池蝇,不产生恶臭和泡沫;由于没有曝气装置,噪声极低。

3)生物转盘设计

生物转盘设计与计算主要内容包括:求出所需转盘的总面积,盘片总片数,接触氧化槽总容积、转轴长度及污水在接触氧化槽的停留时间等。

(1)转盘总面积A

转盘总面积的确定通常采用负荷法。生物转盘常用的负荷参数有BOD5面积负荷率NA和水力负荷率Ng

面积负荷率NA是指单位盘片表面积在1d内能承受的并使转盘达到预期处理效果的BOD5的量,单位以gBOD5/(m2·d)表示;水力负荷率Ng则是指单位盘片表面积在1d内能够接收并使转盘达到预期处理效果的污水量,单位以m3/(m2·d)表示。

式中:Q——平均日污水量,m3/d;

 L0——原污水的BOD5值,mg/L;

 A——盘片总面积,m2

生物转盘处理城市污水时,BOD5值面积负荷率介于5~20gBOD5/(m2·d),首级转盘的负荷率不宜超过40~50gBOD5/(m2·d)。国外根据对处理水水质的要求不同,采用BOD5面积负荷率分别为20~40gBOD5/(m2·d)(处理水BOD5≤60mg/L)和10~20gBOD5/(m2·d)(处理水BOD5≤30mg/L)。水力负荷Ng在很大程度上取决于原污水的BOD5值,对于一般城市污水,此值多在0.08~0.2m3/(m2·d)。

确定了负荷率值后,转盘总面积可确定如下:

(2)转盘的总片数M

转盘的总片数M可由下面公式求得,圆形转盘直径为D,盘片数:

当转盘为多边形,单片转盘面积为a,盘片数:

式中分母中的2是考虑盘片双面均为有效面积。

(3)转盘的转轴长度L

假定采用n级(台)转盘,则每级转盘的盘片数m=。由m可进一步求得每级转盘的转轴长度:

式中:L——每级转盘的转轴长度,mm;

 m——每级转盘的盘片数;

 d——盘片间距,mm;

 b——盘片厚度,与转盘材料有关,一般取值为0.001~0.013m;

 K——考虑污水流动的循环沟道的系数,取1.2。

(4)接触反应槽的容积V

接触反应槽的容积与槽的断面形式有关,当采用半圆形接触反应槽时,其总有效容积V(m3)和净有效容积V′(m3)分别为:

式中:δ——盘片边缘与接触反应槽内壁之间的净间距,m。

0.294~0.335——系数,取决于转轴中心距水面高度r(一般为0.15~0.30m)与盘片直径D之比,当 =0.1时,可取值0.294;当 =0.06时,可取

值0.335。

(5)接触时间ta

污水在氧化槽内的平均接触时间(停留时间)为:

式中:ta——平均接触时间,h;

 V——氧化槽有效容积,m3

 Q——污水流量,m3/d。

【例4.4】 某住宅小区人口10000人,排水量标准100L/(人·d),经沉淀处理后BOD5值为135mg/L,处理水的BOD5值不得大于15mg/L。拟采用生物转盘处理,试进行生物转盘设计。

【解】 (1)确定设计参数

①平均日污水量:

10000×0.1=1000m3/d

②对处理水要求达到的BOD5去除率:

面积负荷率:NA=11gBOD5/(m2·d)

水力负荷率:Ng=110L/(m2·d)=0.11m3/(m2·d)

(2)转盘计算

①盘片总面积

按面积负荷率计算:

按水力负荷率计算:

两者所得数值接近,为稳妥计,采用较大的数据即12272m2

②当采用直径3.2m的盘片时,求盘片总片数,按式(4.86)计算。

③按5台转盘考虑,每台盘片数为153,即m值按155片设计。

每台转盘按单轴4级设计,首级转盘45片,第二级40片,第三、四级各35片。

④接触氧化槽的有效长度,盘片间距d取25mm,采用硬聚氯乙烯盘片,b值为4mm,有效长度按式(4.88)计算。

L=155×(25+4)×1.2=5394mm≈5.4m

即接触氧化槽全长取5.4m。

⑤接触氧化槽有效容积,按式(4.90)计算,采用半圆形接触氧化槽。r值取200mm,为0.0625,系数取0.294与0.335的中间值,即0.33,δ值取200mm。

V′=0.33×(3.2+2×0.2)2×(5.4-155×0.004)

=0.33×12.96×4.78=20.44m3

⑥污水在接触氧化槽内的停留时间:

4)生物转盘的发展

(1)空气驱动式生物转盘

如图4.60所示,在转盘边缘设集气槽,转盘下面偏离中心位置设曝气装置。空气离开曝气器后,在上升过程中被集气槽捕集,在转盘一侧产生浮力使之旋转。该工艺主要用于城市污水二级处理和氮素消化。

(2)合建式生物转盘

如图4.61所示为合建式生物转盘,合建式生物转盘将生物转盘与二次沉淀池合建为一体,将二沉池分成两层,中间用底板隔开,转盘在上层,沉淀区在下层。

图4.60 空气驱动式生物转盘

图4.61 合建式生物转盘

(3)活性污泥唱生物转盘复合工艺

如图4.62所示,在活性污泥曝气池上设生物转盘,以提高原有设备的处理效率。

图4.62 活性污泥唱生 物转盘复合工艺

图4.63 生物接触氧化池构造示意图

4.3.4 生物接触氧化法

生物接触氧化法的反应器为接触氧化池,也称为淹没式生物滤池。最早于20世纪70年代由日本首创,近20年来,该技术在国内外都取得了长足发展和广泛应用。生物接触氧化法就是在反应器中填加惰性填料,已经充氧的污水浸没并流经全部惰性填料,污水中的有机物与在填料上的生物膜充分接触,在生物膜上的微生物新陈代谢作用下,有机污染物质被去除。生物接触氧化法处理技术除了上述的生物膜降解有机物机理外,还存在与曝气池相同的活性污泥降解机理,即向微生物提供所需氧气,并搅拌污水和污泥使之混合,因此这种技术相当于在曝气池内填充供微生物生长繁殖的栖息地——惰性填料,所以此方法又称接触曝气法。

1)生物接触氧化池的构造

生物接触氧化池主要由池体曝气装置、填料床及进出水系统组成,如图4.63所示。

池体的平面形状多采用圆形、方形或矩形,其结构由钢筋混凝土浇注或用钢板焊制。池体的高度一般为4.5~5.0m,其中填料床高度为3.0~3.5m,底部布气高度为0.6~0.7m,顶部稳定水层为0.5~0.6m。填料是生物接触氧化池的重要组成部分,它直接影响污水的处理效果。由于填料是产生生物膜的固体介质,所以对填料的性能有如下要求:要求比表面积大、空隙率高、水流阻力小、流速均匀;表面粗糙、增加生物膜的附着性,并要外观形状、尺寸均一;化学与生物稳定性较强,经久耐用,有一定的强度;要就近取材,降低造价,便于运输。

目前,生物接触氧化池中常用的填料有蜂窝状填料、波纹板状填料及软性与半软性填料等,如图4.64和表4.14所示。

曝气系统由鼓风机、空气管路、阀门及空气扩散装置组成。目前常用的曝气装置为穿孔管,孔眼直径为5mm,孔眼中心距为10cm左右。布气管一般设在填料床下部,也可设在一侧。要求曝气装置布气均匀,并考虑到填料发生堵塞时能适当加大气量及提高冲洗能力。生物接触氧化池的曝气装置也可采用表面曝气供氧。

图4.64 生物接触氧化池中常用填料

表4.14 填料的有关性能指标

进水装置一般采用穿孔管进水,孔眼直径为5mm,间距20cm左右,水流出孔流速为2m/s。布水穿孔管可设在填料床的下部,也可设在填料床的上部,要求布水均匀。在填料床内,使得污水、空气、微生物三者充分接触,以便生物降解。要考虑填料床发生填塞时,为冲洗填料加大进水量的可能。

2)生物接触氧化池的形式

根据接触氧化池的进水与布气的形式,可将接触氧化池的形式分为以下几种:

(1)表面曝气充氧式

如图4.65所示,此种接触氧化池与活性污泥法完全混合曝气池相类似。其池中心为曝气区,池上面安装表面机械曝气设备,污水从池底中心配入,中心曝气区的周围充满填料,称之为接触区,处理水自下向上呈上向流,从池顶部出水堰流出,排出池外。

(2)采用鼓风曝气,底部进水、底部进空气式

如图4.66所示,处理水和空气均从池底部均匀布入填料床上,填料、污水在填料中产生上向流,填料表面的生物膜直接受水流和气流的冲击、搅拌,加速生物膜的脱落与更新,使生物膜保持良好的活性,有利于水中有机污染物质的降解,同时上向流可以避免填料堵塞现象。此外,上升的气泡经填料床时被切割为更小的气泡,使得气泡与水的接触面积增加,氧的转移率增高。

图4.65 生物接触氧化池的构造

(3)用鼓风曝气,空气管侧部进气,上部进水式

如图4.67所示,填料设在池的一侧,另一侧通入空气为曝气区,原水先进入曝气区,经过曝气充氧后,缓缓流经填料区与填料表面的生物膜充分接触,污水反复在填料区和曝气区循环,处理水在曝气区排出池体。由于空气和污水没有直接冲击填料,填料表面的生物膜脱落和更新较慢,但经曝气区充氧的污水,以相对静态的形式流过填料区,有利于污水中有机污染物的氧化分解。

图4.67 侧部进气、上部进水式生物接触氧化池

图4.66 底部进水、进气式生物接触氧化池 

3)生物接触氧化池的特点

在生物接触氧化池内安装有填料,在充氧的条件下充满污水,填料淹没在污水之中。污水以一定的流速流经填料,由于填料上已经挂有生物膜,污水与生物膜充分接触。在生物膜上微生物的新陈代谢作用下,污水中有机物得到去除,污水得到净化。因此,生物接触氧化池又称为淹没式生物滤池。

另外,生物接触氧化处理技术在处理过程中,采用与曝气池相同的曝气方法,提供微生物氧化有机物所需要的氧量,并起搅拌混合作用。这就相当于在曝气池中添加填料,供微生物栖息,所以又可将其称为接触曝气池。

综上所述,生物接触氧化是介于活性污泥法与生物滤池两者之间的处理技术,也可以说生物接触氧化法是具有活性污泥法特点的生物膜法,它综合了曝气池和生物滤池两者的优点。因此,应用广泛,在污水处理领域很受重视。

净化污水主要靠填料上的生物膜。此外池中尚存在一定浓度类似活性污泥的悬浮生物量,对污水也起一定的净化作用。

生物接触氧化池的优缺点:

①主要优点:对冲击负荷有较强的适应能力;污泥量少,不产生污泥膨胀,出水水质有保证;不产生滤池蝇,也不散发臭味;具有一定的脱氮除磷功能,可用于三级处理。

②主要缺点:若运行或设计不当,填料可能发生堵塞;布水、布气不易均匀。

4)生物接触氧化池工艺设计

(1)生物接触氧化池的工艺流程

对生物接触氧化池的工艺流程,可分为一级处理流程、二级处理流程和多级处理流程。

①一级处理流程。如图4.68所示,原污水先经初次沉淀池处理后进入生物接触氧化池,经接触氧化后,水中的有机物被氧化分解,脱落或老化的生物膜与处理水进入二次沉淀池进行泥水分离,经沉淀后,沉泥排出处理系统,二沉池沉淀后的水作为处理水排放。

图4.68 生物接触氧化技术一级处理流程

②二级处理流程。如图4.69所示,在二级处理流程中,两段接触氧化池串联运行,两个氧化反应池中间的沉淀池可以设也可以不设。在一级接触氧化池内,有机污染物与微生物比值较高,即F/M>2.2,微生物处于对数增殖期,BOD负荷率高,有机物去除较快,同时生物膜增长亦较快。在后级接触氧化池内,F/M一般为0.5左右,微生物增殖处于减速增 殖期或内源呼吸期,BOD负荷低,处理水水质提高。

图4.69 生物接触氧化技术二级处理流程

③多级处理流程。多级处理流程是连续串联3座或多个接触氧化池组成的系统。多级生物接触氧化池,在各池内的有机污染物的浓度差异较大,前级池内的BOD浓度高,后级则很低,因此在每个池内的微生物相有很大不同,前级以细菌为主,后级可出现原生动物或后生动物。这对处理效果有利,处理水水质非常稳定。另外,多级接触氧化池具有硝化和生物脱氮功能。

(2)生物接触氧化池的设计参数

①生物接触氧化池的个数或分格数应不少于两个,并按同时工作设计。

②填料的体积按填料容积负荷和平均日污水量计算。填料的容积负荷一般应通过试验确定。当无试验资料时,对于生活污水或以生活污水为主的城市污水,容积负荷一般为1000~1800g BOD5/(m3·d)。

③污水在滤池内的有效接触时间一般为1~2h。

④进水BOD5浓度应控制在100~250mg/L范围内。

⑤填料层总高度一般为3m。当用蜂窝填料时,一般应分层装填,每层高为1m,蜂窝孔径应不小于5mm。

⑥生物接触氧化池中的溶解氧含量一般应维持在2.5~3.5mg/L,气水比为(15~20)∶1。

⑦为保证布水、布气均匀,每格滤池面积一般应不大于25m2。(3)生物接触氧化池的计算

与其他生化处理构筑物类似,仍采用负荷率法。

①生物接触氧化池的有效容积(填料体积):

式中:V——滤池有效容积,m3

 Q——平均日污水量,m3/d;

 La——进水BOD5浓度,mg/L;

 Le——出水BOD5浓度,mg/L;

 N——容积负荷,gBOD5/(m3·d)。

②滤池总面积:

式中:F——滤池总面积,m2

 H——填料总高度,m,一般H=3m。

③滤池格数:

式中:n——滤池格数,个,n≥2个;

 f——每格滤池面积,m2,f≤25m2

④校核接触时间:

式中:t——滤池有效接触时间,h。

⑤滤池总高度:

式中:H0——滤池总高度,m;

 h1——超高,m,h1=0.5~0.6m;

 h2——填料上水深,m,h2=0.4~0.5m;

 h3——填料层间隙高,m,h3=0.2~0.3m;

 m——填料层数,层;

 h4——配水区高度,m,当采用多管曝气时,不考虑进入检修者h4=0.5m,考虑进入检修者h4=1.5m。

⑥需氧量:

式中:D——需气量,m3/d;

D0——每m3污水需气量,m3/m3

【例4.5】 已知某居民区污水量Q=2500m3/d,污水BOD5浓度La=100~150mg/L。拟采用生物接触氧化池处理,出水BOD5浓度Le≤20mg/L。试设计生物接触氧化池。

【解】 (1)确定设计参数

①平均时污水量:Q=2500m3/d=

=104m3/h

②进水BOD5浓度:La=150mg/L

③出水B0D5浓度:Le=20mg/L

④BOD5去除率:=0.867=86.7%

⑤根据试验资料确定:

a.填料容积负荷:N=1.5kgBOD5/(m3·d)

b.有效接触时间:t=2h

c.气水比:D0=15m3/m3

(2)生物接触氧化池计算

①有效容积:

②滤池总面积:设H=3m,分3层,每层高1m,故=72.2m2

③每格滤池面积:采用4格滤池,每格滤池面积

每格滤池尺寸:L×B=4.5m×4m

④有效接触时间:t==2.08h

⑤滤池总高度:H0=H+h1+h2+(m-1)h3+h4

其中取H=3.0m,h1=0.5m,h2=0.5m,h3=0.3m,m=3,h4=1.5m,则

H0=3.0+0.5+0.5+2×0.3+1.5=6.1m

⑥污水在池内实际停留时间:

⑦选用5mm蜂窝形玻璃钢填料,所需填料总体积:

V=nfH=4×18×3=216m3

⑧采用多孔管鼓风曝气供氧,所需空气量:

D=QD0=2500×15=37500m3/d

⑨每格滤池所需空气量:

⑩空气管路计算略。

4.3.5 生物流化床

1)生物流化床的构造

生物流化床是由床体、载体、布水装置、充氧装置和脱膜装置等部分组成,现分别简要阐述于下:

①床体。平面多呈圆形,多由钢板焊制,需要时也可以由钢筋混凝土浇灌砌制。

②载体。载体是生物流化床的核心部件,表4.15列举的是我国常用载体及其物理参数。表中所列数据是载体无生物膜覆盖条件下的数据,当载体为生物膜所包复时,生物膜的生长情况对其各项物理参数,特别是膨胀率产生明显的影响,这时的各项参数应根据具体情况实地测定确定。

③布水装置。均匀布水是生物流化床能够发挥正常净化功能的至为重要的环节,特别是对液动流化床(二相流化床)更为重要。布水不均可能导致部分载体沉积而不形成流化,使流化床的工作受到破坏。布水装置又是填料的承托层,在停水时,载体不流失,并易于再次启动。

表4.15 常用载体及其物理参数

注:本表所列为载体未被生物包复时的数据。

如图4.70所示为常用于液动流化床的几种布水装置。

图4.70 常用于液动流化床的几种布水装置

④脱膜装置。及时脱除老化的生物膜,使生物膜经常保持一定的活性,是生物流化床维持正常净化功能的重要环节。气动流化床一般不需另行设置脱膜装置。脱膜装置主要用于液动流化床,可单独另行设立,也可以设在流化床的上部。

如图4.71所示为叶轮脱膜装置,设于流化床上部,它利用叶轮的旋转所产生的剪切作用使生物膜与载体分离,脱落的生物膜从沉淀分离室的排泥管排出,载体则沉降并返回流化床体。

图4.71 叶轮脱膜装置

2)生物流化床的类型

生物流化床有两相生物流化床和三相生物流化床两种。

(1)两相生物流化床

两相生物流化床靠上升水流使载体流化,床层内只存在液固两相,其工艺流程如图4.72所示。

图4.72 两相生物流化床工艺流程

两相生物流化床设有专门的充氧设备和脱膜装置。污水经充氧设备充氧后从底部进入流化床。载体上的生物膜吸收降解污水中的污染物,使水质得到净化。净化水从流化床上部流出,经二次沉淀后排放。

流化床的生物量大,需氧量也大。原污水流量一般较小,溶解的氧量不能满足生物膜的需要,应采用回流的办法加大充氧水量。此外,原污水流量较小,不能使载体流化,也应采用回流的办法加大进水流量。因此,两相生物流化床需要回流。

纯氧或压缩空气的饱和溶解氧浓度较高。以纯氧为氧源时,充氧设备出水溶解氧浓度可达30~40mg/L;以压缩空气为氧源时,充氧设备出水溶解氧浓度约为9mg/L。

有机物的降解使生物膜增厚,悬浮颗粒(附着生物膜的载体)密度变小,随出水流失。需用脱膜装置脱掉生物膜,使载体恢复原有特性,重新附着生物膜。

(2)三相生物流化床

三相生物流化床靠上升气泡的提升力使载体流化,床层内存在着气、固、液三相。内循环式三相生物流化床工艺流程如图4.73所示。

三相生物流化床不设置专门的充氧和脱膜设备。空气通过射流曝气器或扩散装置直接进入流化床充氧。载体表面的生物膜依靠气体和液体的搅动、冲刷和相互摩擦而脱落。随出水流出的少量载体进入二沉池沉淀后再回流到流化床。

三相流化床操作简单,能耗、投资和运行费用比两相流化床低,但充氧能力比两相流化床差。

4.3.6 曝气生物滤池

曝气生物滤池是在普通生物滤池的基础上,借鉴给水滤池工艺开发的集生物降解和固液分离为一体的污水处理工艺,始于20世纪80年代末,具有处理流程短、基建投资少、能耗及运行成本低、出水水质好的特点。该工艺广泛用于城镇污水、小区生活污水、中水处理、生活杂排水和食品加工废水、酿造和造纸等废水处理。

根据曝气生物滤池水流方向的不同,可分为上向流滤池和下向流滤池,如图4.74和图4.75所示。上向流和下向流滤池的池型结构基本相同,早期的曝气生物滤池大多都是下向流态。上向流滤池具有不易堵塞、冲洗简便、出水水质好等优点,工程应用中采用较多。

1)曝气生物滤池的构造

曝气生物滤池在构造上与给水处理的快滤池类似。滤池底部设承托层,上部设滤料层。在承托层设置曝气和反冲洗用的空气管及空气扩散装置,处理水集水管兼作反冲洗配水管,也设置在承托层内。

图4.74 上向流曝气生物滤池

图4.75 下向流曝气生物滤池

(1)滤池池体

曝气生物滤池的形状有圆形、正方形、矩形三种,结构形式有钢结构和钢筋混凝土结构等。一般当处理水量较小、池体容积较小并为单座池时,采用圆形钢结构为多;当处理水量和池容较大,选用的滤池个数较多并考虑池体共壁时,采用矩形和方形钢筋混凝土结构较为经济。滤池的平面尺寸应能满足所需流态,布水、布气均匀,滤池安装和维护管理方便,尽量同其他处理构筑物尺寸相匹配。

(2)承托层

承托层用于支撑滤料,防止滤料流失和堵塞滤头,保持反冲洗稳定。承托层常用材质为卵石或磁铁矿,为保证承托层稳定,并使配水均匀,要求材质具有良好的机械强度和化学稳定性,形状尽量接近圆形,工程中一般选用鹅卵石作为承托层。

(3)布水系统

布水系统包括滤池最下部的配水室和滤板上的配水滤头。上向流滤池配水室的作用是使进入滤池的污水能在短时间内在配水室内混合均匀,并通过配水滤头均匀流向滤料层。布水系统除作为滤池运行时配水外,也是滤池反冲洗时的布水装置。下向流滤池布水系统主要用作滤池的反冲洗布水和收集净化水。

配水区的功用是在滤池正常运行时和滤池反冲洗时使水在整个滤池断面上均匀分布。进入滤池的污水先进入配水区,经一定程度混合后依靠承托滤板和滤头的阻力作用使污水在滤板下均匀、均质分布,通过滤板上大的滤头均匀流入滤料层。在气、水联合反冲洗时,配水区起到均匀配气作用。

曝气生物滤池在正常运行时一直处于曝气阶段,曝气造成的扰动足以使水均匀分布于整个滤池断面,单从进水方面看,配水设施没有一般给水滤池要求高,通常采用小阻力配水系统。滤池运行时,生物滤料层会截留部分悬浮颗粒,包括老化脱落的生物膜,增加了曝气生物滤池的过滤阻力,处理能力减小,出水水质下降,所以运行一定时间后,必须对滤池进行反冲洗,保证滤池正常运行。

如果布水系统设计不合理或安装达不到要求,使反冲洗配水不均匀,将产生下列不良后果:

①整个生物滤池冲洗不均匀,影响生物滤池对污染物的去除效果。

②冲洗强度大的区域,由于水流速度过大,会冲动承托层,甚至引起生物滤料与承托层混合,生物滤料流失,有时还会引起布气系统的松动,造成较大危害。

(4)布气系统

布气系统包括正常运行时曝气所需的曝气系统和进气/水联合反冲洗时的供气系统两部分。

曝气系统根据工艺所需供气量进行设计。保持曝气生物滤池中足够的溶解氧是维持曝气生物滤池生物膜高活性,对有机物和氨氮高去除率的必备条件,因此选择合适的充氧方式对曝气生物滤池的稳定运行十分重要。曝气生物滤池一般采用鼓风曝气形式,良好的充氧方式将促进氧吸收率的提高。

曝气生物滤池最简单的曝气装置是穿孔管。穿孔管属大、中气泡型,氧利用率较低,仅为3%~4%,其优点是不易堵塞、造价低。在应用中有将充氧曝气与反冲洗曝气共用同一套布气管的,由于充氧曝气需气量比反冲洗时需气量小,因此配气不易均匀。共用一套布气管虽然能减少投资,但因需气量不匹配,影响曝气生物滤池的稳定运行。

生物滤池一般采用专用曝气扩散器作为空气扩散装置,如德国PHILLPMULLER公司的OXAZUR空气扩散器、安徽工业大学开发的单孔膜空气扩散器专利产品等。单孔膜空气扩散器一般都安装在滤料承托层里,距承托板0.1~0.15m,使空气通过扩散器并流过滤料层时可达到30%以上的氧利用率,按一定间隔安装在空气管道上,空气管道又被固定在承托滤板上。该种扩散器不容易堵塞,即使堵塞也可以用水进行冲洗。

(5)反冲洗系统

曝气生物滤池反冲洗系统与给水处理中的V形滤池类似,采用气/水联合反冲洗,其目的是去除生物滤池运行过程中截留的各种颗粒及胶体污染物,以及老化脱落的生物膜。曝气生物滤池气/水联合反冲洗过程一般按以下步骤进行:

①降低滤池内的水位并单独气洗;

②采用气/水联合反冲洗;

③单独采用水洗。

在反冲洗过程中必须掌握好冲洗强度和冲洗时间,既要使截留物质被冲洗出滤池,又要避免对滤池过分冲刷,使生长在滤料表面的生物膜脱落而影响处理效果。

曝气生物滤池的反冲洗可通过运行时间、滤料层阻力损失、水质参数等来控制,一般是由在线检测仪表将检测数据反馈给PLC,并由PLC系统来自动操作和控制。

(6)出水系统

曝气生物滤池出水系统有周边出水和单侧堰出水等方式。在大、中型污水处理工程中,为工艺布置方便,一般采用单侧堰出水。

(7)自控系统

小型滤池的控制可以采用手动控制。由于大型城镇污水处理厂处理规模较大,一般有若干组滤池构成,在运行中可能还要根据需要进行滤池组间的切换,若采用手动控制,工作量较大且较难完成。为提高滤池的处理能力和对污染物的去除效果,需要设计必要的自控系统对滤池的运行进行控制。

2)曝气生物滤池特点

①气液在滤料间隙充分接触,由于气、液、固三相接触,氧的转移率较高,动力消耗较低;

②具有截留原污水中悬浮物与脱落的生物污泥的功能,无需设沉淀池,占地面积小;

③以3~5mm的小颗粒作为滤料,比表面积大,易被微生物附着;

④池内能够保持较高的生物量,加上滤料的截留作用,污水处理效果好;

⑤无需污泥回流,也无污泥膨胀问题,如反冲洗全部自动化,则维护管理也较方便。

⑥对进水的SS要求较高;

⑦水头损失较大,水的总提升高度较大;

⑧在反冲洗操作中,短时间内水力负荷较大,反冲出水直接回流入初沉池会造成较大的冲击负荷;

⑨设计或运行管理不当时,会造成滤料随水流失。

3)曝气生物滤池的设计计算

曝气生物滤池的工艺设计包括滤池池体和反冲洗系统设计两部分。

(1)设计参数

①滤池的池型可采用上向流或下向流两种进水方式。滤池个数(格数)一般不应少于2个。

②滤池前应设沉砂池、初沉池或絮凝沉淀池等预处理设施,进水悬浮固体浓度不宜大于60mg/L。曝气生物滤池后一般不设二沉池。

③池体高度应考虑配水区、承托层、滤料层、清水区和超高等,池体高度一般为5~7m。

④布水布气系统有滤头布水布气系统、穿孔板布水布气系统和大阻力布水布气系统。城市污水处理宜采用滤头布水布气系统。

⑤滤池宜分别设置充氧曝气和反冲洗供气布气系统。过滤速率为2~8m3/(m2·h),曝气速率为4~15m3/(m2·h)。曝气装置可采用单孔膜空气扩散器或穿孔管曝气。曝气管的位置宜设在承托层中。

⑥滤料承托层宜选用机械强度和化学稳定性良好的卵石,并按一定级配设置。其级配自上而下一般为2~4mm,4~8mm,8~16mm,高度分别为50mm,100mm,100mm。

⑦滤料层应选择具有强度高、不易磨损、孔隙率高、比表面积大、化学稳定性好、易挂膜、相对密度小、耐冲洗和不易堵塞的滤料,宜选用球形轻质多孔陶粒滤料或塑料球形滤料。滤料层高一般为2.0~4.5m。

⑧曝气生物滤池的容积负荷应通过试验确定,无条件试验时,曝气生物滤池的5日生化需氧量容积(以滤料计)负荷宜为3~6kgBOD5/(m3·d)、硝化容积负荷(以NH3唱N计)宜为0.1~0.5kgNH3唱N/(m3·d)、反硝化容积负荷(以H3唱N计)宜为0.8~4.0kgH3唱N/(m3·d)。

⑨反冲洗系统宜采用气/水联合反冲洗。反冲洗空气强度宜为10~15L/(m2·s),反冲洗水强度不应超过8L/(m2·s),工作周期一般为24~72h,冲洗时间为30~40min。

(2)设计方法

曝气生物滤池的设计计算一般采用容积负荷法。其步骤如下:

①滤料体积:

式中:V——滤料体积,m3

 S0——进水BOD5,mg/L;

 Q——污水流量,m3/d;

 LV——污水负荷,kgBOD5/(m3·d)。

②滤料面积:

式中:h3——滤料高度,m。

③校核水力负荷Lq(过滤速率):

此值应介于2~8m3废水/(m2滤池·h﹚。

④滤池总高度:

式中:H——滤池总高度,m;

 h1——滤池超高,m,一般取0.5m;

 h2——稳水层高度,m,一般取0.9m;

 h3——滤料高度,m;

 h4——承托层高度,m,一般取0.25~0.3m;

 h5——配水室高度,m,一般取1.5m。

⑤反冲洗系统计算。按设计要求选取适当的冲洗强度,然后按下式计算:

式中:Q——滤池冲洗需气量,m3

 q——空气冲洗强度,m3/(m2·h)

 A——滤池面积,m2

同理:

式中:Q——滤池冲洗需水量,m3

 q——水冲洗强度,m3/(m2·h)。

然后按设计要求校核冲洗水量,确定工作周期及冲洗时间。

【例4.6】 某污水厂污水量Q=6000m3/d,进水BOD5浓度S0=160mg/L,进水溶解BOD5浓度Se≤20mg/L。拟采用曝气生物滤池处理,试进行曝气生物滤池工艺设计计算。

【解】 ①曝气生物滤池滤料体积。拟采用陶粒滤料,BOD5容积负荷LV选用3.0kg唱BOD5/(m3·d)。

②曝气生物池面积。设滤料分两格,滤池高h3为3.5m,则曝气生物滤池面积为:

单格滤池面积:

滤池每格采用方形,单格滤池边长a为:

则设计的单格滤池面积为6.8×6.8≈46.2m2

③校核水力负荷Lq

水力负荷Lq介于2~8m3废水/(m2滤池·h﹚,满足要求。

④滤池总高:H=h1+h2+h3+h4+h5=0.5+0.9+3.5+0.3+1.5=6.7m

⑤反冲洗系统计算,采用气/水联合反冲洗。

a.空气反冲洗计算

选用空气冲洗强度为40m3/(m2·h),两格滤池轮流反冲,每格需气量:

Q=q×A=40×46.2=1848m3/h=30.8m3/min

b.水反冲洗计算

选用水冲洗强度为25m3/(m2·h),每格需水量:

Q=q×A=25×46.2=1155m3/h=19.3m3/min

c.工作周期以24h(1d)计,水冲洗每次15min,冲洗水量与处理水量比为:

(19.3×2×15﹚/6000=9.65%

4.3.7 生物膜法运行管理

1)生物膜的培养

正式运行前,有一个培养生物膜的挂膜阶段。在这个阶段,洁净的无膜滤床逐渐长出生物膜,处理效率和出水水质不断提高。当温度适宜时,挂膜阶段历时约一周。

处理含有毒有害物质的工业污水时,在滤池正常运行前,要有一个让微生物适应新环境、迅速繁殖壮大的阶段,称为驯化—挂膜阶段。驯化—挂膜有两种方式,一种方式是从其他工厂污水站或城市污水厂取来活性污泥或生物膜碎屑(都取自二次沉淀池),进行驯化、挂膜。可把取来的数量充足的污泥同工业污水、清水和养料按适当比例混合,喷灌生物滤池,出水进入二沉池,再用二次沉淀池的污泥和部分出水同工业污水和养料混合,喷灌生物滤池。在滤床明显出现生物膜迹象后,以二次沉淀池出水水质为参考,在循环中逐步调整工业污水和出水的比例,直到不用出水和回流污泥。这时,驯化—挂膜结束,运行进入正常状态。这种方式特别适用于试验性装置,但是,对大型生物滤池,由于需要的活性污泥量太多,这种方式是不现实的。另一种方式是先用生活污水、城市污水、河水进行运行和挂膜,然后逐渐增加工业污水进行驯化。

在挂膜驯化阶段时,一定要保证供氧量。自然通风供氧的生物滤池是在池底设置通风孔,废水的流向自上而下,气流则靠拔风作用自下而上运动。这种方法会使污水中易挥发有毒物质随气流带出池外,污染空气,所以有的处理厂在池顶增设水喷淋吸收设施,吸收液再送回池内处理。

机械抽风供氧的生物滤池的抽风方式分顺抽风和倒抽风两种方式。这时可用风机把排出的气体通过管子导入水浸式吸收罐或吸收塔,再送回滤池处理或直接在塔内做生物过滤处理。

生物膜法的投产与活性污泥处理装置投产相类似,有一个生物膜的培养与驯化阶段。这一阶段一方面是使微生物生长、繁殖直到滤料表面长满生物膜,微生物的数量满足污水处理的要求;另一方面则是使微生物能逐渐适应所处理的污水水质,即驯化微生物。可先将生活污水投配入滤池,待生物膜形成后(夏季时2~3周即达成熟),再逐渐加入工业废水,或直接将生活污水与工业废水的混合液投入滤池,或向滤池投配其他废水处理厂的生物膜或活性污泥等。当处理工业废水时,通常先投20%的工业废水量和80%生活污水量来培养生物膜。当观察到一定的处理效果时,逐渐加大工业废水量和生活污水量的比值,直到全部是工业废水时为止。当生物膜的培养与驯化结束,生物滤池便可按设计方案正常运行。

2)生物滤池运行中异常问题及其处理措施

在污水生物处理设备中,虽然生物滤池的运转故障是很少的,但仍具有产生故障的可能性。下面介绍一些常见问题及处理措施。

(1)滤池积水

滤池积水的原因有:滤料的粒径太小或不够均匀;由于温度的骤变使滤料破裂以致堵塞孔隙;初级处理设备运转不正常,导致滤池进水中的悬浮物浓度过高;生物膜的过度剥落堵塞了滤料间的孔隙;滤料的有机负荷过高。

滤池积水的预防和补救措施有:耙松滤池表面的滤料;用高压水流冲洗滤料表面;停止运行积水面积上的布水器,让连续的废水流将滤料上的生物膜冲走;向滤池进水中投配一定量的游离氯(15mg/L),历时数小时,隔周投配,投配时间可在晚间低流量时期,以减小氯的需要量;停转滤池一天或更长一些时间以便使积水滤干;对于有水封墙和可以封住排水渠的滤池,可用污水淹没滤池并持续至少一天的时间;如以上方法均无效时,可以更换滤料,这样做能比清洗旧滤料更经济。

(2)滤池蝇问题

滤池蝇是一种小型昆虫,幼虫在滤池的生物膜上滋生,成体蝇在池周围飞翔,可飞越普通的窗纱,进入人体的眼、耳、口鼻等处,它的飞翔能力仅为方圆数百米,但可随风飞的更远。滤池蝇的生长周期随气温的上升而缩短,从15℃的22d到29℃的7d不等。在环境干湿交替条件下发生最频。滤池蝇的危害主要是影响环境卫生。

防治滤池蝇的方法有:生物滤池连续进水不可间断;按照与减少积水相类似方法减少过量的生物膜;每周或隔周用污水淹没滤池一天;彻底冲淋滤池暴露部分的内壁,如尽可能延长布水横管,使废水能洒布于壁上,若池壁保持潮湿,则滤池蝇不能生存;在厂区内消除滤池蝇的避难所;在进水中加氯,使余氯为0.5~1mg/L,加药周期为1~2周,以避免滤池蝇完成生命周期;在滤池壁表面施药杀灭欲进入滤池的成蝇,施药周期4~6周即可控制池蝇,但在施药前应考虑杀虫剂对受纳水体的影响。

(3)臭味

滤池是好氧的,一般不会有严重的臭味,若有臭皮蛋味,则表明有厌氧条件。

臭味的防治措施有:维护所有设备(包括沉淀和废水系统)均为好氧状态;降低污泥和生物膜的积累量;当流量低时向滤池进水中短期加氯;出水回流;保持整个污水厂的清洁;避免出现堵塞的下水系统;清洗所有滤池通风口;将空气压入滤池的排水系统以加大通风量;避免高负荷冲击,如避免牛奶加工厂、罐头厂高浓度废水的进入,以免引起污泥的积累;在滤池上加盖并对排放气体除臭。此外,美国还曾经用加过氧化氢到初级塑料滤池出水,丹麦还曾用塑料球覆盖在滤池表面上除臭等方法。

(4)滤池表面结冰问题

滤池在冬天不仅处理效率低,有时还可能结冰,使其完全失效。

防止滤池结冰的措施有:减少出水回流倍数,有时可完全不回流,直至气候暖和为止;调节喷嘴,使之布水均匀;在上风向设置挡风屏;及时清除滤池表面出现的冰块;当采用二级滤池时,可使其并联运行,减少回流量或不回流,直至气候转暖。

(5)布水管及喷嘴的堵塞问题

布水管及喷嘴的堵塞使废水在滤料表面上分布不均,结果进水面积减少,处理效率降低。严重时大部分喷嘴堵塞,会使布水器内压增高而爆裂。

布水管及喷嘴堵塞的防治措施有:清洗所有孔口;提高初次沉淀池对油脂和悬浮物的去除率;维持滤池适当的水力负荷以及按规定布水器进行涂油润滑等。

(6)蜗牛、苔藓和蟑螂问题

蜗牛、苔藓及蟑螂等动物常见于南方地区,可引起滤池积水或其他问题。蜗牛本身无害,但其繁殖快,可在短期内迅速增多,死亡后,其壳可导致某些设备堵塞。

防治措施:在进水中加氯;用最大回流量冲洗滤池。

(7)生物膜过厚的问题

生物膜内部厌氧层的异常增厚,可发生硫酸盐还原,污泥发黑发臭,可导致生物膜活性低下,大块脱落,使滤池局部堵塞,造成布水不均,不堵的部位流量及负荷偏高,出水水质下降。

防止生物膜过厚的措施有:加大回流量,借助水力冲脱过厚的生物膜;采取两级滤池串联,交替进水;低频进水,使布水器的转速减慢,从而使生物膜下降。

(8)滤池泥穴问题

在滤池表面形成一个个由污泥堆积成的凹坑,称其为滤池泥穴。泥穴的产生会影响到布水的均匀程度,并因此而影响处理效果。产生原因主要是石块或其他滤料太小或大小不均匀;石块或其他滤料因恶劣气候条件而破碎,引起堵塞;初沉池运行不良,使大量悬浮物进入。

滤池泥穴问题防治方法:在进水中加氯,剂量为游离氯5mg/L,或隔几周加氯数小时,最好在流量小时进行以减少用氯量,1mg/L氯即会抑制真菌的生长;使滤池停止运行1d或数天,使膜变干;使滤池至少淹没24h(当滤池壁坚固、不漏水,出水道也能堵塞时);当上述方法失效时,只能重新铺滤料,用新的滤料往往比用老的滤料经冲洗干净后再铺更经济。

3)生物转盘异常问题及其预防措施

一般来说,生物转盘是生化处理设备中最为简单的一种,只要设备运行正常,往往会获得令人满意的处理效果。但在水质、水量、气候条件大幅度变化的情况下,加上操作管理不慎,也会影响或破坏生物膜的正常工作,并导致处理效果的下降。常见的异常现象有如下几种。

(1)生物膜严重脱落

在转盘启动的两周内,盘面上生物膜大量脱落是正常的,当转盘采用其他水质的活性污泥来接种时,脱落现象更为严重。但在正常运行阶段,膜的大量脱落会给运行带来困难。产生这种情况的主要原因可能是由于进水中含有过量毒物或抑制生物生长的物质,如重金属、氯或其他有机毒物。此时应及时查明毒物来源、浓度、排放的频率与时间,立即将氧化槽内的水排空,用其他污水稀释。彻底解决的办法是防止毒物进入,如不能控制毒物进入时应尽量避免负荷达到高峰,或在污染源采取均衡的办法,使毒物负荷控制在允许的范围内。

pH突变是造成生物膜严重脱落的另一原因,当进水pH在6.0~8.5范围时,运行正常,膜不会大量脱落。若进水pH急剧变化,在pH小于5或大于10.5,将导致生物膜大量脱落。此时,应投加化学药剂予以中和,以使进水pH保持在6.0~8.5的正常范围内。

(2)产生白色生物膜

当进水发生腐败或含有高浓度的硫化物如硫化氢、硫化钠、硫酸钠等,或负荷过高使氧化槽内混合液缺氧时,生物膜中硫细菌(如贝氏硫细菌或发硫细菌)会大量繁殖,并占优势。有时除上述条件外,进水偏酸性,使膜中丝状真菌大量繁殖。此时,盘面会呈白色,处理效果大大下降。

防止产生白色生物膜的措施有:对原水进行预曝气;投加氧化剂(如水、硝酸钠等),以提高污水的氧化还原电位;对污水进行脱硫预处理;消除超负荷状况,增加第一级转盘的面积,将一、二级串联运行改为并联运行以降低第一级转盘的负荷。

(3)固体的累积

沉砂池或初沉池中悬浮固体去除率不佳,会导致悬浮固体在氧化槽内积累并堵塞污水进入的通道。挥发性悬浮固体(主要是脱落的生物膜)在氧化槽内大量积累也会产生腐败、发臭、并影响系统运行。

在氧化槽中积累的固体物数量上升时,应用泵将其抽出,并检验固体的类型,以针对产生累积的原因加以解决。如属原生固体积累,则应加强生物转盘预处理系统的运行管理;若系次生固体积累,则应适当增加转盘的转速,增加搅拌强度,使其便于同出水一道排出。

(4)污泥漂浮

从盘片上脱落的生物膜呈大块絮状,一般用二沉池加以去除。二沉池的排泥周期通常采用4h。周期过长会产生污泥腐化;周期过短,则会加重污泥处理系统的负担。当二沉池去除效果不佳或排泥不足或排泥不及时等都会形成污泥漂浮现象。由于生物转盘不需要回流污泥,污泥漂浮现象不会影响转盘生化需氧量(BOD)的去除率,但会严重影响出水水质。因此,应及时检查排污设备,确定是否需要维修,并根据实际情况适当增加排泥次数,以防止污泥漂浮现象的发生。

(5)处理效率降低

凡存在不利于生物的环境条件,皆会影响处理效果,主要有以下几个方面:

①污水温度下降。当污水温度低于13℃时,生物活性减弱,有机物去除率降低。

②流量或有机负荷的突变。短时间的超负荷对转盘影响不大,持续超负荷会使BOD去除率降低。大多数情况下,当有机负荷冲击小于全日平均值的2倍时,出水效果下降不多。在采取措施前,必须先了解存在问题的确切程度,如进水流量、停留时间、有机物去除率等。如属昼夜瞬时冲击,则很容易人工调整排放污水时间或设调节池予以解决;若长时期流量或负荷偏高,则必须从整个布局上加以调整。

③pH。氧化槽内pH必须保持在6.5~8.5范围内,进水pH一般要求调整在6~9范围内,通过适当驯化,可以将适应范围略微扩大。但只要超出适应范围,污水处理效率明显下降。

4.4 污水的厌氧生物处理

厌氧生物处理,又称为厌氧消化法或厌氧发酵法,是指在无溶解氧(DO)条件下通过厌氧微生物(包括兼性厌氧微生物)作用,将废水中的各种复杂有机物分解转化成甲烷和二氧化碳等物质的过程。厌氧生物处理技术不仅用于有机污泥和高浓度有机废水的处理,而且能有效地处理城市污水等低浓度污水。

4.4.1 厌氧理论

1)厌氧生物处理对象

(1)有机污泥

有机污泥包括废水好氧生物处理过程生成的大量活性污泥和生物膜、初次沉淀池可沉淀的有机固体,以及人畜的粪便等。上述物质是极不稳定的,有恶臭,并带有病原菌和寄生虫卵等,应妥善处理。

(2)有机废水

食品工业如酒精、味精、制糖、淀粉、屠宰和啤酒等工业排出的废水,不仅数量多,而且浓度也很高。未经处理排入环境,对水体造成了很大危害。对这些以农牧产品为原料的加工工业排出的高浓度有机废水,是厌氧生物处理的主要对象。

2)厌氧生物处理的目的

①通过厌氧生物处理可杀菌灭卵、防蝇除臭、以防传染病的发生和漫延。粪便无害化的卫生评价一般把蛔虫卵的死亡率作为卫生评价的指标。如蛔虫卵杀灭了,其他虫卵和细菌也就基本杀死了。一般高温厌氧可杀死蛔虫卵95.6%~99.7%,中温厌氧可杀死60%左右。

②通过厌氧生物处理可去除废水中的大量有机物,防止对水体的污染。

③利用污水厂污泥和高浓度有机废水产生沼气可获得可观的生物能。如产生1t酒精要排出约14m3糟液,每m3糟液可产生沼气18m3,则每生产1t酒精其排出的糟液可产生约250m3的沼气。其发热量约相当于250kg煤。

④厌氧发酵后,固体量一般可减少约1/2,并提高了污泥的脱水性能,有利于污泥的运输、利用和处置。厌氧法能产生大量沼气,国外有些污水厂利用污泥消化产生的沼气发电,能源能做到基本自给或解决约60%。至于高浓度有机废水(如酒精废液)的厌氧处理,回收的生物能(沼气)不仅自给,而且可向社会提供大量的能源,是产能型的废水处理方法。

3)厌氧生物处理基本原理

厌氧生物处理是一个复杂的微生物化学过程,依靠三大主要类群的细菌,即水解产酸细菌、产氢产乙酸细菌和产甲烷细菌的联合作用完成,因而可将厌氧消化过程划分为3个连续阶段,既水解酸化阶段、产氢产乙酸阶段和产甲烷阶段。

(1)第一阶段为水解酸化阶段

复杂的大分子、不溶性有机物先在细胞外酶的作用下水解为小分子、溶解性有机物,然后转入细胞体内,分解产生挥发性有机酸、醇类、醛类等。这个阶段主要产生较高级脂肪酸。

碳水化合物、脂肪和蛋白质的水解酸化过程分别为:

由于简单碳水化合物的分解产酸作用,要比含氮有机物的分解产氨作用迅速,故蛋白质的分解在碳水化合物分解后产生。

含氮有机物分解产生的NH3除了提供合成细胞物质的氮源外,在水中部分电离,形成NH4 HCO3,具有缓冲消化液pH的作用,有时也把继碳水化合物分解后的蛋白质分解产氨过程称为酸性减退期,其反应为:

(2)第二阶段为产氢产乙酸阶段

在产氢产乙酸细菌的作用下,第一阶段产生的各种有机酸和醇类被分解转化成乙酸和H2,在降解奇数碳素有机酸时还形成CO2,如:

(3)第三阶段为产甲烷阶段

产甲烷细菌将乙酸(乙酸盐)、CO2和H2等转化为甲烷。此过程由两类生理功能截然不同的产甲烷菌完成,一类把H2和CO2转化成甲烷,另一类从乙酸或乙酸盐脱羧产生CH4,前者约占总量的1/3,后者约占2/3,其反应式为:

上述三个阶段的反应速度依废水性质而异,在含纤维素、半纤维素、果胶和脂类等污染物为主的废水中,水解作用易成为速度限制步骤;简单的糖类、淀粉、氨基酸和一般的蛋白质均能被微生物迅速分解,对含这类有机物为主的废水,产甲烷反应易成为限速阶段。

综上,厌氧消化三阶段的模式如图4.76所示。

图4.76 有机物厌氧消化三阶段模式图

虽然厌氧消化过程从理论上可分为以上3个阶段,但是在厌氧反应器中,这3个阶段是同时进行的,并保持某种程度的动态平衡,这种动态平衡一旦被pH、温度、有机负荷等外加因素所破坏,则首先将使产甲烷阶段受到抑制,其结果会导致低级脂肪酸的积存和厌氧进程的异常变化,甚至会导致整个厌氧消化过程停滞。

4)厌氧微生物

厌氧生物处理是以厌氧细菌为主而构成的微生物生态系统。厌氧细菌有两种,一种是只要有氧存在就不能生长繁殖的细菌,称为绝对厌氧菌;另一种是不论有氧存在与否都能增长的细菌,称为兼性厌氧细菌(也称兼性细菌)。

(1)参与第一阶段的微生物

第一阶段的微生物包括细菌、真菌和原生动物,统称水解与发酵细菌,大多数为专性厌氧菌,也有不少兼性厌氧菌。根据其代谢功能可分为以下几类:

①纤维素分解菌:参与对纤维素的分解,纤维素的分解是厌氧消化的重要一步,对消化速度起着制约作用。这类细菌利用纤维素并将其转化为CO2、H2、乙醇和乙酸。

②碳水化合物分解菌:这类细菌的作用是水解碳水化合物成葡萄糖,以具有内生孢子的杆状菌占优势。丙酮、丁醇梭状芽孢杆菌(Clostridium Acetobuty Licum)能分解碳水化合物产生丙酮、乙醇、乙酸和氢等。

③蛋白质分解菌:这类细菌的作用是水解蛋白质形成氨基酸,进一步分解成为硫醇、氨和硫化氢,以梭菌占优势。非蛋白质的含氮化合物,如嘌呤、嘧啶等物质也能被其分解。

④脂肪分解菌:这类细菌的功能是将脂肪分解成简易脂肪酸,以弧菌占优势。

原生动物主要有鞭毛虫、纤毛虫和变形虫。真菌主要有毛霉(Mucor)、根霉(Rhizo唱pus)、共头霉(Syncephalastrum)、曲霉(Aspergillus)等,真菌参与厌氧消化过程,并从中获取生活所需能量,但丝状真菌不能分解糖类和纤维素。

(2)参与厌氧消化第二阶段的微生物

第二阶段的微生物是一群极为重要的菌种——产氢产乙酸菌以及同型乙酸菌。国内外一些学者已从消化污泥中分离出产氢产乙酸菌的菌株,其中有专性厌氧菌和兼性厌氧菌。它们能够在厌氧条件下,将丙酮酸及其他脂肪酸转化为乙酸、CO2,并放出H2。同型乙酸菌的种属有乙酸杆菌,它们能够将CO2、H2转化成乙酸,也能将甲酸、甲醇转化为乙酸。由于同型乙酸菌的存在,可促进乙酸形成甲烷的进程。

(3)参与厌氧消化第三阶段的微生物

第三阶段的微生物是甲烷菌或称为产甲烷菌(Methanogens),是甲烷发酵阶段的主要细菌,属于绝对的厌氧菌,主要代谢产物是甲烷。甲烷菌常见的有4类:

①甲烷杆菌:杆状细胞,连成链或长丝状,或呈短而直的杆状;

②甲烷球菌:球形细胞,呈正圆或椭圆形,排列成对或成链;

③甲烷八叠球菌:可繁殖成为有规则的、大小一致的细胞,堆积在一起;

④甲烷螺旋菌,呈有规则的弯曲杆状和螺旋丝状。

5)厌氧生物处理的影响因素

图4.77 温度与有机物负荷、产气量关系图

因甲烷菌对环境条件的变化最为敏感,其反应速度决定了整个厌氧消化的反应进程,因此厌氧反应的各项影响因素也以对甲烷菌的影响因素为准。

(1)温度因素

甲烷菌对于温度的适应性可分为两类,即中温甲烷菌(适应温度区为30~36℃)和高温甲烷菌(适应温度区为50~53℃)。两区之间的温度,反应速度反而减退,说明消化反应与温度之间的关系是不连续的。温度与有机物负荷、产气量关系如图4.77所示。利用中温甲烷菌进行厌氧消化处理的系统叫中温消化,利用高温甲烷菌进行消化处理的系统叫高温消化。从图4.77可知,中温消化条件下,有机物负荷为2.5~3.0kg/(m3·d),产气量为1~l.3m3/(m3·d);而高温消化条件下,有机物负荷为6.0~7.0kg/(m3·d),产气量为3.0~4.0m3/(m3·d)。

图4.78 温度与消化时间的关系

中温或高温厌氧消化允许的温度变动范围为±1.5~2.0℃。当有±3℃的变化时,就会抑制消化速率;有±5℃的急剧变化时,就会突然停止产气,使有机酸大量积累而破坏厌氧消化。消化温度与消化时间的关系如图4.78所示。消化时间是指产气量达到总量90%的所需时间。由图4.78可知,中温消化的消化时间为20~30d,高温消化为10~15d。因中温消化的温度与人的体温接近,故对寄生虫卵及大肠菌的杀灭率较低;高温消化对寄生虫卵的杀灭率可达99%。

(2)污泥投配率

污泥投配率是指每日投加新鲜污泥体积占消化池有效容积的百分数。

投配率是消化池设计的重要参数,投配率过高,消化池内脂肪酸可能积累,pH下降,污泥消化不完全,产气率降低;投配率过低,污泥消化完全,产气率较高,消化池容积大,基建费用增高。根据我国污水处理厂的运行经验,城市污水处理厂污泥中温消化的投配率以5%~8%为宜,相应的消化时间为12.5~20d。

(3)搅拌和混合

厌氧消化是由细菌体的内酶和外酶与底物进行的接触反应,所以必须使两者充分混合。搅拌的方法一般有消化气循环搅拌法、泵加水射器搅拌法和混合搅拌法等。

(4)营养与C/N比

厌氧消化池中,细菌生长所需营养由污泥提供。合成细胞所需的碳(C)源担负着双重任务,其一是作为反应过程的能源,其二是合成新细胞。污泥细胞质(原生质)的分子式是C5 H7 NO2,即合成细胞的C/N比约为5∶1,因此要求C/N达到(10~20)∶1为宜。如C/N太高,细胞的氮量不足,消化液的缓冲能力低,pH易降低;C/N太低,氮量过多,pH可能上升,胺盐容易积累,会抑制消化进程。根据统计结果,各种污泥的C/N见表4.16。

表4.16 各种污泥底物含量及C/N

从C/N看,初次沉淀池污泥的营养成分比较合适,混合污泥次之,而活性污泥不太适宜单独进行厌氧消化处理。

(5)有毒物质

所谓有毒是相对的,事实上任何一种物质对甲烷消化都有两方面的作用,即有促进与抑制甲烷细菌生长的作用,关键在于它们的浓度界限,即毒阈浓度。

表4.17列举了某些物质的毒阈浓度。低于毒阈浓度下限,对甲烷细菌生长有促进作用;在毒阈浓度范围内有中等抑制作用,如果浓度是逐渐增加,则甲烷细菌可被驯化;超过毒阈浓度上限,则对甲烷细菌有强烈的抑制作用。

表4.17 某些物质的毒阈浓度

在消化过程中对消化有抑制作用的物质主要有重金属离子、S2-、NH3、有机酸等。

重金属离子对甲烷消化的抑制作用体现在2个方面:一是与酶结合,产生变性物质,使酶的作用消失;二是重金属离子及氢氧化物的絮凝作用,使酶沉淀。

但重金属的毒性,可以用络合法降低。例如当锌的浓度为1mg/L时,具有毒性,用硫化物沉淀法,加入Na2 S后,产生ZnS沉淀,毒性得到降低。多种金属离子共存时,毒性有互相拮抗作用,允许浓度可提高。

阴离子的毒害作用,主要是S2-,其来源有两方面:由无极硫酸盐还原而来;由蛋白质分解释放。硫的有利方面是:低浓度硫是细菌生长所需要的元素,可促进消化进程;硫直接与重金属络合形成硫化物沉淀。硫的有害方面是:若重金属离子较少,则消化液中将产生过多的H2 S释放而进入消化气中,降低消化气的质量并腐蚀金属设备(管道、锅炉等)。

氨来源于有机物的分解,可在消化液中离解成 ,其浓度由pH决定。当有机酸积累,pH降低,NH3浓度减小, 浓度增大。当 浓度超过150mg/L时,消化即受到抑制。

(6)酸碱度、pH和消化液的缓冲作用

甲烷菌对pH的适应范围在6.6~7.5,即只允许在中性附近波动。在消化系统中,如果第一、二阶段的反应速率超过产甲烷阶段,则pH会降低,影响甲烷菌的生活环境。但由于消化液的缓冲作用,在一定范围内可以避免发生这种情况。缓冲剂是在有机物分解过程中产生的,即消化液中的CO2(碳酸)及NH3(以NH3的形式存在,NH4一般是以 NH4 HCO3存在)。因此要求消化液有足够的缓冲能力,应保持碱度在2000mg/L以上。

6)厌氧生物处理的特点

厌氧生物处理具有下列优点:

①处理成本低。在废水处理成本上比好氧处理要便宜得多,特别是对中等以上浓度(COD>1500mg/L)的废水更是如此。厌氧法成本的降低主要由于动力的大量节省、营养物添加费用和污泥脱水费用的减少,即使不计沼气作为能源所带来的收益,厌氧法也仅约为好氧法成本的1/3;如所产沼气能被利用,则费用更会大大降低,甚至带来相当的利润。

②低能耗。厌氧处理不但能源需求很少而且还能产生大量的能源。厌氧法处理污水可回收沼气。回收的沼气可用于锅炉燃料或家用燃气。当处理水COD在4000~5000mg/L,回收沼气的经济效益较好。

③应用范围广。厌氧生物处理技术比好氧生物处理技术对有机物浓度适应性广。好氧生物处理只能处理中、低浓度有机污水,而厌氧生物处理则对高、中、低浓度有机污水均能处理。

④污泥负荷高。厌氧反应器容积负荷比好氧法要高得多,单位反应器容积的有机物去除量也因此要高得多,特别是使用新一代的高速厌氧反应器更是如此。因此其反应器负荷高、体积小、占地少。厌氧法可直接处理高浓度有机废水和剩余污泥。

⑤剩余污泥量少。好氧法处理污水,因为微生物繁殖速度快,剩余污泥生成率很高。而厌氧法处理污水,由于厌氧世代时间很长、微生物增殖缓慢,因而处理同样数量的废水仅产生相当于好氧法1/10~1/6的剩余污泥;剩余污泥脱水性能好,脱水时可不使用或少使用絮凝剂,因此剩余污泥处理要容易得多;可减轻后续污泥处理的负担和运行费用;污泥高度无机化,可用作农田肥料或作为新运行的废水处理厂的种泥出售。

⑥厌氧方法对营养物的需求量较低。一般认为,若以可以生物降解的BOD为计算依据,好氧方法氮和磷的需求量为BOD∶N∶P=100∶5∶1,而厌氧方法为(350~500)∶5∶1。有机废水一般已含有一定量的氮和磷及多种微量元素,可满足厌氧微生物的营养要求,因此厌氧方法可以不添加或少添加营养盐。而好氧法处理单一有机物的废水,往往还需投加其他营养物,如N、P等,这就增加了运行费用。

⑦易管理。厌氧方法的菌种(例如厌氧颗粒污泥)可以在停止供给废水与营养的情况下保留其生物活性与良好的沉淀性能至少1年以上。这一特性为其间断地或季节性地运行提供了有利条件,厌氧颗粒污泥因此可作为新建厌氧处理厂的种泥出售。

⑧灵活性强。厌氧系统规模灵活,可大可小,设备简单,易于建设,无需昂贵的设备。目前处理工业废水的上流式厌氧污泥床反应器(UASB),从几十立方米到上万立方米的规模都运行良好。

厌氧生物处理存在以下缺点:

①厌氧法启动过程较长。因为厌氧微生物的世代期长,增长速率低,污泥增长缓慢,所以厌氧反应器的启动过程很长,一般启动期长达3~6个月,甚至更长,如要达到快速启动,必须增加接种污泥量,这就会增加启动费用。

②厌氧处理去除有机物不彻底。厌氧处理废水中有机物时往往不够彻底,一般单独采用厌氧生物处理不能达到排放标准,所以厌氧处理必须要与好氧处理相配合。

③厌氧微生物对有毒物质较为敏感。因此,如果对有毒废水性质了解不足或操作不当,可能导致反应器运行条件的恶化。

4.4.2 悬浮式厌氧生物处理法

1)厌氧接触法

(1)厌氧接触法工艺流程

图4.79 厌氧接触工艺流程

为了克服普通消化池不能持留或补充厌氧活性污泥的缺点,在消化池后设沉淀池,将沉淀污泥回流至消化池,形成了厌氧接触法。该系统既能控制污泥不流失、出水水质稳定,又可提高消化池内污泥浓度,从而提高设备的有机负荷和处理效率,如图4.79所示。

与普通厌氧消化池相比,它的水力停留时间大大缩短。有效处理的关键在于污泥沉降性能和污泥分离效率,由于厌氧污泥在沉淀池内继续产气所以其沉淀效果不佳。该工艺和消化工艺一样属于中低负荷工艺。一些具有高BOD5的工业废水采用厌氧接触工艺处理可得到很好的稳定性。厌氧接触工艺在我国已成功应用于酒精糟液的处理。

(2)厌氧接触法特点

与厌氧消化法相比,厌氧接触法具有以下特点:

①消化池污泥浓度高,其挥发性悬浮物的浓度一般为5~10g/L,耐冲击能力强。

②COD容积负荷一般为1~5kg/(m3·d),COD去除率为70%~80%;BOD5容积负荷为0.5~2.5kg/(m3·d),BOD5去除率为80%~90%。

③增设沉淀池、污泥回流系统和真空脱气设备,流程较复杂。

④适合处理悬浮物和COD浓度高的废水,生物量(SS)可达到50g/L。

(3)运行管理存在的问题

从消化池排出的混合液在沉淀池中进行固液分离有一定的困难,其主要原因如下:

①由于混合液中污泥上附着大量的微小沼气泡,易于引起污泥上浮。

②由于混合液中的污泥仍具有产甲烷活性,在沉淀过程中仍能继续产气,从而妨碍污泥颗粒的沉降和压缩,为了提高沉淀池中混合液的固液分离效果,目前采用以下几种方法脱气:真空脱气、热交换器急冷法、絮凝沉淀和用超滤静代替沉淀池,以改善固液分离效果。此外,为保证沉淀池分离效果,在设计时,沉淀池表面负荷应比一般废水沉淀池表面负荷小,一般不大于1m/h,混合液在沉淀池内停留时间比一般废水沉淀时间要长,可采用4h。

采用厌氧接触工艺可以处理含有少量悬浮物的废水。但悬浮物的积累同样会影响污泥的分离,同时悬浮物的积累会引起污泥中细胞物质比例的下降,从而会降低反应器处理效率。因此,对含悬浮物浓度较高的废水,在厌氧接触工艺之前采用分离预处理是必须的。

2)厌氧流化床

厌氧流化床(AFB)与好氧流化床工艺相同,只是在厌氧条件下运行。这种工艺是借鉴流化态技术的一种生物反应装置。它以小粒径载体充满床体内作为流化粒子,污水作为流化介质。当污水从床体底部采用一定范围的高的上流速度通过床体时,载体粒子表面长满厌氧生物膜并不断上、下流动,形成流态化。

图4.80 厌氧流化床

厌氧流化床反应器由于使用较小的微粒,因此形成比表面积很大的生物膜,生物浓度高,流态化又充分改善了有机质向生物膜传递的传质速率;同时克服了厌氧滤器中可能出现的短路和堵塞。为维持较高的上流速度,流化床反应器高度与直径的比例大于其他同类的反应器,同时采用较大的回流比(即出水回流量与原废水进液量之比)。与好氧流化床相比,厌氧流化床不需设充氧设备。滤床一般多采用粒径为0.2~1.0mm的细颗粒填料,如石英砂、无烟煤、活性炭、陶粒和沸石等,流化床密封并设有沼气收集装置如图4.80所示。

该工艺多用来处理COD浓度较高的工业生产有机废水,如酵母发酵废水、土霉素废水、豆制品废水、啤酒糖化废水、啤酒废水和屠宰废水等。由于填料处于流化状态,整个滤床的填料紊动、混合条件良好,床内生物膜微生物浓度可达20~30kgVSS/m3;基质与微生物的接触亦相当充分,致使单位容积滤床可承受较大的负荷。一般来说,在中温发酵条件下厌氧流化床的有机负荷率可达10~40kgCOD/(m3·d)。

该工艺控制较困难,管理较复杂,技术要求较高,投资和运行成本高,而且一些流化床反应器还需要一个单独的预酸化反应器,这使其造价更高,因而尚未普遍推广。

3)升流式厌氧污泥床

图4.81 UASB反应器工作原理示意

升流式厌氧污泥床(UASB)工艺是由荷兰人在20世纪70年代开发的,他们在研究用升流式厌氧滤池处理马铃薯加工废水和甲醇废水时取消了池内的全部填料,并在池子的上 部设置了气、液、固三相分离器,于是一种结构简单、处理效能很高的新型厌氧反应器便诞生了。UASB反应器一出现很快便获得广泛的关注与认可,并在世界范围内得到广泛的应用,到目前为止,UASB反应器是最为成功的厌氧生物处理工艺。

(1)UASB反应器原理

图4.81是UASB反应器工作原理的图示,污水尽可能均匀地引入反应器的底部,污水向上通过包含颗粒污泥或絮凝污泥床。厌氧反应发生在污水与污泥颗粒的接触过程,在厌氧状态下产生的沼气(主要是甲烷和二氧化碳)引起内部循环,这对于颗粒污泥的形成和维持有利。在污泥层形成的一些气体附着在污泥颗粒上,附着和没有附着的气体向反应器顶部上升,上升到表面的颗粒碰击气体发射板的底部,引起附着气泡的污泥絮体脱气。由于气泡释放,污泥颗粒将沉淀到污泥床的表面。附着和没有附着的气体被收集到反应器顶部的集气室。置于集气室单元缝隙之下的挡板的作用为气体反射器和防止沼气气泡进入沉淀区,否则将引起沉淀区的紊动,会阻碍颗粒沉淀,包含一些剩余固体和污泥颗粒的液体经过分离器缝隙进入沉淀区。

由于分离器的斜壁沉淀区的过流面积在接近水面时增加,因此上升流速在接近排放点降低。由于流速降低,污泥絮体在沉淀区可以絮凝和沉淀。积累在相分离器上的污泥絮体在一定程度将超过其保留在斜壁上的摩擦力,其将滑回反应区,这部分污泥又可与进水有机物发生反应。

UASB反应器最重要的设备是三相分离器,这一设备安装在反应器的顶部并将反应器分为下部的反应区和上部的沉淀区。为了在沉淀区中取得对上升流中污泥絮体/颗粒满意的沉淀效果,三相分离器第一个主要的目的就是尽可能有效地分离从污泥床(层)中产生的沼气,特别是在高负荷的情况下。集气室下面反射板的作用是防止沼气通过集气室之间的缝隙逸出到沉淀室。另外挡板还有利于减少反应室内高产气量所造成的液体絮动。UASB系统的原理是在形成沉降性能良好的污泥絮凝体的基础上,并结合在反应器内设置污泥沉淀系统,使气相、液相和固相三相得到分离。形成和保持沉淀性能良好的污泥(可以是絮状污泥或颗粒污泥)是UASB系统良好运行的根本点。

(2)UASB反应器的特性

UASB反应器的工艺特征是在反应器的上部设置气、液、固三相分离器,下部为污泥悬浮层区和污泥床区,污水从反应器底部流入,向上升流至反应器顶部流出,由于混合液在沉淀区进行固液分离,污泥可自行回流到污泥床区,这使污泥区可保持很高的污泥浓度。UASB反应器还具有一个很大特点是能在反应器内实现污泥颗粒化,颗粒污泥具有良好的沉降性能和很高的产甲烷活性。污泥的颗粒化可使反应器具有很高的容积负荷。UASB不仅适于处理高、中等浓度的有机污水,也用于处理如城市污水这样的低浓度有机污水。

UASB反应器的构造特点是集生物反应与沉淀于一体,结构紧凑,污水由配水系统从反应器底部进入,通过反应区经气、固、液三相分离器后进入沉淀区。气、固、液分离后,沼气由气室收集,再由沼气管流向沼气柜。固体(污泥)由沉淀区沉淀后自行返回反应区,沉淀后的处理水从出水槽排出。UASB反应器内不设搅拌设备,上升水流和沼气产生的气流足可满足搅拌需要,UASB反应器的构造简单,便于操作运行。

(3)UASB的构造

UASB反应器主要由下列几部分组成:

①布水器:即进水配水系统,其功能主要是将污水均匀地分配到整个反应器,并具有进水水力搅拌功能,这是反应器高效运行的关键之一。

②反应区:其中包括污泥床区和污泥悬浮层区,有机物主要在这里被厌氧菌所分解,是反应器的主要部位。

③三相分离器:是反应器最有特点和最重要的装置。由沉淀区、回流缝和气封组成。其功能是把气体(沼气)、固体(污泥)和液体分开,固体经沉淀后由回流缝回流到反应区,气体分离后进入气室。三相分离器的分离效果将直接影响反应器的处理效果。

④出水系统:其作用是把沉淀区水面处理过的水均匀地加以收集,排出反应器。

⑤气室:也称集气罩,其作用是收集沼气。

⑥浮渣清除系统:其功能是清除沉淀区液面和气室液面的浮渣,如浮渣不多可省略。

⑦排泥系统:其功能是均匀地排除反应区的剩余污泥。

UASB反应器可分为开敞式和封闭式两种。开敞式反应器是顶部不加密封,出水水面敞开,主要适用于处理中低浓度的有机污水;封闭式反应器是顶部加盖密封,主要适用于处理高浓度有机污水或含较多硫酸盐的有机污水。

UASB反应器断面一般为圆形或矩形,圆形一般为钢结构,矩形一般为钢筋混凝土结构。

(4)UASB反应器的运行效果

UASB反应器能滞留高浓度活性很强的颗粒状污泥,平均浓度达30~40kgSS/m3,使处理负荷大幅度提高,可达7~15kgCOD/(m3·d)。同时,又不需要污泥沉淀分离、脱气、搅拌、回流污泥等辅助装置,能耗也较低,因而已得到广泛应用。污泥床污泥密度较大,浓度可达到50~100kgSS/m3,悬浮层污泥浓度亦可达5kgSS/m3以上。

UASB反应器在所有高速厌氧反应器中是应用最为广泛的。从20世纪70年代末UASB反应器首次建立生产性装置以来,目前已有近500家生产规模UASB反应器投入运行,处理各种有机废水,例如各类发酵工业、淀粉加工、制糖、罐头、饮料、牛奶与乳制品、蔬菜加工、豆制品、肉类加工、皮革、造纸、制药、石油精炼及石油化工等各种来源的有机废水,见表4.18。目前最大的UASB反应器是荷兰Paques公司为加拿大建造的处理造纸废水的UASB反应器,其容积为15600m3,设计能力为日处理COD 185t。由于UASB具有结构简单、处理能力大、处理效果好、投资省等优点,因此受到人们的重视。

表4.18 UASB反应器运行效果与参数

4)厌氧膨胀床

(1)膨胀颗粒污泥床

图4.82 膨胀颗粒污泥床(EGSB)反应器

膨胀颗粒污泥床(EGSB)是在UASB反应器的基础上于20世纪80年代后期在荷兰农业大学环境系开始研究的新的厌氧反应器。EGSB反应器(图4.82)与UASB反应器的结构非常相似,所不同的是在EGSB反应器中采用高达2.5~6m/h的上流速度,这远远大于UASB反应器采用的0.5~2.5m/h上流速度。因此在EGSB反应器中颗粒污泥床处于部分或全部“膨胀化”状态,即污泥床的体积由于颗粒之间平均距离的增加而扩大。为了提高上流速度,EGSB反应器采用较大的高度与直径比和大的回流比。在高的上流速度和产气的搅拌作用下,废水与颗粒污泥间的接触更充分,因此可允许废水在反应器中有很短的水力停留时间,从而EGSB可处理较低浓度的有机废水。一般认为UASB反应器更宜于处理浓度高于1500mgCOD/L的废水,而EGSB在处理低于1500mgCOD/L的废水时仍能有很高的负荷和去除率。

EGSB反应器也可以看作是流化床反应器的一种改良,区别在于EGSB反应器不使用任何惰性的填料作为细菌的载体,细菌在EGSB中的滞留依赖细菌本身形成的颗粒污泥;同时EGSB反应器的上流速度小于流化床反应器,其中的颗粒污泥并未达到流态化的状态而只是不同程度的膨胀而已。

(2)厌氧生物膜膨胀床

厌氧生物膜膨胀床是为优化污水处理甲烷发酵工艺于1974年研究和开发出来的。与生物流化床相似。厌氧生物膜膨胀床亦是在床内填充细小的固体颗粒作为微生物附着生长的载体,但污水从床底部流入时仅使填料层膨胀而非流化,一般其膨胀率仅为10%~20%,此时颗粒间仍保持互相接触。膨胀床的床体多为圆柱形结构,由钢板或树脂强化玻璃辅以聚氯乙烯衬里而制成。载体多采用细小的固体颗粒填料,如石英砂、无烟煤、活性炭、陶粒和沸石等,其粒径一般介于0.2~1.0mm。当有厌氧菌形成的生物膜附着在载体上时,生物膜载体颗粒的粒径稍稍增大,一般为0.3~3.0mm。在污水处理过程中,尽管污水以上升流的形式垂直流动而使载体颗粒膨胀,但床内每个载体颗粒仍保持在与其他颗粒相邻近的位置上,而非像流化床内的载体那样无规则的自由流化。厌氧生物膜膨胀床单位反应器容积内微生物浓度一般可达30g/L,因而可承受的有机负荷达到40kgCOD/(m3· d);载体处于膨胀状态能防止滤床堵塞;床内微生物固体停留时间较长,从而可减少剩余污泥量。厌氧生物膜膨胀床工艺与膨胀颗粒污泥床相似。

5)厌氧折板反应器

(1)厌氧折板式反应器的构造和工艺流程

厌氧折板式反应器是美国1980年开发的一种新型厌氧活性污泥法。厌氧折板式反应器及废水处理工艺流程如图4.83所示。在反应器内垂直于水流方向设多块折板来保持反应器内较高的污泥浓度以减少水力停留时间。折板把反应器分为若干个上向流室和下向流室。上向流室比较宽,便于污泥聚集,下向流室比较窄,通往上向流的导板下部边缘处加60°的导流板,便于将水送至上向流室的中心,使泥水充分混合保持较高的污泥浓度。当废水COD浓度高时,为避免出现挥发性有机酸浓度过高,减少缓冲剂的投加量和减少反应器前端形成的细菌胶质的生长,处理后的水进行回流,使进水COD稀释至5~10g/L,当废水COD浓度较低时,不需进行回流。

图4.83 厌氧折板反应器工艺流程图

厌氧折板反应器是从研究厌氧生物转盘发展而来的,生物转盘的转动盘不动,全为固定盘,这样就产生了厌氧挡板反应器。厌氧折板反应器与厌氧转盘比较,可减少盘的片数和省去转动装置。厌氧挡板反应器实质上是一系列的升流式厌氧污泥床,由于挡板的截留,流失的污泥比升流式污泥床少,反应器内不设三相分离器。

(2)厌氧折板式反应器的特点

①反应器启动期短。试验表明,接种一个月后就有颗粒污泥形成,2个月就可投入稳定运行。

②避免了厌氧滤池、厌氧膨胀床和厌氧流化床的堵塞问题。

③避免了升流式厌氧污泥床因污泥膨胀而发生污泥流失问题。

④不需混合搅拌装置。

⑤不需载体。

4.4.3 附着式厌氧生物处理法

1)厌氧滤池

厌氧滤池(AF)是一种内部填充有微生物载体的厌氧生物反应器。厌氧微生物部分附着生长在填料上,形成厌氧生物膜,另一部分在填料空隙间处于悬浮状态。厌氧滤池是在反应器内充填各种类型的固体填料,如炉渣、瓷环、塑料等来处理有机废水,污水在流动过程中保持与生长着厌氧细菌的填料相接触,有机污染物被去除。细菌生长在填料上,不随出水流失。产生的沼气则聚集于池顶部罩内,并从顶部引出。处理水则由旁侧流出。为了分离处理水挟出的生物膜,一般在滤池后需设沉淀池。可以在较短的水力停留时间下取得较长的污泥龄,平均细胞停留时间长达100d以上。

(1)厌氧生物滤池的构造

厌氧生物滤池主要由滤料、布水系统、沼气收集系统组成。

①滤料。滤料是厌氧生物滤池的主体,其主要作用是提供微生物附着生长的表面及悬浮生长的空间,对滤料的要求:比表面积大,以利于增加厌氧生物滤池中的生物量;孔隙率高,以截留并保持大量悬浮微生物,同时也可防止堵塞;表面粗糙度较大,以利于厌氧细菌附着生长;机械强度高;化学和生物学稳定性好;质量轻;价格低廉等。

在厌氧滤池中经常使用的滤料有如下几种:

a.实心块状滤料:30~45mm的碎块,比表面积和孔隙率都较小,分别为40~50m2/m3 和50%~60%,此时厌氧生物滤池中的生物浓度较低,有机负荷也低,仅为3~6kgCOD/(m3·d),易发生局部堵塞,产生短流。

b.空心块状滤料:多用塑料制成,呈圆柱形或球形,内部有不同形状和大小的孔隙,比表面积和孔隙率都较大。

c.管流型滤料:包括塑料波纹板和蜂窝填料等,比表面积为100~200m2/m3,孔隙率可达80%~90%,有机负荷可达5~15kgCOD/(m3·d)。

d.交叉流型滤料。

e.纤维滤料:包括软性尼龙纤维滤料、半软性聚乙烯、聚丙烯滤料、弹性聚苯乙烯填料;比表面积和孔隙率都较大;偶有纤维结团现象;价格较低,应用普遍。

②布水系统。在厌氧生物滤池中布水系统的作用是将进水均匀分配于全池,因此在设计计算时,应特别注意孔口的大小和流速。与好氧生物滤池不同的是,因为需要收集所产生的沼气,厌氧生物滤池多是封闭式的,即其内部的水位应高于滤料层,将滤料层完全淹没。其中升流式厌氧生物滤池的布水系统应设置在滤池底部,这种形式在实际应用中较为广泛,一般滤池的直径为6~26m,高为3~13m;而降流式厌氧生物滤池的水流方向正好与之相反。升流式混合型厌氧生物滤池的特点是减小了滤料层的厚度,留出了一定空间,以便悬浮状态的颗粒污泥在其中生长和累积。

③沼气收集系统

厌氧生物滤池的沼气收集系统基本与厌氧消化池的类似。

(2)厌氧生物滤池的类型

按水流的方向厌氧生物滤池可分为两种主要形式,如图4.84所示。

图4.84 厌氧生物滤池的两种形式

废水向上流动通过反应器的厌氧滤池称为升流式厌氧滤池,当有机物浓度和性质适宜时采用的有机负荷可高达10~20kg/(m3·d)。另外还有下流式厌氧滤池,也叫下流式厌氧固定膜反应器(DSFF)。不管是什么形式,系统中的填料都是固定的,废水进入反应器内,逐渐被细菌水解酸化,转变为乙酸,最终被产甲烷菌矿化为CH4,废水组成随反应器不同高度而变化。因此微生物种群分布也相应的发生规律性变化。在废水入口处,产酸菌和发酵细菌占较大比例;随着水流方向,产乙酸菌和产甲烷菌逐渐增多并占据主导地位。

两种厌氧生物滤池的主要不同点是其内部液体的流动方向不同,在AF中,水从反应器底部进入,而在DSFF中,进水从反应器顶部进入,两种反应器均可用于处理低浓度或高浓度废水;DSFF由于使用了竖直排放的填料,其间距宽,因此能处理浓度相当高的悬浮性固体,而AF则不能。另外,在DSFF反应器中,菌胶团以生物膜的形式附着在填料上;而在AF中,菌胶团截留在填料上,特别是复合厌氧床反应器,即在厌氧滤池内有两种方式的生物量,其一是固定在填料表面的生物膜,其二是在反应器空间内形成的悬浮细菌聚集体。

(3)厌氧生物滤池的特点

①用于溶解性有机废水的厌氧处理,生物固体浓度高,有机负荷高,其有机负荷为0.2~16kgCOD/(m3·d)。

②无需污泥或出水回流。

③出水挟带污泥很少,较洁净。

④降流式较升流式厌氧生物滤池中的生物固体浓度的分布更均匀。

⑤剩余污泥量很少,有时几乎不存在排泥问题。

⑥当温度为30~35℃时,有机负荷率一般可达3~6kgCOD/(m3·d)(块状填料)、5~8kgCOD/(m3·d)(塑料填料),相应COD去除率可达80%以上。

⑦装置简单,工艺本身能耗少,运行管理方便;

⑧滤床底部容易发生堵塞,当采用块状填料时,进水中悬浮固体(SS)含量应以不超过 200mg/L为宜。当进水COD浓度过高(>8000或12000mg/L)时,应采用出水回流的措施:减少碱度的要求或降低进水COD浓度。

2)厌氧复合床反应器

图4.85 厌氧复合床反应器示意图

厌氧复合床反应器实际是将厌氧生物滤池与升流式厌氧污泥床反应器组合在一起,其示意图如图4.85所示。

厌氧复合床反应器下部为污泥悬浮层,而上部则装有填料。可以看做是将升流式厌氧生物滤池的填料层厚度适当减小,在池底布水系统与填料层之间留出一定的空间,以便悬浮状态的颗粒污泥和絮状污泥能在其中生长积累,因此又构成一个UASB处理工艺。当污水依次通过悬浮泥层及填料层,有机物将与污泥层颗粒污泥及填料生物膜上的微生物接触并得到稳定。与厌氧生物滤池相比,减少了填料层的高度,也就减少了滤池被堵塞的可能性;与升流式厌氧污泥床相比,可不设三相分离器,使反应器构造与管理简单化。填料层既是厌氧微生物的载体,又可截留水流中的悬浮厌氧活性污泥碎片,从而能使厌氧反应器保持较高的微生物量,并使出水水质得到保证。厌氧复合床反应器中填料层高度一般为反应区总高度的2/3,而污泥层的高度为反应区总高度的1/3。

厌氧复合床反应器综合了厌氧生物滤池与升流式厌氧污泥反应器的优点,克服了它们的缺点。实际应用中可以结合具体情况,将原厌氧生物滤池与升流式厌氧污泥反应器进行适当改造,即便不能提高处理效率,也可以起到便于操作管理的作用。比如在升流式厌氧污泥反应器的上部加设填料,可以不设三相分离器,使反应器构造简单化;将厌氧生物滤池下部的填料去掉一些,可以减少滤池被堵塞的可能性。

3)厌氧生物转盘

(1)厌氧生物转盘的构造

厌氧生物转盘在构造上类似于好氧生物转盘,即主要由盘片、传动轴与驱动装置、反应槽等部分组成。在结构上利用一根水平轴装上一系列圆盘,若干圆盘为一组,称为一级。厌氧微生物附着在转盘表面,并在其上生长。附着在盘板表面的厌氧生物膜,代谢污水中的有机物,并保持较长的污泥停留时间。厌氧生物转盘的构造如图4.86所示。

图4.86 厌氧生物转盘的构造图

(2)厌氧生物转盘的特点

生物转盘中的厌氧微生物主要以生物膜的附着生长方式,适合于繁殖速度很慢的甲烷菌的生长。厌氧微生物代谢有机物的条件是在无分子氧条件下进行,构造上有如下特点:

①微生物浓度高,可承受高额的有机物负荷,一般在中温发酵条件下,有机物面积负荷可达0.04kgCOD/(m3盘片·d)左右,相应的COD去除率可达90%左右;

②废水在反应器内按水平方向流动,不需提升废水,从这个意义来说是节能的;

③勿需处理水回流,与厌氧膨胀床和流化床相比较既节能又便于操作;

④可处理含悬浮固体较高的废水,不存在堵塞问题;

⑤由于转盘转动,不断使老化生物膜脱落,使生物膜经常保持较高的活性;

⑥具有承受冲击负荷的能力,处理过程稳定性较强;

⑦可采用多种串联,各级微生物处于最佳的条件下;

⑧便于运行管理。

厌氧生物转盘的主要缺点是盘片成本较高,使整个装置造价很高。

4.4.4 两相厌氧消化

两相消化法就是根据消化机理,把第一、二阶段与第三阶段分别在两个消化池中进行,使各自都在最佳环境条件中进行消化,使各相消化池具有更适合于消化过程三个阶段各自的菌种群生长繁殖的环境。

两相消化中第一相消化池容积的设计:投配率采用100%,即停留时间为1d;第二相消化池容积采用投配率为15%~17%,即停留时间6~6.5d。池型与构造完全同前,第二相消化池有加温、搅拌设备及集气装置,消化池的容积产气量为1.0~1.3m3/m3,每去除1kg有机物的产气量为0.9~1.1m3/kg。

两相消化具有池容积小、加温与搅拌能耗少、运行管理方便、消化更彻底的特点。

1)两相厌氧生物处理的组成

两相厌氧生物处理法工艺流程,一般如图4.87所示,工艺流程由两大部分组成。

图4.87 两相厌氧处理法工艺流程

(1)酸化反应器

这是有机物的水解、酸化部分,一般采用完全混合方式厌氧(或缺氧)反应器。这样,不仅可使物料在反应器中均匀分布,而且即使进水中含一定量悬浮固体时,也不至于影响反应器的正常运行。反应器出流经沉淀进行固液分离后,部分污泥回流至酸化罐,以保持罐中有一定的污泥浓度,剩余污泥排放。上清液由沉淀池上部流出,作为下一步反应器(气化罐)的进水。

(2)气化反应器

有机物经水解、酸化后,在气化反应器内继续分解产气(沼气),一般采用上流式厌氧污泥床成厌氧过滤床、膨胀床等。甲烷菌利用有机物酸化产物(低分子有机酸、醇类)为养料进行发酵产气,故称这一部分的反应器为气化反应器或甲烷反应器。反应过程中产生的沼气自气化罐顶部收集后引出利用。

2)两相厌氧生物处理的工艺特点

①有机物的酸化和气化是分隔在两个独立的反应器进行,可提供产酸菌和甲烷菌各自最佳的生长条件,并获得各自较高的反应速率,以及良好的反应器运行情况。

②当进水有机物负荷变化时,由于酸化罐存在的缓冲作用,对后接气化罐的运行,影响不致过大。或者说,两相厌氧处理法具有一定的耐冲击负荷能力,运行稳定。

③两相厌氧处理法系统的总有机负荷率较高,致使反应器的总容积比较小。如在酸化反应器中,反应过程快、水力停留时间短、有机负荷率高。一般在反应30~35℃情况下,水力停留时间为10~24h,有机负荷率为25~60kgCOD/(m3·d)(相当于厌氧产气反应器的3~4倍)。故有机物在酸化过程中所需的反应器容积是相当小的。而且,经过酸化过程后,废水的COD一般可被去除20%~25%,进入气化罐的有机物负荷量就可减少,相应容积也随之减少。

④采用两相厌氧处理法后,进入气化罐的废水水质情况有所改善,如有机物酸化降解为低分子有机酸,水中所含悬浮固体减少较多,使得气化罐运行条件良好。在这种情况下,反应器的COD去除率及产气率有所提高。一般在中温发酵(30~35℃)情况下,COD总去除可达90%,总产气率达3m3/(m3·d)左右。

⑤由于两相厌氧处理法的反应器总容积较小,相应基本费用降低。

4.5 污水的深度处理与回用

污水深度处理是指进一步去除二级处理出水中特定污染物的净化过程,包括以排放水体作为补充地下水源为目的的三级处理和以回用为目的的深度处理。主要处理工艺有沉淀法、粒状材料过滤法、活性炭吸附法、膜处理法、离子交换法和消毒等。

由于水资源的日益缺乏,污水已作为一种水资源进行再生处理和回用,再生水水质指标高于排放标准但又低于饮用水卫生标准。污水的深度处理是对城市污水二级处理厂的出水进一步进行处理,以去除其中的悬浮物和溶解性无机物与有机物等,使之达到相应的水质标准。污水深度处理后利用途径不同,处理的水质目标也不同,在前述技术中选择一种或几种工艺按照实用、经济、高效、运行稳定、操作管理方便的原则,通过技术经济比较后组合成相应的深度处理工艺。根据污水二级处理技术净化功能对城市污水所能达到的处理程度,一般情况下,污水中还含有相当数量的有机污染物、无机污染物、植物性营养盐,还可能含有细菌和重金属等有毒有害物质。

对二级处理后污水回用进行进一步深度处理的对象是:

①去除水中残存的悬浮物(包括活性污泥颗粒);脱色、除臭,使水进一步澄清。

②进一步降低水中的BOD5、COD、TOC等含量,使水进一步稳定。

③进行脱氮除磷,消除能够导致水体富营养化的因素。

④进行消毒杀菌,去除水中有毒有害物质。

深度处理后的污水应能达到的目标:

①排放至包括具有较高经济价值的水体及缓流水体在内的任何水体,补充地面水源。

②回用于农田灌溉、市政杂用,如浇灌城市绿地、冲洗街道、车辆清洗、景观用水等。

③居民小区中水回用冲洗厕所。

④作为冷却水和工艺用水的补充用水,回用于工业企业

⑤用于防止地面下沉或海水入浸,回灌地下。

表4.19所列是对二级处理水进行深度处理的目的、去除对象和可采用的处理技术。

表4.19 深度处理的目的、去除对象和可采用的处理技术

4.5.1 脱氮除磷

氮和磷是生物体合成细胞所需要的营养元素。当大量含氮和磷的污水排入湖泊、河口、海湾等缓流水体,将造成水体的富营养化,引起藻类及其他浮游生物的过度繁殖,使水具有色和气味,造成感官不适;氨氮的存在使水体的溶解氧降低,从而导致鱼类死亡和水体黑臭。这种水如果排放到水源水体中会增加制水成本。一些氮化合物还对人和生物具有毒害作用。农业灌溉用水中,TN含量如超过1mg/L,某些作物因过量吸收氮,会产生贪青倒伏现象。

以传统活性污泥法为代表的好氧生物处理法,主要去除污水中呈溶解性的有机物,对于氮、磷而言,只能去除细菌细胞由于生理上的需求而摄取的数量。因此氮的去除率只有20%~40%,而磷的去除率只有5%~20%。

1)脱氮原理

在自然界中,氮以有机氮(Org唱N)和无机氮(Inorganic唱N)两种形态存在。前者有蛋白质、多肽、氨基酸和尿素等,主要来源于生活污水、农业废弃物和某些工业废水。无机氮又称为氨态氮(NH3),一般以NH3为主。无机氮包括氨氮(唱N)、亚硝酸氮(唱N)和硝酸氮(NO3唱N),这三者又称之为氮化合物。无机氮一部分是由有机氮经微生物的分解转化后形成的,还有一部分是来自施用氮肥的农田排水和地表径流,以及某些工业废水。有机氮和无机氮统称为总氮(TN)。

污水脱氮技术可以分为物理化学脱氮和生物脱氮两种技术。

物理化学脱氮有吹脱法、折点加氯法、选择离子交换法、电渗析法、反渗透法、电解法等。

水中氨氮以氨离子(NH4)和游离氨(NH3)两种形式保持平衡关系为:

这一关系受pH影响,当pH升高,平衡向左移动,游离氨所占比例增加。25℃,当pH为7时,氨离子所占比例为99.4%;当pH上升至11左右时,游离氨增高至90%以上。此时如果让污水流过吹脱塔,便可以使氨从污水中逸出,这就是吹脱法的基本原理。吹脱法的优点是最为经济且操作简便,除氮效果稳定;缺点是逸出的氨氮会造成空气二次污染。

在城镇污水处理工艺中,主要采取生物脱氮技术。

污水生物处理中氮的转化包括同化、氨化、硝化和反硝化作用。

(1)同化作用

污水生物处理过程中,一部分氮(氨氮或有机氮)被同化成微生物细胞的组分。按细胞干重计算,微生物细胞中氮的含量约为12.5%。

(2)氨化作用

有机氮化合物在氨化菌的作用下,分解、转化为氨态氮,这一过程称为氨化反应。以氨基酸为例,其反应如下:

氨化菌为异养菌,一般氨化过程与微生物去除有机物同时进行,有机物去除结束时,已经完成氨化过程。

(3)硝化作用

硝化作用是由硝化细菌经过两个过程,将氨氮转化成亚硝酸氮和硝酸氮。

氨氮的细菌氧化过程为:

此时使氨转化成亚硝酸氮。

亚硝酸氮的细菌氧化过程为:

此时,亚硝酸氮在硝化菌的作用下,进一步转化为硝酸氮。

总反应为:

亚硝酸菌和硝酸菌统称为硝化菌,硝化菌是化能自养菌,属革兰氏染色阴性和不生芽孢的短杆状细菌,广泛存活在土壤中,在自然界氮的循环中起着重要作用。这类细菌的生理活动不需要有机性营养物质,只是从CO2获取碳源,从无机物的氧化中获取能量。硝化菌是专性好氧菌,只有在有溶解氧的条件下才能增殖,厌氧和缺氧条件都不能增殖,但在厌氧、缺氧、好氧状态下均会发生衰减死亡。

硝化菌对环境的变化很敏感,为了使硝化反应正常进行,必须保持硝化菌所需要的环境条件,影响硝化反应的主要因素有:

①溶解氧。硝化细菌的好氧性强,硝化反应必须在好氧条件下才能进行。在进行硝化反应的曝气生物反应池内,需要保持良好的好氧条件。试验结果证实,溶解氧含量不低于1mg/L,一般硝化反应中的DO浓度大于2mg/L。

②温度。硝化反应的适宜温度是20~30℃,15℃以下时反应速率下降,5℃时完全停止。

③pH和碱度。在硝化反应过程中,将释放出H离子,致使混合液中H离子浓度增高,从而使pH下降。硝化细菌对pH非常敏感,最佳pH为8.0~8.4,在这一最佳条件下,硝化速率、硝化菌最大的比增殖速率可达最大值。

为了保持适宜的pH,应当在污水中保持足够的碱度,以保证为反应过程中pH的变化起缓冲作用。一般来说,1g氨态氮(以N计)完全硝化,需碱度(以CaCO3计)7.14g,因此好氧池总碱度(以CaCO3计)宜大于70mg/L。

④有机物浓度。硝化菌是自养型细菌,有机物浓度虽然不是它的生长限制因素,但是若有机物浓度过高,会使增殖速率较高的异养型细菌大量增殖,从而使自养型硝化菌不能成为优势种属,硝化难以进行。故在硝化反应中,混合液中有机物含量不应过高,BOD值宜在20mg/L以下。

⑤污泥龄。为使硝化菌群能够在连续流反应池中存活,活性污泥在反应池中的污泥龄必须大于自养型硝化菌最小的世代时间,否则硝化菌的流失率将大于净增殖率,使硝化菌从系统中流殆尽。一般污泥龄应为硝化菌最小世代时间的2倍以上,即安全系数应大于2。硝化菌最小世代时间与温度密切相关,温度低,世代时间明显增长。

⑥重金属及有害物质。某些重金属、络合离子和有毒有机物,高浓度的 唱N、唱N对硝化反应会产生抑制作用。

(4)反硝化作用

反硝化作用是在缺氧(不存在分子态游离溶解氧)条件下,将亚硝酸氮和硝酸氮还原成气态氮(N2)或N2 O、NO。参与这一生化反应的是反硝化细菌,这类细菌在无分子氧条件下,将硝酸根和亚硝酸根作为电子受体。

反硝化的简化生物化学反应式如下:

反硝化过程与硝化过程一样,也受温度、溶解氧、酸碱度、C/N、有毒物质影响。需要说明的是反硝化菌是异养兼性厌氧菌,只有DO在0~0.3mg/L才能实现。

2)生物脱氮工艺

在城镇污水生物脱氮系统中,氮的转化过程如图4.88所示,颗粒性不可生物降解有机氮经生物絮凝作用成为活性污泥组分,通过剩余活性污泥将其从系统中去除;颗粒性可生物降解有机氮经水解转化为溶解性有机氮。溶解性不可生物降解有机氮随出水排出,溶解性可生降解有机氮在有氧条件下经异养细菌氨化为氨氮,由硝化菌将氨氮氧化为硝态氮,再在缺氧条件下由反硝化菌将硝态氮还原成气态氮从污水中逸出。

图4.88 污水生物脱氮系统中氮的生物转化过程

生物脱氮工艺中,由于硝化和反硝化过程微生物对氧的需求不同,可以将处理构筑物分成好氧处理构筑物和缺氧处理构筑物。根据微生物在构筑物中的生长条件,可以分为悬浮生长型(活性污泥法、氧化沟)和附着生长型(生物滤池、生物转盘、生物流动床)两大类。

(1)传统活性污泥法脱氮工艺

传统活性污泥法脱氮是指污水连续经过三套生物处理装置,依次完成碳氧化、硝化、反硝化三个过程,分别在第一级的曝气池、第二级的硝化池、第三级的反硝化反应器内完成。其中每套系统都有各自的反应池、二沉池和污泥回流系统。

该工艺的优点是好氧菌、硝化菌和反硝化菌分别生长在不同的构筑物中,反应速度较快,并且不同性质的污泥分别在不同的沉淀池中沉淀分离和回流,故运行管理较为方便,易于掌握,灵活性和适应性较大,运行效果较好。但是该工艺处理构筑物较多,设备较多,管理复杂,目前已经很少应用。

(2)二级生物脱氮系统

这种系统是在第一级中同时完成碳氧化和硝化等过程,经沉淀后在第二级中进行反硝化脱氮,然后混合液进入最终沉淀池,进行泥水分离。它具有与传统活性污泥法生物脱氮系统类似的优点,但是减少了一个中间沉淀池。

(3)单级生物脱氮系统

此种系统的特点是没有中间沉淀池(图4.89),仅有一个最终沉淀池。有机污染物的去除和氨化过程、硝化反应在同一反应器中进行,从该反应器流出的混合液不经沉淀,直接进入缺氧池,进行反硝化。所以该工艺流程简单,处理构筑物和设备较少,克服了上述多级生物脱氮系统的缺点。但是存在着反硝化的有机碳源不足,难以控制,以及出水水质难以保证等缺点。

图4.89 单级生物脱氮系统

(4)前置反硝化脱氮(A/O)工艺

以上系统都是遵循污水碳氧化、硝化、反硝化顺序进行的。这3种系统都需要在硝化阶段投加碱度,在反硝化阶段投加有机物。为了解决这个问题,在20世纪80年代后期产生了前置反硝化工艺,即将反硝化反应器放置在系统前端(图4.90)。

A/O工艺的工作过程为:原污水、回流污泥同时进入系统之首反硝化的缺氧池,与此同时,后续反应器内已进行充分反应的硝化液的一部分回流至缺氧池,在缺氧池内将硝态氮还原为气态氮,完成生物脱氮。之后,混合液进入好氧池,完成有机物氧化、氨化、硝化反应。

图4.90 MLE脱氮流程(A/O法)

由于原污水直接进入缺氧池,为缺氧池的硝态氮反硝化提供了足够的碳源有机物,不需外加。缺氧池在好氧池之前,由于反硝化消耗了一部分碳源有机物,有利于减轻好氧池的有机负荷,减少好氧池的需氧量。

再则,反硝化反应所产生的碱度可以补偿硝化反应消耗的部分碱度,因此,一般情况下可不必另行投碱以调节pH。

该流程简单,省去了中间沉淀池,构筑物少,节省基建费用,同时运行费用低,电耗低,占地面积小。

A/O脱氮系统的好氧池和缺氧池可以合建在同一构筑物内,用隔墙将两池分开,也可以建成两个独立的构筑物。

3)除磷原理

除磷技术分为化学除磷和生物除磷。磷在污水中基本上都是以不同形式的磷酸盐存在。按化学特性(酸性水解和酸化)可分成正磷酸盐、聚合磷酸盐和有机磷酸盐,分别简称为正磷、聚磷和有机磷。

化学除磷的基本原理是通过投加化学药剂形成不溶性磷酸盐沉淀物,然后通过固液分离将磷从污水中除去。可用于化学除磷的金属盐有钙盐、铁盐和铝盐3种。最常用的是石灰(Ca(OH)2)、硫酸铝(Al2(SO43·18H2 O)、铝酸钠(NaAlO2)、三氯化铁、硫酸铁、硫酸亚铁和氯化亚铁等。

目前生物除磷的机理还没有彻底研究清楚,一般认为,生物除磷过程中,在好氧条件下细菌吸收大量的磷酸盐,磷酸盐作为能量的贮备;在厌氧状态下用于吸收有机底物并释放磷。这是一个循环的过程,细菌交替释放和吸收磷酸盐。

4)生物除磷工艺

图4.91 Phostrip除磷工艺

1972年开发的弗斯特利普(Phostrip)除磷工艺,是将生物除磷和化学除磷相结合的—种工艺,其流程如图4.91所示。将含磷污水和由除磷池回流的脱磷但含有聚磷菌的污泥 同步进入曝气池。在好氧条件下,聚磷菌过量摄取磷,有机物得到降解,同时还可能出现硝化反应。之后,从曝气池流出的混合液进入沉淀池Ⅰ,在这里进行泥水分离,含磷污泥沉淀至池底,已除磷的上清液作为处理水而排放,及时排放剩余污泥。

回流污泥的一部分(为进水流量的10%~20%)旁流入一个除磷池,除磷池处于厌氧状态,含磷污泥(聚磷菌)在这里释放磷。投加冲洗水,使磷充分释放,已释放磷的污泥沉于池底,然后回流至曝气池。含磷上清液从上部流出进入混合池。

含磷上清液进入混合池,同步向混合池投加石灰乳,经混合后再进行搅拌反应,磷与石灰反应,使溶解性磷转化为不溶性的磷酸钙(Ca3(PO42)固体物质。沉淀池(Ⅱ)为混凝沉淀池,经过混凝反应形成的磷酸钙固体物质在这里与上清液分离,已除磷的上清液回流曝气池,而含有大量Ca3(PO42的污泥排出。

Phostrip除磷工艺是生物除磷与化学除磷相结合的工艺,除磷效果良好,处理水中含磷量一般都低于1mg/L。该工艺只适于单纯除磷、不脱氮的废水处理工艺。

本工艺流程复杂,运行管理比较复杂,投加石灰乳,运行费用也有所提高,修建费用高。

5)同步脱氮除磷工艺

同步脱氮除磷工艺目前常用A2/O法。A2/O工艺是英文(Anaerobic唱Anoxic唱Oxic)第一个字母的简称,即厌氧唱缺氧唱好氧法,如图4.92所示。

图4.92 A2/O法同步脱氮除磷工艺流程

首先,原废水与含磷回流污泥一起进入厌氧池。除磷菌在这里完成释放磷和摄取有机物。混合液从厌氧池进入缺氧池,本段的首要功能是脱氮,硝态氮是通过内循环由好氧池送来的,循环的混合液量较大,一般为2倍的进水量。然后,混合液从缺氧池进入好氧池唱曝气池,这一反应池单元是多功能的,去除BOD、硝化和吸收磷等项反应都在本反应器内进行。最后,混合液进入沉淀池,进行泥水分离,上清液作为处理水排放,沉淀污泥的一部分回流厌氧池,另一部分作为剩余污泥排放。

本工艺在系统上可以称为最简单的同步脱氮除磷工艺,总的水力停留时间少于其他同类工艺。而且在厌氧(缺氧)、好氧交替运行条件下,不易发生污泥膨胀。运行中不需投药,厌氧池和缺氧池只用轻缓搅拌,运行费用低。

本法也存在如下各项待解决问题:除磷效果难以进一步提高,特别是当P/BOD值高时更是如此;脱氮效果也难以进一步提高,内循环量一般以2Q为限,不宜太高;沉淀池要保持一定浓度的溶解氧,减少停留时间,防止产生厌氧状态和污泥释放磷的现象出现、但溶解氧浓度也不宜过高,以防止循环混合液对缺氧反应器的干扰。

4.5.2 污水的消毒

城镇污水经过二级处理后,水质已经改善,细菌含量大幅减少,但细菌的绝对值仍然很可观,并存在着有病原菌的可能。枟城镇污水处理厂污染物排放标准枠(GB 18918—2002)把粪大肠菌群列为基本控制项目。该标准规定执行二级标准和一级B类标准的污水处理厂,粪大肠菌群最高允许不超过10000个/L,执行一级A类标准的不超过1000个/L。枟室外排水设计规范枠(GB 50014—2006)规定,深度处理的再生水必须进行消毒。

污水消毒的主要方法是向污水中投加消毒剂,目前用于污水消毒的消毒剂有液氯、臭氧、次氯酸钠,紫外线等。

1)液氯消毒

(1)消毒原理

氯投入水中后会产生次氯酸,是极强的消毒剂,可以杀灭细菌和病原体。消毒效果与水温、pH、接触时间、混合程度、污水浊度及所含的干扰物质、有效氯浓度有关。液氯消毒工艺流程如图4.93所示。

图4.93 液氯消毒工艺流程

(2)设计参数

污水处理后出水的加氯量应根据试验或类似运行经验确定。无试验资料时,二级处理出水可采用6~15mg/L,再生水的加氯量按卫生学指标和余氯量确定。

混合池设计历时为5~15s,当用鼓风混合时,鼓风强度为0.2m3/(m3· min);当采用隔板式混合时,池内平均流速不应小于0.6m/s。

接触消毒池的接触时间不应小于30min,沉降速度采用1~1.3mm/s,保证余氯量不少于0.5mg/L。

【例4.7】 已知设计污水流量Q1=150000m3/d=6250m3/h(包括水厂用水量),拟采用投液氯消毒,最大投氯量为a=5mg/L,接触消毒池水力停留时间T=0.5h,仓库储氯量按30d计。试设计计算该接触消毒池。

【解】 ①加氯量Q:

Q=0.001aQ1=0.001×5×150000=750kg/d=31.25kg/h

储氯量G:

G=30Q=30×750=22500kg

②氯瓶及加氯机﹕

a.氯瓶数量:采用容量为1000kg的氯瓶,共23只。

b.氯机选型:采用5~45kg/h加氯机2台,1用1备。

③按接触时间要求计算消毒池有效容积V:

V=QT=6250×0.5=3125m3

消毒池池体具体尺寸设计示意如图4.94所示。

图4.94 接触消毒池池体尺寸设计示意图

消毒池分格数n=3;

消毒池有效水深设计为H=4.0m;

消毒池池长L=38,每格池宽b=7.0m,长宽比 =5.4;

消毒池总净宽B=nb=3×7.0=21.0m;

接触池设计为纵向折流反应池。在第一格,每隔7.6m沿纵向设垂直折流板;第二格,每隔12.67m沿纵向设垂直折流板;第三格不设。

④校核接触消毒池实际有效容积V′:

V′=BLH=21.0×38.0×4.0=3192.0m3>3125m3,满足有效停留时间要求。

2)臭氧消毒

臭氧由3个氧原子组成,极不稳定,分解时产生初生态氧[O],具有极强的氧化能力,是除氟以外最活泼的氧化剂,对具有极强抵抗力的微生物如病毒、芽孢等具有很强的杀伤力。[O]还有很强的渗入细胞壁的能力,从而破坏细菌有机链状机构导致细菌的死亡。臭氧消毒的一般工艺流程如图4.95所示。

图4.95 臭氧消毒的工艺流程

臭氧在水中的溶解度仅为10mg/L左右,因此通入污水中的臭氧往往不可能全部被利用。为了提高臭氧的利用率,接触反应池最好建成水深为4~6m的深水池,或建成封闭的几格串联的接触池,用管式或板式微孔扩散器扩散臭氧。扩散器用陶瓷或聚氯乙烯微孔塑料或不锈钢制成。臭氧消毒迅速,接触时间可采用15min,能够维持的剩余臭氧量为0.4mg/L。接触池排出的剩余臭氧具有腐蚀性,因此需作尾气破坏处理。臭氧不能储存,需现场边发生边使用。

(1)臭氧消毒特点

①反应快,投量少,在水中不产生持久性残余,无二次污染;

②适应能力强,在pH=5.6~9.8、水温在0~35℃范围内,消毒性能稳定;

③臭氧没有氯那样的持续消毒能力。

(2)臭氧消毒设计

臭氧消毒接触池设计为如图4.96所示的类型时,其容积可采用式(4.119)计算:

式中:V——接触池容积,m3

 Q——所需消毒的污水流量,m3/h;

 T——水力停留时间,min,一般取5~15min。

图4.96中,接触池的2、4室的容积和布气量可按6∶4分配,1、3、5室的水流速度可取5~10cm/s。池顶应密封,以防尾气漏出。当臭氧发生器低于接触池顶时,进气管应先上弯到池顶以上再下弯到接触池内,以防池中的水倒流入臭氧发生器。

图4.96 臭氧消毒接触池

通常,接触池的深度取4~6m,可保证臭氧和水的接触时间大于15min。

臭氧需要量可按式(4.120)计算:

式中:D——臭氧需要量,g/h;

 a——臭氧投加量,g/m3

 1.06——安全系数;

 Q——所需消毒的污水流量,m3/h。

【例4.8】 已知设计流量Q=2000m3/h(包括水厂用水量),拟采用臭氧消毒,经试验确定其最大投加臭氧量a=2mg/L。试设计计算采用如图4.96所示的臭氧接触池。

【解】 (1)臭氧消毒接触池设计计算

①容积。取水力停留时间T=9min,则臭氧消毒接触池容积为:

②尺寸设计 设池宽5.2m,其余尺寸如图4.101所示,则其容积为:

V=5.2×4.5×13.5=316>300m3,满足有效停留时间要求。

③1、3、5室的水流速度v1﹑v3﹑v5计算:

(2)臭氧发生器所需空气量计算

①臭氧需要量

D=1.06aQ=1.06×2×2000=4240g/h

②臭氧化所需空气量。取臭氧化空气的臭氧含量c=10g/m3,则臭氧化所需空气量为:

3)紫外线消毒

(1)工作原理

图4.97 紫外线消毒工艺流程

水银灯发出的紫外线,能穿透细胞壁并与细胞质发生反应而达到杀菌消毒的目的。波长为2500~3600樻的紫外光杀菌能力最强。紫外光需照透水层才能起消毒作用,因此处理水水质光传播系数越高,紫外线的消毒效果越好。所以污水中的悬浮物﹑浊度﹑有机物都会干扰紫外光的杀菌效果。紫外线消毒工艺流程如图4.97所示。

紫外线光源是高压石英水银灯,杀菌设备主要有两种:浸入式和水面式。浸入式是把石英灯管置于水中,此法的特点是紫外线利用效率较高,杀菌效能好,但设备的构造较复杂;水面式的构造简单,但由于反光罩吸收紫外线以及光线散射,杀菌效果不如前者。

(2)设计参数

紫外线消毒系统的消毒能力可用辐照剂量(简称剂量)来表示,用剂量率(Doesrate)表示紫外线杀灭微生物作用的强度,包括紫外线灯的发射波长、停留时间、紫外线灯到水体任何位置的距离和灯的辐射强度等。实际应用中,用紫外线灯辐射强度和照射接触时间这两个参数来决定剂量率。用化学药剂消毒时,采用CT值(化学剂浓度和接触时间的乘积)来表示化学剂剂量,紫外线消毒时则采用IT值(紫外线强度和接触时间的乘积)来表示紫外线剂量。

枟室外排水设计规范枠(GB 50014—2006)规定的污水紫外线消毒的设计参数如下:

①污水的紫外线剂量宜根据试验资料或类似运行经验确定;无试验资料时,也可采用下列设计值:二级处理的出水为15~22mJ/cm2,再生水为24~30mJ/cm2

②紫外线照射渠的设计,应符合下列要求:照射渠水流均布,灯管前后的渠长度不宜小于1m;水深应满足灯管的埋设要求,一般为0.65~1.0m;紫外线照射渠不宜小于2条,当采用1条时,宜设置超越渠。

表4.20为一些城镇污水厂消毒的紫外线剂量值。

表4.20 一些城镇污水厂消毒的紫外线剂量

4.5.3 污水的回用

1)回用处理对象

(1)悬浮物的去除

污水中含有的悬浮物是粒径从数10nm到1μm以下的胶体颗粒。经二级处理后,在处理水中残留的悬浮物是以粒径从几mm到10μm的生物絮凝体和未被凝聚的胶体颗粒。这些颗粒几乎全部都是有机性的。二级处理水BOD的50%~80%都来源于这些颗粒。此外,去除残留悬浮物是提高深度处理和脱氮除磷效果的必要条件。

去除二级处理水中的悬浮物,采用的处理技术要根据悬浮物的状态和粒径而定。粒径在1μm以上的颗粒,一般采用砂滤去除;粒径从几百樻到几十μm的颗粒,采用微滤机一类的设备去除;而粒径在几樻~1000樻的颗粒,则应采用用于去除溶解性盐类的反渗透法加以去除;呈胶体状的粒子,则采用混凝沉淀法去除。

(2)溶解性有机物的去除

在生活污水中,溶解性有机物的主要成分是蛋白质、碳水化合物和阴离子表面活性剂。在经过二级处理的城市污水中的溶解性有机物多为丹宁、木质素、黑腐酸等难降解的有机物。对这些有机物,用生物处理技术是难以去除的,目前还没有比较成熟的处理技术。当前,从经济合理和技术可行方面考虑,采用活性炭吸附和臭氧氧化法比较是适宜。

(3)溶解性无机盐类的去除

二级处理技术对溶解性无机盐类是没有去除功能的,因此,在二级处理水中可能含有这一类物质。含有溶解性无机盐类的二级处理水不宜回用和灌溉农田,因为这样做可能产生下列问题:

①金属材料与含有大量溶解性无机盐类的污水相接触,可能产生腐蚀作用;

②溶解度较低的Ca盐和Mg盐从水中析出,附着在器壁上,形成水垢;

还原,产生硫化氢,放出臭气;

④灌溉用水中含有盐类物质,对土壤结构不利,影响农业生产。

目前能有效地用于二级处理水脱盐处理的技术,主要有反渗透、电渗析以及离子交换等。

(4)细菌的去除

城市污水经二级处理后,水质已经改善,细菌含量也大幅度减少,但细菌的绝对值仍很可观,并存在有病原菌的可能。因此在排放水体前或在农田灌溉时,应进行消毒处理。污水消毒应连续进行,特别是在城市水源地的上游、旅游区、夏季或流行病流行季节,应严格连续消毒。非上述地区或季节,在经过卫生防疫部门的同意后,也可考虑采用间歇消毒或酌减消毒剂的投加量。

消毒的主要方法是向污水投加消毒剂。目前用于污水消毒的消毒剂有液氯、臭氧、次氯酸钠、紫外线等。

(5)氮的去除

在自然界,氮化合物是以有机体(动物蛋白、植物蛋白)、氨态氮(NH

4、NH3)、亚硝酸氮()、硝酸氮()以及气态氮(N2)形式存在的;在二级处理水中,氮则是以氨态氮、亚硝酸氮和硝酸氮形式存在的。

氮和磷同样都是微生物保持正常生理功能所必需的元素,即用于合成细胞。但污水中的含氮量相对来说是过剩的,所以一般二级污水处理厂对氮的去除率较低。

根据原理分,脱氮技术可分为物化脱氮和生物脱氮两种技术。吹脱脱氮法是一种常用的物化脱氮技术。目前采用的生物除氮工艺有缺氧唱好氧活性污泥法脱氮系统(A/O)、氧化沟、生物转盘等脱氮工艺。

(6)磷的去除

污水中的磷一般有即正磷酸盐、聚合磷酸盐和有机磷3种存在形态。经过二级生化处理后,有机磷和聚合磷酸盐已转化为正磷酸盐,它在污水中呈溶解状态,在接近中性的pH 条件下,主要以 的形式存在。污水的除磷技术有:使磷成为不溶性的固体沉淀物,从污水中分离出去的化学除磷法和使磷以溶解态为微生物所摄取,与微生物成为一体,并随同微生物从污水中分离出去的生物除磷法。属于化学除磷法的有混凝沉淀除磷技术与晶析法除磷技术,应用广泛的是混凝沉淀除磷技术。

2)污水回用处理系统

污水回用处理系统由前处理技术、中心处理技术和后处理技术3部分组成。

前处理是为了保证中心处理技术能够正常进行而设置的,它的组成根据主处理技术而定。当以生物处理系统为中心处理技术时,即以一般的一级处理技术(格栅和初次沉淀池)为前处理,但当以膜分离技术为中心处理技术时,将生物处理技术也纳入前处理内。

中心处理技术是处理系统的中间环节,起着承前启后的作用。中心处理技术有两类,一类是一般的二级处理,即生物处理技术(活性污泥法或生物膜法),另一类则是膜分离技术。

后处理设置的目的是使处理水质达到回用水规定的各项指标。其中采用滤池去除悬浮物;通过混凝沉淀去除悬浮物和大分子的有机物;溶解性有机物则由生物处理技术、臭氧氧化和活性炭吸附加以去除,臭氧氧化和活性炭吸附还能够去除色度、臭味;杀灭细菌则用臭氧和投氯进行。

(1)传统深度处理组合工艺

工艺1:二级出水→砂滤→消毒;

工艺2:二级出水→混凝→沉淀→过滤→消毒;

工艺3:二级出水→混凝→沉淀→过滤→活性炭吸附→消毒。

此类工艺是目前常用的城市污水传统深度处理技术,在实际运行过程中可根据二级污水处理效果及回用水质要求对工艺进行具体调整。

工艺1是传统简单实用的污水二级处理流程,再进一步去除水中微细颗粒物并消毒的形式制出回用水,适用作工业循环冷却用水、城市浇洒、绿化、景观、消防、补充河湖等市政用水和居民住宅的冲洗厕所用水等杂用水。在工程应用中,回用装置设施常与二级污水厂共同建设(在有用地的情况下),深度处理的运行费用为0.1~0.15元/t。

工艺2是在工艺1的基础上增加了混凝沉淀,即通过混凝进一步去除二级生化处理未能除去的胶体物质、部分重金属和有机污染物,出水水质为:SS<10mg/L、BOD5<8mg/L,优于工艺1出水。这种回用水除适用作工艺1的回用范围外,也有被回灌地下(经进一步土地吸附过滤处理);与新鲜水源混合后作为水厂原水;在工业回用方面作锅炉补给水、部分工艺用水等。国外发达国家的城市回用水(景观、浇洒、洗车、建筑用水等)一般使用这类水质的回用水。

工艺3是在工艺2的基础上增加了活性炭吸附,这对去除微量有机污染物和微量金属离子,去除色度、病毒等污染物方面的作用是显著的。工艺3处理流程长,对含有重金属的污水处理效果较好。二级出水进行传统工艺3处理,可去除:浊度73%~88%,SS60%~70%,色度40%~60%,BOD5 31%~77%,COD25%~40%,总磷29%~90%,且对可生物降解有机物的去除高于不易生物降解的有机物。此类工艺适用作除人体直接饮用外的各种工农业回用水和城市回用水,运行费用为0.8~1.1元/t。

(2)以膜分离为主的组合工艺

在回用水处理中应用较广泛的膜技术有微滤、超滤、纳滤、反渗透和电渗析等。微孔过滤可有效地去除污水中颗粒物,与传统工艺中的介质过滤处理相当;超滤可有效地去除污水中颗粒性及大分子物质;纳滤、反渗透则对水中溶解性小分子物质较有效。对小规模处理厂(2×104 t/d),膜分离技术的单位体积水处理费用与传统处理工艺大体相当。

工艺4:二级出水→混凝沉淀、砂滤→膜分离→消毒

工艺5:二级出水→砂滤→微滤→纳滤→消毒

工艺6:二级出水→臭氧→超滤或微滤→消毒

此类以膜分离为主的工艺中以超滤膜分离技术替代传统工艺中的沉淀、过滤单元,以生物反应器和膜分离有机结合为核心的膜生物反应器是一项有前途的废水回用处理系统。

为了防止膜污染,膜分离技术前必须通过预处理工艺,为了提高膜分离过程的分离效率,在预处理工艺中常常将污水中微细颗粒和胶体物质去除,并将大分子有机物转化成固相,如混凝沉淀、过滤、活性炭吸附、氯化消毒等方法,并且膜处理工艺的成功运行很大程度上取决于合适的预处理工艺。膜的后处理工艺则包括pH调节或气提,以防止处理后的水对管道产生腐蚀。

工艺4是采用混凝沉淀作为膜处理的预处理工艺,混凝的目的是利用混凝剂将小颗粒悬浮胶体结成粗大矾花,以减小膜阻力,提高透水通量;通过混凝剂的电中性和吸附作用,使溶解性的有机物变为超过膜孔径大小的微粒,使膜可截留去除,以避免膜污染。但混凝不能有效地防止膜污染,这是由于混凝主要去除相对分子量大的有机物,而无法去除相对分子量小的天然有机物。混凝所去除的有机物,微滤(MF)和超滤(UF)基本上都能截留去除。

工艺6采用臭氧氧化作为膜处理的预处理工艺,通常认为臭氧氧化的作用是将有机物低分子化,因此作为膜分离的预处理是不适合的,但臭氧能将溶解性的铁和锰氧化,生成胶体并通过膜分离加以去除,因而可以提高铁锰的去除率,此外,臭氧氧化可以去除异臭味。

(3)活性炭、滤膜分离为主的组合工艺

工艺7:二级出水→活性炭吸附或氧化铁微粒过滤→超滤或微滤→消毒;

工艺8:二级出水→混凝沉淀、过滤→膜分离→(活性炭吸附)→消毒;

工艺9:二级出水→臭氧→生物活性炭过滤或微滤→消毒;

工艺10:二级出水→混凝沉淀→生物曝气(生物活性炭)→超滤→消毒。

此类处理工艺则将粉末活性炭(PAC)与UF或MF联用,组成吸附唱固液分离工艺流程进行净水处理。PAC可有效吸附水中相对分子量小的有机物,使溶解性有机物转移至固相,再利用MF和UF膜截留去除微粒的特性,可将相对分子量小的有机物从水中去除。更重要的是,PAC还可有效地防止膜污染,PAC粒径范围一般在10~500μm,大于膜孔径几个数量级,因而不会堵塞膜孔径。

4.6 污水的自然生物处理

自然生物处理是利用自然环境的净化功能对污水进行处理的一种方法,分为土地处理和稳定塘处理,即利用土壤和水体净化污水。

水的社会循环由于人类的干预作用增加了原来没有的物质和能量,导致系统的有序性的失衡,必须要解决两个问题:一是利用人工方法恢复打破的有序性,就是污水的净化处理;二是自省人类的干预活动,以更接近自然循环的方式、方法进行生产活动,最根本的方法就是站在实现自然循环的角度,对生产过程中产生的污染物进行必要的污染治理,减少人类干预对水的自然循环的不良影响,通过对水的社会循环的有效控制,解决对自然循环的破坏作用。

4.6.1 土地处理

1)污水的土地处理系统及组成

(1)污水土地处理系统

污水土地处理系统是在人工控制下,将污水投配在土地上,通过土壤唱植物系统净化污水的一种处理工艺。污水生态处理技术以土地处理方法为基础,是污水土地处理系统的进一步演化和发展,以土壤介质的净化功能为核心,在技术上特别强调在污水污染成分处理过程中修复植物唱微生物体系与处理环境或介质(如土壤)的相互关系,特别注意对环境因子的优化与调控。土地处理系统是一种环境生态工程,污水土地处理系统能够经济有效地净化污水,还能充分利用污水中的营养物质和水来满足农作物、牧草和林木对水、肥的需要,并能绿化大地、改良土壤。

(2)污水土地处理系统的组成

污水土地处理系统的组成部分包括:

①预处理系统;

②调节及贮存设备;

③污水的输送、配布和控制系统;

④土地净化田;

⑤净化水收集、利用系统。

其中,土地净化田是土地处理系统的核心环节。

2)污水的土地处理系统净化机理

土地处理系统是一个系列的处理过程,包括沉淀池、稳定池等处理技术以及土壤-植物系统。这里主要介绍土壤唱植物系统。该系统是一个复杂的生命及非生命活动的总称,包括土壤、水和空气三大要素。土壤唱植物系统净化作用是一个十分复杂的综合过程,按净化过程的作用性质,可以分为物理化学作用和生化作用两大类型。

(1)物理化学作用

物理化学作用包括过滤、吸附和离子交换,化学反应的化学沉淀等。

过滤是依靠土壤颗粒间的孔隙来截留、滤除水中的悬浮颗粒。土壤颗粒的大小,颗粒间孔隙的形状和大小、孔隙的分布以及污水中悬浮颗粒的性质、多少与大小等都会影响土壤的过滤净化效果。悬浮颗粒过粗、过多以及微生物代谢产物过多等,会导致土壤颗粒的堵塞。

吸附是在非极性分子之间的范德华力的作用下,土壤中黏土矿物颗粒能够吸附土壤中的中性分子。污水中的部分重金属离子在土壤胶体表面,因阳离子交换作用而被置换吸附并生成难溶性的物质被固定在矿物的晶格中。

金属离子与土壤中的无机胶体和有机胶体颗粒,由于螫合作用而形成螯合化合物;有机物与无机物的复合化而生成复合物;重金属离子与土壤颗粒之间进行阳离子交换而被置换吸附;某些有机物与土壤中重金属生成可吸性螯合物而固定在土壤矿物的晶格中。

化学沉淀是污水中的重金属离子与土壤的某些组分进行化学反应生成难溶性化合物而沉淀。如果调整、改变土壤的氧化还原电位,能够生成难溶性硫化物;改变pH能够生成金属氢氧化物;某些化学反应还能够生成金属磷酸盐等物质,而沉积于土壤中。

(2)生化作用

生化作用包括土壤微生物的生物降解、转化及固定作用,以及植物的吸收、转化、降解与合成。

在土壤中生存着种类繁多、数量巨大的土壤微生物,对土壤颗粒中的有机固体和溶解性有机物具有强大的降解与转化能力,这也是土壤具有强大自净能力的主要原因。土壤为细菌、放线菌、真菌、藻类及原生动物提供了适宜的生活环境,由于它们不断地进行各种代谢活动,维持着土壤环境内土壤与其他环境介质之间的物质循环。

在植物生长季节,土壤中植物的根系活动特别活跃。植物通过根系可以吸收土壤和污水中的水、氮、磷等,作为构造植物体所需的物质,同时一些非植物生长必需的金属离子和部分有机物也可以随植物体蒸腾拉力被植物吸收和积累,从而去除污水中大量的营养型污染物和部分有机物。根际土壤由于土质较为疏松和植物根系的传导作用,使氧气充分,同时根系分泌的酶、氨基酸为微生物生存提供了必要的养分,为污染物的降解提供了有利条件。

3)污水的土地处理系统的工艺类型

(1)慢速渗滤系统

慢速渗滤处理系统是以表面布水或高压喷洒方式将污水投配到种有作物的土地表面,污水缓慢地在土地表面流动并向土壤中渗滤,一部分污水直接为作物所吸收,一部分则渗入土壤中,而使污水得到净化,如图4.98所示。

图4.98 慢渗处理系统

向土地布水可采用表面布水或喷灌布水。一般采用较低的投配负荷,以减慢污水在土壤层的渗滤速度,使其在含有大量微生物的表层土壤中长时间停留,保证水质净化效果。该系统一般不考虑处理水流出。在该处理系统中,投配的污水一部分被修复植物吸收,一部分在渗入底土的过程中污染物被土壤介质截获,或被修复植物根系吸收、利用或固定,或被土壤中的微生物转化、降解为无毒或低毒的成分。

工程设计时需要考虑的场地工艺参数:土壤渗透系数为0.036~0.360m/d,地面坡度小于30%,土层厚大于0.6m,地下水位大于0.6m。

(2)快速渗滤系统

快速渗滤系统是将污水有控制地投配到具有良好渗滤性能的土壤表面,污水在重力作用下向下渗滤过程中通过生物氧化、硝化、反硝化、过滤、沉淀、还原等一系列作用而得到净化的污水处理工艺类型。快速渗滤系统周期性地向具有良好渗透性能的渗滤田灌水和休灌,使表层土壤处于淹水、干燥,即厌氧、好氧交替运行状态。在休灌期,表层土壤恢复为好氧状态,被土壤层截留的有机物为好氧微生物所分解,休灌期土壤层的脱水干化有利于下一个灌水期水的下渗和排除。在灌水期,表层土壤转化为缺氧、厌氧状态,在土壤层形成的交替厌氧、好氧状态,有利于氮、磷的去除。快速渗滤处理系统如图4.99所示。

进入快速渗滤系统的污水必须经过一定的预处理,一般经过一级处理即可。如场地面积有限,需加大滤速或需要较高质量的出水,则应以二级处理作为预处理。处理水一般采用地下排水管或井群进行回收,可用于补给地下水。

(3)地表漫流系统

地表漫流系统是以表面布水或低压、高压喷洒形式将污水有控制地投配到生长多年生牧草、坡度和缓、土地渗透性能低的坡面上,使污水在地表沿坡面缓慢流动过程中得以充分净化的污水处理工艺类型。由于对污水预处理要求程度较低,出水以地表径流收集为主,对地下水影响最小。在处理过程中,除少部分水量蒸发和渗入地下外,大部分再生水经集水沟回收,其水力学过程如图4.100所示。

该系统的工艺目标是:在低预处理水平达到相当于二级处理出水水质;结合其他强化手段,对有机污染及营养物负荷的处理可达到较高水平;再生水收集与回用。

该工艺以处理污水为主,兼行生长牧草,因此具有一定的经济效益。处理水一般采用地表径流收集,减轻了对地下水的污染。污水在地表漫流的过程中,只有少部分水量蒸发和渗入地下,大部分汇入建于低处的集水沟。

图4.99 快速渗滤系统

图4.100 地表漫流系统

(4)湿地处理系统

污水湿地处理系统是将污水有控制地投配到土壤唱植物唱微生物复合生态系统,并使土壤经常处于饱和状态而且生长有芦苇、香蒲等耐水植物的沼泽地上,污水在沿一定方向流动过程中在耐湿植物和土壤相互联合作用下,使污水得到净化,如图4.101所示。

湿地处理系统对污水净化的作用机理是多方面的,有物理的沉降作用、植物根系的阻截作用、某些物质的化学沉淀作用、土壤及植物的吸附与吸收作用、微生物的代谢作用等。此外,植物根系的某些分泌物对细菌和病毒有灭活作用,细菌和病毒也可能在对其不适宜环境中自然死亡。

在湿地处理系统中,以生长在沼泽地的维管束植物为主要特征。繁茂的维管束植物向其根部输送光合作用产生的氧,每一株维管束植物都是一部“制氧机”,使其根部周围及水中保持一定浓度的溶解氧,为微生物提供了良好的栖息场所,使根区附近的微生物能够维持正常的生理活动。其次,植物也能够直接吸收和分解有机污染物。

图4.101 污水湿地处理系统

湿地处理系统有以下几种类型。

①天然湿地系统。天然湿地系统利用天然洼淀、苇塘,并加以人工修整而成,中设导流土堤,使污水沿一定方向流动,水深一般在30~80cm,不超过1m,净化作用类似于好氧塘,适宜作污水的深度处理,如图4.102所示。

图4.102 天然湿地处理系统示意图

②自由水面人工湿地。用人工筑成水池或沟槽状,底面铺设隔水层以防渗漏,再充填一定深度的土壤层,在土壤层种植维管束植物,污水由湿地的一端通过布水装置进入,并以较浅的水层在地表上以推流方式向前流动,从另一端溢入集水沟,在流动的过程中保持着自由水面。本工艺的有机负荷率及水力负荷率的确定,应考虑气候、土壤状况、植物类型以及接纳水体对水质的要求等因素,特别是应将能使水层保持好氧状态作为首要条件,一般采用较低的负荷率。有机负荷率介于18~110kgBOD5/(ha·d)的较大幅度。我国天津的运行数据,当进水BOD5=150mg/L时,水力负荷取值150~200m3/(ha·d),出水可达二级处理水标准。

③人工潜流湿地处理系统。又名人工苇床,是人工筑成的床槽,床内充填介质以支持芦苇类的挺水植物生长。床底设黏土隔水层,并具有一定的坡度。污水与布满生物膜的介质表面和溶解氧充分的植物根区接触而得到净化。

根据床内充填的介质不同,人工潜流湿地处理系统又可分为两种类型。一种如图4.103所示,床内介质由上、下两层组成,上层为土壤,种植芦苇等耐水植物,下层为易于使水流通的介质,如炉渣、碎石等,则为植物的根系层。污水由沿床宽设置的布水管流入,布水沟内充填碎石。在出水端碎石层底部设多孔集水管与出水管相连,出水管上设闸阀,以调节床内水位。

图4.103 人工潜流湿地处理系统

另一种类型的人工潜流湿地处理构筑物称为碎石床,即在床内充填只有碎石、砾石类的介质,耐水植物直接种植在介质上,其他与前一种类型的人工湿地相同。碎石充填深度应根据种植的植物根系能够达到的深度而定,一般芦苇为60~70cm,介质粒径可介于10~30mm。

图4.104 地下渗滤(毛管浸润式)示意图

(5)污水地下渗滤处理系统

地下渗滤处理系统是将污水投配到具有一定构造和良好扩散性能的地下土层中,污水在经毛管浸润和土壤渗滤作用向周围和向下运动过程中达到处理、利用要求的污水处理工艺类型,如图4.104所示。

该处理系统主要应用于分散的小规模污水处理,其工艺目标主要包括:直接处理污水;在地下处理污水的同时为上层覆盖绿地提供水分与营养,使处理场地有良好的绿化带镶嵌其中;产生优质再生水以供回用;节约污水集中处理的输送费用。

污水地下渗滤处理系统一般要经过化粪池或酸化水解池预处理后,再有控制地通入设于地下距地面约0.5m处的渗滤田,在土壤的渗滤作用和毛细管作用下,污水向四周扩散,通过过滤、沉淀、吸附和在微生物作用下的降解作用,使污水得到净化。

地下渗滤处理系统是一种以生态原理为基础,以节能、减少污染、充分利用水资源为特点的一种新型的小规模污水处理工艺技术。该工艺适用于处理居住小区、旅游点、度假村、疗养院等未与城市排水系统接通的分散建筑物排出的小流量污水。

4.6.2 稳定塘

1)稳定塘的类型

稳定塘是自然的或经过人工适当修整、设围堤和防渗层的污水池塘,又称氧化塘、生物塘。稳定塘是一种古老而又不断发展的、在自然条件下处理污水的生物处理系统。稳定塘系统由若干自然或人工挖掘的池塘组成,主要依靠菌藻作用或菌藻、水生生物等自然生物净化功能净化污水,污水在塘中的净化过程与自然水体的自净过程相近。稳定塘能够有效地处理生活污水、城市污水和各种有机性工业废水。

根据塘水中微生物优势群体类型和塘水的溶解氧工况将稳定塘分为好氧塘、兼性塘、厌氧塘、曝气塘。专门用以处理二级处理后出水的稳定塘称为深度处理塘。

根据处理水的出水方式,稳定塘又可分为连续出水塘、控制出水塘与贮存塘3种类型。上述的几种稳定塘,在一般情况下,都按连续出水方式运行,但也可按控制出水塘和贮存塘方式运行。

稳定塘处理污水建设周期短,易于施工,基建投资低;依靠自然功能净化污水,能耗低,便于维护,管理方便,运行费用低;因污水在塘内的停留时间长,故对水量、水质的变化有很强的适应能力;与养鱼、种殖水生作物相结合,在塘内形成多级食物链,能够实现污水资源化,使污水处理与利用相结合;稳定塘能够将污水中的有机物转化为可用物质,处理后的污水可用于农业灌溉,以利用污水的水肥资源。另外,稳定塘处理污水停留时间长,占地面积大,没有空闲的余地不宜采用;污水净化效果在很大程度上受季节、气温、光照等自然因素的控制,不够稳定;卫生条件较差,易滋生蚊蝇、散发臭气;塘底防渗处理不好,可能引起对地下水的污染。

2)稳定塘的净化机理

污水稳定塘属于生物处理设施,稳定塘净化污水的原理与自然水域的自净机理十分近似,污水在塘内停滞的过程中,水中的有机物通过好氧微生物的代谢活动被氧化,或经过厌氧微生物的分解而达到稳定化。好氧微生物代谢所需要的溶解氧由塘表面的大气复氧作用以及藻类的光合作用提供,也可以通过人工曝气供氧。

(1)稳定塘生态系统

稳定塘生态系统由生物和非生物两部分组成。生物部分主要包括细菌、藻类、原生动物、后生动物、水生植物以及高等水生动物;非生物部分包括光照、风力、温度、有机负荷、溶解氧、pH、CO2、氮、磷营养元素等。

细菌在稳定塘内对有机污染物的降解起主要作用。稳定塘中的绝大部分细菌属兼性异养菌,这类细菌以有机化合物作为碳源,并以这些物质分解过程中产生的能量作为维持其生理活动的能源。此外,在相应的稳定塘中还存活着好氧菌、厌氧菌以及自养菌。

藻类具有叶绿体,能够进行光合作用,是塘水中溶解氧的主要提供者,在稳定塘内起着十分重要的作用。藻类在光照充足的白昼,吸收二氧化碳放出氧;在黑暗的夜晚,消耗氧并放出二氧化碳。稳定塘内藻类的主要种属有绿藻及蓝藻等。

在稳定塘内也出现原生动物和后生动物等微型动物,它们捕食藻类、菌类,防止其过度增殖,其本身又是良好的鱼饵。水生植物能够提高稳定塘对有机污染物和氮磷等无机营养物的去除效果,另外收获后也可作某些用途,能够取得一定的经济效益。

为了使稳定塘具有一定的经济效益,可以考虑利用塘水养鱼和放养鸭、鹅等水生动物及禽类。

在稳定塘内存活的不同类型的生物构成了其生态系统。菌藻共生体系是稳定塘内最基本的生态系统。其他水生植物和水生动物的作用则是辅助性的,它们的活动从不同的途径强化了污水的净化过程。

图4.105 兼性稳定塘生态系统

如图4.105所示为典型的兼性稳定塘的生态系统,其中包括好氧区、厌氧区及两者之间的兼性区。稳定塘内生态系统中的各种生物种群的作用各不相同,存在着互相依存、互相制约的关系。

①菌藻共生关系。在稳定塘内对溶解性有机污染物起降解作用的是异养菌,每分解1g有机物需氧1.56g,而每合成1g藻类,释放出1.244g氧。所以,细菌代谢活动所需的氧由藻类通过光合作用提供,而其代谢产物CO2又提供给藻类用于光合反应。在稳定塘内细菌和藻类之间就是保持着这样的互相依存及互相制约的关系。

②稳定塘内的食物链网。在稳定塘内存在着多条食物链,这些食物链纵横交错结成食物链网。细菌、藻类及一些水生植物是生产者,处于最低营养级;细菌与藻类为原生动物及枝角类动物所食用,并不断繁殖,它们又为鱼类所吞食;藻类和水生植物既是鱼类的饵料,又可能成为鸭鹅等水禽类的饲料。在稳定塘内,水生动物处在最高营养级。如果各营养级之间保持由多到少的数量关系,则能够使污水中有机污染物得到降解,又使其产物得到充分利用,最后得到鱼、鸭和鹅等水禽产品,建立良好的生态平衡。

(2)稳定塘内各种物质的迁移与转化

在稳定塘生态系统中,各种物质不断地进行迁移和转化,其中主要的是碳、氮及磷的迁移转化和循环。

①碳的转化与循环。污水中的碳主要以溶解性有机碳形式进入稳定塘,在塘内首先通过细菌的新陈代谢作用,使溶解性有机碳转化为无机碳,又通过合成作用使细菌本身得到增殖;藻类通过光合作用吸收无机碳,本身机体得到增殖,当无光照射时,藻类通过呼吸作用又释放无机碳;衰死的细菌、藻类的机体沉入塘底,在厌氧发酵作用下,分解为溶解性有机碳和无机碳;塘水中的不溶性有机碳在塘底的厌氧发酵作用下分解,转化成溶解性有机碳和无机碳。

②氮的转化及循环。污水中的氮主要呈有机氮化合物和氨氮两种形态。进入稳定塘后,首先有机氮化合物在微生物作用下分解为氨态氮;氨态氮在硝化菌的作用下,转化为硝酸盐氮;硝态氮在反硝化菌的作用下,还原成分子态氮;在pH较高、水力停留时间较长、温度较高的环境下,水中的氨态氮以NH3形式存在,可向大气挥发;氨态氮或硝态氮可作为微生物及各种水生植物的营养,合成其本身机体;衰死的细菌和藻类经解体后形成溶解性有机氮和沉淀物;沉淀在厌氧区的有机氮在厌氧菌的作用下,也可得到分解。

③磷的转化及循环。污水中既含有有机磷化合物,也含有溶解性的无机磷酸盐。细菌、藻类及其他生物一方面能吸收无机磷化合物以满足其生命活动的需要,并将其转化为有机磷(合成代谢);另一方面,又可氧化分解有机磷(分解代谢)。随着白昼和夜晚光合作用的发生和停止,塘水的pH随着上升和降低,使溶解性磷与不溶解磷之间在不断地相互转化。如果水中存在有三价铁化合物,可与溶解性磷酸盐结合形成磷酸铁沉淀;如果水中存在硝酸盐,则可促使沉积中的磷转化为溶解性磷。

(3)稳定塘对污水的净化作用

①稀释作用。进入稳定塘的污水在风力、水流以及污染物的扩散作用下与塘水混合,使进水得到稀释,各项污染指标的浓度得以降低。稀释并没有改变污染物的性质,但为下一步的生物净化创造了条件。

②沉淀和絮凝作用。进入稳定塘的污水,由于流速降低,所挟带的悬浮物质沉于塘底。另外,塘水中的生物分泌物一般都具有絮凝作用,使污水中的细小悬浮颗粒产生絮凝作用,沉于塘底成为沉积层,导致污水的SS、BOD、COD等各项指标都得到降低。沉积层则通过厌氧微生物进行分解。

③水生植物的作用。水生植物能吸收氮、磷等营养,使稳定塘去除氮、磷的功能得到提高;其根部具有富集重金属的功能,可提高重金属的去除率;还有向塘水供氧的功能;其根和茎能吸附有机物和微生物,使去除BOD和COD的功能有所提高。

④微生物代谢作用。在好氧条件下,异养型好氧菌和兼性菌对有机污染物的代谢作用,是稳定塘内污水净化的主要途径。绝大部分有机污染物都是在这种作用下得以去除的,BOD可去除90%以上,COD去除率也可达80%。在兼性塘的塘底沉积层和厌氧塘内,厌氧细菌对有机污染物进行厌氧发酵分解,厌氧发酵经历水解、产氢产乙酸和产甲烷3个阶段,最终产物主要是CH4、CO2及硫醇等。CH4通过厌氧层、兼性层以及好氧层从水面逸走,厌氧反应生成的有机酸,有可能扩散到好氧层或兼性层,由好氧微生物或兼性微生物进一步加以分解,在好氧层或兼性层内的难降解物质可能沉于塘底,在厌氧微生物的作用下,转化为可降解物质而得以进一步降解。

⑤浮游生物的作用。稳定塘内存活着多种浮游生物,它们对污水的净化从不同的方面发挥着作用。藻类的主要功能是供氧,同时也可从塘水中去除一些污染物,如氮、磷等;在稳定塘内的原生动物、后生动物及枝角类浮游动物的主要功能是吞食游离细菌和细小的悬浮污染物和污泥颗粒,此外,它们还分泌能够产生生物絮凝作用的黏液;底栖动物能摄取污泥层中的藻类或细菌,使污泥数量减少;鱼类等水生生物捕食微型水生动物和残留于水中的污物。处于同一生物链的各种生物互相制约,其动态平衡有利于水质净化。

(4)影响稳定塘净化过程的因素

①光照。光是藻类进行光合作用的能源,在足够的光照强度条件下,藻类才能将各种物质转化为细胞的原生质。

②温度。温度直接影响细菌和藻类的生命活动,在适宜的温度下,微生物的代谢速率较高。

③营养物质。要使稳定塘内微生物保持正常的生理活动,必须充分满足其所需要的营养物质,并使营养元素、微量元素保持平衡。

④混合。进水与塘内原有塘水的充分混合,能使营养物质与溶解氧均匀分布,使有机物与细菌充分接触,以使稳定塘更好地发挥其净化功能。

⑤有毒物质。应对稳定塘进水中有毒物质的浓度加以限制,以避免其对塘内微生物产生抑制或毒害作用。

⑥蒸发量和降雨量。蒸发和降雨的作用使稳定塘中污染物质的浓度得到浓缩或稀释,污水在塘中的停留时间也因此而增加或缩短,将会在一定程度上影响稳定塘的净化效率。

⑦污水的预处理。进入稳定塘的污水进行适当的预处理,可以提高和保证稳定塘的净化功能,使其正常工作。预处理包括:去除悬浮物和油脂、调整pH、去除污水中的有毒有害物质、水解酸化等。

3)好氧塘

好氧塘深度一般在0.5m左右,以使阳光能够透入塘底。主要由藻类供氧,塘表面也由于风力的搅动进行自然复氧,全部塘水都呈好氧状态,由好氧微生物对有机污染物起降解作用。在好氧塘内高效地进行着光合反应和有机物的降解反应。好氧塘内的溶解氧是充足的,但在一日内是变化的。在白天,藻类光合作用放出的氧远远超过细菌所需,塘水中氧的含量很高,可达到饱和状态;晚间光合作用停止,由于生物呼吸所耗,水中溶解氧浓度下降,在凌晨时最低。随着CO2浓度的变化,引起好氧塘内pH的变化。在白天pH上升,夜晚又下降。

根据有机物负荷率的高低,好氧塘还可以分为高负荷好氧塘、普通好氧塘和深度处理好氧塘3种。高负荷好氧塘的有机负荷率高,污水停留时间短,塘水中藻类浓度很高,这种塘仅适于气候温暖、阳光充足的地区采用。普通好氧塘的有机负荷率较前者低,以处理污水为主要功能。深度处理好氧塘以处理二级处理工艺出水为目的,有机负荷率很低,水力停留时间较长,处理水质良好。

好氧塘内的生物相在种类与种属方面比较丰富,有菌类、藻类、原生动物、后生动物等。在数量上是相当可观的,每1mL水滴内的细菌数可高达108~5×109个。

好氧塘的优点是净化功能较高,有机污染物降解速率高,污水在塘内的停留时间短,但进水应进行比较彻底的预处理。好氧塘的缺点是占地面积大,处理水中含有大量的藻类,需进行除藻处理,对细菌的去除效果也较差。

4)兼性塘

兼性塘是城市污水处理最常用的一种稳定塘,塘深在1.0~2.5m,在阳光能够照射透入的塘的上层为好氧层,由好氧异养微生物对有机污染物进行氧化分解。沉淀的污泥和衰死的藻类在塘的底部形成厌氧层,由厌氧微生物起主导作用进行厌氧发酵。在好氧层与厌氧层之间为兼性层,其溶解氧时有时无,一般在白天有溶解氧存在,而在夜间又处于厌氧状态,在这层里存活的是兼性微生物,它既能够利用水中游离的分子氧,也能够在厌氧条件下从 中摄取氧。在兼性塘内进行的净化反应是比较复杂的,生物相也比较丰富,其污水净化是由好氧、兼性、厌氧微生物协同完成的。

5)厌氧塘

厌氧塘深度一般在2.0m以上,有机负荷率高,整个塘水基本上都呈厌氧状态。厌氧塘是依靠厌氧菌的代谢功能使有机污染物得到降解,包括水解、产酸及甲烷发酵等厌氧反应全过程。净化速度低,污水停留时间长。

厌氧塘在参与反应的生物方面,只有细菌,不存在其他任何生物。在系统中有产酸菌、产氢产乙酸菌和产甲烷菌共存,但三者之间不是直接的食物链关系,而是产酸菌和产氢产乙酸菌的代谢产物——有机酸、乙酸和氢是产甲烷菌的营养物质。产酸菌和产氢产乙酸菌是由兼性菌和厌氧菌组成的群集,产甲烷菌则是专性厌氧菌。

厌氧塘内污水的污染物浓度高、塘深大,易于污染地下水,因此,必须有防渗措施。厌氧塘一般多散发臭气,应使其远离住宅区,一般应在500m以上。厌氧塘处理的某些废水,在水面上可能形成浮渣层,它对保持塘水温度有利,但有碍观瞻,且在浮渣上易滋生小虫,又有碍环境卫生,应考虑采取适当措施。

厌氧稳定塘一般作为高浓度有机废水的首级处理工艺,继之还设兼性塘、好氧塘甚至深度处理塘。

6)曝气塘

曝气塘是经过人工强化的稳定塘,塘深在2.0m以上,塘内设曝气设备向塘内污水充氧,并使塘水搅动。曝气塘又可分为好氧曝气塘及兼性曝气塘两种,主要取决于曝气设备安设的数量及密度、曝气强度的大小等。好氧曝气塘与活性污泥处理法中的延时曝气法相近。曝气设备多采用表面机械曝气器,也可以采用鼓风曝气系统。在曝气条件下,藻类的生长与光合作用受到抑制。

由于经过人工强化,曝气塘的净化效果及工作效率都明显高于一般类型的稳定塘。污水在塘内的停留时间短,曝气塘所需容积及占地面积均较小,这是曝气塘的主要优点;但由于采用人工曝气措施,能耗增加,运行费用也有所提高。

7)深度处理塘

深度处理塘设置在二级处理工艺之后或稳定塘系统的最后。其功能是进一步降低二级处理水中残余的有机污染物(BOD、COD)、SS、细菌以及氮磷等植物性营养物质等,又称三级处理塘、熟化塘,在污水处理厂和接纳水体之间起到缓冲作用,以适应受纳水体或回用对水质的要求。深度处理塘一般多采用好氧塘的形式,采用大气复氧或藻类光合作用的供氧方式;也有采用曝气塘的形式,用兼性塘形式的则较少。

8)控制出水塘

控制出水塘多为兼性塘,其主要特征是人为地控制塘的出水。在年内的某个时期内,如在冬季低温季节,生物降解功能低下,处理水水质难以达到排放要求,此时塘内只有污水流入,而无处理水流出,塘起蓄水作用;在某个时期内,如在温暖季节,降解功能恢复正常,处理水水质达到排放标准,稳定塘开始正常运行,此时,可将塘水大量排出,出水量远超过进水量。控制出水塘的实质,是按一种特定的排放处理水制度运行的稳定塘。

控制出水塘适用结冰期较长的寒冷地区;干旱缺水,需要季节性利用塘水的地区;稳定塘处理水季节性达不到排放标准,或水体只能在丰水期接纳塘出水的地区。

4.7 污水厂污泥的处理

在水处理过程中,必然产生一定数量的污泥。污泥通常是指主要由各种微生物以及有机、无机颗粒组成的絮状物。污泥来自原水中的杂质和在处理过程中投加的物质,污泥的成分与原水及处理方法密切相关。原水中的杂质是无机的,产生的污泥也是无机的;原水中的杂质是有机的,则产生的污泥一般也是有机的。物理方法产生的污泥与原水中杂质相同,化学及物理化学法产生的污泥一般与原水中的杂质不同,生物处理方法产生的污泥是生物性的。例如,以地面水为水源的净化处理中,产生的主要是含铝或铁的无机污泥;以含铁锰地下水为水源的净化处理中,产生的是含铁锰无机污泥;在软化处理中,产生的是含钙镁无机污泥;在生活污水物理处理中,产生的是非生物性有机污泥;在生活污水生化处理中,产生的是生物性有机污泥。

污泥是污水处理过程中的必然产物。污泥含水率为97%时,污泥约占处理水量的0.3%~0.5%。例如一座10×104 m3/d的城市污水处理厂,每日产生的污泥量约230m3。这些污泥集聚了污水的污染物,并且很不稳定,其中含有很多细菌、病原微生物、寄生虫卵以及金属离子等有毒物质,以及植物营养素、氮、磷、钾、有机物等有用物质。

污泥问题将直接影响污水处理厂的正常运行和环境卫生。污泥处理的目的和原则有4种:一是稳定化,通过稳定化处理消除恶臭;二是无害化处理,通过无害化处理杀灭污泥中的虫卵及致病微生物,去除或转化其中的有毒有害物质,如合成有机物及重金属离子等;三是减量化处理,使之易于运输处置;四是利用,实现污泥的资源化。

4.7.1 污泥的分类及特性

1)污泥的分类

根据污泥中物质的成分,将污泥分为有机污泥和无机污泥两大类。有机污泥通常称为污泥,以有机物为主要成分,具有易腐化发臭、颗粒较细、比重较小、含水率高且不易脱水的特性,是呈胶状结构的亲水性物质。其流动性强,可用泵提升和管道输送。生活污水处理厂的污泥含有病原菌及寄生虫卵,卫生情况极差。无机污泥通常称为沉渣,以无机物为主要成分,具有颗粒较粗、比重较大、含水率较低且易于脱水的特性。

根据污泥的来源可分为以下几类:

①初次沉淀污泥。主要来自初次沉淀池,其性质随混入的生产污水性质而异。处理生活污水的初次沉淀污泥大多是颗粒较细、在低流速中会沉淀的有机悬浮物质。

②腐殖污泥和剩余污泥。腐殖污泥来自生物膜法后的二次沉淀池,剩余污泥来自活性污泥法后的二次沉淀池。这两种污泥含有大量微生物及其被吸附的有机物质,因此也是以有机物为主要成分的。

③熟污泥或消化污泥。熟污泥或消化污泥是经消化处理后的污泥。初次沉淀池污泥、腐殖污泥和剩余污泥在有条件时常作消化处理。

④化学污泥。化学污泥是采用化学方法处理污水过程中产生的污泥。在污水处理过程中,除产生以有机物为主的有机污泥外,还可能产生以无机成分为主的沉渣。在生活污水处理厂中,沉渣主要来自沉砂池,其所含杂质主要是砂粒、煤屑和矿物碎屑;若是生产污水,则沉渣来自不同的工艺过程及处理设备,例如钢铁厂高炉洗涤水的沉淀物,所含杂质主要是铁渣、焦炭末和石灰等无机物。

2)表示污泥性质的指标

(1)污泥的含水率

污泥的含水量以含水率来表示,表示单位质量污泥所含水分的质量百分数。当处理生活污水及性质与之相近的生产污水时,初次沉淀污泥的含水率为95%~97%,腐殖污泥的含水率为96%左右,而剩余污泥含水率可达99%以上,比重接近1。因此,污泥的体积、质量及污泥所含固体物浓度之间的关系可用式(4.121)来表示。

式中:V1,W1,C1——污泥含水率为p1时的污泥体积、质量与固体物浓度;

 V2,W2,C2——污泥含水率变为p2时的污泥体积、重量与固体物浓度。

式(4.121)适用于含水率大于65%的污泥。因含水率低于65%以后,污泥颗粒之间不再被水填满,体积内有气体出现,体积与质量不再符合上式所述关系。如果污泥含水率从99%降低到96%时,污泥体积可以减少3/4。

(2)污泥的脱水性能与污泥比阻

污泥脱水性能是指污泥脱水的难易程度;污泥比阻是指单位过滤面积上,单位干重滤饼所具有的阻力。污泥比阻也可反映污泥的脱水性能。

式中:r——比阻,m/kg,1m/kg=9.81×103 s2/g;

 P——过滤压力,kg/m2

 A——过滤面积,m2

 μ——滤液的动力黏滞度,kg·s/m2

 ω——滤过单位体积的滤液在过滤介质上截留的干固体质量,kg/m3

 b——污泥性质系数,s/m6

(3)挥发性固体和灰分

挥发性固体可近似代表污泥中有机物含量,又叫灼烧减重;灰分代表无机物含量,又叫灼烧残渣。通过烘干、高温(550℃、600℃)焚烧称重求测。

(4)可消化程度

可消化程度表示污泥中挥发性固体被消化降解的百分数。污泥中的有机物是消化处理的对象,有一部分易于分解(或称可被气化,无机化),另一部分不易或不能被分解,如纤维素、橡胶制品等。可消化程度用Rd表示,用下式计算:

式中:Rd——可消化程度,%;

 ps1,ps2——生污泥及消化污泥的无机物含量,%;

 pV1,pV2——生污泥及消化污泥的有机物含量,%。

(5)湿污泥比重与干污泥比重

湿污泥质量等于污泥所含水分质量与干固体质量之和。湿污泥比重等于湿污泥质量与同体积的水质量之比值。由于水比重为1,所以湿污泥比重γ可用下式计算:

式中:γ——湿污泥比重;

 p——湿污泥含水率,%;

 γs——干污泥比重。

干固体物质由有机物(即挥发性固体)和无机物(即灰分)组成,有机物比重一般等于1,无机物比重为2.5~2.65,以2.5计,则干污泥平均比重γs为:

式中:pV——污泥中有机物含量,%。

确定湿污泥比重和干污泥比重,对于浓缩池的设计、污泥运输及后续处理都有实用价值。

(6)污泥肥分

污泥中含有大量的植物营养素(氮、磷、钾)、微量元素,污泥中的有机腐殖质是良好的土壤改良剂。

(7)污泥的毒性与环境危害性

污泥的毒性和危害性主要由于其所含有的毒性有机物、致病微生物和重金属等。

污泥中含有的毒性有机物主要是难分解的有机氯杀虫剂、苯并(a)芘、氯丹、多氯联苯等。由于这类污染物的浓度能在农作物中富集10倍以上,因此,对环境和人类具有长期危害性。

污泥中含有比水中数量高得多的病原物,主要有细菌、病毒和虫卵等。常见的细菌有沙门氏菌、志贺细菌、致病性大肠杆菌、埃希氏杆菌、耶尔森氏菌和梭状芽孢杆菌等;常见的病毒有肝类病毒、呼肠病毒、脊髓灰质炎病毒、柯萨奇病毒、轮状病毒等;常见的虫卵有蛔虫卵、绦虫卵等。因此,污泥必须在资源化利用之前进行消毒处理。

污泥中一般含有较大量的重金属物质,其含量的高低取决于城市污水中工业废水所占比例及工业性质。污水经二级处理后,污水中重金属离子有50%以上转移到污泥中,因此污泥中的重金属离子含量一般都较高。

(8)污泥的热值与可燃性

污泥的主要成分是有机物,可以燃烧,其可燃性用干基热值表示。干基热值是指单位质量的干固体所具有的燃烧热值。有机固体的干基热值≥6000kJ/kg时,可稳定燃烧供热或发电。城市污水处理的各类污泥中,新鲜污泥的热值较高,消化污泥热值较低,但其干基热值均大大超过6000kJ/kg,所以干污泥具有很好的可燃性。

4.7.2 污泥量与污泥运输

1)污泥量的确定

(1)初沉污泥量

初沉污泥量可以根据污水中悬浮物浓度、去除率、污水流量及污泥含水率,用式(4.126)计算:

式中:V——初沉污泥量,m3/d;

 Q——污水流量;m3/d;

 η——去除率,%;

 C0——进水悬浮物浓度,mg/L;

 p——污泥含水率,%;

 ρ——沉淀污泥密度,以1000kg/m3计。

初沉污泥量也可以按每人每天产泥量计算:

式中:N——城市人口数,人;

 S——产泥量,L/(d·人)。

(2)二沉池污泥量

二次沉淀池的污泥量也可近似地按式(4.126)计算,η以80%计。

(3)剩余活性污泥量

一般剩余活性污泥量可用活性污泥法中的计算公式进行计算,即:

式中:QS——每日排出剩余污泥量,m3/d;

 ΔX——挥发性剩余污泥量(干重),kg/d;

 f——污泥的MLVSS/MLSS,对生活污水f=0.75,工业废水的f值通过测定确定;

 Xr——污泥浓度,g/L。

(4)消化污泥量

消化污泥量可用下式计算:

式中:Vd——消化污泥量,m3/d;

 pd——消化污泥含水率,%,取周平均值;

 V1——生污泥量,m3/d,取周平均值;

 p1——生污泥含水率,%,取周平均值;

 pV1——生污泥有机物含量,%;

 Rd——可消化程度,%,取周平均值。

2)污泥的输送

污泥输送的方法有管道、卡车、驳船以及它们的组合方法。采用何种方法决定于污泥的数量与性质、污泥处理的方案、输送距离与费用、最终处置与利用的方式等因素。这里重点介绍管道输送。

污泥管道输送是污水处理厂内或长距离输送的常用方法。管道输送具有卫生条件好、没有气味与污泥外溢、操作方便并利于实现自动化控制、运行管理费用低等优点。主要缺点是一次性投资大,一旦建成后,输送的地点固定,较不灵活。所以,污泥量大时一般考虑采用管道输送,对于中小型污水处理厂,可以考虑选用卡车、驳船等输送方式。管道输送可分为重力管道与压力管道两种。重力管道输送时,距离不宜太长,管坡一般采用0.01~0.02,管径不小于200mm,中途应设置清通口,以便在堵塞时用机械清通或高压水(污水处理厂出水)冲洗。压力管道输送时,需要进行详细的水力计算。

输送污泥用的污泥泵,在构造上必须满足不易被堵塞与磨损、耐腐蚀等基本条件。已经有效地用于污泥抽升的设备有隔膜泵、旋转螺栓泵、螺旋泵、混流泵、柱塞泵、PW型及PWL型离心泵等。

污泥在含水率较高(高于99%)的状态下,流动的特性接近于水流。随着固体浓度的增高,污泥的流动显示出半塑性或塑性流体的特性,在设计输泥管道时,常采用较大流速,使泥流处于紊流状态。

污泥在厂内输送时,重力输泥管一般采用0.01~0.02的坡度;压力输泥管一般采用表4.21所列举的最小设计流速。

表4.21 压力输泥管最小设计流速

长距离管道输送时,考虑到由于污泥,特别是生污泥、浓缩污泥可能含有油脂,固体浓度较高,使用时间长后,管壁被油脂黏附以及管底沉积,水头损失增大。目前还没有反映污泥流动反常状态的计算公式,因此仍采用一般水管的计算公式。输送沉渣的管渠,则可参考尾矿的计算公式进行设计。根据公式计算出的水头损失值,应再乘以水头损失系数K。

当采用管道输送污泥时,往往需要有污泥泵抽升污泥,抽升污泥的离心泵不应有急剧的转角,管道的尺寸尽可能大,以防止泵体被污泥中的纤维质和硬物质堵塞。污泥泵最好采用自灌式,当采用非自灌式时,不得使用一般清水泵所用的底阀。污泥站贮泥池的最小容积,应为污泥泵连续工作15min的抽泥量。贮泥池中应采取一定的搅拌措施,以防污泥沉淀。污泥泵容易堵塞和损坏,一定要有备用泵。

3)污泥的处理与处置

污泥的处理与处置是两个不同的概念。污泥的处理方法主要包括浓缩、消化、脱水、干燥等,是为了实现污泥的稳定化、无害化和减量化;而其处置方法主要包括填埋、肥料农用、焚烧等,主要是实现污泥的利用与资源化。从流程上来看,处理在前,处置在后。污泥处理可供选择的方案大致有:

①生污泥→湿污泥池→最终处置;

②生污泥→浓缩→自然干化→堆肥→最终处置;

③生污泥→浓缩→消化→最终处置;

④生污泥→浓缩→消化→自然干化→最终处置;

⑤生污泥→浓缩→消化→机械脱水→最终处置;

⑥生污泥→浓缩→机械脱水→干燥焚烧→最终处置。

第①②方案是以堆肥、农用为主。当污泥符合农用肥料条件及附近有农、林、牧或蔬菜基地时可考虑采用方案①;符合农用条件的污泥,在附近无法直接利用湿污泥时,可采用方案②。第③④⑤方案,以消化处理为主体,消化过程产生的生物能即沼气(或称消化气、污泥气)可作为能源利用。经消化后的熟污泥可直接处置,即方案③;或进行脱水减容后处置,即方案④⑤。第⑥方案是以干燥焚烧为主,当污泥不适于进行消化处理,或不符合农用条件,或受污水处理厂用地面积的限制等地区可考虑采用,焚烧产生的热能可作为能源。

方案①~⑥的处理工艺由简到繁,工程投资和管理费用亦由低到高。污泥处理方案选择时,应根据污泥的性质与数量、资金情况与运行管理费用、环境保护要求及有关法律与法规、城市农业发展情况及当地气候条件等情况,进行综合考虑后选定。

一般的无机污泥,在适当去除一些水分后,可以作为垃圾来处置。如为有毒的无机污泥则设法加以利用,如目前无法利用,则应将其密封后妥善处置。

根据要求污泥含水率降低程度的不同,降低含水率的方法有浓缩、脱水和干化之分。

污泥的浓缩是初步降低污泥的含水率,但未能改变污泥的流态。浓缩主要对象是剩余污泥。浓缩常用沉淀法,也有用气浮法和离心法的。

污泥的脱水是指将流态污泥(经过或未经过浓缩)转化为固态的湿污泥。这时,污泥的含水率从90%以上降到60%~80%。常用的脱水法分自然脱水法和机械过滤法。

污泥的干化是指把脱水污泥的含水率进一步降低到10%左右,使湿污泥块成为干的泥粉。常用的方法是烘干法,污泥量不大时也可用风干法,但风干污泥的含水率常高于10%。

有机污泥的水分不易同固体部分分离,因此,在污泥脱水前,常先把污泥进行适当处理,以改善其脱水性能。常用的改善有机污泥脱水性能的处理方法有混凝法、淘洗混凝法、升温法和冷冻法。

4.7.3污泥浓缩

污泥的含水率很大,初次沉淀池污泥含水率介于95%~97%,剩余活性污泥达99%,使污泥的处理难度很大。污泥中所含水分大致分为4类:颗粒间的空隙水,约占总水分的70%;毛细水,即颗粒间毛细管内的水,约占20%;污泥颗粒吸附水和颗粒内部水,约占10%。如图4.106所示,污泥中颗粒间的空隙水容易从污泥中分离出来,一般不需调节即可采用浓缩法去除。浓缩的方法主要有重力浓缩、气浮浓缩、离心浓缩。

图4.106 污泥水分示意图

1)重力浓缩

利用污泥自身的重力将污泥间隙中的水挤出,使污泥的含水率降低的方法,称为重力浓缩法。重力浓缩构筑物称重力浓缩池。根据运行方式的不同,可分为连续式重力浓缩池和间歇式重力浓缩池两种。

间歇式重力浓缩池如图4.107所示,在浓缩池不同深度上设置上清液排除管,运行时应先排除浓缩池中的上清液,腾出池容,再投入待浓缩的污泥。浓缩时间一般采用8~12h。

图4.107 间歇式重力浓缩池
1—污泥入流槽;2—中心筒;3—出流堰;4—上清液排除管;
5—闸门;6—污泥泵泥管;7—排泥管

间歇式重力浓缩池多采用竖流式,连续式重力浓缩池多采用辐流式。图4.108所示为连续式重力浓缩池的基本构造,污泥由中心管1连续进泥,上清液由溢流堰2出水,浓缩污泥用刮泥机4缓缓刮至池中心的污泥斗并从排泥管3排除,刮泥机4上装有垂直搅拌栅5随着刮泥机转动,周边线速度为1m/min左右,每条栅条后面可形成微小涡流,有助于颗粒之间的絮凝,可使浓缩效果提高20%以上。浓缩池底坡采用1/100~1/12,一般用1/20。

图4.108 连续式重力浓缩池基本构造
1—中心进污泥管;2—上清液溢流堰;3—排泥管;4—刮泥机;5—搅动栅

2)气浮浓缩

污泥的气浮浓缩是在加压情况下,将空气溶解在澄清水中,在浓缩池中降至常压后,释放出的大量微气泡附着在污泥颗粒的周围,使污泥颗粒比重减小而被强制上浮,达到浓缩的目的。因此,气浮法较适用于污泥颗粒比重接近于1的活性污泥,可将污泥含水率由99.5%降至94%~96%,其工艺流程如图4.109所示。气浮浓缩池的基本形式有圆形和矩形两种,如图4.110所示。

图4.109 气浮浓缩工艺流程

图4.110 气浮池的基本形式

气浮浓缩池的设计内容主要包括气浮浓缩池所需气浮面积、深度、空气量、溶气罐压力等。

3)离心浓缩

离心浓缩是利用污泥中的固体颗粒与液体的比重差,在离心力场所受到的离心力的不同而分离。由于离心力几千倍于重力,因此离心浓缩占地面积小、造价低,但运行费用与机械维修费用较高。

用于离心浓缩的离心机有转盘式离心机、篮式离心机和转鼓离心机等。

各种离心浓缩机的运行数据见表4.22,浓缩污泥为剩余活性污泥。

表4.22 离心浓缩的运行参数与效果

4.7.4 污泥稳定

污泥消化的目的就是对污泥进行稳定,以消除污泥中散发的臭味和杀灭污泥中的病原微生物。其方法有厌氧消化、好氧消化、药剂氧化、药剂稳定等。其中厌氧消化、好氧消化是利用微生物的作用将污泥中可生物降解的有机物分解(包括微生物);药剂氧化是利用氧化剂的作用将污泥中的有机物分解;药剂稳定是利用化学药剂的作用抑制微生物对污泥中有机物的分解,杀灭污泥中的病原微生物,使之不散发臭味。在污泥的稳定处理中最常用的是厌氧消化法。

1)污泥的厌氧消化

厌氧消化即污泥在无氧条件下,由兼性菌及专性厌氧细菌将污泥中可生物降解的有机物分解为二氧化碳和甲烷气(或称污泥气、消化气),使污泥得到稳定。

厌氧消化法可分为人工消化法与自然消化法,其中化粪池、双层沉淀池、堆肥等属于自然厌氧消化,消化池属于人工强化的厌氧消化。在人工消化法中,根据池盖构造的不同,又分为定容式(固定盖)消化池与动容式(浮动盖)消化池;按容量大小可分为小型消化池(1500~2500m3)、中型消化池(2500~5000m3)、大型消化池(5000~10000m3);按消化温度的不同可分为低温消化(低于20℃)、中温消化(30~37℃)、高温消化;按运行方式可分为一级消化、二级消化。

(1)一级消化

一级消化指污泥的消化和浓缩均在单个池内同时完成。最早使用的消化池叫传统消化池,称为低速消化池,是一个单级过程,称为一级消化工艺。这种消化池内一般不设搅拌设备,因而池内污泥有分层现象,仅一部分容积起到有机物的分解作用。池底部容积用于贮存和浓缩熟污泥。由于微生物不能与有机物充分接触,消化速率很低,消化时间长,一般为30~60d,池子容积虽然大,但有效利用率低,仅适用于小型装置,目前很少使用,其构造原理如图4.111所示。

(2)二级消化

二级消化指两个消化池串联运行,生污泥连续或分批投入一级消化池中并进行搅拌和加热,池内污泥保持完全混合。一级消化池的污泥靠重力排入二级消化池,利用污泥余热继续消化,并起到污泥浓缩的作用。此系统中的一级消化池称为高速消化池,如图4.112所示。

图4.111传统消化池构造原理

图4.112二级消化池构造原理

图4.113 消化时间与产气率的关系

第一级消化池有加温、搅拌设备,并有集气罩收集沼气,消化温度为33~35℃;第二级消化池没有加温与搅拌设备,消化温度为20~26℃,消化气可收集或不收集。

两级消化是根据消化过程沼气产生的规律进行设计。图4.113所示为中温消化的消化时间与产气率的关系,由此可见,在消化的前8d,产生的沼气量约占全部产气量的80%。因此,把消化池设计成两级,仅有约20%沼气量没有收集,但由于第二级消化池无搅拌、加温,减少了能耗。

两级消化池的设计主要是计算消化池的总有效容积,用式(4.129)计算,然后按容积比为一级∶二级等于1∶1,2∶1或3∶2分成两个池子即可,常采用2∶1的比值。

(3)消化池构造

消化池的基本池形有圆柱形和蛋形两种,如图4.114所示。

圆柱形厌氧消化池的池径一般为6~35m,池总高与池径之比取0.8~1.0,池底、池盖倾角一般取15°~20°,池顶集气罩直径取2~5m,高l~3m。

图4.114 消化池基本池形

大型消化池可采用蛋形,容积可做到10000m3以上。蛋形消化池在工艺与结构方面有如下优点:搅拌充分、均匀,无死角,污泥不会在池底固结;池内污泥的表面面积小,即使生成浮渣,也容易清除;在池容相等的条件下,池子总表面积比圆柱形小,故散热面积小,易于保温;蛋形的结构与受力条件最好,如采用钢筋混凝土结构可节省材料;防渗性能好,聚集沼气效果好。蛋形壳体曲线做法如图4.114(d)所示。杭州市四堡污水处理厂采用的就是蛋形消化池。

消化池的构造主要包括污泥的投配、排泥及溢流系统;沼气排出、收集与贮气设备;搅拌设备及加温设备等。

①污泥投配、排泥与溢流系统。

a.污泥投配。生污泥需先排入污泥投配池,然后用污泥泵抽送至消化池。污泥投配池一般为矩形,至少设2个,池容根据生污泥量及投配方式确定,通常按12h的贮泥量设计。投配池应加盖,设排气管及溢流管。如果采用消化池外加热生污泥的方式,则投配池可兼作污泥加热池。污泥管的最小管径为150mm。

b.排泥。消化池的排泥管设在池底,依靠消化池内的静压将熟污泥排至污泥的后续处理装置。

c.溢流装置。为避免消化池的投配过量、排泥不及时或沼气产量与用气量不平衡等情况发生时,沼气室内的气压增高致使池顶压破、消化池必须设置溢流装置,及时溢流以保持沼气室压力恒定。溢流装置的设置原则是必须绝对避免集气罩与大气相通。溢流装置常用形式有倒虹管式、大气压式及水封式3种,如图4.115所示。

图4.115 消化池的溢流装置

倒虹管式如图4.115(a)所示。倒虹管的池内端插入污泥面,池外端插入排水槽,均需保持淹没状,当池内污泥面上升、沼气受压时,污泥或上清液可从倒虹管排出。

大气压式如图4.115(b)所示。当池内沼气受到的压力超过Δh(Δh为U形管内水层高度)时,即产生溢流。

水封式如图4.115(c)所示。水封式溢流装置由溢流管、水封管与下流管组成。溢流管从消化池盖插入设计污泥面以下,水封管上端与大气相通,下流管的上端水平轴线标高高于设计污泥面,下端接入排水槽。当沼气受压时,污泥或上清液通过溢流管其管径一般不小于200mm经水封管、下流管排入排水槽。

②沼气排出、收集与贮存设备。

由于产气量与用气量的不平衡,所以设贮气柜调节和贮存沼气。沼气从集气罩通过沼气管道输送至贮气柜。沼气管的管径按日平均产气量计算,管内流速按7~8m/s计,当消化池采用沼气循环搅拌时,则计算管径时应增加搅拌循环所需沼气量。

贮气柜有低压浮盖式与高压球形罐两种,如图4.116所示。贮气柜的容积一般按平均日产气量的25%~40%,即6~10h的平均产气量计算。

低压浮盖式的浮盖质量决定了柜内的气压,柜内气压一般为1177~1961Pa(120~200mmH2 O),最高可达3432~4904Pa(350~500mmH2 O)。气压的大小可用盖顶加减铸铁块的数量进行调节。浮盖插入水封柜以免沼气外泄。浮盖的直径与高度比一般采用1.5∶1。

高压球形罐在需要长距离输送沼气时采用。

③搅拌设备。搅拌的目的是使池内污泥温度与浓度均匀,防止污泥分层或形成浮渣层,均匀池内碱度,从而提高污泥分解速度。当消化池内各处污泥浓度相差不超过10%时,即认为混合均匀。

消化池的搅拌方法有沼气搅拌、泵加水射器搅拌、联合搅拌3种方式。可连续搅拌,也可间歇搅拌,即在2~5h内将全池污泥搅拌一次。

图4.116 贮气柜

a.泵加水射器搅拌。如图4.114(a)所示,生污泥用污泥泵加压后,射入水射器,水射器顶端位于污泥面以下0.2~0.3m,泵压应大于0.2MPa,生污泥量与水射器吸入的污泥量之比为1∶(3~5)。当消化池池径大于10m时,应设水射器2个或2个以上。如果需要,可以把加压后的部分污泥从中位管压入消化池进行补充搅拌。

b.联合搅拌法。联合搅拌法的特点是把生污泥加温、沼气搅拌联合在一个热交换器装置内完成,如图4.114(b)所示。经空气压缩机加压后的沼气以及经污泥泵加压后的生污泥分别从热交换器的下端射入,并把消化池内的熟污泥抽吸出来,共同在热交换器中加热混合,然后从消化池的上部污泥面下喷入,完成加温搅拌过程。热交换器通过热量计算决定,如池径大于10m,可设2个或2个以上热交换器。这种搅拌方法推荐使用。

c.沼气搅拌。沼气搅拌的优点是没有机械磨损,搅拌比较充分,可促进厌氧分解,缩短消化时间。沼气搅拌装置如图4.114(c)所示。经空压机压缩后的沼气通过消化池顶盖上面的配气环管,通入每根立管,立管末端在同一标高上,距池底1~2m,或在池壁与池底连接面上。立管数量根据搅拌气量及立管内的气流速度决定。立管气流速度按7~15m/s设计,搅拌气量按每1000m3池容5~7m3/min计,空气压缩机的功率按每m3池容所需功率5~8W计。

④加温设备。消化池加温的目的在于维持消化池的消化温度(中温或高温),使消化能有效地进行。加温的方法有池内加温和池外加温两种。池内加温可采用热水或蒸汽直接通入消化池的直接加温方式,或通入设在消化池内的盘管进行间接加温的方式。由于存在一些诸如使污泥的含水率增加、局部污泥受热过高、在盘管外壁结壳等缺点,目前很少采用。池外加温方法是在污泥进入消化池之前,把生污泥加温到足以达到消化温度和补偿消化池壳体及管道的热损失,这种方法的优点在于可有效地杀灭生污泥中的寄生虫卵。池外加温多采用套管式泥唱水热交换器或图4.114(b)的热交换器兼混合器完成。

(4)消化池容积计算

消化池的数量应在两座或两座以上,以满足检修时消化池正常工作。

消化池有效容积的计算如下:

式中:Q0——生污泥量,m3/d;

 n——污泥投配率,%,中温消化一般取5%~8%;

 V——消化池的有效容积,m3

【例4.9】 某城市污水处理厂,初沉污泥量为300m3/d,浓缩后的剩余活性污泥为180m3/d,它们的含水率均为96%,采用两级中温消化,试计算消化池各部分尺寸。

【解】 由于剩余活性污泥量较多,故采用污泥投配率为5%,消化池总容积:

用两级消化,容积比采用一级∶二级=2∶1,则一级消化池容积为6400m3,用2个,每个消化池容积3200m3;二级消化池1个,容积为3200m3

一级消化池拟用尺寸如图4.117所示。

图4.117 消化池计算尺寸

消化池直径D=19m,集气罩直径d1=2m,高h1=2m,池底锥底直径d2=2m,锥角15°,h2=h4=2.4m。消化池柱体高度h3应大于 =9.5m,采用h3=10m。

消化池总高度:

H=h1+h2+h3+h4=2+2.4+10+2.4=16.8m

消化池各部分容积:

瞯集气罩容积:V1

瞯上盖容积:

瞯下锥体容积:等于上盖容积,V4=226.7m3

瞯柱体容积:

消化池有效容积:

V=V1+V2十V3十V4

=6.28十2833.8+226.7+226.7=3287.2m3>3200m3(合格)

二级消化池的尺寸同一级消化池尺寸。

2)污泥的好氧消化

污泥好氧消化实质上是活性污泥法的继续,微生物在外源底物耗尽后,即进入内源呼吸期,依靠代谢自身物质来维持生命活动所需能量。其反应可表示为:

从反应式可以看出,污泥中可降解物质完全被分解为无机物,反应彻底,氧化1kg细胞物质需氧 ≈2kg。

与厌氧消化相比,好氧消化的优点是:污泥中可生物降解有机物的降解程度高;清液BOD浓度低;消化污泥量少,无臭、稳定、易脱水,处置方便;消化污泥的肥分高,易被植物吸收;好氧消化池运行管理方便简单,构筑物基建费用低等。因此,特别适合于中小污水处理厂的污泥处理。缺点是:运行能耗多,运行费用高;不能回收沼气;因好氧消化不加热,所以污泥有机物分解程度随温度波动大;消化后的污泥进行重力浓缩时,上清液SS浓度高等。

好氧消化池如图4.118所示,其构造主要包括好氧消化室,进行污泥消化;泥液分离室,使污泥沉淀回流并把上清液排除;消化污泥排除管;曝气系统,由压缩空气管、中心导流筒组成,提供氧气并起搅拌作用。消化池底坡度不小于0.25,水深取决于鼓风机的风压,一般为3~4m。好氧消化法的操作较灵活,可以间歇运行操作,也可连续运行操作。

图4.118 好氧消化池

4.7.5 污泥脱水与干化

污泥经浓缩、消化后,尚有95%~97%的含水率,体积仍很大。为了综合利用和最终处置,需进一步将污泥减量,进行脱水处理。污泥脱水的主要方法有自然脱水和机械脱水等。

1)污泥的机械脱水

(1)机械脱水前的预处理

预处理的目的在于改善污泥脱水性能,提高机械脱水效果与机械脱水设备的生产能力。初沉污泥、活性污泥、腐殖污泥、消化污泥均由亲水性带负电荷的胶体颗粒组成,有机质含量高、比阻值大,脱水困难。而消化污泥的脱水性能与其搅拌方法有关,若用水力或机械搅拌,污泥受到机械剪切,絮体被破坏,脱水性能恶化;若采用沼气搅拌,脱水性能可改善。

污泥的比阻值在(0.1~0.4)×109 s2/g进行机械脱水较为经济与适宜。但是污泥的比阻值均大于此值,初沉污泥的比阻值在(4.7~6.2)×109 s2/g,活性污泥的比阻值高达(16.8~28.8)×109 s2/g,所以在机械脱水前,必须进行预处理。预处理的方法主要有化学调理法、热处理法、冷冻法及淘洗法等。

①化学调理。在污泥中投加混凝剂、助凝剂一类的化学药剂,使污泥颗粒产生絮凝,比阻降低。常用的污泥化学调理混凝剂有无机、有机和生物混凝剂3类。无机混凝剂是一种电解质化合物,主要包括铝盐、铁盐及其高分子聚合物。有机混凝剂是一种高分子聚合电解质,按基团带电性质可分为阳离子型、阴离子型、非离子型和两性型。污水处理中常用阳离子型、阴离子型和非离子型3种。混凝剂种类的选择及投加量的多少与许多因素有关,应通过试验确定。

②热处理。热处理可使污泥中有机物分解,破坏胶体颗粒稳定性,污泥内部水与吸附水被释放,比阻可降至1.0×108 s2/g,脱水性能大大改善;同时,寄生虫卵、致病菌与病毒等也可被杀灭。因此,污泥热处理兼有污泥稳定、消毒和除臭等功能。热处理后的污泥进行重力浓缩,可使其含水率从97%~99%浓缩至80%~90%,如果直接进行机械脱水,泥饼含水率可达30%~45%。热处理法分为高温加压热处理法与低温加压热处理法两种,适用于各种污泥。

高温加压热处理法的控制温度为170~200℃,低温加压热处理法的控制温度则低于150℃,可在60~80℃时运行,其他条件相同。如压力为1.0~1.5MPa,反应时间为1~2h。由于高温加压法能耗较多,且热交换器与反应釜容易结垢影响热处理效率,故一般采用低温加压法。热处理法的主要缺点是能耗较多,运行费用较高,分离液的BOD5、CODcr高(分别为4000~5000mg/L、2000~3000mg/L),设备易受腐蚀。

③冷冻。将污泥进行冷冻处理,随着冷冻过程的进行,污泥中胶体颗粒被向上压缩浓集,水分被挤出,再进行融解,使污泥颗粒的结构被彻底破坏,脱水性能大大提高,颗粒沉降与过滤速度可提高几十倍,可直接进行机械脱水。冷冻—融解是不可逆的,即使再用机械或水泵搅拌也不会重新成为胶体。

④淘洗。用于消化污泥的预处理,是以污水处理厂的出水或自来水、河水把消化污泥中的碱度洗掉以节省混凝剂用量,但增加了淘洗池及搅拌设备,一增一减基本上可抵消,该法已逐渐被淘汰。

(2)机械脱水原理

污泥的机械脱水是以过滤介质两面的压力差作为推动力,使污泥水分被强制通过过滤介质,形成滤液;而固体颗粒被截留在介质上,形成滤饼,从而达到脱水的目的。过滤基本过程如图4.119所示。

过滤开始时,滤液仅须克服过滤介质的阻力。当滤饼逐渐形成后,还必须克服滤饼本身的阻力。

图4.119 过滤基本过程

常用的污泥机械脱水方法有真空吸滤法、压滤法和离心法等。其基本原理相同,不同点仅在于过滤推动力的不同。真空吸滤脱水是在过滤介质的一面造成负压;压滤脱水是加压污泥把水分压过过滤介质;离心脱水的过滤推动力是离心力。

(3)真空过滤脱水

真空过滤脱水使用的机械是真空过滤机,主要用于初沉污泥及消化污泥的脱水。国内使用较广的是GP型转鼓真空过滤机,其构造如图4.120所示。转鼓真空过滤机脱水系统的工艺流程如图4.121所示。

图4.120 转鼓真空过滤机
Ⅰ—滤饼形成区;Ⅱ—吸干区;Ⅲ—反吹区;Ⅳ—休止区
1—空心转筒;2—污泥槽;3—扇形格;4—分配头;5—转动部件;6—固定部件;
7—与真空泵通的缝;8—与空压机通的孔;9—与各扇形格相通的孔;10—刮刀;
11—泥饼;12—皮带输送器;13—真空管路;14—压缩空气管路

图4.121 转鼓真空过滤机工艺流程

覆盖有过滤介质的空心转鼓1浸在污泥槽2内。转鼓用径向隔板分隔成许多扇形间格3,每格有单独的连通管,管端与分配头4相接。分配头由两片紧靠在一起的部件5(与转鼓一起转动)与6(固定)组成。转动部件5有一列小孔9,每孔通过连接管与各扇形间格相连。6有缝7与真空管路13相通,孔8与压缩空气管路14相通。当转鼓某扇形间格的连通管9旋转处于滤饼形成区Ⅰ时,由于真空的作用,将污泥吸附在过滤介质上,污泥中的水通过过滤介质后沿管13流到气水分离罐。吸附在转鼓上的滤饼转出污泥槽后,若管孔9在固定部件的缝7范围内,则处于吸干区Ⅱ内继续脱水,当管孔9与固定部件的孔8相通时,便进入反吹区Ⅲ与压缩空气相通,滤饼被反吹松动,然后由刮刀10刮除,滤饼经皮带输送器外输,再转过休止区Ⅳ进入滤饼形成区Ⅰ,周而复始。

GP型真空转鼓过滤机的主要缺点是:过滤介质紧包在转鼓上,清洗不充分,易于堵塞,影响过滤效率。为解决这个问题,可采用链带式转鼓真空过滤机,即用辊轴把过滤介质转出,卸料并将过滤介质清洗干净后转至转鼓。

真空过滤脱水的特点是能够连续生产,运行平稳,可自动控制。主要缺点是附属设备较多,工序较复杂,运行费用较高。真空过滤脱水所需附属设备包括真空泵、空压机、气水分离罐等。真空泵抽气量为每过滤面积0.5~1.0m3/min,真空度为200~500mmHg,最大600mmHg,真空泵所需电机按每1m3/min抽气量配1.2kW计算,真空泵不少于2台。空压机压缩空气量按每m2过滤面积为0.1m3/min、压力(绝对压力)为0.2~0.3MPa进行空压机选型,空压机所需电机按空气量每1m3/min配4kW计算,空压机不少于2台。

(4)压滤脱水

图4.122 板框压滤机

压滤脱水采用板框压滤机,其基本构造如图4.122所示。板与框相间排列,在滤板的两侧覆有滤布,用压紧装置把板与框压紧,即在板与框之间构成压滤室,在板与框的上端中间相同部位开有小孔,污泥由该通道进入压滤室,将可动端板向固定端板压紧,污泥加压到0.2~0.4MPa,在滤板的表面刻有沟槽,下端钻有供滤液排出的孔道,滤液在压力下通过滤布,沿沟槽与孔道排出滤机,使污泥脱水。将可动端板拉开,清除滤饼。

压滤机可分为人工板框压滤机和自动板框压滤机两种。人工板框压滤机,需一块一块地卸下,剥离泥饼并清洗滤布后再逐块装上,劳动强度大,效率低;自动板框压滤机,上述过程都是自动的,效率较高、劳动强度低,自动板框压滤机有垂直式与水平式两种。

压滤脱水的设计主要是根据污泥量、污泥性质、调节方法、脱水泥饼浓度、压滤机工作制度、压滤压力等计算过滤产率及所需压滤机面积与台数。压滤机的产率一般为2~4kg/(m2·h),压滤脱水的过滤周期为1.5~4h。

板框压滤机构造较简单,过滤推动力大,适用于各种污泥,但不能连续运行。

(5)滚压脱水

污泥滚压脱水的设备是带式压滤机。其主要特点是把压力施加在滤布上,依靠滤布的压力和张力使污泥脱水。这种脱水方法不需要真空或加压设备,动力消耗少,可以连续生产,目前应用较为广泛。

图4.123 带式压滤机

带式压滤机基本构造如图4.123所示,由滚压轴及滤布带组成。污泥先经过浓缩段(主要依靠重力),使污泥失去流动性,以免在压榨段被挤出滤布,浓缩段的停留时间为10~20s。然后进入压榨段,压榨时间为1~5min。

滚压的方式有两种:一种是滚压轴上下相对,几乎是瞬时压榨,压力大,如图4.123(a)所示;另一种是滚压轴上下错开,如图4.123(b)所示,依靠滚压轴施于滤布的张力压榨污泥,压榨的压力受张力限制,压力较小,压榨时间较长,主要依靠滚压对污泥剪切力的作用,促进泥饼的脱水。

(6)离心脱水

污泥离心脱水采用的设备一般是低速锥筒式离心机,构造如图4.124所示。主要组成部分为螺旋输送器、锥形转筒、空心转轴。污泥从空心轴筒端进入,通过轴上小孔进入锥筒,螺旋输送器固定在空心转轴上,空心转轴与锥筒由驱动装置传动,同向转动,但两者之间有速差,前者稍慢,后者稍快。污泥中的水分和污泥颗粒由于受到的离心力不同而分离,污泥颗粒聚集在转筒外缘周围,由螺旋输送器将泥饼从锥口推出,随着泥饼的向前推进不断被离心压密,而不会受到进泥的搅动,分离液由转筒末端排出。

空心转轴与锥筒的速差越大,离心机的产率越大,泥饼在离心机中的停留时间也越短。泥饼的含水率越高,其固体回收率越低。

低速离心机由于转速低,所以动力消耗、机械磨损、噪声等都较低。污泥离心脱水具有构造简单、操作方便、可连续生产、可自动控制、卫生条件好、占地面积小、脱水效果好等优点,所以是目前污泥脱水的主要方法;缺点是污泥的预处理要求较高,必须使用高分子调节剂进行污泥调节。

2)污泥的自然干化

利用自然下渗和蒸发作用脱除污泥中的水分,即自然干化。其主要构筑物是干化场。

图4.124 锥筒式离心机构造示意图

(1)干化场的分类与构造

干化场分为自然滤层干化场与人工滤层干化场两种。前者适用于自然土质渗透性能好、地下水位低的地区。人工滤层干化场的滤层是人工铺设的,又可分为敞开式干化场和有盖式干化场两种。

人工滤层干化场的构造如图4.125所示,它由不透水底层、排水系统、滤水层、输泥管、隔墙及围堤等部分组成。有盖式的,设有可移开(晴天)或盖上(雨天)的顶盖,顶盖一般用弓形复合塑料薄膜制成,移置方便。

滤水层的上层用细矿渣或砂层铺设,厚度为200~300mm;下层用粗矿渣或砾石,层厚200~300mm。排水管道系统用100~150mm的陶土管或盲沟铺成,管道之间中心距4~8m,纵坡0.002~0.003,排水管起点覆土深(至砂层顶面)为0.6m。不透水底板由200~400mm厚的黏土层或150~300mm厚三七灰土夯实而成,也可用100~150mm厚的素混凝土铺成,底板有0.01~0.02的坡度坡向排水管。

隔墙与围堤把干化场分隔成若干分块,通过切门的操作轮流使用,以提高干化场利用率。在干燥、蒸发量大的地区,可采用由沥青或混凝土铺成的不透水层而无滤水层的干化场,依靠蒸发脱水。这种干化场的优点是泥饼容易铲除。

(2)干化场的脱水特点及影响因素

干化场脱水主里依靠渗透、蒸发与撇除。渗透过程在污泥排入干化场最初的2~3d内完成,可使污泥含水率降低至85%左右。此后水分依靠蒸发脱水,经1周或数周(决定于当地气候条件)后,含水率可降低至75%左右。

影响干化场脱水的因素主要是气候条件和污泥性质。气候条件包括当地的降雨量、蒸发量、相对湿度、风速和年冰冻期。污泥性质对脱水影响较大,例如初沉污泥或浓缩后的活性污泥,由于比阻较大,水分不易从稠密的污泥层中渗透下去,往往会形成沉淀,分离出上清液,故这类污泥主要依靠蒸发脱水,可在围堤或围墙的一定高度上开设撇水窗,撇除上清液,加速脱水过程。而消化污泥在消化池中承受着高于大气压的压力,污泥中含有许多沼气泡,排到干化场后,由于压力的降低,气体迅速释出,可把污泥颗粒挟带到污泥层的表面,使水的渗透阻力减小,提高了渗透脱水性能。

图4.125 人工滤层干化场

(3)干化场的设计

干化场设计的主要内容是确定总面积与分块数。

干化场总面积一般按面积污泥负荷进行计算。面积污泥负荷是指单位干化场面积每年可接纳的污泥量,单位为m3/(m2·a)或m/a。面积负荷的数值由试验确定。

干化场的分块数最好大致等于干化天数,以使每次排入干化场的污泥有足够的干化时间,并能均匀地分布在干化场上以及铲除泥饼的方便。如干化天数为8d,则分为8块,每天铲泥饼和进泥用1块,轮流使用。每块干化场的宽度与铲泥饼的机械与方法有关,一般采用6~10m。

4.7.6 污泥的最终处置

1)污泥的消毒

为避免在污泥利用和污泥处理过程中病毒、病原菌、病虫卵等对人体产生危害,必须对污泥进行经常性或季节性的消毒。

各种病毒、病原菌、病虫卵等对温度都较敏感,绝大多数都能在约60℃、60min内死亡。其致死温度与时间列于表4.23中,由于受到污泥的包裹,致死温度与时间要略高于表中所列的数值。

表4.23 传染病菌、病虫卵与病毒的致死温度与时间

在污泥处理过程中,有很多处理方法兼具消毒功能。例如高温消化病虫卵的杀灭率达95%~100%,伤寒与痢疾杆菌杀灭率为100%。消化前的污泥加温、机械脱水前的热处理、污泥干燥与焚烧、湿式氧化、堆肥等方法都有较高的消毒效果。

专用的污泥消毒方法有加氯消毒法、巴氏消毒法、石灰稳定法等。

(1)加氯消毒法

在污泥中加氯可起到消毒作用,成本低,操作简单。但加氯后会与污泥中的H产生HCl,使pH急剧降低并可能产生氯胺。另外,HCl会溶解污泥中的重金属,使污泥水的重金属含量增加,因此采用加氯消毒法应慎重。

(2)巴氏消毒法

巴氏消毒法又称低热消毒法,有直接加温和间接加温两种方式。直接加温法以蒸汽直接通入污泥,使泥温达到70℃,持续30~60min,所需蒸汽量根据污泥温度计算确定。本法的优点是热效率高,但污泥的含水量将增加,污泥体积将增加7%~20%。间接加温法用热交换器使泥温达到70℃,此法的优点是污泥的体积不会增加,但如果污泥硬度较高,会在热交换器表面产生结垢。

巴氏消毒法操作比较简单,效果好,但成本较高。热源可用消化气,消毒后的污泥余热可回收用于预热待消毒的污泥以降低耗热量。

(3)石灰稳定法

投加消石灰调节污泥的pH,使pH达到11.5,持续2h可杀灭传染病菌,并有防腐与抑制气味产生的效果,兼污泥稳定作用。此法消毒后的污泥,因pH太高不能用于农田,可用作填地或制造建材。

2)污泥的干燥

让污泥与热干燥介质(热干气体)接触,使污泥中水分蒸发而随干燥介质除去。污泥干燥处理后,含水率可降至20%左右,体积可大大减小,从而便于运输、利用或最终处置。污泥干燥与焚烧各有专用设备,也可在同一设备中进行。根据干燥器形状可分为回转圆筒式、急骤干燥器及带式干燥器3种。回转圆筒式干燥器在我国应用较多,其主体是用耐火材料制成的旋转滚筒,按照热风与污泥流动方向的不同分为并流、逆流与错流3种类型。

并流干燥器中干燥介质与污泥的流动方向相同。含水率、高温度低的污泥与含湿量低、温度高的干燥介质在同一端进入干燥器,两者之间的温差大,干燥推动力也大。流至干燥器的另一端时干燥介质的温度降低,含湿量增加,污泥被干燥且温度升高。并流干燥器的沿程推动力不断降低,被介质带走的热能少,热损失较小。

逆流干燥器中干燥介质与污泥的流动方向相反。沿程干燥推动力较均匀,干燥速度也较均匀,干燥程度高。缺点是由于含水率高、温度低的污泥与含湿量高且温度已降低的干燥介质接触,介质所含湿量有可能冷凝而反使污泥含水率提高。此外,干燥介质排出时温度较高、热损失较大。

错流干燥器的干燥筒进口端较大、出口端较小,筒内壁固定有炒板,污泥与干燥介质同端进入后,由于筒体在旋转时,炒板把污泥炒起再掉下与干燥介质流向成为垂直相交。错流干燥器可克服并流、逆流的缺点,但构造比较复杂。

3)污泥的焚烧

在下列情况下可以考虑采用污泥焚烧工艺:

①当污泥有毒物质含量高或不符合卫生要求,不能加以利用,其他处置方式又受到限制;

②卫生要求高,用地紧张的大、中城市;

③污泥自身的燃烧热值高,可以自燃并利用燃烧热量发电;

④可与城市垃圾混合焚烧并利用燃烧热量发电。

污泥经焚烧后,含水率大为降低,使运输与最后处置简化。污泥在焚烧前应有效地脱水干燥。焚烧所需热量依靠污泥自身所含有机物的燃烧热值或辅助燃料。如果采用污泥焚烧工艺时,前处理不宜采用污泥消化或其他稳定处理,以避免有机物质减少而降低污泥的燃烧热值。

污泥焚烧分为完全焚烧和不完全焚烧。

①完全焚烧指在高温、供氧充足、常压条件下焚烧污泥,使污泥所含水分被完全蒸发,有机物质被完全氧化,焚烧的最终产物是CO2、H2 O、N2等气体及焚烧灰。

污泥的燃烧热值由污泥的有机物含量,尤其是含碳量决定,可根据污泥性质及有机物含量计算得出,也可查表4.24。

表4.24 各种污泥的燃烧热值表  单位:kJ/kg

完全焚烧设备主要有回转焚烧炉、立式多段炉及流化床焚烧炉等,详见有关设备手册。

②不完全燃烧又称湿式燃烧,是经浓缩后的污泥(含水率约96%),在液态下加温加压并压入压缩空气,使有机物被氧化去除,从而改变污泥结构与成分,脱水性能大大提高。湿式燃烧有80%~90%的有机物被氧化,故又称为不完全焚烧。

湿式燃烧必须在高温高压下进行,所用的氧化剂为空气中的氧气或纯氧、富氧。湿式燃烧属于化工装置。

湿式燃烧法主要应用于高浓度有机性废水或污泥;含危险物、有毒物、爆炸物废水或污泥;回收有用物质,如混凝剂、碱等;再生活性炭等。

湿式燃烧法适应性较强,难生物降解有机物也可被氧化;达到完全杀菌;反应在密闭的容器内进行,无臭,管理自动化;反应时间短,仅约1h,好氧与厌氧微生物难以在短时间内降解的物质如吡啶、苯类、纤维、乙烯类、橡胶制品等,都可被碳化;残渣量少,仅为原污泥的1%以下,脱水性能好;分离液中氨氮含量高,有利于生物处理。

4)污泥的处置与利用

污泥的处置是以脱水(减小体积,有利运输)及防止二次污染(可能的情况下进行综合利用,变害为利)为主要目的。污泥的最终处置方法可以分为农业使用、工业使用、填埋、丢弃海中4种。

(1)农业使用

污泥经消化、干化、脱水后,可用于农业肥料或制作饲料,但用于肥料的多。污泥用作肥料或饲料,必须满足卫生要求,即不得含有致病微生物和寄生虫卵,有毒物质含量也必须在限量之内,应满足作为农业用或饲料用的有关规定。有毒物质包括有机成分(如油脂等)与无机成分(如重金属离子)等。

有机有毒物质会破坏土壤结构或毒害作物。无机有害物质(重金属离子)可分为两部分:一部分为水溶性的,可被作物吸收;另一部分为非水溶性的,不易被作物吸收。微量重金属离子对动、植物生长都必不可少,但浓度过高又造成对动、植物的毒害。其毒害作用表现在:抑制动植物生长;使土壤贫瘠;在动植物体内积累与富集,构成对人、畜的潜在危险。

污泥肥料与化学肥料相比较,其中的氮、磷、钾含量虽较低,但有机物含量高,肥效持续时间长,可以改善土壤结构。所以把污泥用作肥料应该受到充分的重视。

污泥作为肥料,使用的方法有3种:

①直接使用,仅适用于消化污泥;

②使用干燥污泥,这种用法方便卫生,但成本较高;

③制成复合肥料,即把污泥与化学肥料混合后使用。

(2)工业使用

利用污泥作为各种类型工业建筑材料,主要有制砖和制纤维板材等。

污泥制砖可以采用干化污泥直接制砖,也可以利用污泥焚烧灰制砖。用干化污泥直接制砖,要对污泥的成分进行适当调整,使其成分与制砖黏土的成分相当。利用污泥焚烧灰制砖,其化学成分与黏土接近。焚烧灰还可用来填充洼地和充作筑路材料使用,也可以投弃于废矿井中。含有金属物质的污泥在焚烧后,焚烧灰中的金属得到了浓缩,处置应加以控制。

污泥制生化纤维板材,主要利用活性污泥中所含粗蛋白与球蛋白,在一定条件下加热、干燥、加压后,会发生一系列性质上的改变,即蛋白质的变性作用,从而制成蛋白胶,与废纤维一起压制成板材。

4.8 城镇污水处理工艺系统

4.8.1 设计水质、水量与处理程度

1)城镇污水的组成与水质特征

城镇污水是由城镇排水系统汇集的污水,它是由居民的生活污水和位于城区内的工业企业排放的工业废水所组成。

生活污水是城镇污水的主要组成部分,一般情况下,城镇污水都具有生活污水的特征。典型的生活污水水质见表4.25。

表4.25 典型的生活污水水质

续表

城镇排水系统一般都接纳由工业企业排放的工业废水,由于各地的工业废水的水量、水质的千变万化,造成每个城镇的污水水量和水质的各不相同。

2)城镇污水的设计水质

(1)生活污水

生活污水的BOD5和SS的设计值可取为:BOD5=20~35g/(人·d),SS=35~50g/(人·d)。

(2)工业废水

工业废水的水质可参照不同类型的工业企业的实测数据或经验数据确定。

(3)水质浓度

水质浓度按下式计算:

式中:S——某污染物质的浓度,mg/L;

 as——每日生活污水和工业废水中该污染物质的总排放量,kg;

 Qs——每日的总排水量,以m3计。

3)城镇污水处理厂的设计水量

用于城镇污水处理厂的设计水量有以下几种:

①平均日流量(m3/d),表示污水处理厂的规模,即处理总水量。用于计算污水处理厂的年抽升电耗与耗药量,产生并处理的污泥总量。

②设计最大流量(m3/h或L/s),用于污水处理厂的进厂管道的设计。如果污水处理厂的进水为水泵抽升,则用组合水泵的工作流量作为设计最大流量。

③降雨时的设计流量(m3/d或L/s),包括旱天流量和截流n倍的初期雨水流量。用于校核初沉池前的处理构筑物和设备。

④污水处理厂的各处理构筑物及厂内连接各处理构筑物的管渠,都应满足设计最大流量的要求。但当曝气池的设计反应时间在6h以上时,可采用平均日流量作为曝气池的设计流量。

⑤当污水处理厂分期建设时,以相应的各期流量作为设计流量。

4)正确处理工业废水与城镇污水处理的关系

工业废水的成分十分复杂,可能含有特殊的污染物质,甚至所含污染物的浓度很高,如果直接排入城镇排水系统,必然会对城镇污水处理厂的运行管理带来不利影响。为了保证处理厂的正常运行,排入城镇排水系统的工业废水必须满足下列要求:

①不得含有能够破坏城镇排水管道的成分,如酸性废水及含有可燃和易爆物质的废水,还不得含有能够堵塞管道的物质和对养护工作人员造成伤害的物质;

②所含的大部分污染物质必须是能为微生物所降解,并对微生物的代谢活动无抑制或毒害作用;

③污染物质的浓度不能过高,以免增加污水处理厂的负荷,影响处理效果;

④水温不得高于40℃;

⑤对含有病原菌的医院、疗养院的污水必须进行严格的消毒处理后再行排入。

城镇的市政管理部门,可根据本地的具体条件,依据我国制定的工业废水排入城镇排水系统的水质标准作出相应规定,以使污水水质与城镇污水水质基本一致,这样既不会损坏下水道,又不会影响微生物的活动。对不符合要求的工业废水,必须在厂(院)内进行预处理,然后方可排入城镇排水系统。

5)工业废水与生活污水共同处理的优点

(1)建设费用与运行费用较低

污水处理厂的规模越大,其单位处理能力的基建费用和运行费用越低。日处理量在10000m3以下的污水处理厂,比日处理量介于10000~100000m3的污水处理厂的造价指标提高20%~30%。

一些中小型工业企业设置的污水处理厂(站)往往需要设水量或水质调节池,某些厂还需要向处理的废水中投加化学药剂,以保证微生物对氮、磷等营养物质的需要,这样都将增大污水处理设备的建设投资和运行费用。

(2)占地面积小,不影响环境卫生

工业企业分散地设置独立的污水处理厂(站)往往比集中建造大型污水处理厂占用更多的土地面积,而且还会给厂区环境带来一些不良影响。而城镇污水处理厂一般都建于远离城镇的郊区,而且中间隔以卫生防护带,无碍于城镇环境卫生。

(3)便于运行管理,节省管理人员

规模较大的污水处理厂,有条件配备技术水平较高的技术管理人员,有利于发挥处理设备的最大效能。单位污水量配备的管理人员数也大大低于分散处理。

(4)能够保证污水的处理效果

中小型工业企业的工业废水,其水质和水量的波动很大,给污水处理厂的运行管理带来一定困难,并影响处理效果。而城镇污水处理厂,由于大量的城镇污水而得到均衡,废水中的某些有毒物质也因此而得到稀释,氮、磷等微生物营养物质也能够得到保证,这样在一定程度上保证了处理效果。

4.8.2 设计原则与步骤

城镇污水处理厂的设计可分为设计前期工作、扩大初步设计、施工图设计3个阶段。

1)设计的前期工作

设计前期工作主要有预可行性研究(项目建议书)和可行性研究(设计任务书)。

(1)预可行性研究

预可行性研究报告是建设单位向上级送审的枟项目建议书枠的技术附件。须经专家评审,并提出评审意见,经上级机关审批后立项,然后可进行下一步的可行性研究。我国规定,投资在3000万元以上较大工程项目必须进行预可行性研究。

(2)可行性研究

可行性研究报告是对与本项工程有关的各个方面进行深入调查和研究,进行综合论证的重要文件,是项目的建设提供科学依据,保证所建项目在技术上先进、可行;在经济上合理、有利,并具有良好的社会与环境效益。

城镇污水处理厂工程的可行性研究报告的主要内容包括:项目概述;工程方案的确定;工程投资估算及资金筹措;工程远近期的结合;工程效益分析;工程进度计划;存在问题及建议;附图、附表、附件等。

可行性研究报告是国家控制投资决策的重要依据。可行性研究报告经上级有关部门批准后,可进行扩大初步设计。

2)扩大初步设计

扩大初步设计由下列5部分组成:

①设计说明:书包括:设计依据及有关文件;城市概况及自然条件资料;工程设计说明等。

②工程量:包括工程所需的混凝土量、挖填土方量等。

③材料与设备:即工程所需钢材、水泥、木材的数量和所需设备的详细清单。

④工程概算书:计算本工程所需各项费用。

⑤图纸:主要包括污水处理厂工艺流程图、总平面布置图等。

3)施工图设计

施工图设计是以扩大初步设计为依据,并在扩大初步设计被批准后进行,原则上不能有大的方案变更及超出概算额。

施工图设计是将污水处理厂各处理构筑物的平面位置和高程精确地表示在图纸上,并详细表示出每个节点的构造、尺寸,每张图纸都应按一定的比例用标准图例精确绘制,要求达到能够使施工人员按图准确施工的程度。

4.8.3 厂址选择与工艺系统确定

1)厂址选择

污水处理厂厂址的选定与城镇的总体规划;城镇排水系统的走向、布置;处理后污水的出路等密切相关,是制订城镇污水处理系统方案的重要环节。

污水处理厂厂址选择,应进行综合的技术、经济比较与最优化分析,并通过专家的反复论证后再行确定。一般应遵循以下原则:

①应与选定的污水处理工艺相适应。

②尽量做到少占农田和不占良田。

③应位于城镇集中给水水源下游;设在城镇、工厂厂区及生活区的下游,并保持300m以上的距离,但也不宜太远;位于夏季主风向的下风向。

④应考虑与处理后的污水或污泥的利用用户靠近,或靠近受纳水体,并便于运输。

⑤不宜设在雨季易受水淹的低洼处;靠近水体的处理厂要考虑不受洪水威胁;应尽量设在地质条件较好的地方,以方便施工,降低造价。

⑥要充分利用地形,选择有适当坡度的地区,以满足污水处理构筑物高程布置的需要,以减少土方工程量,降低工程造价。若有可能,宜采用污水不经水泵提升而自流流入处理构筑物的方案,以节省动力费用、降低处理成本。

⑦应与城镇污水管道系统布局统一考虑。

⑧应考虑城市远期发展的可能性,留有扩建余地。

污水处理厂的占地面积与处理水量和所采用的处理工艺有关。表4.26所列用地面积可供在污水处理厂建设前期的规划设计时参考。

表4.26 城镇污水处理厂用地面积

续表

2)工艺系统确定

污水处理的工艺系统是指在保证处理水达到所要求的处理程度的前提下,所采用的污水处理技术各单元的组合。

对于某种污水,采用哪几种处理方法组成系统,要根据污水的水质、水量,回收其中有用物质的可能性、经济性,受纳水体的具体条件,并结合调查研究与经济与技术比较后决定,必要时还需进行试验。

在选定处理工艺流程的同时,还需要考虑确定各处理技术单元构筑物的型式,两者互为制约、互为影响。

(1)选定污水处理工艺系统应考虑的因素

①污水的处理程度。污水的处理程度是污水处理工艺流程选择的主要依据,而污水处理程度又主要取决于原污水的水质特征、处理后水的去向及相应的水质要求。污水的水质特征,表现为污水中所含污染物的种类、形态及浓度,直接影响工艺流程的简单与复杂。处理后水的去向和水质要求,往往决定着污水治理工程的处理深度。

②工程造价与运行费用。以污水的水质、水量及其他自然状况为已知条件,以处理水应达到的水质指标为制约条件,以处理系统最低的总造价和运行费用为目标函数,建立三者之间的相互关系。减少占地面积是降低建设费用的一项重要措施。

③当地的各项条件。当地的地形、气候等自然条件,原材料与电力供应等具体情况。

④污水水量与污水流入工况。污水水量与污水流入工况直接影响到处理构筑物的选型及处理工艺的选择。

⑤处理过程是否产生新的矛盾。污水处理过程中应注意避免造成二次污染。

工程施工的难易程度和运行管理需要的技术条件也是选定处理工艺流程需要考虑的因素。

污水处理工艺流程的选定是一项比较复杂的系统工程,必须对上述各项因素进行综合考虑,进行多种方案的技术经济比较,选定技术先进可行、经济合理的污水处理工艺。

(2)典型的城镇污水处理工艺

城镇污水处理的典型工艺流程是由完整的二级处理系统和污泥处理系统所组成。

该流程的一级处理是由格栅、沉砂池和初次沉淀池所组成,其作用是去除污水中的无机和有机性的悬浮污染物,污水的BOD能够去除20%~30%。

二级处理系统是城镇污水处理厂的核心,其主要作用是去除污水中呈胶体和溶解状态的有机污染物,BOD去除率达90%以上。通过二级处理,污水的BOD5可降至20~30mg/L,一般可达排放水体和灌溉农田的要求。

根据枟城镇污水处理厂污染物排放标准枠(GB 18918—2002),二级处理只能达到一级B标准,如果达到一级A标准,还需要在二级处理的基础上进行深度处理,一般是在二沉池出水后增加过滤工艺。

应用于二级处理的各类生物处理技术有活性污泥法、生物膜法及自然生物处理技术,只要运行正常,都能取得良好的处理效果。

污泥是污水处理过程的副产品,也是必然的产物。污泥包括从初次沉淀池排出的初沉污泥和从生物处理系统排出的生物污泥。在城镇污水处理系统中,对污泥的处理多采用浓缩、厌氧消化、脱水等技术单元组成的系统,处理后的污泥可作为肥料用于农业。

4.8.4 平面与高程布置

1)平面布置

在污水处理厂厂区内有各处理单元构筑物,连通各处理构筑物之间的管、渠及其他管线,辅助性建筑物,道路以及绿地等。在进行厂区平面规划、布置时,应从以下几方面进行考虑。

(1)各处理单元构筑物的平面布置

处理构筑物是污水处理厂的主体建筑物,在进行平面布置时,应根据各构筑物的功能要求和水力要求,结合地形和地质条件,合理布局,确定它们在厂区内平面的位置,以减少投资并使运行方便。应考虑的因素有:

①应布置紧凑,以减少处理厂占地面积和连接管线的长度,但应考虑施工和运行操作的方便。

②应使各处理构筑物之间的连接管渠便捷、直通,避免迂回曲折,处理构筑物一般按流程顺序布置。

③充分利用地形,以节省挖填土方量,并避开劣质土壤地段,使水流能自流输送。

④在处理构筑物之间,应有保证敷设连接管、渠要求的间距,一般可取5~10m,某些有特殊要求的构筑物,如污泥消化池、消化气贮罐等,其间距应按有关规定确定。

(2)管、渠的平面布置

在污水处理厂各处理构筑物之间,设有贯通、连接的管渠。此外,还有放空管及超越管渠,放空管的作用是在构筑物内设施需要检修时,构筑物内污水的放空;超越管的作用是在构筑物发生故障或污水没必要进构筑物处理时,能越过该处理构筑物。污水处理厂一般设有超越全部处理构筑物,直接排放水体的超越管。管渠的布置应尽量短,避免曲折和交叉。

在污水处理厂内还设有给水管、空气管、消化气管、蒸汽管以及输配电线路等。在布置时,应避免相互干扰,既要便于施工和维护管理,又要占地紧凑,即可敷设在地下,也可架空敷设。

另外,在厂区内还应有完善的雨水收集及排放系统,必要时应考虑设防洪沟渠。

(3)辅助建筑物的平面布置

污水处理厂内的辅助建筑物有泵房、鼓风机房、加药间、办公室、集中控制室、水质分析化验室、变电所、机修车间、仓库、食堂等,它们是污水处理厂不可缺少的组成部分。其建筑面积大小应按实际情况与条件而定。有条件时,可设立试验车间,以不断研究与改进污水处理技术。

辅助建筑物的布置应根据方便、安全等原则确定。如泵房、鼓风机房应尽量靠近处理构筑物附近,变电所宜设于耗电量大的构筑物附近;操作工人的值班室应尽量布置在使工人能够便于观察处理构筑物运行情况的位置;办公室、分析化验室等均应与处理构筑物保持一定距离,并处于它们的上风向,以保证良好的工作条件;贮气罐、贮油罐等易燃易爆建筑的布置应符合防爆、防火规程。

在污水处理厂内应合理地修筑道路和停车场地。一般主干道4~6m,车行道3~4m,人行道1.5~2m,并合理植树,绿化美化厂区,改善卫生条件。按规定,污水处理厂厂区的绿化面积不得少于30%。另外,要预留适当的扩建场地,并考虑施工方便和相互间的衔接。

在工艺设计计算时,除应满足工艺设计上的要求外,还必须符合施工、运行上的要求。对于大、中型处理厂,应作多方案比较,找出最佳方案。

总平面布置图可根据污水厂的规模采用1∶200~1∶1000的比例绘制,常用的比例尺为1∶500。

图4.126为A市污水处理厂总平面布置图。该厂的主要处理构筑物有机械清渣格栅、曝气沉砂池、初次沉淀池、鼓风深水中层曝气池、二次沉淀池、消化池等及若干辅助建筑物。该厂的平面布置特点为:流线清楚、布置紧凑。鼓风机房和回流污泥泵房位于曝气池和二次沉淀池一侧,节约了管道与动力消耗,方便操作管理。污泥消化系统构筑物靠近处理厂西侧的四氯化碳制造厂,使消化气、蒸气输送管较短,节约了建设投资。办公楼与处理构筑物、鼓风机房、泵房、消化池等保持一定距离,卫生条件与工作条件均较好。在管线布置上,尽量一管多用,如超越管、处理水出厂管都借雨水管泄入附近水体,而剩余污泥、污泥水、各构筑物放空管等又都汇入厂内污水管,并流入泵房集水井。不足之处是由于厂东西两侧均为河浜,使得用地受到限制,无远期发展余地。

图4.127为B市污水处理厂总平面布置图。该厂泵站设于厂外,主要处理构筑物有格栅、曝气沉砂池、初次沉淀池、曝气池、二次沉淀池等。该厂污泥通过污泥泵房直接加压送往农田作为肥料利用。该厂平面布置的特点是:布置整齐、紧凑。两期工程各自独成系统,对设计与运行相互干扰较小。办公室等建筑物均位于常年主风向的上风向,且与处理构筑物有一定距离,卫生、工作条件较好。在污水流入初次沉淀池、曝气池与二次沉淀池时,先后经3次计量,为分析构筑物的运行情况创造了条件。利用构筑物本身的管渠设立超越管线,既节省了管道,运行又较灵活。二期工程预留地设在一期工程与厂前区之间,若二期工程改用其他工艺或另选池型时,在平面布置上将受到一定的限制。泵站与湿污泥地均设于厂外,管理不甚方便。此外,3次计量增加了水头损失。

2)高程布置

污水处理厂高程布置的目的是:确定各处理构筑物和泵房的标高,确定处理构筑物之间连接管渠的尺寸及其标高,计算确定各部位的水面标高,使水能按处理流程在处理构筑物之间靠重力自流,以降低运行和维护管理费用,从而保证污水处理厂的正常运行。

图4.127 B市污水处理厂总平面布置图
A—格栅;B—曝气沉淀池;C—除沉淀池;D—曝气池;E—二沉池;F—计量堰;
G—除渣池;H—污泥泵房;I—机修车间;J—办公及化验室等

相邻两构筑物之间的水面相对高差,即为流程中的水头损失。水头损失包括:

①污水流经各处理构筑物的水头损失可参考表4.27选取或进行详细的水力计算。一般来讲,污水流经处理构筑物的水头损失主要产生在进口、出口和需要的跌水处(多在出口),而流经处理构筑物本体的水头损失则较小。

表4.27 污水流经各处理构筑物的水头损失

②污水流经连接前后两处理构筑物管渠(包括配水设备)的水头损失,包括沿程与局部水头损失,需要通过水力计算得出。

③污水流经计量设备的水头损失。

高程布置时,以接纳处理水的水体的最高水位作为起点,逆污水处理流程向上倒推计算,以使处理后污水在洪水季节也能自流排出,而水泵需要的扬程较小,运行费用也较低。但同时应考虑到构筑物的挖土深度不宜过大,以免土建投资过大和增加施工难度。还应考虑到因维修等原因需将池水放空而在高程上提出的要求。

高程布置应遵循以下原则:

①选择一条距离最长、水头损失最大的流程进行水力计算,并应留有适当余地。

②计算水头损失时,一般应以近期最大流量作为构筑物和管渠的设计流量;计算涉及远期流量的管渠和设备时,应以远期最大流量作为设计流量,并酌加扩建时的备用水头。

③在作高程布置时还应注意污水流程与污泥流程的配合,尽量减少需抽升的污泥量。在决定污泥浓缩池、消化池等构筑物的高程时,应注意它们的污泥水能自流排入厂区污水干管。

高程布置图可绘制成污水处理与污泥处理的纵断面图或工艺流程图。绘制纵断面图时采用的比例尺,一般横向与总平面图相同,纵向为1∶100~1∶50。

以图4.128所示B市污水处理厂为例,说明其污水处理流程高程计算过程。

处理后的污水排入农田灌溉渠道以供农田灌溉,以灌溉渠水位作为起点,逆流程向上推算各处理构筑物的水面标高。

高程计算如下:

灌溉渠道(点8)水位:49.25m;

排水总管(点7)水位:50.05m(跌水0.8m);

窨井6后水位:50.44m(沿程损失0.39m);

窨井6前水位:50.49m(管顶平接,两端水位差0.05m);

二次沉淀池出水井水位:50.84m(沿程损失0.35m);

二次沉淀池出水总渠起端水位:50.94m(沿程损失0.10m);

二次沉淀池中水位:51.44m(集水槽起端水深0.38m,自由跌落0.10m,堰上水头0.02m);

堰F3后水位:51.75m(沿程损失0.03m,局部损失0.28m);

堰F3前水位:52.16m(堰上水头0.26m,自由跌落0.15m);

曝气池出水总渠起端水位:52.38m(沿程损失0.22m);

曝气池中水位:52.64m(集水槽中水位0.26m);

堰F2前水位:53.22m(堰上水头0.38m,自由跌落0.20m);

点3水位:53.44m(沿程损失0.08m,局部损失0.14m);

初次沉淀池出水井(点2)水位:53.66m(沿程损失0.07m,局部损失0.15m);

初次沉淀池中水位:54.33m(出水总渠沿程损失0.10m,集水槽起端水深0.44m,自由跌落0.10m,堰上水头0.03m);

堰F1后水位:54.65m(沿程损失0.04m,局部损失0.28m);

堰F1前水位:55.10m(堰上水头0.30m,自由跌落0.15m);

沉砂池起端水位:55.37m(沿程损失0.02m,沉砂池出口局部损失0.05m,沉砂池中水头损失0.20m);

格栅前(A点)水位:55.52m(过栅水头损失0.15m);

总水头损失6.27m。

计算结果表明:终点泵站应将污水提升至标高55.52m处才能满足流程的水力要求。根据计算结果绘制了如图4.129所示污水处理流程高程布置图。下面以图4.129所示的B市污水处理厂的污泥处理流程为例,作污泥处理流程的高程计算。

该厂二沉池剩余污泥重力流排入污泥泵站,加压后送入初沉池,利用生物絮凝作用提高初沉池的沉淀效果,并与初沉池污泥一起重力排入污泥投配池。污泥处理流程的高程计算从初沉池开始,流程如下:

初沉池→污泥投配池→污泥泵站→污泥消化池→贮泥池→外运

同污水处理流程,高程计算从控制点标高开始。

厂区地面标高为4.2m,初沉池水面标高点为6.7m,初沉池至污泥投配池的管道用铸铁管,长150m、管径300mm。污泥在管内呈重力流,流速为1.5m/s,求得其水头损失为1.2m,自由水头1.5m,则管道中心标高为:

6.7-(1.20+1.50)=4.0m

流入污泥投配池的管底标高为:

4.0-0.15=3.85m

据此确定污泥投配池的标高。

消化池至贮泥池的各点标高受河水位(即河中污泥船)的影响,故以此向上推算。设要求贮泥池排泥管的管中心标高至少应为3.0m,才能自流向运泥船排净贮泥池污泥,贮泥池有效水深2.0m。消化池至贮泥池为管径200mm、长70m的铸铁管,设管内流速为1.5m/s,则求得水头损失为1.20m,自由水头设为1.5m。消化池采用间歇排泥方式,一次排泥后泥面下降0.5m,则排泥结束时消化池内泥面标高至少应为:3.0+2.0+0.1+1.2+1.5=7.8m开始排泥时泥面标高:7.8+0.5=8.3m由此选定污泥泵。根据计算结果,绘制污泥处理流程的高程图,如图4.129所示。

图4.129 污泥处理流程高程图

4.8.5 污水处理构筑物及配水与计量

1)处理构筑物的结构要求及运行方式

(1)构筑物的结构要求

构筑物的结构设计应遵循如下原则:

①结构为工艺需要服务,应能保证稳定运行,符合水力运动规律;

②构筑物上要便于人员操作、检修,巡检要有安全通道及防护措施;

③与构筑物相连接的管渠要考虑易于清通。

设计构筑物时,要保证构筑物功能的良好发挥,需注意以下3个方面的要求:

①进水。构筑物进水位置一般处于构筑物中心或进水侧中部,要尽可能采取缓冲手段,防止进水速度过大,因惯性直线前进,造成短流,影响构筑物正常功能的发挥。一般采用放大口径进水和多孔进水以降低水流速度。中心管进水需外套稳流筒,起到缓冲作用。传统进水方式采用指缝墙的较多,但会受到进水中漂浮杂质的影响,所以应在杂质进入构筑物前彻底去除,否则运行中的清理非常困难。

②出水。出水有两种类型:一种是澄清型出水;另一种是非澄清型出水。澄清型出水是指沉淀池、浓缩池等构筑物需要控制出水含带悬浮性杂质,主要有集水孔出水和锯齿堰出水等方式。由于集水、出水小孔易堵塞,通常应用锯齿堰较多,但要有较好的施工质量和密封手段,以保证锯齿堰处的出水均匀。但因堰口承受负荷较低,尤其是活性污泥法的二沉池中,污泥密度低,持水性强,沉淀效果不好,单层堰口出水局部上升流速相对偏大。现在,人们采用增加集水槽及集水槽双侧集水的方式来降低堰口负荷,已取得较好的效果。一般大型初沉池采用双侧集水,二沉池采用两道集水槽集水,沉淀效果比较理想。

非澄清型出水有水平堰口出水和直接管式出水等方式,由于出水不需要控制其含带杂质量,对堰口要求比较低,但如果是需要充分利用构筑物容积、要保证一定运行液位的构筑物,一般应采用水平出水堰口流出后经出水管出水。

③放空。污水处理构筑物必须设有放空的结构部分,并能保证在需要的情况下将构筑物内的污水或污泥全部排放干净,以便进行设备检修和构筑物自身的清理。一般放空管应设在构筑物最低位置并低于构筑物内池底最低处。同时,与构筑物连通的放空排水管线要保证低于放空管,以避免污水回灌。否则需要在构筑物内最低处设计放置潜水泵的泵坑。另外,放空管线在构筑物外要在尽可能短的距离内设检查井,以便于对放空管线进行清通和检查。

(2)构筑物的运行方式

构筑物的运行方式主要有连续和间断两种。一般小规模污水处理可采用间断运行,但间断运行存在操作麻烦、不易管理等缺点。因此,构筑物最好选用连续运行方式,采取较稳定的控制手段。运行中应注意以下问题:

①澄清型构筑物需要稳定的运行环境才能达到预期的工艺效果。因此,要防止负荷的大幅度波动,使悬浮物的沉降尽可能与静止沉淀环境接近,减少出水含带杂质量,并能将沉淀物及时排出,达到最好的去除效果。

②对于调节池、均和池、曝气池、吸水池等非澄清型构筑物,必须采取相应的防沉手段,不允许有杂质沉积。可采取构造措施或鼓风曝气、机械搅拌等形式,并对构筑物进行防沉淀维护,保证构筑物功能的正常发挥。

2)处理构筑物之间连接管渠的设计

从便于维修和清通的要求考虑,连接污水处理构筑物之间的管渠,以矩形明渠为宜。明渠多由钢筋混凝土制成,也可采用砖砌。为安全起见,或在寒冷地区为防止冬季污水在明渠内结冰,一般在明渠上加设盖板。必要时或在必要部位,也可以采用钢筋混凝土管或铸铁管。

为了防止污水中的悬浮物在管渠内沉淀,污水在管渠内必须保持一定的流速。在最大流量时,明渠内流速可介于1.0~1.5m/s;在最低流量时,流速不得小于0.4~0.6m/s(特殊构造的渠道,流速可减至0.2~0.3m/s);在管道中的流速应大于在明渠中的流速,并尽可能大于1m/s,因为在管道中产生的沉淀难于清除,使维修工作量增加。

3)配水设备

污水处理厂中,同类型的处理构筑物一般都应建2座或2座以上,向它们均匀配水是污水处理厂设计的重要内容之一。若配水不均匀,各池负担不一样,一些构筑物可能出现超负荷,而另一些构筑物则又没有充分发挥作用。用于实现均匀配水的配水设备的类型如图4.130所示,可按具体条件选用。

图4.130 各种类型的配水设备

图4.130(a)为中管式配水井(b)为倒虹管式配水井,通常用于2座或4座为一组的圆形处理构筑物的配水,该形式配水设备的对称性好,效果较好;(c)为挡板式配水槽,可用于多个同类型的处理构筑物;(d)为一简单形式的配水槽,易修建,造价低,但配水均匀性较差。(e)是改进形式,可用于同类型构筑物多时的情况,配水效果较好,但构造稍复杂。

4)污水计量设备

准确地掌握污水处理厂的污水量,并对水量资料和其他运行资料进行综合分析,对提高污水处理厂的运行管理水平是十分必要的。为此,应在污水处理系统上设置计量设备。

对污水计量设备的要求是精度高、操作简单,不沉积杂物,并且能够配用自动记录仪表。

污水处理厂总处理水量的计量设备,一般安装在沉砂池与初次沉淀池之间的渠道上或在厂内的总出水管渠上。

用于污水处理厂的水量计量设备有:

①计量槽。计量槽又称巴氏槽,精确度达95%~98%,其优点是水头损失小,底部冲刷力大,不易沉积杂物;但对施工技术要求高,施工质量不好会影响量测精度。

②薄壁堰。这种计量设备比较稳定可靠,为了防止堰前渠底积泥,只宜设在处理系统之后。常用的薄壁堰有矩形堰、梯形堰和三角堰,后者的水头损失较大,适于量测小于100L/s的小流量。

③电磁流量计。电磁流量计由电磁流量变送器和电磁流量转换器组成。前者装于需量测的管道上,当导电液体(污水)流过变送器时,切割磁力线而产生感应电势,并以电信号输至转换器进行放大、输出。由于感应电势的大小仅与流体的平均流速有关,因而可测得管中的流量。电磁流量计可与其他仪表配套,进行记录、指示、积算、调节控制等。

该计量设备的优点为:变送器结构简单可靠,内部无活动部件,维护清洗方便;压力损失小,不易堵塞;量测精度不受被测污水各项物理参数的影响;无机械惯性,反应灵敏,可量测脉动流量;安装方便,无严格的前置直管段的要求。

这种计量设备在目前价格昂贵,需精心保养,难以维修。安装时要求变送器附近不应有电动机、变压器等强磁场或强电场,以免产生干扰;同时,要求在变送器内必须充满污水,否则可能产生误差。

近年来,国内还开发了几种测定管道中流量的设备,如插入式液体涡轮流量计、超声波流量计等。

本章小结

本章内容以城镇污水处理经典工艺为主线,形成预处理、常规处理、深度处理、污泥处置4个重要组成部分,并重点介绍了污水常规处理工艺中的活性污泥法和生物膜法。每一部分又详细介绍了其单元构筑物工作原理、构筑物及设备组成、基本技术参数,在理解基本概念的基础上着重强调了污水处理系统的比较和选择。要求学生能够掌握城镇污水处理经典工艺过程和原理,并能进行城镇污水处理厂的平面布置和高程设计,熟悉城镇污水处理厂的运行管理基本知识、岗位要求、职责、安全操作维护。

习 题

1.城镇污水去除的主要对象是什么?

2.机械格栅如何分类?由哪些部分构成?

3.简述活性污泥法系统的组成及基本流程。

4.常用评价活性污泥性能的指标有哪些?为什么污泥沉降比和污泥体积指数在活性污泥法系统运行中有着重要意义?

5.传统活性污泥法、吸附再生活性污泥法和完全混合活性污泥法各有什么特点?

6.活性污泥法有哪些主要的运行方式?各有什么特点?

7.简述生物膜结构并讲解其工作原理。

8.简述活性污泥脱氮和除磷原理、适宜条件及工艺流程,并写出有关化学方程式。

9.活性污泥系统会出现哪些异常现象?宜采取哪些相应措施?

10.生物接触氧化池有哪些优缺点?

11.生物膜脱落的原因是什么?

12.污泥处理方案的选择和确定要考虑哪些因素?

13.污泥浓缩、脱水有哪些方法?

14.为什么要对污泥进行稳定处理?

15.选择污水处理工程方案需考虑哪些因素?

16.污水处理工程的技术经济指标设计有哪些内容?简述技术经济指标的作用。

17.污水处理厂设计在选择厂址时,应遵循哪些原则?

18.进行污水处理厂平面设计与高程设计时,应考虑哪些要求?

19.选择污水处理工艺流程需考虑的因素有哪些?

20.已知曝气池的MLSS为2.2g/L,混合液在1000mL量筒中经30min沉淀后污泥量为180mL,计算污泥指数、回流污泥浓度和所需的污泥回流比。

21.某城镇排放的污水量为30000m3/d,污水的时变化系数为1.4,拟采用活性污泥法进行处理,BOD5为300mg/L,初次沉淀池的BOD5去除率为25%,要求处理后出水BOD5 为20mg/L,试计算该活性污泥法处理系统的设计参数。

22.某城镇设计人口N=100000人,污水量标准200L/(人·d),排放的BOD5量为27g/(人·d)。镇内有一座工厂,污水量1500m3/d,BOD5值为1800mg/L。混合污水冬季平均温度为15℃,年平均气温为10℃,滤料层厚度H=2.0m。要求处理后出水BOD5 ≤30mg/L。拟采用高负荷生物滤池处理,试进行工艺设计及计算。

23.某住宅小区人口5000人,排水量标准100L/(人·d),经沉淀处理后BOD5值为135mg/L,处理水的BOD5值不得大于15mg/L。拟采用生物转盘处理,试进行生物转盘设计。

24.某生产废水,流量Q为3000m3,进水BOD为200mg/L,要求出水BOD为30mg/L,试设计生物接触氧化池。