5.3.1 路基处理

5.3.1 路基处理

1)清单工程量计算规则解析

路基处理包括预压地基,强夯地基,振冲密实(不填料),掺石灰,掺干土,掺石,抛石挤淤,袋装砂井,塑料排水板,振冲桩(填料),砂石桩,水泥粉煤灰碎石桩,深层水泥搅拌桩,粉喷桩,高压水泥旋喷桩,石灰桩,灰土(土)挤密桩,桩锤冲扩桩,地基注浆,褥垫层,土工合成材料,排水沟、截水沟和盲沟。

(1)预压地基(040201001)

①计算规则。预压地基的工程量按照设计图示尺寸以加固面积计算。

②工作内容。预压地基的工作内容包括设置排水竖井、盲沟、滤水管,铺设砂垫层、密封膜,堆载、卸载或抽气设备安拆、抽真空,材料运输。

③规则解读。预压地基是指在原状土上加载,使土中水排出,以实现土的预先固结,减少构筑物地基后期沉降和提高地基承载力。按加载方法的不同,分为堆载预压、真空预压。预压地基的工程量按待加固面积以“m2”计量。

a.堆载预压。堆载预压是在原状土体上加载,使土体中的孔隙水沿竖向排水板排出,逐渐固结,地基发生沉降,同时强度逐步提高。堆载预压的原理示意图如图5.19(a)所示。

b.真空预压。真空预压是在需要加固的软土地基表面先铺设砂垫层,然后埋设垂直排水管道,再用不透气的封闭膜使其与大气隔绝,薄膜四周埋入土中,通过砂垫层内埋设的吸水管道,用真空装置进行抽气,使土体内部形成真空,从而增加地基的有效应力,达到预压的目的。真空预压的原理示意图如图5.19(b)所示。

图5.19 预压地基的两种加载方法原理示意图

(2)强夯地基(040201002)

①计算规则。强夯地基的工程量按照设计图示尺寸以加固面积计算。

②工作内容。强夯地基的工作内容包括铺设夯填材料、强夯、夯填材料运输。

③规则解读。强夯地基是指用起重机械将大吨位夯锤起吊到一定高度后自由落下,给地基土以强大的冲击能量的夯击,使土层中孔隙水和气体逸出,经时效压密达到固结,从而提高地基承载力的方法。多用于软土地基的处理。强夯地基的工程量按待加固面积以“m2”计量。

④计算方法。强夯地基的加固面积(图5.20)计算公式如下:

式中 S——强夯地基的加固面积;

   Dj——每列夯点间距;

   Ni——每行夯点的个数;

   Nj——每列夯点的个数;

   d——夯锤直径。

图5.20 强夯地基加固面积示意图

Di——每行夯点间距;

⑤计算实例。

【例5.13】 如图5.21所示为某市政工程强夯地基施工示意图,试根据《计算规范》计算该强夯地基的清单工程量。

图5.21 强夯地基施工示意图

【解】 根据题意,Di=3.00 m,Dj=3.00 m,Ni=5个,Nj=6个,d=2.00 m。根据式(5.15),可得:

S=(3.00×4+2.00)×(3.00×5+2.00)=238.00(m2

则强夯地基的清单工程量为238.00 m2

(3)振冲密实(不填料)(040201003)

①计算规则。振冲密实(不填料)的工程量按照设计图示尺寸以加固面积计算。

②工作内容。振冲密实(不填料)的工作内容包括振冲加密和泥浆运输。

③规则解读。振冲密实(不填料)是使砂土体在振动及水力浸润、冲切作用下趋于密实,增加砂土地基的密实度,提高砂土地基的承载力。由于该项目表示仅仅对土体施加振动力和冲切力,没有实体填料,故计算规则中考虑计算加固面积作为清单工程量。

(4)掺石灰(040201004)

①计算规则。掺石灰的工程量按照设计图示尺寸以体积计算。

②工作内容。掺石灰的工作内容包括掺石灰、夯实。

③规则解读。土体中掺入石灰的目的是改善膨胀土的胀缩性,同时提高膨胀土的整体强度。在市政工程中,掺石灰一般用作改良市政道路工程的膨胀土路基。应注意将此项目与清单项目“石灰稳定土(040202002)”作区分。对于“掺石灰”项目,掺入石灰的剂量应该视土质的具体情况来确定,用于处理道路结构层以下的土路基,工程量以“m3”计量;而对于“石灰稳定土”,掺入石灰的剂量一般为8%~12%,用于处理道路结构层中的底基层,工程量以“m2”计量。

(5)掺干土(040201005)

①计算规则。掺干土的工程量按照设计图示尺寸以体积计算。

②工作内容。掺干土的工作内容包括掺干土和夯实。

③规则解读。土体中掺入干土的目的是调整土体的含水量至最佳含水率,提高土体的压实度,从而达到提高土体强度的目的。项目考虑掺入了实体干土,故以“m3”计量。

(6)掺石(040201006)

①计算规则。掺石的工程量按照设计图示尺寸以体积计算。

②工作内容。掺石的工作内容包括掺石和夯实。

③规则解读。土体中掺入石子的目的是调整土体的含水量至最佳含水率,提高土体的压实度,从而达到提高土体强度的目的。项目考虑掺入了实体石子,故以“m3”计量。

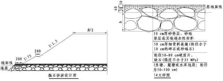
(7)抛石挤淤(040201007)

①计算规则。抛石挤淤的工程量按照设计图示尺寸以体积计算。

②工作内容。抛石挤淤的工作内容包括抛石挤淤,填塞垫平、压实。

③规则解读。抛石挤淤是软弱地基处理的一种方法,在路基底从中部向两侧抛投一定数量的碎石,将淤泥挤出路基范围,以提高路基强度。抛石挤淤适用于下列情况:

a.常年积水的洼地,排水困难,泥炭呈流动状态,表层无硬壳泥沼或厚度为3~4 m的软土;

b.施工场地地面特别软弱,施工机械无法进入;

c.施工场地表面存在大量积水无法排除的情况;

d.石料丰富、运距较短的情况。

抛石挤淤的施工示意图如图5.22所示。

图5.22 抛石挤淤施工示意图

(8)袋装砂井(040201008)

①计算规则。袋装砂井的工程量按照设计图示尺寸以长度计算。

②工作内容。袋装砂井的工作内容包括制作砂袋,定位沉管,下砂袋和拔管。

③规则解读。袋装砂井是用透水型土工织物长袋装砂砾石,设置在软土地基中形成排水砂柱,以加速软土排水固结的地基处理方法。袋装砂井的施工过程如图5.23所示。

袋装砂井的工程量按设计图示尺寸以“m”计量。

图5.23 袋装砂井的施工过程

(9)塑料排水板(040201009)

①计算规则。塑料排水板的工程量按照设计图示尺寸以长度计算。

②工作内容。塑料排水板的工作内容包括安装排水板、沉管插板和拔管。

③规则解读。塑料排水板又称为塑料排水带。板的中间是挤出成型的塑料芯板,作为排水带的骨架和通道;两面以非织造土工织物包裹,作为滤层。在施工过程中,中间的塑料芯板将滤层渗透进来的水向上排出,多用于处理淤泥、淤质土、冲填土等饱和黏性及杂填土形成的软基。

塑料排水板的施工过程和上述袋装砂井的施工过程基本类似,因此其工程量计算以“m”计量。

(10)振冲桩(填料)(040201010)

①计算规则。振冲桩(填料)的工程量有两种计算方法:当以“m”计量时,按设计图示尺寸以桩长计算;当以“m3”计量时,按设计桩截面乘以桩长以体积计算。

②工作内容。振冲桩(填料)的工作内容包括振冲成孔、填料、振实,材料运输,泥浆运输。

③规则解读。振冲桩(填料)是指用振动、冲击的方式在软弱地基中成孔,再将填料挤压入孔,形成密实的桩体。与砂石桩项目不同的是,振冲桩(填料)的填料不一定是碎石或砂,还可以是其他材料。

一般来说,桩的工程量以“m”计量是比较常规的,但同时由于涉及填料的缘故,故此项目也可以用“m3”计量。

振冲桩的施工工艺流程可参见图5.24。

(11)砂石桩(040201011)

①计算规则。砂石桩的工程量有两种计算方法:当以“m”计量时,按设计图示尺寸以桩长(包括桩尖)计算;当以“m3”计量时,按设计桩截面乘以桩长(包括桩尖)以体积计算。

②工作内容。砂石桩的工作内容包括成孔、填充、振实,材料运输。

③规则解读。砂石桩是指用振动、冲击、水冲等方法在地基中成孔,再将碎石或砂挤压入孔,形成大直径的由碎石或砂构成的密实桩体。与振冲桩(填料)项目不同的是,砂石桩项目的成孔方式不一定是振冲法,也可以是其他方式。其工程量计算规则的设置与振冲桩(填料)类似,这里不再赘述。

图5.24 振冲桩的施工工艺流程

(12)水泥粉煤灰碎石桩(040201012)

①计算规则。水泥粉煤灰碎石桩的工程量按设计图示尺寸以桩长(包括桩尖)计算。

②工作内容。水泥粉煤灰碎石桩的工作内容包括成孔,混合料制作、灌注、养护,材料运输。

③规则解读。水泥粉煤灰碎石桩(简称CFG桩)是在碎石桩基础上加进一些石屑、粉煤灰和少量水泥,加水拌和制成的具有一定黏结强度的桩。这种桩的长度越长,其承载力越高,适用于多层和高层建筑地基。水泥粉煤灰碎石桩一般和项目编码为“040201020”的褥垫层配合使用。

考虑水泥粉煤灰碎石桩的外形尺寸问题,在计算时应考虑桩尖的长度。

(13)深层水泥搅拌桩(040201013)

①计算规则。深层水泥搅拌桩的工程量按设计图示尺寸以桩长计算。

②工作内容。深层水泥搅拌桩的工作内容包括预搅下钻,水泥浆制作,喷浆搅拌提升成桩,材料运输。

③规则解读。深层水泥搅拌桩是通过特制的深层搅拌机械,在地基深处就地将软土和水泥强制搅拌,利用软土和水泥之间产生的一系列物理、化学反应,使软土硬结成具有整体性的并具有一定承载力的复合地基。由于最后形成的实体桩是水泥浆和本身地基土的混合物,故按长度进行计量。

(14)粉喷桩(040201014)

①计算规则。粉喷桩的工程量按设计图示尺寸以桩长计算。

②工作内容。粉喷桩的工作内容包括预搅下钻,喷粉搅拌提升成桩,材料运输。

③规则解读。粉喷桩与深层水泥搅拌桩的施工工艺相似,不同之处在于深层水泥搅拌桩是将水泥浆与软土进行搅拌,而粉喷桩是将水泥粉或石灰粉和地基土搅拌的粉体喷射搅拌。其工程量计算规则与深层水泥搅拌桩相同。

(15)高压水泥旋喷桩(040201015)

①计算规则。高压水泥旋喷桩的工程量按设计图示尺寸以桩长计算。

②工作内容。高压水泥旋喷桩的工作内容包括成孔,水泥浆制作、高压旋喷注浆,材料运输。

③规则解读。高压水泥旋喷桩是以高压旋转的喷嘴将水泥浆喷入土层与土体混合,形成连续搭接的水泥加固体。其工程量计算规则与深层水泥搅拌桩、粉喷桩相同。

(16)石灰桩(040201016)

①计算规则。石灰桩的工程量按设计图示尺寸以桩长(包括桩尖)计算。

②工作内容。石灰桩的工作内容包括成孔,混合料制作、运输、夯填。

③规则解读。石灰桩是利用打入钢套管在地基中成孔,然后在孔内灌入新鲜生石灰块,在拔管的同时进行振捣或捣密。利用生石灰吸取桩周土体中水分进行水化反应,使桩周土体的含水量降低,孔隙比减小,使土体挤密和桩柱体硬化。

考虑石灰桩的外形尺寸问题,在计算时应考虑桩尖的长度。

(17)灰土(土)挤密桩(040201017)

①计算规则。灰土(土)挤密桩的工程量按设计图示尺寸以桩长(包括桩尖)计算。

②工作内容。灰土(土)挤密桩的工作内容包括成孔,灰土拌和、运输、填充、夯实。

③规则解读。灰土(土)挤密桩分为灰土挤密桩和土挤密桩,这两种桩都是通过打入钢套管在地基中成孔,通过挤压作用,加密地基,然后在孔内分层填入填料后夯实而成。填料若为素土,则为土挤密桩;填料若为石灰土,则为灰土挤密桩。其工程量计算与石灰桩类似,由于其外形尺寸的问题,在计算时应考虑桩尖的长度。

(18)桩锤冲扩桩(040201018)

①计算规则。桩锤冲扩桩的工程量按设计图示尺寸以桩长计算。

②工作内容。桩锤冲扩桩的工作内容包括安拔套管,冲孔、填料、夯实,桩体材料制作、运输。

③规则解读。桩锤冲扩桩是指反复将柱状重锤提到高处使其自由落下冲击成孔,然后分层夯实填料形成扩大桩体,与桩间土组成复合地基的地基处理方法。其工程量按设计图示尺寸以“m”计量。

(19)地基注浆(040201019)

①计算规则。地基注浆的工程量计算有两种方法:若以“m”计量,按设计图示尺寸以深度计算;若以“m3”计量,按设计图示尺寸以加固体积计算。

②工作内容。地基注浆的工作内容包括成孔,注浆导管制作、安装,浆液制作、压浆,材料运输。

③规则解读。地基注浆是指将配置好的化学浆液或水泥浆液,通过导管注入土体间隙中,与土体结合,发生物理、化学反应,从而提高土体强度。其工程量的计算视待处理的地基形状而定,若处理的地基在深度方向上延展较大,形成桩体,则以“m”计量;若处理的地基在广度方向上延展较大,形成立方体,则以“m3”计量。

(20)褥垫层(040201020)

①计算规则。褥垫层的工程量计算有两种方法:若以“m3”计量,按设计图示尺寸以铺设面积计算;若以“m3”计量,按设计图示尺寸以铺设体积计算。

②工作内容。褥垫层的工作内容包括材料拌和、运输、铺设、压实。

③规则解读。褥垫层是在复合地基的基础与桩之间设置的一层由中砂、粗砂、级配砂石等粒料类材料构成的垫层。它的主要作用是调整桩和桩间土的应力比,保证桩和桩间土能够共同作用。褥垫层的合理厚度一般为100~300 mm,其具体图形如图5.25所示。《计算规范》设置了两种不同的计算方法,主要是考虑某些工程的褥垫层可能会有不同的厚度,用铺设体积计算较合适;而某些工程的褥垫层厚度均一致,用铺设面积计算较为合适。

图5.25 褥垫层示意图

(21)土工合成材料

①计算规则。土工合成材料的工程量按设计图示尺寸以面积计算。

②工作内容。土工合成材料的工作内容包括基层整平、铺设、压实。

③规则解读。土工合成材料是指以聚合物为原料制成的应用于土木工程地基处理的材料。具体类型包括土工布、土工网、土工格栅、土工模袋、土工复合排水材料等。其主要作用有加固软弱地基,加速土的固结,提高土体强度,防止路基翻浆、下沉等。其工程量以“m2”计量。

(22)排水沟、截水沟(040201022)

①计算规则。排水沟、截水沟的工程量按设计图示以长度计算。

②工作内容。排水沟、截水沟的工作内容包括模板制作、安装、拆除,基础、垫层铺筑,混凝土拌和、运输、浇筑,侧墙浇捣或砌筑,勾缝、抹面,盖板安装。

③规则解读。截水沟又称天沟,指的是为拦截高处边坡流向路基的水,在路堑坡顶以外设置的水沟;排水沟,指的是将截水沟和路基附近、低洼处汇集的水引向路基以外的水沟。

排水沟、截水沟的工程量按设计图示尺寸以“m”计量。

(23)盲沟(040201023)

①计算规则。盲沟的工程量按设计图示以长度计算。

②工作内容。盲沟的工作内容包括铺筑。

③规则解读。盲沟是指在路基或地基内设置的充填碎、砾石等粗粒材料并铺以倒滤层(有的在其中埋设透水管)的排水、截水暗沟。主要用于排除地下水,降低地下水位。在市政道路工程、隧道工程和城市垃圾填埋场等工程中均有应用。

盲沟的工程量按设计图示尺寸以“m”计量。

2)定额工程量计算规则解析

(1)地基强夯

①计算规则。强夯分满夯、点夯,区分不同夯击能量,按设计图示尺寸的夯击范围以面积计算。设计无规定时,按每边超过基础外缘的宽度3 m计算。

②规则解读。满夯是对整个场地进行夯击,目的是增大土质的密实度,进而提高场地的地基承载力;点夯是对某些具体位置进行强夯。一般来说,设计时会明确强夯的区域是满夯还是点夯,规则中给出了当设计无规定时的具体做法,即按每边超过基础外缘的宽度3 m计算。

(2)土工布

①计算规则。土工布的铺设面积按实铺展开面积以“m2”计算。

②规则解读。实铺展开面积是指在土工布的铺设过程中,如果有折线、跌落、拱形等面层,均按展开面积计算。