曲柄连杆机构概述
(一)定义
曲柄连杆机构是发动机实现工作循环、完成能量转换的主要运动零件。它由机体组、活塞连杆组和曲轴飞轮组等组成。在做功行程中,活塞承受燃气压力在汽缸内做直线运动,通过连杆转换成曲轴的旋转运动,并从曲轴对外输出动力。而在进气、压缩和排气行程中,飞轮释放能量又把曲轴的旋转运动转化成活塞的直线运动。
(二)组成
曲柄连杆机构主要由机体组、活塞连杆组和曲轴飞轮组组成,如图1-34所示。

图1-34 曲柄连杆结构组成示意图
(三)作用
曲柄连杆机构的作用是提供燃烧场所,把燃料燃烧后产生的气体作用在活塞顶上的膨胀压力转变为曲轴旋转的转矩,不断输出动力。
(1)将气体的压力变为曲轴的转矩。
(2)将活塞的往复运动变为曲轴的旋转运动。
(3)把燃烧作用在活塞顶上的力转变为曲轴的转矩,对外输出机械能。
(四)机体组
1.组成与作用
机体组主要由汽缸盖罩、汽缸盖、汽缸垫、汽缸体、油底壳、曲轴箱等零件组成,如图1-35所示。机体组是构成发动机的主要骨架,是发动机各机构和各系统的安装基础,其内外安装着发动机的主要零部件和附件。

图1-35 机体组
2.汽缸体
一般情况下,水冷式机体的结构主要由汽缸、汽缸壁、缸套、进油道、回油道、水套、油堵、水堵等组成,如图1-36所示。
(1)汽缸
汽车发动机常用缸数有3、4、5、6、8、10、12缸。排量1升以下的发动机常用3缸(如夏利7100、铃木奥拓),1~2.5升一般为4缸发动机,3升左右的发动机一般为6缸,4升左右为8缸,5.5升以上用12缸发动机。按照发动机的排列方式,又可分为W型12缸发动机(如大众辉腾W12、奥迪A8W12)、V型12缸发动机(如奔驰S600、宝马760)、W型8缸发动机(如帕萨特W8)、V型8缸发动机(如新奥迪A6L4.2)、水平对置6缸发动机(如斯巴鲁森林人)、V型6缸发动机、直列5缸发动机和直列4缸发动机等。一般来说,在同等缸径下,缸数越多,排量越大,功率越高;在同等排量下,缸数越多,缸径越小,转速可以提高,从而获得较大的提升功率。
(2)汽缸套
汽缸套有干式汽缸套和湿式汽缸套,如图1-37所示。

图1-36 汽缸体

图1-37 汽缸套
干式汽缸套和湿式汽缸套的特点如表1-1所示。
表1-1 汽缸套的特点

(3)水套
水套的作用:在燃烧室和汽缸壁提供冷却液流动的通道,冷却液流经发动机带走多余的热量。
(4)汽缸体的类型
汽缸体主要有一般式、龙门式、隧道式三种形式,如图1-38所示。
①一般式:曲轴的主轴承座孔中心线位于曲轴箱的分界面上。制造方便,刚度小,与油底壳接合面的密封较困难,不便维修。
②龙门式:主轴承座孔中心线高于曲轴箱分界面。结构刚度较大,其密封简单、可靠,便于维修。
③隧道式:主轴承座孔不分开。结构刚度最大,主轴承同轴度易保证。

图1-38 汽缸体的类型
(5)汽缸体的损耗
汽缸体的主要耗损形式有磨损、裂纹、变形以及螺纹滑扣等。
汽缸体裂纹产生的原因主要有曲轴高速转动时共振产生的裂纹、水套冰冻或冷热刺激产生的裂纹、水垢积聚太多造成散热不良使水套产生裂纹、压装工艺不当造成的裂纹等。
汽缸体变形的主要原因:
①汽缸体工作时受热不均匀;
②装配时汽缸盖螺栓拧紧力矩不均匀;
③拧紧顺序不符合规定;
④螺纹孔中有污物;
⑤汽缸衬垫不平;
⑥各工作零部件的冲击载荷。
(6)汽缸体的检查
汽缸体的检查包含:汽缸体变形的检查、汽缸磨损的检查等。
①汽缸体变形的检查
将缸体平面上的污物清除干净,检验刀口尺水平放在缸体平面上,用塞尺测量亮光处缝隙大小,即为缸体的平面度,如图1-39所示。

图1-39 汽缸体变形的检查
②汽缸磨损的检查
(a)汽缸磨损的规律
汽缸在长期使用的过程中,会出现上大下小的不规则椭圆形磨损,如图1-40所示。
(b)汽缸磨损的检测
汽缸磨损的检测主要检测圆度误差和圆柱度误差。
取上、中、下三个截面进行测量;在汽缸的横、纵两个方向进行测量;计算出圆度误差和圆柱度误差,如图1-41所示。

图1-40 汽缸磨损规律

图1-41 汽缸磨损的检测
提示:
圆度误差:是指同一截面上磨损的不均匀性,用同一横截面上不同方向测得的最大直径与最小直径差值的一半作为圆度误差。
圆柱度误差:是指沿汽缸轴线的轴向截面上磨损的不均匀性,用被测汽缸表面任意方向所测得的最大直径与最小直径差值的一半作为圆柱度误差。
3.汽缸盖
(1)作用
汽缸盖的作用是密封汽缸的上部,与活塞、汽缸等共同构成燃烧室;安装气门组零件;安装火花塞等。
(2)结构
汽缸盖是结构复杂的箱形零件。其上加工有进/排气门座孔、气门导管孔、火花塞安装孔(汽油机)或喷油器安装孔。在汽缸盖内还铸有水套、进排气道和燃烧室或燃烧室的一部分。若凸轮轴安装在汽缸盖上,则汽缸盖上还加工有凸轮轴承孔或凸轮轴承座及其润滑油道,如图1-42所示。

图1-42 汽缸盖的结构
(3)燃烧室
燃烧室主要有半球形燃烧室、楔形燃烧室、浴盆形燃烧室、多球形燃烧室、蓬形燃烧室等类型。
①半球形燃烧室
半球形燃烧室结构最紧凑,燃烧室表面积与其容积之比最小。进/排气门呈两列倾斜布置,气门直径较大,气道较平直。但火焰传播距离较短,不易产生进气涡流,如图1-43所示。
②楔形燃烧室
楔形燃烧室结构比较紧凑,气门相对汽缸轴线倾斜,进气道比较平直,进气阻力小。压缩行程终了时易产生进气涡流,如图1-44所示。
③浴盆形燃烧室
浴盆形燃烧室进排气道结构简单,气门平行于汽缸轴线,进气弯度较大,压缩终了易产生进气涡流,如图1-45所示。
④多球形燃烧室
多球形燃烧室由两个以上半球形凹坑组成,其结构紧凑,燃烧室表面积与其容积之比较小,火焰传播距离短,气门直径较大,气道比较平直,能产生进气涡流,如图1-46所示。
⑤篷形燃烧室
篷形燃烧室火花塞安装在燃烧室中间,有利于混合气点燃,如图1-47所示。

图1-43 半球形燃烧室

图1-44 楔形燃烧室

图1-45 楔形燃烧室

图1-46 多球形燃烧室

图1-47 篷形燃烧室
(4)汽缸盖的损伤
汽缸盖在使用的过程中,会出现裂纹和翘曲变形,检查方法和汽缸体的变形检查方法一致。用刀口尺检查汽缸盖的平面度,如图1-48所示。

图1-48 汽缸盖的平面度检查
(5)汽缸盖的拆装
①汽缸盖在拆卸时一定要保证好螺栓的拧松顺序,从两边向中间,对角交叉,分2~3次拧松,以避免汽缸盖的翘曲变形,如图1-49所示。
②汽缸盖在安装时一定要保证好螺栓的拧紧顺序,从中间向两边,对角交叉,分2~3次拧紧,必须查阅维修手册,如图1-50所示。

图1-49 汽缸盖螺栓拆卸顺序

图1-50 汽缸盖螺栓安装顺序
4.汽缸垫
(1)作用
汽缸垫的作用是保证结合面的密封,防止可燃混合气、冷却液、机油发生窜漏,如图1-51所示。

图1-51 汽缸垫
(2)工作要求
①在高温高压可燃混合气作用下有足够的强度,不易损坏;
②耐热和耐腐蚀;
③具有一定的弹性,能补偿结合面的不平度以保证密封;
④拆装方便,寿命长,重复使用。
5.汽缸盖罩
汽缸盖罩如图1-52所示。

图1-52 汽缸盖罩
气缸盖罩的作用如下。
(1)气缸盖罩最基本的作用是遮盖并密封气缸盖,将机油保持在内部,同时将污垢和湿气等污染物隔绝于外。
(2)气缸盖罩还具有将机油与空气隔离的作用。在发动机的运行过程中会形成油雾。气缸盖罩较冷的内表面会聚集油雾,使机油冷凝并向下流回机油壳。气缸盖罩还肩负曲轴箱通风的责任。当活塞在气缸中运动时,发动机内部会集聚压力。如果置之不理,此压力会使各个密封件泄漏,导致发动机效率降低。为了避免这种情况,用一根管子连接气缸盖罩和进气道,以便燃烧通风空气。该管可以使用带槽软管接头、螺纹管接头或快换接头来连接。气缸盖罩内的挡油板或过滤器用来尽量避免机油流向进气道。
(3)气缸盖罩的另一作用是充当机油加注口。这种结构可以简单至一个孔,拧开机油加注口盖即可;也可以是更加复杂的注油管。
(4)气缸盖罩还可作为传感器安装支座,包括凸轮轴位置和凸轮轴正时传感器。当然,是否包括这些传感器取决于发动机的复杂程度。
6.油底壳
油底壳的作用是储存机油、封闭曲轴箱。
油底壳的最低处有磁性放油螺塞。油底壳的内部设有稳油挡板,防止机油脉动。曲轴箱与油底壳之间为了防止漏油,其之间装有密封衬垫或涂密封胶,如图1-53所示。

图1-53 油底壳
(五)活塞连杆组
1.组成与作用
活塞连杆组的作用是将活塞的往复运动变为曲轴的旋转运动,同时将作用于活塞上的力转变为曲轴对外输出转矩,以驱动汽车车轮转动。它是发动机的传动件,把燃烧气体的压力传给曲轴,使曲轴旋转并输出动力。
活塞连杆组主要由活塞、活塞环、活塞销、连杆及连杆轴瓦等组成,如图1-54所示。
2.活塞
(1)作用
活塞的作用是承受气缸的气体压力,并将此力通过活塞销传给连杆,以推动曲轴旋转,它把燃烧气体的压力传给曲轴,使曲轴旋转并输出动力;活塞的顶部还与气缸盖、气缸壁共同组成燃烧室。
(2)要求
活塞根据其工作环境,要求其具有足够的刚度、强度、质量小、导热好、热膨胀系数小、耐磨等。
(3)结构
活塞的基本结构为顶部、头部、裙部三部分,如图1-55所示。

图1-54 活塞连杆组的组成

图1-55 活塞的结构
①顶部
顶部是燃烧室的组成部分,用来承受气体压力。根据活塞顶部的结构可分为平顶、凹顶、凸顶等三种结构,如表1-2所示。
表1-2 活塞顶部的结构

续表

②头部
活塞头部的位置:最下边一道活塞环槽以上的部分。
活塞头部的作用:(a)承受气体压力并传给连杆;(b)密封作用;(c)传热作用。
活塞头部的结构:有若干道用以安装活塞环的环槽。上面2~3道装气环,下面一道装油环,油环槽底面有回油孔,如图1-56所示。回油孔的作用是回收被油环从汽缸壁刮下来的多余机油,并经过回油孔流回油底壳。
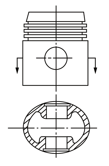
③裙部
活塞裙部的位置:从油环槽下端面起至活塞最下端的部分,包括活塞销座孔。
活塞裙部的作用:对活塞在气缸内的往复运动起导向作用,并承受侧压力(如图1-57所示),防止破坏油膜。

图1-56 活塞头部的结构

图1-57 活塞裙部承受侧压力
由于活塞裙部承受侧压力,解决措施如下。
(a)冷状态下预先把活塞加工成上小下大的梯形或锥形,如图1-58所示。
(b)活塞裙部做成椭圆形,如图1-59所示。

图1-58 梯形或锥形活塞裙部

图1-59 椭圆形活塞裙部
(c)活塞裙部开槽。开横向隔热槽,可以减少裙部受热,有的兼作油环回油孔,如图1-60所示;开纵向膨胀槽,留有膨胀余地,但活塞强度降低,如图1-61所示。

图1-60 隔热槽

图1-61 膨胀槽
(d)采用双金属活塞,在销座中镶有热膨胀系数小的“恒范钢片”,活塞称为恒范活塞。另外还有自动热补偿活塞也是采用双金属活塞。
(e)活塞裙部去掉一部分,做成拖板式活塞,如图1-62所示。
(f)活塞销座孔偏置:活塞销座向承受做功侧压力的一面偏置1~2mm,从而减小敲缸声音,如图1-63所示。

图1-62 拖板式活塞

图1-63 活塞销偏置距
3.活塞环
活塞环的工作条件:高温、高压、高速、极难润滑。
(1)类型
活塞环按结构分类:具有弹性的开口环,分为气环和油环,如图1-64所示。
气环主要有矩形环、锥形环、扭曲环、扭曲环、梯形环和桶面环等类型,如图1-65所示。
油环可分为整体环与组合环两种类型,如图1-66所示。

图1-64 活塞环

图1-65 气环的类型

图1-66 油环的类型
(2)作用
活塞环的主要作用是密封、控油、传热、对活塞起支撑等作用。其中气环的主要作用是密封和传热,油环的主要作用是控油,气环和油环都有对活塞起支撑的作用。
①活塞环的密封作用
燃烧室的组成:活塞运动到上止点时,活塞顶面以上、气缸盖地面以下所形成的空间。
燃烧室必须尽可能地密封气体,这样快速燃烧的油气混合物才能推动汽缸里的活塞向下运动带动曲轴转动,此功能称为“密封气体”。其中第一道环密封80%~90%的气体;第二道环密封10%~20%的气体;油环密封约5%的气体,如图1-67所示。
提示:第一道气环主要是密封气体;第二道是密封气体与调节油膜厚度。
活塞环密封原理:气环自由状态下的直径大于气缸的直径,随活塞装入气缸后,靠气弹力紧贴在气缸壁上(F1),形成第一密封面。同时,气环在燃气作用下被压向环槽下端面(F3),形成第二密封面。另外,绕到环背后的燃气使气环更贴紧缸壁(F2),加强了第一密封面的密封效果。几道气环切口错开布置,这样形成“迷宫式”封气系统,这样,窜入曲轴箱内的燃气量已很少了,如图1-68所示。

图1-67 活塞环的密封作用

图1-68 活塞环密封原理
②活塞环的控油作用
活塞环刮油功能是指避免机油过多进入燃烧室,油环将汽缸壁上多余的机油刮下到活塞内,将机油消耗保持在所需水平,同时降低有害废气排放。其中油环控制70%~90%的机油,气环控制10%~20%的机油,如图1-69所示。
油环刮油的原理:在油环径向方向开有贯穿的油孔或油槽,在活塞的油环槽内和环岸上开有许多排小孔和斜孔,当活塞下行时,刮下的油通过油环径向槽内的小孔或狭缝和环岸上的斜孔流入机体内;当活塞上行时,活塞环都贴在环槽下侧面,使气环与油环间的机油通过活塞环槽上的排油孔流入机体内,如图1-70所示。

图1-69 活塞环的控油

图1-70 油环刮油的原理
③活塞环的传热作用
活塞环将热量从高温的活塞传导至冷却的汽缸壁或发动机缸体上。燃气燃烧产生70%~80%的热量从活塞环槽经由活塞环传至汽缸壁,热量传导功能对于保持活塞环和活塞的稳定性非常重要,只有这样才能保持气体密封功能不受损害,如图1-71所示。
④活塞环的支撑作用
在侧压力作用下,活塞在做往复运动的同时还压向气缸壁,因此可能发生撞击汽缸壁的现象,活塞环的支撑作用是指避免这种撞击现象,减小磨损,如图1-72所示。

图1-71 活塞环的传热作用

图1-72 活塞环的支撑作用
(3)活塞环“三隙”测量
①概念
活塞环的“三隙”是指端隙、背隙、侧隙,如图1-73所示。

图1-73 活塞环的“三隙”
活塞环的端隙是活塞环置于气缸内,在环的开口处呈现的间隙(又称为“开口间隙”)。端隙能防止活塞环受热膨胀而卡死在气缸内。
活塞环的背隙是指活塞与活塞环装入气缸后,在活塞环背部与活塞环槽底之间的间隙,一般为0.5~1mm。为了测量方便,通常以槽深和环宽之差来表示。活塞环一般应低于环槽岸边0~0.35mm,以免在气缸内卡死。
活塞环的侧隙是指装入活塞后,活塞环端面与活塞环槽之间的间隙。
②活塞环的端隙测量
活塞环端隙的测量方法:将活塞环推入气缸套内,并用倒置的活塞顶部将活塞环推入气缸内相应的上止点位置,然后用塞尺测量开口间隙,如图1-74所示。
③活塞环的侧隙测量
活塞环的侧隙测量方法:将活塞嵌入相应的环槽内,用塞尺测量活塞环和环槽之间的间隙,如图1-75所示。

图1-74 活塞环端隙的测量

图1-75 活塞环侧隙的测量
④活塞环的背隙测量
活塞环的背隙测量方法:首先用游标卡尺测量活塞环的径向厚度值A,然后用右边卡尺测量相应的环槽深度值B,则得出活塞环的背隙值C=B-A。
4.活塞销
(1)作用
活塞销的作用是连接活塞和连杆小头,并把活塞承受的气体压力传给连杆。
(2)工作条件和要求
活塞销承受大的冲击载荷,其本身又做摆转运动,润滑条件很差。因此要求活塞销具有足够的刚度和强度,表面韧性好,耐磨性好,质量轻,所有活塞销一般都做成空心圆柱体,如图1-76所示。
(3)活塞销的安装方式
活塞销与活塞销座孔及连杆小头衬套孔的连接配合有两种形式:“全浮式”安装和“半浮式”安装,如图1-77所示。
“全浮式”安装:当发动机工作时,活塞销、连杆小头和活塞销座都有相对运动。在活塞销两端装有挡圈,进行轴向定位。
“半浮式”安装:特点是活塞中部与连杆小头采用紧固螺栓连接,活塞销只能在两端销座内做自由摆动,而和连杆小头没有相对运动。

图1-76 活塞销

图1-77 活塞销的安装方式
5.连杆
(1)作用
连杆的作用是将作用力传给曲轴,将活塞的往复运动转变为曲轴的旋转运动。
(2)要求
连杆的要求是具有足够的刚度和强度,质量小,一般使用中碳钢或中碳合金钢模锻,也有使用球墨铸铁。
(3)结构
连杆一般由连杆小端、杆身、连杆大端和连杆轴瓦等组成,如图1-78所示。
(六)曲轴飞轮组
1.组成
曲轴飞轮组主要由曲轴、飞轮、正时齿轮、曲轴带轮、减振器等组成,如图1-79所示。

图1-78 连杆的结构

图1-79 曲轴飞轮组
2.曲轴
(1)作用
曲轴的作用是将气体压力变为旋转的动力,传给底盘的传动系统。同时,驱动配气机构和其他辅助装置,如风扇、水泵、发电机等。
(2)结构
曲轴主要由前端轴、主轴颈、曲柄、连杆轴颈、曲柄、平衡重、后端凸缘等组成,如图1-80所示。一个连杆轴颈和它两端的曲柄及主轴颈构成一个曲拐。

图1-80 曲轴的结构
提示:直列发动机曲轴的曲拐数目等于气缸数(直列式发动机);V型发动机曲轴的曲拐数等于气缸数的一半。
(3)支承形式
曲轴的支承方式一般有两种,一种是全支承曲轴,另一种是非全支承曲轴。
全支承曲轴:曲轴的主轴颈数比气缸数目多一个,即每一个连杆轴颈两边都有一个主轴颈。六缸发动机有七个主轴颈。四缸发动机有五个主轴颈,如图1-81所示。

图1-81 全支承曲轴
非全支承曲轴:曲轴的主轴颈数比气缸数目少或与气缸数目相等,如图1-82所示。

图1-82 非全支承曲轴
全支承曲轴和非全支承曲轴的特点及应用对比如表1-3所示。
表1-3 全支承曲轴和非全支承曲轴对比

(4)平衡重
平衡重的作用是用来平衡发动机不平衡的离心力矩,有时还用来平衡一部分往复惯性力,从而使曲轴旋转平稳,如图1-83所示。
(5)曲轴前端和曲轴后端
曲轴前端装有正时齿轮、驱动风扇、水泵的带轮等。为了防止机油沿曲轴轴颈外漏,在曲轴前端装有一个甩油盘。在齿轮室盖上装有油封,防止机油外漏。
曲轴后端用来安装飞轮,在后轴颈与飞轮凸缘之间制成挡油凸缘与回油螺纹,以阻止机油向后窜漏。
(6)曲轴的轴向限位
曲轴的轴向限位通常是通过在曲轴的前部、中部或后部安装止推垫片来实现的,如图1-84所示。

图1-83 平衡重

图1-84 曲轴的轴向限位
(7)曲拐布置和多缸发动机的工作顺序
各曲拐的相对位置或曲拐布置取决于气缸数、气缸排列形式和发动机的工作顺序,当气缸数和气缸排列形式确定之后,曲拐布置就只取决于发动机的工作顺序。
①四缸四冲程直列发动机的点火次序和曲拐布置
直列四缸四冲程发动机的点火间隔角为四个曲拐在同一平面内。发动机工作顺序为1-3-4-2或1-2-4-3,其工作循环如表1-4和表1-5所示。直列四缸发动机的曲拐布置如图1-85所示。
表1-4 工作顺序1-3-4-2

表1-5 工作顺序1-2-4-3


图1-85 直列四缸发动机的曲拐布置
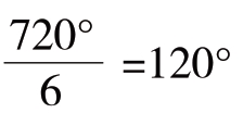
②六缸四冲程直列发动机的点火次序和曲拐布置
直列四缸四冲程发动机的点火间隔角为 。六个曲拐互成120°,有两种点火次序,一种为1-5-3-6-2-4,这种方案比较普遍,如表1-6所示;另一种是1-4-2-6-3-5,直列六缸发动机的曲拐布置如图1-86所示。
表1-6 工作顺序1-5-3-6-2-4


图1-86 直列六缸发动机的曲拐布置
(8)检修
曲轴的常见损伤形式主要有磨损、变形、裂纹甚至断裂。
①曲轴磨损的检修
磨损主要发生在主轴颈和连杆轴颈部位,且不均匀,但有一定规律性。主轴颈最大磨损靠近连杆轴颈一侧;连杆轴颈最大磨损靠近主轴颈一侧。此外,轴颈沿轴向还有锥形磨损。
首先检视轴颈有无磨痕和损伤;再用外径千分尺测量主轴颈和连杆轴颈的直径、圆度误差、圆柱度误差,确定轴颈是否需要修磨及修理级别尺寸。其误差不得超过0.025mm,否则应修磨,如图1-87所示。
②曲轴变形的检修
曲轴变形主要有弯曲、扭曲、弯扭复合等变形形式。变形超限会使轴颈、气缸、活塞连杆组磨损加剧,甚至使曲轴断裂。
曲轴变形的原因主要为使用或修理不当。如:长期超负荷运行;个别气缸不工作或工作不均匀;轴承松紧不一;轴颈或轴承座孔轴线不同轴而经常振动;轴承和轴颈径向、轴向间隙过大产生冲击;活塞或连杆质量相差过大或质量不均;曲轴、活塞连杆组、曲轴与飞轮组件不平衡;曲轴长期不合理放置;发动机烧瓦、抱轴等。
曲轴弯曲变形的检测:以两端主轴颈公共轴线为基准,检查中间主轴颈径圆跳动,如图1-88所示。

图1-87 曲轴磨损的检测

图1-88 曲轴弯曲变形的检测
3.飞轮
飞轮是一个很重的铸铁圆盘,如图1-89所示。
飞轮的主要作用是将做功冲程的能量贮存起来,以便克服进气、压缩和排气行程的阻力,使曲轴能均匀地旋转。
在飞轮轮缘上镶嵌有飞轮齿圈,如图1-90所示,在发动机启动时,与起动机齿轮啮合,带动曲轴旋转。
在飞轮上还刻有上止点记号,用来校准点火正时或喷油正时等,如图1-91所示。

图1-89 飞轮

图1-90 飞轮上的启动齿轮

图1-91 飞轮上的上止点标记
4.扭转减震器
曲轴扭转减震器的作用是吸收曲轴扭转振动的能量,消减扭转振动,避免发生强烈的共振及其引起的严重后果,如图1-92所示。