学习情境自我诊断

学习情境自我诊断

一、该实训车辆发动机信息:

1.爆震传感器类型:压电式□;磁致伸缩式□

2.电控系统类型:D型□;L型□

3.点火系统类型:双缸同时点火□;独立点火□

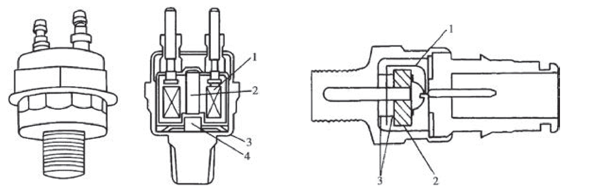
二、根据图4-33填写爆震传感器各部分的名称。

img

图4-33

1.        1.
2.        2.
3.        3.
4.

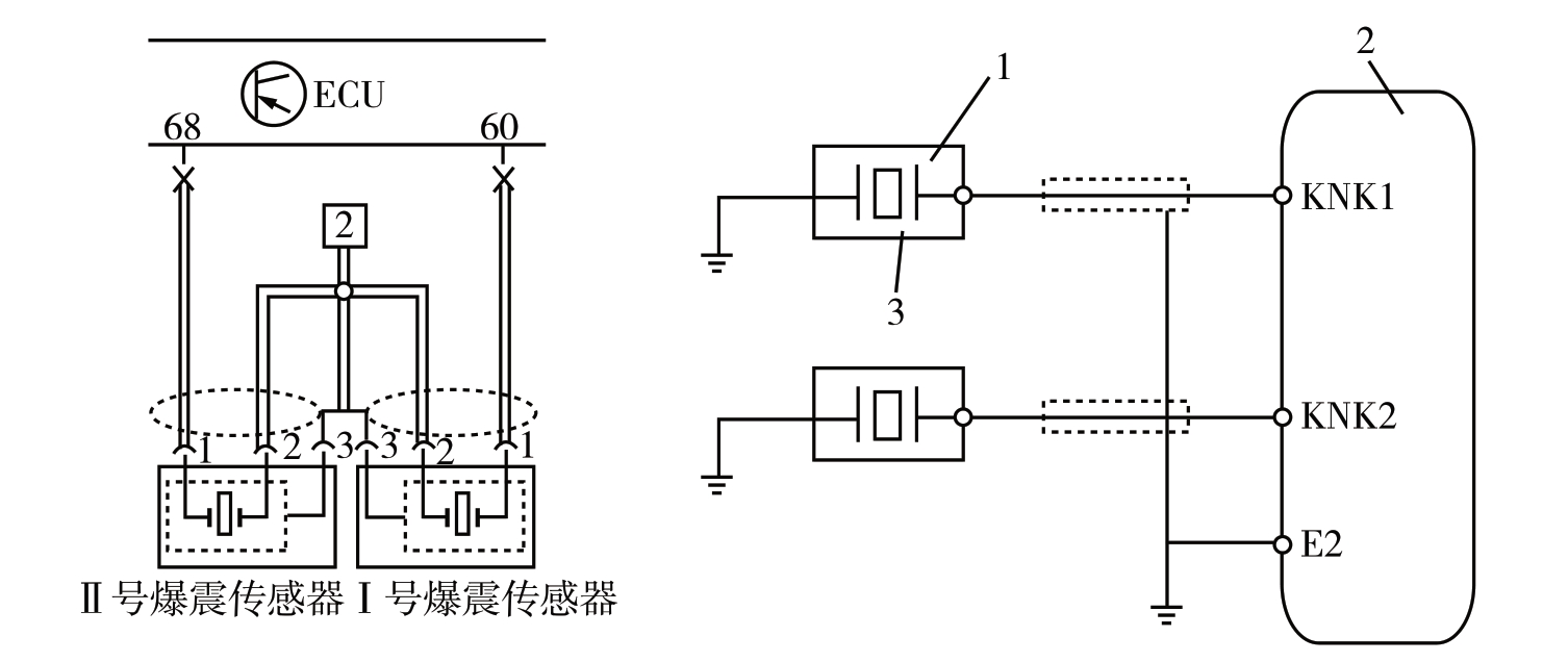
三、结合图4-34,简要说明点火防爆震反馈控制的工作过程。

img

图4-34

四、根据图4-35及爆震传感器的类型,设计其检测步骤。

img

图4-35

五、结合具体车辆,说明正时皮带与正时链条的调整(见图4-36)。

img

图4-36

六、诊断结果叙述。