4.1.2 静压式液位测量

4.1.2 静压式液位测量

根据流体静力学原理,静止液体内某一点的静压力与其所在位置的深度有关,因此,可用静压力表示液位,如连通器式、压差式和压力式等。

(1)连通器式液位测量

连通器式液位测量是最简单的液位测量技术,根据连通器的原理,使用玻璃管直观地显示液位,但主要用于无压或低压力容器的液位测量。为了适应高压、腐蚀、远传等要求和便于读数,其变形结构有玻璃板式、云母片式、双色式、电接点式等。其中玻璃板式液位测量可用于中低压锅炉汽包水位的测量,云母片式液位测量可用于高压锅炉汽包水位的测量。连通器式液位测量具有较强的抗腐蚀性。但是玻璃板式、云母片式这两种液位测量的观察比较困难,所以人们又将二者的结构进行改进,辅以光学系统,观测者看到的汽水分界面是红绿两色的分界面,非常清晰,并且有利于用电视等方式远传,这就是双色水位测量。另有磁翻转双色液位计是以磁性浮子为感测元件,并通过磁性浮子与显示色柱中的磁性体的磁耦合作用,反映被测液位或界面的测量仪表。下面以电厂中的电接点为例对其原理进行简单介绍。

1)电接点水位测量

电接点水位测量是利用与受压容器相连通的测量筒上的电接点浸没在水中与裸露在蒸汽中的电导率的差异,通过指示灯来显示液位的。

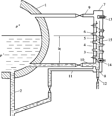
电接点水位传感器如图4.1所示,它是一个带有若干个电接点的连通容器(测量筒壳)。连通容器的长度按水位测量范围决定,其直径主要考虑接点数目(保证开孔后有足够的强度);电接点通过绝缘子与连通容器金属壁绝缘,其数目应以满足运行中监视水位的要求确定,目前多为15,17和19个。接点之间在高度上的间距不是均匀的,在正常水位附近要密一些。电接点要能在高温高压下正常工作,温度剧变时不泄露,耐腐蚀,与筒壳有很好的绝缘。常用超纯氧化铝(用于高压炉)和聚四氟乙烯(用于中压炉)作绝缘材料。

图4.1 电接点水位传感器

电接点水位测量的原理:连通容器通过汽水连通管将容器内的重力水位信号引出,未被水淹没的电接点因蒸汽电导率小而使所在电路处于高电阻(相当于开关断开),与它们相连的显示器不亮;被水淹没的电接点因水具有较大电导率而使所在电路处于低电阻(相当于开关闭合),与它们相连的显示器发亮,因此被水接通的电接点位置可表示水位。显示电接点已被接通(即水位位置)的方法有很多,最简单的如灯泡亮,也有用带放大器的发光二极管等。

电接点水位传感器的特点如下:

①传感器输出的是电信号,便于远传,避免使用导压管,可减小测量的迟延。

②传感器没有机械传动所产生的变差和刻度误差,简化了仪表的检修和调校。

③电接点水位传感器的输出信号变化带有阶跃性,接点之间的水位变化不能反映,有盲区,虽经合理布置接点能有所改善,但始终不是一个连续变化信号,不宜用作自动调节信号。

电接点水位传感器主要用于中温中压、高温高压锅炉汽包水位的监视与控制,也适用于高、低压加热器,除氧器,凝汽器以及水箱等水位的测量。

2)存在的问题

连通器式液位传感器存在以下问题:

①当液位测量传感器与被测容器的液体温度有差别时,液位传感器显示的液位不同于容器中的液位,此误差还会随容器内压力的改变而变化。为了减少和消除该项误差,常采用保温、加热、校正等手段。当用于测量汽包水位时,因散热使水位传感器中的水温低于饱和温度,因而水密度大于饱和水密度,这就造成了显示的水位低于汽包内的实际水位。如果要校正就必须知道水位传感器中水的平均密度,但该密度与当时的压力和水温、散热情况有关,所以不易确定。电厂运行中总结的经验为,在额定工况时,对于中压炉,实际水位应在水位传感器显示水位的基础上加25~35 mm,高压炉则加40~60 mm。具体值取大还是取小,要看水位传感器的保温情况等条件。

②所有连通器式液位传感器都会因散热引起误差。减少的办法是适当加粗气侧和水侧的连通导管,筒壳顶部不保温,增加凝结水量,筒壳其余部分保温以减少散热。当然也可加蒸汽加热套。

(2)压力式液位测量(敞口容器)

压力式液位测量是基于液位高度变化的,由液柱产生的静压也随之变化的原理。如图4.2所示,A代表实际液面,B代表零液位,H代表液柱高度,根据流体静力学原理可知,A,B两点的压力差为

式中 pA——容器中A点的静压,也即液面上方气体的压力;当被测对象为敞口容器时,则pA为大气压力;

pB——容器中B点的静压,即B点的绝对压力;

p——容器中A点和B点的压力差,即B点的表压力。

图4.2 压力式液位测量原理

由式可知,当被测液体密度ρ为已知时,A,B两点的压力差p,即B点的表压力与液位高度H成正比,这样就把液位的测量转化为压力的测量。

由于被测对象为敞口容器,可直接用压力仪表对液位进行测量。其方法是将压力表通过引压导管与容器底侧零液位相连,压力指示值与液位高度满足上式关系。

应该注意的是,压力仪表实际指示的压力是液面至压力仪表入口之间的静压力,当压力仪表与取压点(零液位)不在同一水平位置时,应对其位置高度差而引起的固定压力进行修正,否则仪表指示值不能直接计算得到液位。

以上介绍的是就地式压力液位测量方法。此外,还可利用静压式液位传感器将液位信号转换为电信号进行远传。

静压式液位传感器是利用压力传感器配用陶瓷或薄膜敏感元件作为探头感受容器中B点的表压力,从而实现将容器的液位变化经压力传感器转换成电信号的变化,通过测量电路对电信号进行处理,从而测量出液位。

静压式液位传感器的敏感元件种类很多,如膜片型传感器。它是在感压膜片上粘贴应变片,由应变片组成惠斯通电桥,将液位的变化引起的压力变化以应变片电阻值变化的形式表现出来。测出应变片的电阻值,就能得知液位的高度。也可采用半导体膜盒结构,利用金属片承受液体压力,通过封入的硅油导压给半导体应变片进行液位测量。

由于固态压力传感器(压阻电桥式)性能的提高和微处理技术的发展,压力式物位传感器的应用越来越广。近年来,已研制出了体积小、温度范围宽、可靠性好、精度高的压力式物位传感器,同时,其应用范围也在不断地拓宽。压力式液位测量简单,但要求液体密度为定值,否则会引起误差。

(3)差压式液位测量(密闭容器)

如果被测对象为密闭容器时,容器下部的液体压力除与液位高度有关外,还与液面上部介质压力有关。此时,应采用下面介绍的差压测量方法来获得液位。

差压式液位测量的原理同上面介绍的压力式液位测量,只是把pA理解为液面上方气体的压力不等于大气压力。

差压式液位测量最简单的实现方法是在直接通过引压导管与液位上方和容器底侧零液位相连,并将两根引压管道直接通入差压式仪表,如图4.3所示。差压仪表的指示值与液位高度呈线性关系。

差压式液位测量在电厂应用广泛,一般要测量汽包水位、凝汽器热水井水位、各种水箱水位、储油罐和油箱油位等。但由于被测对象的复杂性常用的是平衡容器,下面将对平衡容器作详细介绍。

图4.3 密闭容器压力式液位测量原理

利用平衡容器的差压式液位传感器的原理,在容器上安装平衡容器,利用液体静力学原理使液位转换成差压,用导压管将差压信号传至显示仪表,显示仪表指示出容器的液位。受压容器的液位测量,根据测量准确度的要求不同,可选用下列几种平衡容器:

①单室平衡容器。

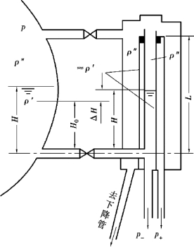
单室平衡容器测量水位的原理如图4.4所示。受压容器内的蒸汽注入平衡容器内凝结成水,并由于溢流而保持一个恒定水位。差压传感器的正压头从平衡容器引出,由于平衡容器有恒定水柱而维持不变,负压管与受压容器水侧连通,输出的负压头则随受压容器水位的变化而变化。差压传感器的输出也随受压容器水位的变化而变化。

图4.4 单室平衡容器测量水位

按照流体静力学原理,当水位在正常水位H0(即零水位)时,差压传感器的输出为

式中 Δp0——受压容器正常水位时对应的差压,Pa;

H——受压容器水位最大测量范围,m;

H0——以最低水位为基准的容器零水位,m;

ρ′,ρ″,ρ1——受压容器内饱和水、饱和蒸汽和平衡容器内水的密度,kg/m3;

g——重力加速度,m/s2

当受压容器水位偏离正常水位ΔH时,差压传感器的差压输出Δp为

式中H,H0,g为确定值,当ρ′,ρ″,ρ1为已知值时,正常水位时的差压输出Δp0为常数。传感器的输出差压值Δp为容器水位变化的单值函数。水位增加,输出差压减小;水位降低,输出差压加大。

单室平衡容器的特点是结构简单,一般应用于低温低压的贮水容器。但它的测量误差较大。分析其原因,主要是:

a.当被测介质参数,如被测介质压力偏离额定值运行时,ρ′和ρ″发生变化。此时,即使水位不变,其差压也会发生变化。

b.由于受压容器内的饱和水与平衡容器内的凝结水的温度不同,密度ρ′和ρ1也不同,造成传感器输出误差。

为了减小此误差,通常使平衡容器的安装标高(正、负取压管的垂直距离)与传感器输出的全量程相一致,并在差压传感器校验时,按运行参数和环境平均温度考虑密度影响的修正值。

②双室平衡容器。

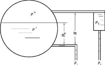
双室平衡容器的结构如图4.5所示。平衡容器的水面高度是定值。当水位增高时,水可溢流;水位降低时,由蒸汽冷凝来补充。正压头从平衡容器中引出,当其中水的密度一定时,正压头也为定值。负压管置于平衡容器内,上部比水平正取压管下缘高10 mm左右,下部与受压容器连通,其水柱随着容器水位的变化而变化。它输出的压头为负压头,反映容器水位的变化。

图4.5 双室平衡容器

双室平衡容器中正负两根管内水的温度比较接近,可近似认为正负压管中水的密度相同,皆为ρ1,因此有

双室平衡容器可以解决单室平衡容器正负压头水的密度不相等带来的测量误差。但它仍然存在以下问题:

a.平衡容器的温度远远低于被测受压容器的温度,负压管的水面比受压容器的水面低,所以仍然存在较大的测量误差。当运行参数或平衡容器环境温度变化时,此误差是个变数。

b.双室平衡容器在使用过程中,由于向外散热,正负压管中的水温由上至下逐步降低,且温度不易确定。因此同样造成正负压头水的密度难以确定,造成测量误差。c.仍然存在受压容器内被测介质参数变化时,对测量的影响。③蒸汽罩补偿式平衡容器。

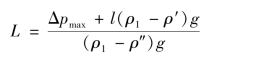
针对上述平衡容器的缺点,测量中小型锅炉汽包水位时,广泛采用蒸汽罩补偿式平衡容器补偿汽包压力对输出差压的影响,其结构如图4.6所示。

图4.6 蒸汽罩补偿式平衡容器

为了使正压管中的水位恒定,一方面加大正压容器的截面积,并在其上面装一个凝结水漏盘,使凝结水不断流入正压容器。正压容器相当于一个溢出杯,其水位恒定不变。用蒸汽包围正压容器,使其中水的温度等于饱和温度。蒸汽凝结水由疏水管流入下降管。疏水管和下降管相接处的高度应保证平衡容器内无水,而下降管又不抽空,即在疏水管内保持一定高度的水。负压管直接从汽包水侧引出。为了保证压力引出管的垂直部分中水的密度等于环境密度,压力引出管的水平长度距离要足够大。

在正常水位H0时,平衡容器的输出差压Δp0

在设计平衡容器时,通过确定适当的L和l值,使汽包压力从很小的值变到额定工作压力时正常水位变化(ΔH)下平衡容器输出的差压不变,从而消除差压传感器的零位漂移。

根据零水位差压输出从很小的汽包压力变到额定工作压力时得到完全补偿,可以推导出l的大小为

考虑平衡容器输出差压最大值应和差压传感器测量上限值一致,即在水位最低(ΔH=-H0)和汽包额定工作压力时,平衡容器输出的最大差压等于差压传感器的测量上限Δpmax,可推导出L为

联立求解两式,即可求得L和l。

应该指出的是,这种结构只能使正常水位下的差压Δp0受汽包压力变化的影响大大减小。当水位偏离正常水位(ΔH≠0)时,输出差压Δp还会受汽包压力的影响。