1.直流机车

1.直流机车

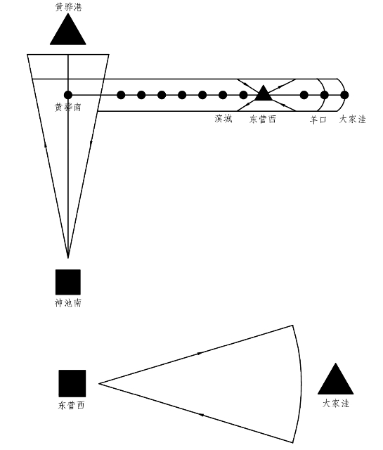
直流机车运行线路如图4-1所示。

图4-1 直流机车

直流机车在肃宁北、黄骅南站直通,运行至黄大铁路滨城站(不含)以北机车立折回神池南折返段整备(机车走行 1 260 km)。运行到滨城站(含)至大家洼站交路,在东营西机务折返段整备(机车最远走行810 km)。