2.交流机车
交流机车运动线路如图4-2所示。

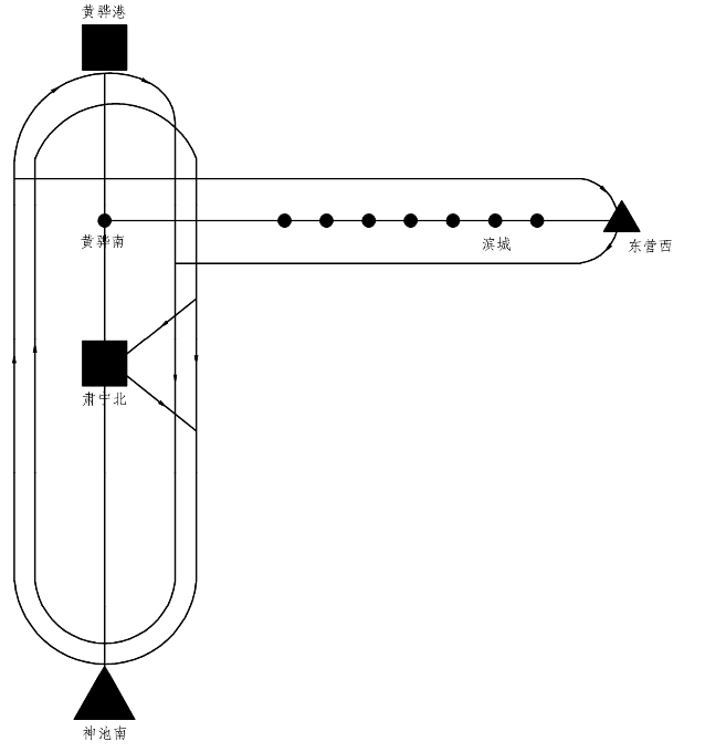
图4-2 交流机车
(1)交流机车在肃宁北、黄骅南站直通,运行至黄大铁路滨城站(不含)以北机车立折。如机车在黄骅港折返段整备后周转第一次回神池南折返段整备(机车走行 1 860 km);如机车在黄骅港折返段整备后周转第二次在肃宁北机务段整备(机车走行 2 650 km)或单机运行至东营西折返段整备(走行2 500 km)。
(2)运行到滨城站(含)以远至东营西站的交路,本务机车到达东营西站入折返段整备。
(3)东营西站至大家洼站区段采用小运转机车担当交流机车的延续交路,机车入东营西折返段整备(机车往返一次走行110 km)。