离合器的间隙检测

五、离合器的间隙检测

978-7-111-37053-6-Chapter05-37.jpg

图5-33 离合器的安装

所需专用工具:离合器压缩装置附件07ZAE-PRP0100。

(1)检测离合器活塞、盘、片和端盖是否磨损和损坏,必要时,检测离合器的波纹板相差。

(2)安装离合器鼓内的离合器活塞。检测过程中,不要安装O形密封圈(图5-33a)。

(3)安装1档离合器鼓(B)内的波形弹簧(A)。从离合器波纹板开始,交替安装离合器片(5)(C)和离合器盘(5)(D),然后安装离合器压板(E),使平面侧面朝向离合器盘(图5-33b)。

(4)安装2档离合器鼓(B)内的波形弹簧(A),然后安装4.0mm厚的板(C),使板的剪切边侧面(D)向鼓的内部。再安装离合器盘(E)和2.0mm厚的平板(F)。从盘开始,交替安装盘(4)(G)和波纹板(3)(H),然后安装离合器压板(I),使平面侧面朝向离合器盘,如图5-33c所示。

(5)安装3档离合器鼓(B)内的波形弹簧(A)。安装离合器平板(C)、离合器盘(D)和离合器平板(E)。从离合器盘开始,交替安装离合器盘(4)(F)和离合器波纹板(3)(G),然后安装离合器压板(H),使平面侧面向离合器盘,如图5-33d所示。

(6)安装4档离合器鼓(B)内的波形弹簧(A)。从离合器波纹板开始,交替安装离合器片(3)(C)和离合器盘(3)(D),然后安装离合器压板(E),使平面侧面朝向离合器盘,如图5-33e所示。

(7)安装5档离合器鼓(B)内的波形弹簧(A)。从离合器波纹板开始,交替安装离合器片(3)(C)和离合器盘(3)(D),然后安装离合器压板(E),使平面侧面朝向离合器盘,如图5-33f所示。

(8)用旋具安装卡环,如图5-33g所示。

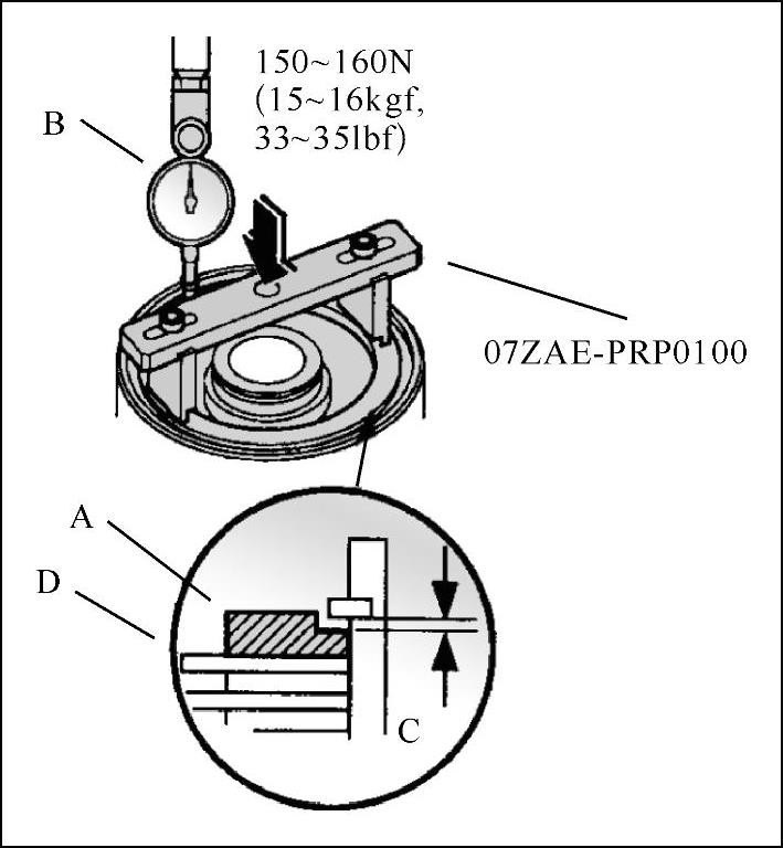
(9)在离合器压板(B)放置百分表(A),如图5-33h所示。

(10)向上提离合器压板,使其与卡环(C)平齐,将百分表归零。

(11)放下离合器压板,使其回位,然后在离合器压板(A)上安放专用工具,如图5-34所示。

(12)借助测力计,用150~160N(15~16kgf,33~35lbf)的力下压专用工具,读取百分表(B)数值。百分表数值为离合器压板与前端离合器盘(D)之间的间隙(C)。至少测量三个位置,取平均值作为实际间隙。

离合器压板与前端离合器盘的间隙维修极限:

1档离合器:1.28~1.48mm(0.050~0.058in)

2档离合器:0.88~1.08mm(0.035~0.043in)

3档离合器:0.93~1.13mm(0.037~0.044in)

4档离合器:0.73~0.93mm(0.029~0.037in)

5档离合器:0.73~0.93mm(0.029~0.037in)

(13)如果间隙超出维修极限,根据表5-5、表5-6,选择新的离合器压板。

978-7-111-37053-6-Chapter05-38.jpg

图5-34 离合器压板间隙的检测

(14)安装新的离合器压板,然后重新检测间隙。

注:如果已安装了最厚的离合器压板,但间隙仍然超出维修极限,则更换离合器盘和离合器片。

表5-5 1档、2档和3档离合器压板

978-7-111-37053-6-Chapter05-39.jpg

表5-6 4档和5档离合器压板

978-7-111-37053-6-Chapter05-40.jpg