基林岛——珊瑚岛的构造

基林岛环礁内景
基林岛——奇特的外貌——贫乏的植物群——种子的传播——鸟类与昆虫——泉水的涨落——死珊瑚场——树根带过来的石块——大螃蟹——刺人的珊瑚——吃珊瑚的鱼——珊瑚岛的构造——潟湖岛或环礁岛——造礁珊瑚在海水中生存的深度——低珊瑚岛散布的大片区域——珊瑚岛基础的下沉——堡礁——岸礁——岸礁到堡礁及环礁的转变——海平面变化的依据——堡礁的缺口——马尔代夫环礁及其特殊构造——死礁及沉没礁——沉降带和上升带——火山的分布——下沉的缓慢及沉降带数量的广泛
4月1日——我们已看得到基林岛了。基林岛也叫科科斯群岛(即椰子岛),它位于印度洋,离苏门答腊岛约960公里。这是一个与我们所经过的附近的低群岛很类似的岛屿,它是由珊瑚构造的潟湖岛(或环礁岛)。当我们的船到达海峡的入口时,一个英国居民莱斯克先生驾了一条小船来接我们。这个地方的居民的历史,我尽可能用简短的话作如下的介绍:大约9年前,一位名誉扫地的黑尔先生,从东印度群岛带来了很多马来奴隶,现在包括孩子在内总共有100多人了。此后不久,以前曾经乘商船来过这些岛屿的罗斯船长,这次从英国来到这里,并带来了他的家眷和移民的物品;和他一起来的还有莱斯克先生,莱斯克以前在他的船上做大副。这些马来奴隶不久就从黑尔先生定居的小岛上逃跑了,并加入了罗斯船长的队伍。黑尔先生最终只得离开了这个地方。
这些马来人现在名义上是处于自由的状态,至少从他们个人的待遇来看的确是这样,但在其他多数情况下,他们还被视为奴隶。由于他们对自己的状况不满,由于他们不停地从一岛迁到另一个岛,或许还由于管理不善,总之情况不是很好。这个岛上除了猪以外,没有其他的家养四足动物,而主要的植物产品就是椰子果。这个地方的全部财富就依赖椰子树。唯一出口品就是椰子油和椰子本身,而椰子被输往新加坡和毛里求斯后,主要是被磨碎用来做咖喱粉。跟鸡鸭等家禽靠椰子饲养一样,这里的猪几乎也全靠椰子来养肥。甚至一种体形硕大的陆生螃蟹,大自然也赋予它一种工具用来打开椰子,并以这种最有用的产品为食。
潟湖岛的环形礁从一长串的线形小岛上耸立起来。在北方,或下风的方位,有一个开口,船舶就可以通过这个开口进入里面抛锚。一进入这里,就能看到它的景色非常奇特、非常漂亮,当然它的美丽完全依赖于四周的灿烂色彩。潟湖岛的水又浅、又清澈、又宁静,静水的下面大部分是洁白的细沙,在阳光的直射下,泛着最耀眼的绿光。这一大片闪亮的区域宽约五六公里,或者被来自幽深的大洋的水波所形成的一线雪白的碎浪花所分开,或者被狭长岛屿上的穹隆蓝天所分开,岛上到处都是平顶的椰子树。潟湖岛上的活珊瑚带把翠绿色的湖水染得更深、更翠,好像天空中四处飘荡的白云映衬着蔚蓝的天空一样,让人赏心悦目。
第二天早上,停好船舶后,我在方向岛登了岸。这条狭长的干燥岛屿只有几百米宽。在潟湖的那边有一片白色的钙质沙滩,在这种湿热的气候下阳光辐射逼人。在海岸的外面,一片坚固宽敞的珊瑚岩抵挡住外海涌来的汹涌浪涛。除了附近的潟湖有一些沙子外,这座岛整个是由圆形的珊瑚碎片组成的。在这种松散、干燥、多石的土壤中,只有热带地区的气候才能出产如此茂盛的植物。在一些更小的岛屿中,椰子树苗与成熟的椰子树混合成一片树林,彼此相得益彰,显出无比优美的姿态。一条闪烁着白光的沙滩构成了一幅人间仙境。
我要对这些岛屿的博物情况做个概略的描述。由于这里物种稀少,它更具一种奇妙的趣味。初看起来,这里的椰子树构成了整个森林,但其实还有其他五六种树木。有一种树能够长得很大,但材质特别软,没什么用处;还有一种树是极好的造船材料。除了这些树木以外,其他植物的数量都相当有限,只能算做一些无价值的杂草。我相信,在我收集的标本中,包含了几乎最完整的植物种类,这里共有20个物种,但没有计算苔藓、地衣以及真菌。在这个数目中,还得加上两种树,一种是不开花的,而另一种我只听说过。后一种树是这个种类中的唯一一棵,长在海滩边,毫无疑问,这颗唯一的种子是海浪推过来的。有一种桃实椰子也只生长在其中的一个小岛上。在上面的归类中,我没有把甘蔗、香蕉、一些其他蔬菜、水果树以及从别的地方引进的草类加进去。因为这些岛屿完全是由珊瑚构成的,所以它们在以前的某个时期肯定只是被海水所冲刷的堡礁,而所有的陆生生物肯定是由海浪传播来的。因此,这些植物完全具有到贫瘠的土地上来避难的特征。享斯洛教授告诉我,在这20个物种中,有19个物种属于不同的属,而19个属中至少有16个科![1]
霍尔曼[2]在他的《旅行记》中引用了A.S.基廷先生的一段话。基廷在这些岛上住了12个月。他知道,各种各样的种子和其他物体都是被海浪冲上岸的。“从苏门答腊和爪哇来的种子及植物被海浪冲上了岛屿的迎风面。其中,我们发现的有:苏门答腊和马六甲半岛土生土长的基米利树;有一看形状和大小便知的巴尔西椰子树;有达达斯树,马来人把它们与胡椒藤栽种在一起,胡椒藤就靠它那茎干上的棘刺缠绕在达达斯的树干上;有肥皂树;有蓖麻油树;有西米椰子树;还有连马来人都不认识的各种各样的植物种子都在岛上安了家。这些种子应该都是由西南季风带到新荷兰海岸的,然后再由东南信风带到这些岛屿上来。这里还发现有大量的爪哇柚木和黄桑,此外,还有巨大的新荷兰的红雪松、白雪松,以及蓝橡胶树,都生长得十分茂盛。所有的硬种子,例如匍匐(攀缘)植物的种子,仍然保持着发芽的力量;但是柔软的种子,其中如倒捻子树的种子,在途中就烂掉了。还有捕鱼的独木舟,显然是从爪哇来的,有时也被冲上了岸。”因此,能够发现这么多的种子从很多不同的地方飘过浩瀚的大海来到这里,的确是一件很有趣的事情。享斯洛教授告诉我,他认为,我从这些岛上带回去的几乎所有的植物都是东印度群岛上的普通海滨物种。但是从风和洋流的方向来看,似乎不太可能直接来到这里。根据基廷先生的多种可能的猜测,如果这些种子最初被带到新荷兰海岸,然后再与那里的物种一起漂过来,那么这些种子在发芽前肯定已经旅行了2880~3860公里了。
沙米索[3]在描述位于西太平洋的拉达克群岛时说:“大海给这些岛屿带来了种子和很多树木的果实,其中大多数是这里以前没有生长过的,而大部分来到这里的植物似乎并没有失去生长能力。”他还说,有些炎热而干燥地区的棕榈和竹子以及北方的冷杉树干也被冲上了海岸,这些冷杉肯定是从很远的地方漂过来的。这些事实确实非常有趣。无可怀疑的是,如果这些种子最初漂到岸上,就有陆生鸟类把它们衔起,而且有一种比松散的珊瑚岩更适合的土壤,那么,这些极其荒凉的潟湖岛就会比现在拥有丰富得多的植物了。
这里的陆生动物比植物更加少得可怜了。有一些小岛上栖居着家鼠,它们是一艘从毛里求斯来的船带来的,这艘船在这里沉没了。沃特豪斯先生认为这些家鼠与英国的家鼠同属一个种,但这里的家鼠个子要小些,毛发要光亮些。这里没有真正的陆生鸟类,因为有一种沙锥鸟和一种秧鸡尽管完全生活在干草里,但还是属于涉水鸟目。据说这个目的鸟类出现在太平洋的好几个地势较低的小岛屿上。在阿森松岛,那里也没有陆生鸟类,有人在山顶附近打到了一只紫水鸡,很显然,它是一只孤独的流浪鸟。按照卡迈克尔的说法,在特里斯坦·达昆纳群岛上只有两种陆生鸟,还有一种骨顶鸡。从这些事实看来,我相信这些涉水鸟跟随着无数的蹼足物种,是这个荒凉的小岛上的第一批移民。我还要补充一点,在我观察到的这些鸟类中,凡是在遥远的海洋里,不属于大洋种类的鸟,总是属于这个涉水鸟目,因此它们很自然地就成了任何一小块遥远土地上的最早移民。
至于爬行动物,我只看到过一种小蜥蜴。而昆虫方面,我千方百计地收集了每个种类的昆虫。除了蜘蛛,因为它们数量太多,还有13种昆虫,其中只有一种甲虫。[4]在松散的干珊瑚石下面,一种小蚂蚁成千上万地聚集在一起,它们是唯一真正数量众多的昆虫。尽管这些岛上的物产很稀少,但如果把目光转向周围的海水里,那里的有机生命实际上多得无穷无尽。沙米索已经记述过拉达克群岛中的一个潟湖岛上的博物种类,非常引人注目的是,它上面的生物在数量与种类上都与基林岛的生物极其相似。上面有一种蜥蜴和两种涉水鸟,即沙锥鸟和杓鹬。至于植物,那里有19个种类,包括一种蕨类植物。虽然拉达克群岛离这里非常遥远,而且它是在另一个大洋里,但是那里的一些植物却和长在这里的植物是相同的。
长条形的陆地形成了线条一样的小岛。它们的高度刚好是海浪就能够把珊瑚碎片冲去的高度,而海风也能把含钙质的沙子堆起来。小岛外侧的坚固珊瑚岩平台相当宽,能够抵挡海浪最初的猛烈冲击,否则,海水会在一天之内就把这些小岛及其所有的动植物一扫而光。这里的海洋与陆地似乎在相互争霸:尽管陆地已经获得了根基,但水中的各种居民也认为它们至少具有相同的生存权利。这里到处都能看到不止一种寄居蟹[5],它们的背上背着从邻近沙滩上偷来的贝壳。头顶上有大量的塘鹅、军舰鸟和燕鸥在树上栖息;树林里到处是鸟巢,空气中充斥着鸟粪臭,这里可以称得上是海上贫民窟了。塘鹅们立在简陋的巢穴中,笨头笨脑地、带着怒意地盯着我们。白顶黑燕鸥,从它们的名字就能看出是一种傻乎乎的小动物。但也有一种很可爱的鸟,它是一种娇小雪白的燕鸥,就在一个人的头顶上一二米高的地方平稳滑翔,瞪着黑色的大眼睛好奇地打量着你的表情。只需一点小小的想象力就能幻想出,它这么轻巧的身体里肯定有某个漫游的精灵附体了吧。
4月3日,星期天——在做完祷告后,我陪菲茨·罗伊船长到一个移民定居点去,这个定居点离这里有好几公里,是一个密布着高大椰子树的小岛屿。罗斯船长和莱斯克先生就住在一间大仓库一样的房子里,其两端是敞开的,只是悬挂着树皮编织的小席子。马来人的房子都是沿着潟湖的岸边而建。整个小岛都显得相当荒凉,因为这里没有一座植物园可以显示出打理及开垦的迹象。这里的土著人来自东印度群岛的不同岛屿,但他们都讲着同一种语言。我们看到有婆罗洲人、西里伯斯人、爪哇人和苏门答腊人。他们在肤色上很像塔希提人,但在外貌特征上没有大的区别。不过有一些妇女很像中国人的特征。我对她们的一般神情和说话的声音都很喜欢。他们看来都很贫穷,房子里没什么家具,但他们的小孩胖乎乎的样子,又可以证实这里的椰子和海龟为他们提供了不错的营养。
这个岛上有一些井水,过往的船只都来取水。初看起来井里的淡水与潮汐一起涨落很使人惊奇,甚至还有人想象这里的沙子具有过滤海水的功能。这些能涨落的水井在西印度群岛的一些地势较低的岛屿中很普遍。那些压紧了的沙子或有渗透力的珊瑚岩好像海绵一样渗透了盐水,但是落到地表的雨水肯定会下降到周围海水的同一水平,而且肯定会在那里聚集起来,转换出相同量的咸水。随着大海绵一样的珊瑚岩的下部咸水跟着潮汐一起涨落,地表的淡水也会跟着一起涨落。如果这种珊瑚岩足够密实以防止机械性的混合物,这样淡水就会得以保存。但如果这个地方由松散的、有裂缝的大珊瑚岩所组成,那么在这样的地方挖个井,井水就会是咸的。
晚饭后,我们在这里观看了一场新奇的、由马来妇女表演的半迷信的演出。一个木质的大勺子穿上衣服,被人抬到一个死人的坟前。她们装模作样地在一轮满月下接受了神灵的感应,跳来舞去。在做好了适当的准备后,由两个妇女抬着的木勺抽动起来,她们就在周围的孩子和女人的歌声中跳了好一会儿舞。这是一个最愚蠢的场景,但莱斯克先生坚持说很多马来人相信这种神灵活动。这种舞要在月亮升起时才会跳,因此,我们在夜晚的微风下透过椰子树摇曳的枝叶,观赏月亮清澈的圆盘静静地闪烁,也是值得的。这些热带的景色本身就让人心旷神怡,它们与故乡的良宵美景相比简直不相上下,那种景色在我们每个人的心里均留下了最美好的情感。
第二天,我亲自去观察这些岛屿最为有趣、然而却又简单的构造和起源。这里的水不寻常地平静,我从外侧的死珊瑚岩平台涉水一直走到有活珊瑚堆的地方,大海的波涛在这里翻滚冲击。在一些沟壑和凹穴里,有非常漂亮的绿色的鱼及其他颜色的鱼,很多植虫类生物,它们的形态和色彩也堪称绝妙。热带的大海中如此兴盛地生存着无数的有机生物,到处都是对生命的铺张浪费,我认为要对大自然表示原谅。但我得承认,我认为有些博物学家用华美的辞藻把海底洞穴描述得美轮美奂,未免过于用词夸张了。
4月6日——我跟菲茨·罗伊船长到潟湖末端的一个岛上去。这里的海峡特别复杂,蜿蜒曲折地穿过一片片的珊瑚地,其中长满了精美的、长着枝条的珊瑚。我们看到有几只海龟和两条捕捉海龟的小船。这里的海水非常清澈、非常浅,尽管有只海龟起初很快就潜入了水中,不见了踪影,但追捕的人驾着一条扬帆的小船或独木舟跟在后面,用不了多久就会追上它。这时原来站在船头待命的一个人,就扎入水中,爬到海龟的背上,然后用双手抓住龟脖子后面的壳,海龟就这样驮着他,直到精疲力尽,然后手到擒来。看到两条小船来来回回的追逐海龟,船上的人一再从船头跃入水中,以图抓住猎物,这种捕猎方法真是让人觉得有趣。莫尔斯比船长告诉我,在同一个大洋的查戈斯群岛,当地的土著人用一种很恐怖的方法揭取活海龟的背壳:“用烧红的木炭盖在龟背上,背壳就会向上翻,然后用一把刀强行把背壳割下来,在它还没冷却之前用木板夹平。经过这种野蛮的过程,海龟忍受着痛苦重新回到当初的自然环境,经过一段时间之后,还会长出一副新甲壳来。但是它的新甲壳太薄弱了,起不到什么防护作用,这只海龟总会显得衰弱多病。”
我们穿过一个狭长的小岛,到达了潟湖顶端,这才发现迎风海岸那里形成了巨大的拍岸浪花。我很难解释它的成因,但这潟湖群岛外海岸的风景真是非常壮观。其实这里的屏障式海滩非常单调,边缘区长着绿色灌木和高大的椰子树,坚硬的死珊瑚礁平台上到处散布着大量松散的碎片,汹涌的排浪环绕两侧。大海把海水抛向宽阔的珊瑚礁上,好像一个不可战胜的、威力无边的敌人;然而我们看到了抵抗——甚至是胜利,而这种抵抗正是来自看上去最软弱、最无能的方法。并不是大海饶恕了珊瑚岩,海滩上堆积的由珊瑚礁顶剥离的大块碎片,扎根其间艰难生长的椰子树,这一切都直接体现了海浪无情的威力。但是,征服与抵抗都同样不会停歇。轻柔而持续不断的信风沿着同一个方向刮过宽阔的海面,形成长长的大浪冲击岸边,产生了威力无穷的碎浪花,它们产生的力量几乎等于一次温带大风暴所发生的力量,而且它的狂暴永不停止。的确很难相信一座小岛能逃离惊涛骇浪的魔掌,尽管它是由最坚硬的岩石构成,就算是斑岩、花岗岩或石英岩,恐怕最终也会被这种不可战胜的力量所征服和摧毁。然而这些低矮的、毫不起眼的珊瑚岛却站稳了脚跟,取得了胜利——因为这里有另一种力量作为大海的对手,参加了这场竞争。有机体势力把碳酸钙原子从泛着白沫的碎浪花中一个一个分开了,然后再把它们结合成对称的结构。让飓风把成千上万块巨大的碎片撕得粉碎吧!和这些难以数计的“建筑师”日以继夜、成年累月所积累的劳动相比,它们又算得了什么呢?因此,我们看到一种柔软的胶状水螅体生物,通过生命法则的作用,战胜了海浪的巨大机械力量,而这种力量既不是人类的技能所能抵挡的,也不是大自然的无生命工程能够持续抵挡的。
我们直到深夜才回到船上,因为我们在潟湖里待了很长时间,研究珊瑚田和巨大的查马贝壳。如果一个人把手伸进查马贝壳,只要这种动物还是活的,你就不能把手抽出来了。在潟湖的顶端附近,我非常奇怪地发现,有一片宽阔地区,面积超过2.5平方公里,上面覆盖着精美的枝状珊瑚林,然而,尽管它们是直立的,但已全部死亡并腐烂了。开始,我摸不着头脑,不明所以;后来我想出来了,它是由于相当奇特的综合原因造成的:我们首先要指出的是,珊瑚是不能在阳光的直射下暴露在空气中生存的,哪怕是很短的时间都不行。因此,它们生长的最高限度取决于春潮时的最低水位。这一点从旧的航海图中就可以看出,这座长岛迎风的一面以前曾被几条宽阔的海峡分成了几个小岛。这个事实同样从这里的树木还没长大就能说明。过去的珊瑚礁的情况是,一阵强风就能把海水刮过障碍、抛进潟湖,并会提升潟湖的水位。现在的情况则相反了,因为潟湖里的水不但没有从外面的洋流中补充增加,而且它本身还因为风力作用把水刮到外面去了。因此,可以观察到,靠近潟湖顶端的潮汐在强风期间并没有上升到风平浪静时的高度。毫无疑问的是,尽管不同的水平位置相差得很小,但我相信正是这个原因造成了珊瑚林的死亡。这些珊瑚林在以前外侧的珊瑚礁非常开阔的水域条件下,已经向上长到了最高限度。
在基林岛以北几公里的地方还有一个小环礁,其间的潟湖已差不多被珊瑚泥填满了。罗斯船长发现,在外海滩的砾岩中嵌入了一个相当圆的绿岩碎片,它比一个人的脑袋还要大。罗斯船长和跟他一起来的人都觉得非常惊奇,就把它当作珍稀宝物带回去藏了起来。这块石头所在地的周围物体都是钙质的,当然让人迷惑不解了。这个岛以前几乎没人来拜访过,也不可能在这里发生过沉船。因为缺少更好的解释,我得出结论:它肯定是夹杂在一棵大树的树根中带来的——不过,考虑到与最近的岛都相距遥远,一块石头要夹在树根中,这棵树再被冲到海里,漂过很远的距离,再安全地冲上海岸,这块石头最终被人发现嵌入砾岩中,这么多的偶然合在一起,我几乎都不敢想象了,这种运输方式很明显太不可能了。真正著名的博物学家沙米索和科泽布说过一件事,我觉得非常有趣。他说,在太平洋中有一群潟湖岛叫拉达克群岛,岛上的居民到海滩上去寻找被海水抛上来的树根,以期获得石头来磨工具。很明显,这样的情况发生过好多次,因为这里颁布过法令,这种石头属于酋长,如果有人企图偷走石头就会受到惩罚。考虑到在这样辽阔的汪洋大海中这种小岛的偏僻位置——它们除了靠近珊瑚礁,离其他任何陆地的距离都很遥远,岛上的居民就像最勇敢的航海家,证明了任何附着在树根上的石头都很有价值——如果考虑再到大海中的洋流非常缓慢,还会发生石头运输的情况,真是让人不可思议!石头很可能经常是以这种方式运输的,如果它们不是被运送到珊瑚岛上,而是其他任何物质结构的岛上,很可能就不会引起人们的注意了,而它们的来源至少从来也不会引起人们的猜想了。而且,那些树木,特别是承载着石头的树木漂浮在水面下,这种现象很可能长期没有被人发现。在火地岛的海峡中,有大量的漂浮树木被海水抛到了岸上,但我们极少遇到过一棵漂在水面的树木。对于那些偶尔发现的、镶嵌在颗粒细微的沉积物中的石头,这些事实有可能解开那些孤立的石头之谜,不管它们是有尖角的还是圆形的。
还有一天,我游览了西岛,这里的植物可能比别的岛屿都要茂盛得多。这里生长的椰子树一般都隔得比较开,不过这里的小椰子树都是在高大的父辈下面茁壮成长,而大椰子树那又长又弯的叶片形成了最阴凉的凉棚。只有那些亲身体验过的人才会知道,坐在这样一个阴凉的地方,饮着清凉而甘美的椰子汁,是一件多么惬意的事。在这个小岛上还有一大片像海湾一样的空地,它由最精细的白沙所形成,上面非常平坦,只有在潮汐的高水位时才会淹没。一些小海湾从这个大海湾伸进周围的树林里。这样一片闪闪发光的白沙映射到水中,四周的椰子树伸展着高大而摇曳的树干,形成了一道奇特而美丽的景色。
我前面已经提到过有一种靠椰子果为生的螃蟹,它们在干燥的陆地上随处可见,而且能长到很大的个头,与椰子蟹的亲缘很相近,或者就是椰子蟹的同一个物种。它的一对前腿最终变成了强壮而笨重的大螯,而最后面的一对爪子则变得更瘦弱狭长。我们最初都认为一只螃蟹是不可能打开一颗外壳坚硬的椰子果的,但莱斯克先生向我保证,他已经多次看到过这种情况了。这种蟹总是从椰子下面的三个眼洞处开始撕开椰子壳,一根纤维接一根纤维地撕,撕完之后,它就开始用笨重的大螯来锤打其中的一个眼洞,直到打开为止。然后它转过身来,靠着臀部和那对狭长的小螯的帮助,它就能掏取椰子里面的白色多胚乳的物质了。像这种在大自然的体系中,两个物种彼此明显相距非常遥远,但是螃蟹与椰子树却会在构造上如此互相适应,我想,这是我以前从来没听说过的最奇妙的生物本能的例子了。这种椰子蟹具有白天活动的习性,但据说,它每个晚上都要到海水中光顾一次。无疑,它的目的是为了把鳃湿润一下。椰子蟹的幼蟹同样是卵生的,此后要在岸上生活一段时间。这些蟹在树根下挖洞,它们就栖居于很深的地洞中。它们还在洞中积累了数量惊人的椰子壳纤维,以作为它们的睡床。马来人有时利用这一点,把这些纤维收集来做缆绳。这些蟹肉非常好吃,而且在那些大蟹的尾部下面有一种油脂,如果把它熔化,就能产生多达1夸脱的满瓶清澈油脂。有一些作家指出,椰子蟹会爬到椰子树的上面去偷椰子吃,我对这种可能性非常怀疑,但如果是爬露兜树[6]的话,这项任务就容易多了。莱斯克先生曾经告诉我,栖居在这些岛屿上的椰子蟹只会吃落在地下的椰子果。
莫尔斯比船长对我说,这种蟹只栖居在查戈斯群岛和塞舌尔群岛上,但邻近的马尔代夫群岛上就没有。这种蟹以前在毛里求斯有很多,但现在只能在一些小岛上发现它们了。在太平洋上,这个物种或者是与它有近亲习性的物种[7],据说只在社会群岛北面的一个单独珊瑚岛上栖居。为了显示它的一对前螯的神奇力量,我要提到一件事,那就是莫尔斯比船长曾经把一只椰子蟹关在一个装过饼干的结实的锡罐里,盖子用铁丝封住,但这只蟹把锡罐的边缘反卷过来并逃跑了。为了反卷边缘,它实实在在地在锡罐上打出了很多小孔!
我发现两种千足虫属的珊瑚具有螫人的能力时大大地吃了一惊。当我把这种活珊瑚带出水面,它们那石头一样的分枝或叶片具有粗糙的感觉,并不黏滑,但却具有一种很强烈的难闻的气味。这种螫人的能力似乎随着不同的种类而各不相同:拿一枝珊瑚放在脸上或手臂上等柔软的皮肤处按压或摩擦,只要过几秒钟,通常就会产生一种刺痛感,不过这种痛感只会持续几分钟。但是有一天,我只拿了一枝珊瑚在脸上接触了一下,立即就疼痛起来,而且跟平常一样,过了几秒钟疼痛就加剧起来;这种刺痛保持了好几分钟,过了半个小时还能感觉到隐痛。这种感觉就像是被荨麻刺了一样让人难受,但更像是由僧帽水母所引起的刺痛感。手臂柔软的皮肤上产生了一些小红点,就好像长出了水脓疱一样,但其实不会的。M.科伊先生也提到过这种千足虫属的珊瑚。我也听说过在西印度群岛也有这种螫人的珊瑚。很多海洋动物似乎都具有这种螫人的能力——除了僧帽水母,还有很多海蜇。佛得角群岛的海兔属或海参也有这种能力。在《星盘号航行记》里,作者讲到有一种海葵以及一种柔韧的近似桧叶螅的珊瑚也都具有这种攻击或防御的能力。在东印度海,据说有人发现过一种螫人的海藻。
有两种鹦嘴鱼属的鱼类在这里很常见,它们专以珊瑚为食。这两种鱼的颜色都呈极漂亮的蓝绿色,一种总是生活在潟湖中,另一种生活在外面的碎浪花中。莱斯克先生向我们证实说,他经常看到这种鱼群在珊瑚枝的顶端用强壮的骨质嘴啃食珊瑚。我解剖过几条鱼的肠子,发现里面胀满了黄色的钙质沙泥。阿伦博士告诉我,那种黏滑的、令人作呕的管海参(和英国的海星类似)主要也是以珊瑚为食,但中国人却热衷于吃这种海参。它们身体里的骨质器官似乎很好地适应了这种生存方式。这些管海参、鱼类、无数的挖洞贝壳,还有蠕虫,在每块死珊瑚岩上钻孔,它们在产生潟湖水底和沙滩上那些精细的白泥方面肯定起了非常有效的中介作用。这种白泥打湿的时候很像捣碎的粉笔,埃伦伯格教授发现有一部分白泥中含有部分硅质外壳的纤毛虫。
4月12日——早上,我们离开了潟湖岛前往法兰西岛。能够游览这些岛屿,我真的很高兴。这种构造的岛肯定是这个世界上奇特景观中的佼佼者了。我们在离开海岸还只有约2000米的时候,菲茨·罗伊船长就发现了一条2160米长的绳子还够不着海底,因此可知这个岛是由高耸的海底山脉形成的,它的四周甚至比那些最险峻的火山锥还要陡峭。它那碟形的山顶横跨有16公里。每一颗微粒,从最小的粒子到最大的石头碎片,堆成了这座大石山,尽管比起很多别的潟湖岛来说它还是小的,但它却带有有机物构造的痕迹。每当有游客告诉我们,金字塔和其他的遗迹是如何高大时我们就非常吃惊,可是,如果与这些由不同的软体动物堆积起来的石山相比,那些最伟大的建筑也显得无足轻重了!这是一项奇迹,最初不会打动我们的眼睛,但是经过深思之后,就能打动我们理智的双眼。
我现在要对三大类的珊瑚礁,即环礁、堡礁、岸礁做一个简要的叙述,并对它们的形成说明我的观点[8]。几乎每一个横跨过太平洋的航海家都对潟湖岛表达出无限的惊奇,我后面就要用印度名称来称呼环礁,并试图做出几种解释。甚至早在1605年,法国人皮拉尔·德·拉瓦尔就曾感慨地说:“看到每个环礁周围环绕着一个巨大的石垅,这真是一个奇迹,它绝不是人类的杰作可以比拟的。”这里附有一幅太平洋降灵岛的草图,拷贝于比奇船长令人钦佩的《航海记》。这幅图在环礁的独特外貌方面表达了一种粗浅的概念——这是规模最小的一个环礁,它由很多狭长的小岛联结在一起,成为一个圆环。潟湖之外是浩瀚的大海、暴怒的碎浪。它与潟湖之内的地势低平、绿水荡漾形成了鲜明的对比。如果不是亲眼所见,很难想象出还有这样的绝妙景致。

降灵岛
早期的航海者幻想,那些建造珊瑚礁的动物本能地给它们造出了一个大圆环,以躲在环内受到保护,但是这点与事实相距甚远,因为大量暴露在外海岸的珊瑚礁不能在潟湖内生存,而内湖则生长着另外几种枝条娇嫩的珊瑚。况且,按照这种观点,很多不同种属的物种要联合起来才能达到共同的目的。而对于这样的联合,在整个自然界中还没有发现过一个例子。有一种广为接受的理论,就是环礁是建立在海底火山口之上的,但是当我们考虑到其中一些环礁的形状、大小、数量和相似性及与其他环礁的相对位置时,这个似是而非的观点就失去了根基。例如,苏瓦迪瓦环礁的直径最宽是70公里,最窄处为54公里;利姆斯基环礁的直径最宽是86公里,最窄是32公里,而且还有一个奇特的弯曲的边缘;鲍环礁有48公里长,平均宽度只有10公里;门契柯夫环礁由三个环礁联合而成或者说系在了一起。而且这个理论对印度洋中的马尔代夫北部的环礁也完全不适用(其中有一个环礁长140公里,宽16~32公里),因为它们不像普通的环礁那样由狭长的礁岩围绕着,而是由无数单个的小环礁围绕着;其他的小环礁则从潟湖一样的空地中央突了出来。第三种,也是更好的一种理论,由沙米索提出。他认为,暴露在大海外侧的珊瑚生长得更加茂盛,毫无疑问事实也是这样的:外侧边缘在一般的基础上要比其他部分先生长出来,这样就能解释环形或杯形结构形成的原因了。但我们很快就能注意到,这个理论和火山口理论一样有一个很重要的因素被忽视了,那就是这种不能在很深的水下生活的造礁珊瑚,那么它们的庞大结构是以什么为基础的呢?
菲茨·罗伊船长在基林群岛环礁的陡峭外侧仔细地做过无数次水深测量。他发现,在18米以内预先涂在铅块底部的油脂在拉出水面时总是印有活珊瑚的痕迹,但是非常干净,就像是落在了一块草垫上一样,而随着水深的增加,印上的痕迹数量就减少了,但是附着的沙粒数量却越来越多,直到最终明显说明海底是由平坦的沙层所构成的。我们还以草皮做相似的推理:土地越贫瘠,草叶越细小,直到最后,土壤太贫瘠了,上面长不出任何的草木了。从已经被很多人证明了的观察来看,我们可以很有把握地推断出,珊瑚造礁的最大深度约36~48米。在太平洋和印度洋的广袤海域里,每个单独的岛屿都是由珊瑚构成的,它们只升到海浪能够抛进珊瑚碎片的高度,以及风力能够堆积沙子的高度。例如,拉达克群岛环礁群是一个不规则的四边形,长832公里,宽384公里;低地群岛是椭圆形的,长径1344公里,短径672公里。在这两个群岛之间还有别的小群岛和单独的低岛屿,在大洋中形成一条长6400多公里的线状海域,在这些岛屿中没有一个岛会升到超过特定的高度。同样,在印度洋中,有一片长2400公里的海域,包括三个群岛,其中每个岛屿都是低岛,都由珊瑚构造。从造礁珊瑚不能在很深的水中生存的事实可以绝对肯定:在这些广大的海域中,无论是哪里的环礁,它的最初的基础肯定存在于水面下36~48米的深度。最令人难以置信的是,那些宽阔的、高耸的、独立的、岸边陡峭的沉积物成群出现,排列成长度数百里格的列队,却能在太平洋和印度洋的中央和最深处沉积下来,而且离任何大陆都十分遥远,那里的海水又十分清澈。同样令人难以置信的是,上升的浮力竟能在上述广大的海域里把无数的大岩石堆举起到海面下36~48米的高度,而且没有哪一个高点超出海平面;在整个地球的表面。我们能不能找到一座单独的山脉,哪怕只有数百公里长,它们的山峰只升出限定高度的一两米高,而没有一个顶点超过这个范围呢?再者,如果造礁珊瑚所生长的基础不是由沉积物所形成的,如果它们没有被海水浮力托举到所需要的平面,它们肯定要下沉到这个高度。如此一来,这个难题马上就解决了。因为一座山接一座山,一个岛接一个岛,慢慢地下沉到水下,最新的基础就会不断地出现,供珊瑚生长。这里不可能提供所有必要的细节了,但我敢大胆地反对[9]任何人用任何其他方法所提出的解释,以说明我解释的情形是完全可能的,即无数的岛屿分布在浩瀚的大海里——所有的岛屿都是低矮的——所有的岛屿又都是由珊瑚构成的,它们绝对需要一个水面以下限定深度的基础。
在解释构成环礁的珊瑚礁如何获得它们奇特的结构之前,我们要转向第二大种类的珊瑚礁,也就是堡礁。这些堡礁要么从大陆或大岛前面的岸边以一条直线伸展出来,要么环绕着一些小岛。这两种情况都是由一条宽阔的而且相当深的海沟与陆地分开,类似于环礁里的潟湖。让人觉得异常的是,人们对环形的堡礁却很少注意,然而它们的结构真的让人叹为奇观。下面所附的草图显示了部分堡礁在环绕着太平洋的博拉博拉岛,这是从一个中央高峰上看到的。在这个例子中,整行珊瑚礁都已变成了陆地,但是通常都有一条大浪花所形成的雪白的线条,只有一些长着椰子树的孤独的小低岛东一个西一个地立在那里,这条白线把黑暗起伏的海水与潟湖—海沟的淡绿色水面分开了。这条海沟里的平静海水通常总是冲刷着低处的冲积土壤的边缘,这里荒凉、高耸的中央高山的山脚下生长着热带最美丽的植物。

博拉博拉堡礁
环绕的堡礁大小各不相同,从直径5公里到直径不小于70公里;其中有一个对着新喀里多尼亚岛,再环绕到它两端的堡礁有640公里长。每个堡礁包含着一两个或几个高度不一的岩石岛;其中有个堡礁里面有多达12个各自分开的小岛。堡礁与包围着的陆地相隔或多或少的距离。在社会群岛里这种相隔的距离一般在一两公里到五六公里,但是在霍戈柳岛,堡礁与它所包围的岛屿之间的距离,在南边是32公里,而在相对的北边则是22公里。潟湖—海沟的深度也各自大不相同,其平均深度为18~54米,但是在瓦尼沟螺岛,各处的深度至少都有100米。堡礁里侧的坡度要么缓缓地下降到潟湖沟里,要么成一道垂直的墙,有时它在水下有60~90米深,而堡礁外侧就像环礁一样升起,从深海处突然挺拔而出。还有什么东西比这种结构更奇特的吗?我们看到有一个岛,可以把它比作海中高耸的山顶上的一个城堡,由一面珊瑚岩构成的大城墙保护着。这种城墙的外侧总是陡峭的,它的内侧有时也是这样;它的顶端宽敞平坦,到处都有狭窄通道的裂口,最大的船只也可以开进这些又宽又深的环绕壕沟。
至于实际的珊瑚礁,在堡礁与环礁之间,它们在一般的大小、轮廓、组群,甚至在最微小的构造细节方面都没有丝毫区别。地理学家巴尔比曾经很好地指出过:一个环形的岛就是一块陆地从潟湖中高耸而出的环礁,如果把这块陆地从其中移走,那么剩下来的就是完整的环礁了。
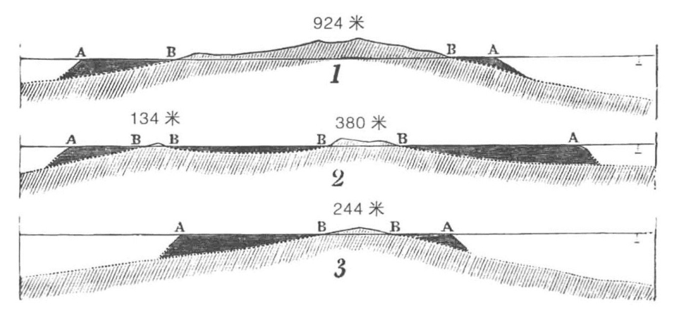
但是,是什么造成这些珊瑚礁离它们所包围的岛屿相隔这么远而又高耸出水面的呢?这并不是因为这些珊瑚不能靠近陆地生长,而是因为在潟湖—海沟的里侧岸边,如果没有被冲积土壤所包围,就会经常为活珊瑚礁所包围。我们马上就会看到有另一大类的珊瑚礁,由于它们紧密地与大陆和岛屿的海岸相联系,所以我把它们叫作岸礁了。同样,由于珊瑚不能在很深的海水中生存,这些造礁珊瑚是以什么为基础来建造环形的结构呢?这显然又是一个很大的难题,就跟环礁的情形相类似,但一般都被人们忽视了。看看下页的剖面图就会理解得更清楚了。这几个剖面图都是通过瓦尼沟螺岛、甘比尔岛和毛拉岛的堡礁,依照南北线的剖面绘制出来的。图上的垂直距离和水平距离,都是按照1厘米代表约3238米的相同比例画出来的。
应该注意到,从这些岛屿的任何方向画出的剖面图或是从别的环形岛得来的剖面图,它们的一般外形都是相同的。现在考虑到造礁珊瑚不能在36~54米以下的水中生存,而我们所采用的比例尺又太小了,右边的铅垂线就表示一个360米的深度,那么这些堡礁究竟是以什么为基础的呢?我们是不是要假设每个岛屿都被衣领一样的海底暗礁所包围,或者被一片巨大的沉积物海岸所包围,而它在珊瑚礁的末端突然又中断了?如果在这些岛屿没有受到珊瑚礁的保护之前海水已深深地侵蚀到岛屿里面就会留下一片环绕在水下的浅礁,那么现在的海岸就会一直以高大的悬崖作为边界了,但这种情况极少存在。况且,按照这种说法,就不能解释为什么珊瑚在暗礁最外层的边缘处会像一堵墙一样生长起来,还常常留下一片宽阔的水域在里面。这片水域非常之深,珊瑚都不能生长。日积月累的沉积物所形成的宽阔海岸围绕着这些岛屿,一般来说海岸越宽则其包括的岛屿越小,但如果考虑到它们所暴露的位置是在海洋的中心及最深的地方,那么这种情况就是极不可能的了。在新喀里多尼亚岛的事例中,该岛的堡礁从北端向外伸展出240公里,而在西海岸也以同样方向的直线向前伸展。人们几乎不可能相信,一个沉积海岸会笔直地在一个高耸的岛屿前沉积下来,并且又距离位于外海中的岛屿的边界竟如此遥远!最后,如果我们看一看其他大洋中的同样高度及同样地理结构的岛屿,但不是被珊瑚礁包围的岛屿,除非离海岸非常近,否则我们是找不到只有54米的周围水深的。因为与大部分被珊瑚礁所围绕或者没有围绕的海岛一样,陆地通常既能从大海中突兀耸立,也会陡峭地扎入水中。那么,我再重复提出这个问题:这些堡礁究竟是以什么为基础的呢?为什么它们会耸立在离它们所包围的陆地那么远的地方,而中间又隔着一条又宽又深的像壕沟一样的海沟呢?我们很快就会看到,这些难题很容易就能从我们面前消失。

堡礁剖面图
1.瓦尼沟螺岛;2.甘比尔岛;3.毛拉岛水平阴景线表示堡礁与潟湖海道。海平面(A-A)以上的斜影线表示陆地的真正形状;海平面以下的斜影线表示陆地在水面下的可能延长部分。
我们现在再讲第三种珊瑚礁——岸礁,这只需要做一个简短的说明就够了。当陆地的斜坡突然降到水下,这些珊瑚礁只有几米宽的距离沿着海岸形成一条长带或窄边,而当陆地的斜坡缓慢地伸入到水下,珊瑚礁就会扩展得更远,有时甚至离陆地有一两公里远,但在这种情况下,我们测量珊瑚礁外侧的水深就会看到:海底陆地的延伸部分是慢慢地倾斜的。事实上,岸礁只伸展到离岸边这段距离为止。在这段距离里,它们生长的基础要在36~54米的必要水深内。至于实际的珊瑚礁,岸礁与形成堡礁或环礁的珊瑚礁之间并没有本质的区别,但是,一般而言岸礁要狭窄一些,而且在它上面很少能形成小岛。从珊瑚在礁岛的外侧生长得更茂盛来看,而且从礁岛内侧的冲积物有毒害性效果来看,珊瑚礁的外侧边缘就成了最高的部位,而且在岸礁与陆地之间一般均会有一条一两米深的浅浅的沙沟。当海岸沉积物积累到接近海面时,就像西印度群岛的部分地方一样,它们有时会在边缘围上一层珊瑚,因此在某种程度上就像潟湖岛或环礁一样了。同样,当岸礁围绕着那些海岸坡度缓慢的岛屿时,它在某种程度上又像是堡礁了。

珊瑚礁剖面图
AA,海平面以上的岸礁的外侧边缘。BB,有岸礁的岛的海滩。
A'A',珊瑚礁在陆地下沉期间向上生长的外侧边缘,现在已变成一个中间有小岛的堡礁了。
B'B',现在是环形岛的海岸了。CC,潟湖海沟。
注:在这张图与下张图里,陆地的下沉情形只不过是用海平面的近似上升情形来代表的。
如果一种有关珊瑚礁的形成理论不能包含三大类珊瑚礁的情况,则不能视为满意。我们已经知道,我们不得不相信那些广大的、散布着低矮岛屿的区域曾经下沉,而且没有一个岛屿上升的高度会超过风力和海水抛洒东西到岛上的高度,然而这些由动物构成的岛屿需要一个支撑的基础,而这个基础又不能处于太深的水下。让我们以一个被岸礁环绕的岛屿做例子,它们的结构不能太复杂。假设这个带有岸礁的岛缓慢下沉(如上页图所示,连续不断的线条代表岸礁)。现在,随着这个岛的下沉,不管它一次下沉一两米,还是不知不觉地下沉,我们都可以根据大家所熟知的珊瑚生长的有利条件有把握地推断,那些处于珊瑚礁边缘被拍岸浪冲刷的生命体很快就会长到水面上来。而海水会一点一点地侵蚀海岸,这个岛就会变得越来越低、越来越小,而岸礁内侧边缘与海滩的空间就会相应地变得更宽。下页图所示就是这种情况下珊瑚礁与其岛屿的剖面图。虚线表示,经过上百米的下沉后所处的状况。假设珊瑚岛已经在珊瑚礁上形成了,一艘船停泊在潟湖沟里。这条海沟就会根据陆地下沉的速度、累积的沉积物量、精美的珊瑚枝在那里的生长速度来决定是深还是浅。在这种情况下,它的剖面图在各方面都很像一个环绕的岛屿的剖面图:实际上,它就是真实的太平洋上的博拉博拉岛的剖面图(按比例尺约0.416英寸代表1英里)。我们现在立刻就能明白为什么环绕的堡礁会离它所面对的海岸那么远了。我们还能理解,一条垂直线从新珊瑚礁的外侧边缘到旧岸礁下的坚硬岩石基础,这条线段的长度所超出的这种活珊瑚所能生存的水深下限,就是陆地下沉的长度——随着整个基础的下沉,这些小建筑师就在别的珊瑚及其坚硬碎片的基础上建起了巨大的城墙一样的礁体。因此,原先似乎很难的一个难点就消失了。
如果我们不以岛屿为例,而是以一个环绕着珊瑚礁的大陆海岸为例,并想象它也下沉,形成了一个巨大的直堡礁,就像澳大利亚或新喀里多尼亚一样有一个又宽又深的海沟把陆地分开,那么这样就会明显地得到这个结论了。
让我们以新的环形堡礁为例!它的剖面图现在以实线来表示。如我前面所说,这是一个博拉博拉岛的实际剖面图,我们假定它还在下沉。随着堡礁的缓慢下沉,它上面的珊瑚将会继续向上茂盛地生长,但是随着岛屿的下沉,海水就会一寸一寸地漫过海岸——各个分开的山峰首先就会在一个巨大的珊瑚礁里形成各自分开的岛屿——最终,最后一个最高的峰顶也消失了。这种情况只要一发生,一个完整的环礁就形成了——我已经说过,只要把一个环形的堡礁中的高出海面的陆地移去,剩下的就是环礁了,而这块陆地也已经被移去了。我们现在就能弄清楚环礁是怎么形成的了,它从环绕着的堡礁突显出来,与它们在常见的大小、形态、集结成群的方式、以单行或双行的排列上都很相似,因为环礁的这种剖面图可以被称作下沉的岛屿原先所耸立在那里的粗略轮廓图。我们还能进一步明白它是怎样升起来的,太平洋和印度洋的环礁就是这样一排排地朝着这两个大洋里的高大岛屿和长海岸线的常见的普遍方向平行地延伸着。因此,我敢肯定地说,有关大陆下沉时珊瑚向上生长的理论[10],就能把那些奇妙构造的所有突出特征、那些长久以来引起航海家们强烈兴趣的潟湖岛或环礁以及同样奇妙的堡礁,不管它环绕的是小岛还是沿大陆海岸绵延成百上千公里,都能很容易解释清楚了。

珊瑚礁剖面图
A'A'是海平面以上的堡礁的外侧边缘,有一些小岛在它中间。B'B'是被珊瑚礁所包围的岛的海岸。CC,潟湖海沟。A"A"是珊瑚礁的外侧边缘,现在它变成了一个环礁。C'是新的环礁的潟湖。注意:从实际的个例来看,这个图里的潟湖海沟的深度要夸大很多。
有人可能会问,我能否提供堡礁或环礁下降的任何直接证据?可是必须要想到,要查明隐藏在水下的运动趋势是多么的困难!尽管如此,在基林岛的环礁中,我观察到在潟湖的四面八方都有被海水冲刷的老椰子树在往下降。有一个地方,当地居民插进去的一个棚屋的桩基,7年前还在最高水位上,但现在每天都要受到潮汐的冲刷。经过询问,我发现这里最近10年里发生过3次有震感的地震,其中有一次地震非常剧烈。在瓦尼沟螺岛,潟湖沟惊人的深,几乎任何冲积土壤都不能在高耸的山脚下累积起来,而在城墙一样的堡礁上,由堆积的碎片和沙子而形成的小岛屿也极少。这些事实及一些类似的事实都使我相信,这个岛肯定是最近才下沉的,而且珊瑚礁还在向上生长,并且,这里经常发生地震,而且还很剧烈。另一方面,在社会群岛,潟湖沟却几乎被填塞了,因为这些海沟的底层累积了大量的冲积土,而且在有些情况下,长长的小岛已经在堡礁上形成了——所有的事实都说明,这些岛屿不是最近才下沉的——只不过感觉过几次极轻微的地震。在这些珊瑚构造的问题上,陆地和海水似乎在相互争霸,这就使得我们非常难以判定这种变化的原因究竟是潮汐上涨引起的还是陆地轻微下降所引起的。不过,有很多堡礁和环礁经历过这些变化,这一点是肯定的。在有些环礁上,一些小岛屿在最近的一段时期里似乎增加得非常快,而在另一些环礁上,这些小岛屿则部分或完全被冲走了。马尔代夫群岛的有些岛屿的居民还记得一些小岛最初形成的日期。还有一些地方的珊瑚现在在海水冲刷过的暗礁上生长得很旺盛,上面有些埋死人的洞穴证明了那里以前是有人居住的地方。我们很难相信外海的潮汐流会发生经常的变化,倒是有当地人记录到在一些环礁上发生过地震,在别的环礁上还观察到有巨大的裂缝。这些充足的证据证明了海底地区曾经发生过变化和扰动。

博拉博拉岛
很明显,根据我们的理论,那些仅仅被珊瑚礁包围的海岸是不会发生明显可觉察的下沉的,因此由于它们的上面有珊瑚在生长,它们肯定会保持稳定的状态或向上升高。现在事实显著地说明了,由于上升的有机物遗体的出现,被珊瑚环绕的岛屿已经得到了升高,因此,这也间接地支持了我们的理论。当我惊讶地发现,M.科伊先生和盖马德先生所做的描述并不能解释一般的珊瑚礁,而只能解释岸礁时,我印象特别深刻。当我后来通过一个特别的机会发现,这些杰出的博物学家考察过的那几个岛屿在最近的地质年代里已经上升了,这就印证了他们的观点,我也就不再感到惊讶了。
我们不但能用下沉理论来解释堡礁和环礁在结构中的重大特征,以说明它们在形态、大小和其他特征方面都具有相似性,而且还能用下沉理论对它们在很多结构上的细节和特殊情形加以简单的解释——由于珊瑚必须在一定的水深下找到生长的基础,所以我们的理论在这个问题上就不得不被予以承认了。我只给出几个例子加以说明。以堡礁为例,人们很久以来就惊讶地谈论道,那些穿过珊瑚礁的水道正好与礁内陆地上的山谷相对,甚至有时候珊瑚礁被一条比实际的水道还要宽很多、深很多的潟湖沟与陆地分开时也是这样。因此,似乎非常少量的海水或被海水带下来的沉积物简直不可能伤害到礁石上的珊瑚。现在,每个岸礁中的珊瑚礁上都在最小的小溪前由一条狭窄通道形成了一个缺口,即使在一年中的大部分时间里小溪是干旱的,但偶尔冲刷下来的泥沙、碎石也会把沉积处的这些珊瑚毁灭掉。结果,当一座环绕着珊瑚的岛屿下沉时,尽管大多数的狭窄通道有可能被向外生长和向上生长的珊瑚封闭起来,然而任何一个没有被封闭的通道由于潟湖沟里面的沉积物和脏水向外流出,那肯定会有几个出口一直在开启着,仍然会继续对着那些溪谷的上部,而谷口上原本的基础岸礁上也有着一个裂口。
我们现在很容易就能明白,一座只以一面朝向堡礁的岛屿,或者一面朝向堡礁,一端或两端由堡礁所环绕的岛屿,在经过长期持续地下沉之后,要么会变成一个单独的城墙一样的珊瑚礁,要么就变成了一个带有直立的、向上伸展尖刺的环礁,要么就变成了由直礁联系在一起的两三个环礁——所有这些例外情况实际上也会发生。由于这些造礁珊瑚需要食物,它们同时又是别的动物的猎物,也会被沉积物毁灭,且不能附着于疏松的海底,而且很容易被冲刷到不能生长的深水处,那么对于部分不完整的环礁和堡礁,我们就不必大惊小怪了。新喀里多尼亚的大堡礁在很多地方就是不完整、不连续的,因此经过长期的下沉后,这座大珊瑚礁就不会产生像马尔代夫群岛那样的有着640公里长的大环礁,而是成了一个链状或环礁群岛,在尺寸大小上与马尔代夫群岛几乎一样。况且,在一个相对的两端有裂口的环礁中,洋流和潮汐就有可能径直通过这些缺口。因此,那些珊瑚,尤其是在陆地持续下降过程中的珊瑚,就决不可能把裂口的边缘再次联结起来。如果它们不能联结,则随着整个地层的向下沉降,一个环礁就会分成两个或多个环礁。在马尔代夫群岛中,有很多截然不同的、相互位置非常关联的环礁群,它们被很深的,甚至是深不见底的海沟所分开了(例如,罗斯环礁与阿里环礁之间的海沟深270米,而南、北尼兰多环礁之间的海沟深度为360米)。在观察了它们在地图上的位置后,你就不得不相信,它们以前的相互关系还会更密切。而在同一个群岛中,马洛斯马多环礁被一条分岔的海沟所分开,其水深在180~240米之间。在这种情况下,就很难说明,是应该严格地把它叫作三个分离的环礁,还是该算做一个没有完全分开的大环礁。
对于珊瑚礁的情况我不再做详细的叙述,但我必须指出,我们可以根据珊瑚向上、向外生长的事实来简单说明马尔代夫北部环礁的奇妙结构(要考虑到它们破碎的边缘能让海水自由出入)。这些珊瑚最初要么生长在潟湖里各个分开的小礁岩上,就像发生在普通环礁上的那样;要么生长在线状的珊瑚礁边缘的破损面上,就像每个普通形状的环礁边界一样。我忍不住再次要提到这些复杂结构的奇特性——一片巨大的、多沙的、通常成凹形的圆盘,从深不可测的大洋底部突兀升起,其中央是一片广阔的地区,边缘是对称的椭圆形的珊瑚岩盆地,刚刚露出海面,有时上面覆盖着植物,而每个圆盘中都含有一湖清水!
还有一个问题要详细说明一下:在两个相邻的群岛中,一个群岛里的珊瑚生长得很茂盛,另一个却没有,而以前所列举的很多条件肯定会影响它们的生存。如果受到土壤、空气、水质的影响后,造礁珊瑚还能在任何地点或地区继续永久存活下去。这个事实就无法解释了。因为根据我们的理论,包括环礁和堡礁的地区都在下沉,在这些地区里,我们偶尔也会发现有死亡和淹没的珊瑚礁。在所有的珊瑚礁中,由于潟湖或潟湖海沟向下风处冲刷沉积物,这一面对珊瑚的长期持续的繁盛生长最为不利了,因此在下风处常能见到死亡的部分珊瑚礁,而这部分死亡的珊瑚礁尽管还保持着城墙一样的形状,可现在却已有好几处下沉到水下几米深的地方了。在查戈斯群岛,由于某些原因,可能是由于陆地下降得太快,现在珊瑚礁的生长环境远不如从前了——有一个环礁的15公里长的部分边缘礁已经死亡、下沉了;第二个环礁只有一些很小的活珊瑚生长到了水面上;第三、四个环礁已完全死亡,沉到水下了;第五个环礁只留下了一点残骸,它的构架几乎已经消失了。非常引人注目的是,在所有这些事例中,死亡的珊瑚礁和部分活珊瑚礁几乎处在相同的深度,也就是水面下11~15米的地方,好像它们是以等速运动在往下沉降一样。莫尔斯比船长(我非常感激他给了我很多价值无量的资料)所称的“半沉没的环礁”是一个规模很大的环礁,也就是说它的长径有166公里,短径有130公里,在很多方面都非常奇特。因为按照我们的理论,新的环礁一般会在每个新的沉降区上产生,但可能会有人提出两个重大的反对意见,也就是:首先,环礁会在数量上无限地增加;其次,如果不能证明环礁偶尔也会受到毁灭,那么在旧的沉降区中每个单独的环礁就会在厚度上无限地增长。这样,我们就要追溯这些巨大的珊瑚岩环的历史了,从它们最初的起源,经过它们生存期间的正常变化和意外事件,直到它们的死亡及最终消失。

珊瑚
在我的著作《珊瑚礁的构造》中,有我绘制的一张图。我把所有的环礁都绘成深蓝色,把堡礁绘成浅蓝色,而把岸礁绘成红色。岸礁是在陆地固定不动的时候形成的,或者像我们经常所看到的,当珊瑚礁缓慢上升时它就在上升的有机残骸物上形成了。另一方面,环礁与堡礁是在相反的下沉运动过程中形成的,这个运动过程一定是非常缓慢的,而且在环礁的形成过程中下沉的区域是如此之广,以致浩瀚的大海把每座山顶都埋没了。在这张图里,我们会看到那些标有浅蓝色和深蓝色的珊瑚礁是以相同的运动次序产生的,一般都清楚地紧靠在一起。我们还会看到,标上两种蓝色的区域伸展得很宽,而且它们各自位于红色海岸的延长线上。由以上两种情形,我们会很自然地推断出这个理论,即珊瑚礁的性质是由地球运动的性质支配的。值得注意的是,单独的红、蓝圆圈相互靠拢的例子决不止一个,我还能举出这里发生过出水平振动的例子,因为在这些事例中,红圈或标明岸礁的圆圈组成了环礁。根据我们的理论,它们最初是在下沉的过程中形成的,但是后来又升了上去。另一方面,有些用浅蓝色标明的环绕的岛屿是由珊瑚岩构成的,它们肯定是在下降运动发生前就已上升到了现在的高度,在此期间,现存的堡礁就向上生长。
生物理论家们非常吃惊地注意到,尽管环礁在浩瀚的海洋里是最普通的珊瑚礁结构,但在有些海洋里却没有一点环礁,例如在西印度群岛中就是这样。我们现在马上就能知道这个原因了——因为那里没有发生过下沉,环礁就形成不起来;至于西印度群岛和部分东印度群岛,这些地带都已知在近期上升了。图上标明红色和蓝色的大部分区域都是狭长形的。在这两种颜色之间都有一定程度的大致交替出现,就好像一个地方向上升起与另一个地方向下沉降形成了平衡。考虑到最近在岸礁的边缘和没有珊瑚礁的一些其他地方(例如,在南美)都有地面上升的依据,我们就能得出结论:大陆地区的大多数地方是上升的——从珊瑚礁的性质来看,浩瀚的大洋的中心地带是下降的地带。东印度群岛是世界上土地最破碎的地方,其大部分地方都是上升的,但有一条狭长的沉降区围绕和贯穿过这个群岛,很可能这些狭长的地区不是朝着一个方向的,而是朝多个方向的。
我还在同一幅图的有限空间里用朱红色的点标明了所有著名的活火山。让人非常惊奇的是,在标有浅蓝色和深蓝色的每片广大的下降区域里都没有活火山。同样让人惊奇的是,主要的火山脉与标有红色的地区是重合在一起的,于是我们得出结论:这些地区要么是长期保持稳定的地区,要么是更常见的近期上升的地区。尽管有少数红点与标有蓝色的单个圆环相距不太远,但是在离群岛甚至小环礁群几百、上千公里的范围内都没有一座活火山。因此,一件引人注目的事实就是:友谊群岛是由一群向上的、部分受到损毁的环礁所组成的,历史以来人们就知道它有两座、也许有更多座活火山。另一方面,尽管位于太平洋中的大多数由堡礁环绕的岛屿是由火山爆发而形成的,常常还能看到残余的火山口,但没有人知道它们过去曾经爆发过。因此,在这些情况下就会出现,在火山爆发以后,依据那里的上升运动或下沉运动所处的优势,它就在同一个地点熄灭了。无数的事实证明,只要那里有活火山,上升的有机残留物就普遍存在,但是在不能证明下降地区就没有火山或没有活火山之前我们就说火山的分布取决于地表的上升或下降这种推论,其本身有着冒险的成分。但我现在认为,我们可以放心地承认这种重要的推论了。
最后,我们再来看一看这幅图,并且回想一下有关有机体残留物上升的叙述。我们感到非常惊奇的是,在地质学上不太遥远的时期里发生的向上或向下的变化,其区域是如此的广大!它还会告诉我们,上升和下降运动几乎遵循着相同的规律。在整个散布着环礁的区域里,没有一个高地的峰顶会高于海平面,地质的下沉肯定是非常广泛的,而且这种下沉不管是持续的,还是周期性的,珊瑚都有足够长的时间再次把它们的生物建筑带到水面上来,当然,这个过程必然是极其缓慢的。这个结论也许是从研究珊瑚礁的形成而推理出来的最重要的一个结论——而且很难想象有谁能用别的方法推理出这个结论。尽管这样,我也不能忽视以前存在高耸的大群岛的可能性,虽然那里现在只有一些珊瑚岩圆环在打破浩瀚大海的一望无际的单调景色了,这样还能对大洋中相隔遥远的地势较高的岛上的生物分布提供一些线索。造礁珊瑚真正建筑和保存了海底上下振动的绝妙纪念碑。我们从每个堡礁上就能得出证明,它是这里陆地下沉的依据,而每座环礁也是已经消失的岛屿的纪念碑。因此,我们就像一个活了一万年的地质学家,保留着过去的地质变化记录,洞察这个大星球的某些玄机,体会着沧海桑田所带来的变化。

基林岛上的椰子蟹
[1]这些植物已在1838年版的《自然历史编年史》第一卷第337页中做了描述。
[2]霍尔曼的《旅行记》,第四卷,第378页。
[3]根据我们航行以来所发布的报告,尤其是根据参与调查的皇家海军成员沙利文(Sulivan)上校写的几封有趣的信件来看,我们似乎将这座群岛上的恶劣气候夸大其词了。但是当我回顾普遍覆盖着泥煤的地,还有根据这里的麦子基本长不熟的证据,我无法相信夏天的气候会如后来所述的那么怡人和干燥。 科茨布的《第一次航海记》,第三卷,第155页。
[4]13种昆虫属于下列的目——在鞘翅目中,有叩头虫;在直翅目中,有蟋蟀和蠊属;半翅目有一种;同翅目有两种;在脉翅目中,有草蛉;在膜翅目中,有两种蚂蚁;在鳞翅目中,有一种夜鸣虫,一种甘薯羽蛾;在双翅目中,有两个种类。
[5]这些寄居蟹的两个大螯往回抽的时候非常完美地适应贝壳的鳃盖,完美得就像这些壳本来就属于这种软体动物似的。我确信,以我的观察,我发现某些种类的寄居蟹总是使用某些种类的贝壳。
[6]“看到无数大小不一的石头,我们无不震惊。它们摆成一排一排,相互之间纵横交错,像是被人非常随意地堆放在山谷中一样,我们不得不佩服大自然的巨大影响力。”——佩尔内蒂,第526页。 参看《动物学会记录汇编》,1832年,第17页。
[7]一位居住在门多萨(Mendoza)、有良好的判断能力的居民向我保证,过去数年他都是住在这座群岛上的,没感受到过丝毫地震。 泰尔曼与贝内特的《航行记》等,第二卷,第33页。
[8]我在数白色的海兔(Doris)(这种海蛤蝓长81厘米)的卵时,很惊讶地发现它们数量繁多。2~5只卵(每只直径0.008厘米)装在一个小圆箱。把卵列出两列横队就可形成一条长带。长带成尖椭圆形,边缘紧紧挨着岩石。我见到的一条量得50厘米长、1.3厘米宽。通过等长的带子里有多少排,每排有多少颗,粗略计算得60万颗卵。这种海兔并不常见,虽然我经常翻弄石头,也只找到7只。博物学家常持有这样的谬论,单个物种的数量取决于繁殖力量。 这些观点最先是在1837年5月《地质学会》上发表的,随后在单行本《珊瑚礁的构造与分布》上得到了进一步的完善。
[9]莱尔先生非同寻常地在他的《地质学原理》第一版就推断道,在太平洋中陆地的沉降量肯定超过了上升的量,因为相对于形成陆地的媒介物,即珊瑚的生长和火山的活动,陆地的面积是很小的。
[10]我非常满意地在一位美国博物学家库图伊先生有关南极探险的书里发现了如下一段文字:“本人勘察了大量珊瑚岛,并且在拥有海岸和部分环礁的火山岛中驻扎了8个月之后,我得承认,我自己的观察使我更加深深地感到达尔文先生的理论是千真万确的。”不过,做这类探险的博物学家对于珊瑚岛的构造与我的某些观点并不相同。