九、制动系统

九、制动系统

驾驶人根据道路和交通情况,利用装在汽车上的一系列专门装置,迫使路面在汽车车轮上施加一定的与汽车行驶方向相反的外力,对汽车进行一定程度的强制制动。这种可控制的对汽车进行制动的外力称为制动力,用于产生制动力的一系列专门装置称为制动系统。

(1)制动系统的组成

1)供能装置:包括供给、调节制动所需能量以及改善传能介质状态的各种部件。其中产生制动能量的部分称为制动能源。人的肌体也可作为制动能源。

2)控制装置:包括产生制动动作和控制制动效果的各种部件,如制动踏板、制动阀等。

3)传动装置:包括将制动能量传输到制动器的各个部件,如快放阀和继动阀等。

4)制动器:产生制动摩擦转矩的部件。

5)附加装置:制动力调节装置(如ABS)、报警装置、压力保护装置等。

(2)制动系统的原理 由空气压缩机产生的压缩空气先进入干燥器,然后分四路分别进入后制动储气筒腔、前制动储气筒腔、驻车制动储气筒腔和辅助储气筒腔。后制动储气筒腔和前制动储气筒腔的压缩空气分别由管路输向行车制动阀的上下腔,当踩下行车制动踏板时,再分别由管路输送到后继动阀和前快放阀。后继动阀打开控制气路,使后轮产生制动作用。前快放阀直接使前轮产生制动作用。松开制动踏板后,后制动储气筒腔与后继动阀的通路关闭,继动阀断开后制动气路,解除后制动。前制动储气筒腔与前快放阀之间的通路关闭,快放阀断开前制动气路后制动气室,解除前制动。前、后制动气路中的压缩气体分别从快放阀和继动阀快速释放。驻车制动储气筒腔的压缩空气由管路输送到驻车制动阀,并连接差动继动阀作用于后制动气室,整车后制动系统处于完全解除制动状态。当驻车制动阀切断气路后,整车后制动处于完全制动状态。辅助储气筒腔的气路分别连接到离合器助力泵、门泵、气喇叭、气囊等辅助气路。连接到气囊的气路需经高度阀控制。

1.结构概述

制动系统采用活塞式空气压缩机对系统进行充气,由压力调节器以及各种阀件和管路元件对气流进行控制,采用空气压力表和空气压力报警开关指示系统压力状况并在气压过低时进行声光报警。

为确保制动装置的可靠性,制动系统采用前轮和后轮相对独立的双管路系统,由制动总阀对气流进行控制。即使某一回路破损,另一回路还可以完成一定的制动效能,不至于整个制动效能丧失。每一回路由各种阀和制动气室(每车轮一个)组成,均有独立的指示灯及仪表。

行车制动时,通过踩踏制动总阀,管路气压使车轮上的制动气室挺杆驱动压力臂,将制动钳压紧制动盘,产生摩擦制动力,达到减速目的。驻车制动时,通过操控驻车制动阀,将后制动气室的空气放空,依靠弹簧制动器的弹簧弹力驱动压力臂,达到驻车制动的目的。同时,在整车气压未达到条件要求时,气压不足以克服弹簧制动力,汽车无法顺利起步行驶,起到安全保护作用。

为了提高行车制动系统的制动效能和制动过程的整车稳定性,系统中装有制动防抱死装置(ABS),并装有电涡流缓速器,以提高制动系统的可靠性。

2.供能装置

气压制动系统的供能装置包括:

1)产生气压能的空气压缩机和积储气压能的储气筒。

2)将气压限制在安全范围内的调压阀及安全阀。

3)改善传能介质(空气)状态的油水分离器、空气干燥器、防冻器等。

4)在一个制动回路失效时用以保护其余回路,使其中气压能不受损失的多回路压力保护阀。

(1)空气压缩机 如图3-29所示为风冷单缸空气压缩机,由发动机齿轮驱动,配装有进气阀和排气阀等。发动机运转时,空气压缩机随之运转。当活塞下行时,气缸内产生负压,进气阀打开,空气进入气缸;当活塞上行时,缸内空气即被压缩,关闭进气阀,压力继续升高,克服排气阀弹簧的预紧力,把排气阀打开,压缩空气经管道进入空气干燥器,继而经四回路保护阀进入储气筒。当空气压力超过规定压力后,由干燥器的控制口导入到调压阀控制压力输入口的空气压力可以克服卸载阀弹簧的预紧力,将卸载阀打开,同时保持进气阀的开启状态。这时,空气压缩机虽然仍在旋转,但不压缩空气了,处于空载运转状态。当空气压力降低到规定压力以下,则气压调节器再次工作,排出卸载阀上部的压缩空气,使卸载阀复位,空气压缩机又可产生压缩空气。

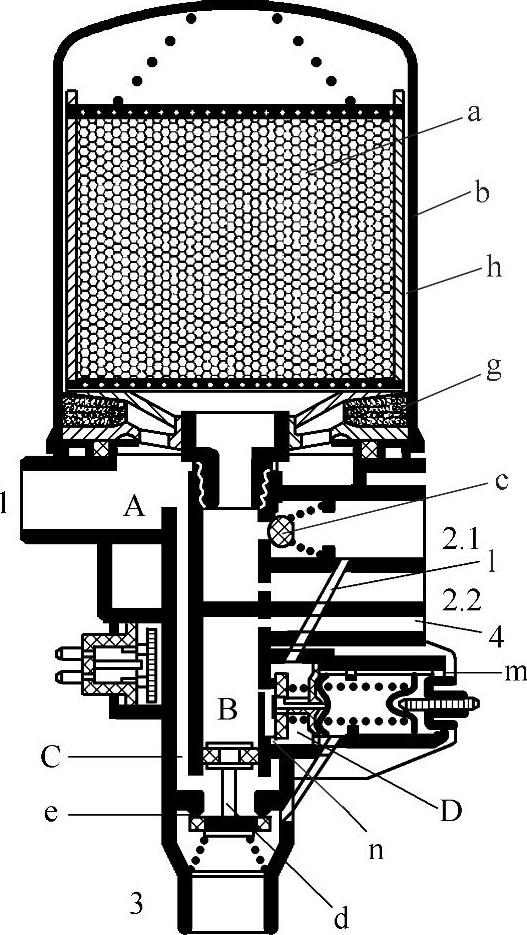
(2)空气干燥器 来自空气压缩机的压缩空气中含有水分,它冷凝后能造成锈蚀并使润滑膜失效,在气温较低时,还有使制动管路被冰堵的危险。空气干燥器利用分子筛除去压缩空气中的水分,保证整个装置不会结冰,延长制动机构的使用寿命,减少维护次数,提高可靠性。空气干燥器结构原理如图3-30所示。

在行驶过程中,由空气压缩机输出压缩空气经接口1进入A室,此时,由于气温下降,会产生冷凝水,冷凝水经通道C从排气阀门e排出。

978-7-111-43435-1-Chapter03-100.jpg

图3-29 风冷单缸空气压缩机

压缩空气流经位于干燥滤筒的细滤器g并通过环形通路h达到干燥滤筒b的上部。当空气流经干燥剂a时水分被干燥剂a吸附并滞流其表面上,干燥后的空气经单向阀门c和2.1口流到储气筒以及与储气筒相连的制动装置,同时,干燥后的空气经2.2口流到再生罐。

当系统达到切断压力时,来自2.1口的压缩空气经斜孔I进入D室,并作用在膜片m上,当压力超过弹簧预压力时,进气门n打开,气压作用在活塞d上,使其向下移动,打开排气阀门e,来自空气压缩机的压缩空气经接口1、通道C和排气阀e从干燥器口3排出。

同时,来自再生罐的压缩空气经2.2口流向干燥滤筒的下端,膨胀的压缩空气自下而上流经滤筒b时压缩空气将留在干燥剂a表层的水分吸走并经通道C和排气阀门e从排气口3排出。

当调压阀达到接通压力时,排气阀门e关闭,整个干燥过程又开始。

选装的加热器可防止活塞d等结构元件被冻住,从而能避免工作故障发生。

(3)四回路保护阀 四回路保护阀用于多回路气制动系统,其中一个回路失效时,该阀能够使其他回路的充气和供气不受影响。

978-7-111-43435-1-Chapter03-101.jpg

图3-30 空气干燥器

1—输入口(接空气压缩机) 2.1—输出口(接四回路保护阀) 2.2—输出口(接再生罐) 3—排气口 4—控制口(接空气压缩机卸荷阀)

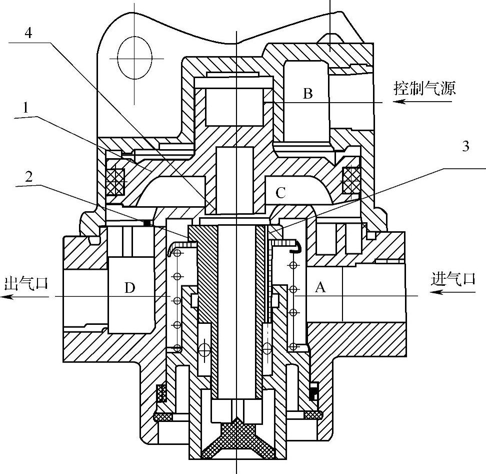
四回路保护阀工作原理如图3-31所示。气压从1口进入,同时达到a、d腔和b、c腔。当达到阀门开启压力时,阀门s、p、g、k被打开,压缩空气经2.1、2.3、2.2、2.4口输出。当某一回路例如2.1回路失效,由于阀门p、g、k的单向作用,保证2.3、2.2、2.4回路的气压不至经2.1口泄漏掉。同时2.2、2.3、2.4的气压作用在膜片f、o、l的下部,使得1口来的气压容易将阀门p、g、k打开继续向2.3、2.2、2.4回路供气。当充气压力达到或超过阀门s的开启压力670~700kPa时,气压才从损坏的2.1回路中泄漏,而尚未失效的其他回路中的压力仍得到保证。四回路压力保护阀,它能在任一回路损坏漏气时,保证其他三个回路能以稍低的压力正常工作。

3.控制和传动装置

(1)气制动阀 气制动阀是气压行车制动系统中的主要控制装置,用以起随动作用并保证有足够强的踏板感,即在输入压力一定的情况下,使其输出压力与输入的控制信号——踏板行程和踏板力有一定的递增函数关系,其输出压力的变化在一定范围内应该是渐进的。气制动阀输出压力可以作为促动管路压力直接输入到作为传动装置的制动气室,但必要时也可作为控制信号输入到另一控制装置(如继动阀)。

气制动阀工作原理如图3-32所示。气制动阀为双腔串联活塞式结构,上、下腔分别向后制动气室和前制动气室提供基本相同的控制气压,由驾驶人直接控制,用于行车制动。当一腔的供气源被切断或它控制的工作管路损坏时,另一腔仍能照常工作,且输出特性不变,因此大大提高了行车的安全性。

978-7-111-43435-1-Chapter03-102.jpg

图3-31 四回路保护阀工作原理 1—进气口 2.1、2.2、2.3、2.4—出气口

978-7-111-43435-1-Chapter03-103.jpg

图3-32 气制动阀工作原理

1.1—接后左储气筒(后制动气路) 1.2—接后右储气筒(前制动气路) 2.1—接后继动阀(后制动气路) 2.2—接前快放阀(前制动气路)3—排气口

当踩下制动踏板m时,压下挺杆k,使平衡弹簧b及活塞c向下移动,消除排气间隙d[(1.2±0.2)mm]后推开上阀门e,此时从后左储气筒来的压缩空气进入1.1口,经上阀门e与上阀体的进气间隙j进入A腔,随后从2.1口输送到后制动管路的继动阀,继动阀打开后制动气路,使后轮产生制动作用。

与此同时,A腔压缩空气通过通气孔D作用在中活塞f上方,使中活塞下移而将下阀门g打开,此时,从后右储气筒来的压缩空气进入1.2口,经下阀门g与下阀体之间的间隙进入C腔,并输送到前快放阀和制动气室,使前轮制动。

松开制动踏板时,受平衡弹簧b及活塞回位弹簧n的作用,活塞向上移动,上阀门e随之向上移动,将后左储气筒与后继动阀的通路关闭,继动阀断开后制动气路。活塞c继续上移,与上阀门e上端形成排气间隙,后制动控制管路压缩气体经A腔及排气间隙,再经排气口排入大气,继动阀关闭后制动气路,后制动气室和后制动气路压缩气体从继动阀快速释放,解除后制动。同时,中活塞f受C腔压缩空气的作用上移,下阀门g随之上移,将后右气筒与前快放阀之间的通路关闭,快放阀断开前制动气路,中活塞f继续上移,与下阀门g上端形成排气间隙h,前制动室的压缩空气经C腔及排气间隙h,再经排气口3排入大气,解除前制动。

当后制动回路失效时,阀门总成e推动活塞f向下移动,关闭排气门h,打开进气门g,使前制动回路正常工作。当前制动回路失效时,不影响后制动回路正常工作。

(2)手控制动阀 手控制动阀可以控制汽车的驻车制动和挂车的驻车制动。因为对驻车制动没有渐进控制的要求,所以控制驻车制动的手控制动阀实际上是一个气开关,用于操纵具有弹簧制动的客车的紧急制动和停车制动。在行车位置至停车位置之间,操纵手柄能自动回到行车位置,处于停车位置时能够锁止。

手控制动阀工作原理如图3-33所示,当手柄处于0°~10°时进气阀门m全开,排气阀门n关闭,气压从1.1口进,从2.1口输出,整个车辆后制动系统处于完全解除制动状态;当手柄处于10°~55°时,在平衡活塞b和平衡弹簧g的作用下,2.1口压力随手柄转角的增加而呈线性下降至零;当手柄处在紧急制动止推点时,整个车辆处于完全制动状态。当手柄处在73°时手柄被锁止,整个车辆完全处于全制动状态。

(3)快放阀 快放阀的作用是保证解除制动时制动气室快速放气。快放阀布置在制动阀与制动气室之间的管路上,靠近制动气室,由于离制动气室近,制动气室排气所经过的回路短,放气速度较快。图3-34所示为快放阀工作原理,其状态是进气口关闭,排气口开启。

978-7-111-43435-1-Chapter03-104.jpg

图3-33 手控制动阀工作原理

978-7-111-43435-1-Chapter03-105.jpg

图3-34 快放阀工作原理

1—上阀体 2—O形密封圈 3—膜片 4—下阀体

气路中没有压力时,膜片3在本身弹力的作用下,使进气口和排气口都处于关闭状态。制动时从制动阀来的压缩空气自进气口进入,将膜片3下推,脱离进气口,而将排气阀口密封,压缩空气经A腔由两个出气口进入两个制动气室;解除制动时,进气口压力下降,膜片3在气室压力的作用下,关闭进气口,使制动气室的压缩空气经排气口排出,由于排气管路短,就大大减少了排气时间。

(4)继动阀 继动阀的作用是使压缩空气不流经制动阀,而是通过继动阀直接充入制动气室,以缩短供气路线,减少制动滞后时间。在图3-35所示的状态下,阀门既靠在阀体的阀座上,又靠在芯管上,进气阀和排气阀都是关闭的。

汽车正常行驶时,从储气筒来的压缩空气进入A室,使进气阀门3关闭,排气阀门4开启,与制动气室相连的D室通大气。

当踏下制动踏板后,由制动阀上腔来的压缩空气经由B口进入,推动活塞1向下移动,将进气阀2打开,使来自储气筒的压缩空气经A腔进入C腔,然后又进入D腔至制动气室。在达到平衡时,进、排气阀门同时关闭。

当松去制动踏板时,B口的气压降低,在C腔气压的作用下推动活塞1上行,此时在弹簧的作用下进气阀2将进气门关闭(即A腔与C腔隔开),而由制动气室来的压缩空气经D、C腔后从进排气阀门的阀芯中快速排出。

(5)梭阀(双向阀) 梭阀的特点是双腔制动阀的两腔都可以通过梭阀向制动阀输入控制气压,保证在汽车两制动回路之一损坏时,制动阀仍然可以接到制动控制信号。

梭阀在结构上相当于两个单向阀组合,其工作原理如图3-36所示。当控制口P1进气时,阀芯将P2切断,P1A相通;当P2进气时,阀芯将P1切断,P2A相通。若P1P2口都有压力信号输入时,阀芯可能停在左边或右边,这决定于压力加入的先后顺序和压力大小。若两边压力不等,则高压口的通路开放,低压口的通路被关断。

978-7-111-43435-1-Chapter03-106.jpg

图3-35 继动阀工作原理

1—活塞 2—进气阀 3—进气阀门 4—排气阀门

978-7-111-43435-1-Chapter03-107.jpg

图3-36 梭阀工作原理

a)控制口P1进气状态b)控制口P2进气状态c)图形符号

4.制动气室

制动气室的作用是将气压能转换成机械能输出,输出的机械能传给促动装置,使制动器产生制动转矩。

制动气室工作原理如图3-37所示。行车制动时,通过气制动阀控制打开继动阀通路,从右后储气筒的压缩空气经过继动阀、ABS电磁阀,经过1.1口进入A腔,作用在膜片d上,并压缩弹簧c将活塞e推出,作用在膜片d上的力通过推杆b作用在制动臂上,对车轮产生制动转矩。

停车制动及辅助制动时,手制动阀使B腔的压缩空气经接口1.2和快放阀完全或部分地释放出去,弹簧f也随之完全或部分释放能量,通过活塞e,推杆b以及制动臂,在车轮上产生制动转矩。

拧松螺栓g可将停车制动部分机械放松,用于在无压缩空气的情况下,手动解除制动。

978-7-111-43435-1-Chapter03-108.jpg

图3-37 制动气室工作原理

5.制动力调节装置

汽车制动过程中,从提高汽车制动时的安全性考虑,应尽可能充分地利用附着条件,产生尽可能大的制动力,最好是前、后轮同时不抱死滑移。因为一旦车轮抱死,不仅使制动效能变差,汽车还可能或失去转向能力(前轮先抱死),或丧失行驶稳定性(后轮先抱死)。ABS(防抱死制动系统)是提高制动性能的最佳手段。

(1)原理概述 汽车车轮的运动可以划分为三个状况:纯滚动、边滚边滑、完全拖滑。一般用滑移率S表征滑动成分在车轮纵向运动中所占的比例,而车轮与路面的纵向附着系数ΦZ和侧向附着系数ΦC随滑移率S的变化是与车轮的运动状况紧密相关的,如图3-38所示。

1)当轮胎纯滚动时,纵向附着系数ΦZ为零。

2)当滑移率S为10%~20%时,纵向附着系数ΦZ达峰值。

3)当滑移率S继续增大,纵向附着系数ΦZ持续下降;侧向附着系数ΦC从开始就持续下降。

978-7-111-43435-1-Chapter03-109.jpg

图3-38 滑移率与附着系数的关系Ⅰ

4)当滑移率S为100%,车轮抱死,ΦZ降到较低点;侧向附着系数ΦC则几乎为零。

可见,当滑移率处于15%~35%的范围内时,纵向附着系数ΦZ和侧向附着系数ΦC的值都较大。纵向附着系数大,可以产生较大的制动力,保证汽车制动距离较短;侧向附着系数大,可以产生较大的侧向力,保证汽车制动时的方向稳定性,这就是ABS工作的基本原理。

ABS是在汽车制动状态下,将所有车轮滑移率控制在8%~35%的最佳范围内,如图3-39所示。在上述最佳范围内,不仅车轮和地面之间的纵向附着系数较大,而且侧向附着系数的值也较大,保证了汽车的方向稳定性。

(2)ABS的组成和工作原理

1)ABS组成。制动防抱死系统主要由轮速传感器、制动压力调节器和电子控制器(ECU)等组成。

2)ABS工作原理。ABS工作原理如图3-40所示。汽车制动时,首先由轮速传感器测出与制动车轮转速成正比的交流电压信号,并将该电压信号送入电子控制器(ECU)。由ECU中的运算单元计算出车轮速度、滑动率及车轮的加、减速度,然后再由ECU中的控制单元对这些信号加以分析比较,再向压力调节器发出制动压力控制指令。压力调节器中的电磁阀等直接或间接地控制制动压力的增减,以调节制动转矩,使之与地面附着状况相适应,防止制动车轮被抱死。

978-7-111-43435-1-Chapter03-110.jpg

图3-39 滑移率与附着系数的关系Ⅱ

(3)主要部件

1)车轮转速传感器。汽车制动防抱死系统中都设置有电磁感应式轮速传感器,其工作原理如图3-41所示。它可以安装在车轮上,也可以安装在主减速器或变速器中。轮速传感器由永久磁铁、磁极、线圈和齿圈等组成。齿圈在磁场中旋转时,齿圈齿顶和磁极之间的间隙以一定的速度变化,使磁路中的磁阻发生变化,磁通量周期地增减,在线圈的两端产生正比于磁通量增减速度的感应电压,该交流电压信号输送给电子控制器。

978-7-111-43435-1-Chapter03-111.jpg

图3-40 ABS工作原理

978-7-111-43435-1-Chapter03-112.jpg

图3-41 车轮转速传感器

2)电子控制器(ECU)。电子控制器(ECU)是汽车制动防抱死系统的控制中枢,其作用是接收来自轮速传感器的感应电压信号,计算出车轮速度,并与参考车速进行比较,得出滑动率S及加减速度,并将这些信号加以分析,对制动压力调节器发出控制指令。

3)制动压力调节器。制动压力调节器的功用是接收来自ECU的控制指令,控制制动压力的增减,是ABS的执行器。调节器直接装在汽车原有的制动管路中,通过串联在制动总阀和制动气室之间的三位三通电磁阀直接控制制动气室的压力,可以使制动气室的工作处于常规工作状态、增压状态、减压状态或保压状态。三位是指电磁阀有三个不同位置,分别控制制动气室制动压力的增、减或保压,三通是指电磁阀上有3个通道,分别通制动总阀、制动气室和储气筒。

6.气压制动回路

气压制动系统各元件之间的连接管路有3种:

1)供能管路:供能装置各组成件(如空气压缩机、储气筒)之间和供能装置与控制装置(如制动阀)之间的连接管路。

2)执行管路:控制装置与制动器执行装置(如制动气室)之间的连接管路。

3)操纵管路:一个控制装置与另一个控制装置之间的连接管路。

7.常见故障分析及处理措施

1)制动力不足的故障原因及处理措施见表3-63。

表3-63 制动力不足的故障原因及处理措施

978-7-111-43435-1-Chapter03-113.jpg

2)制动跑偏或不稳定的故障原因及处理措施见表3-64。

表3-64 制动跑偏或不稳定的故障原因及处理措施

978-7-111-43435-1-Chapter03-114.jpg

3)制动阻滞或制动不能解除的故障原因及处理措施见表3-65。

表3-65 制动阻滞或制动不能解除的故障原因及处理措施

978-7-111-43435-1-Chapter03-115.jpg

4)制动器发出刺耳声的故障原因及处理措施见表3-66。

表3-66 制动器发出刺耳声的故障原因及处理措施

978-7-111-43435-1-Chapter03-116.jpg

5)制动冒烟的故障原因及处理措施见表3-67。

表3-67 制动冒烟的故障原因及处理措施

978-7-111-43435-1-Chapter03-117.jpg

8.制动间隙自动调整臂

制动间隙自动调整臂的功能是用来补偿因制动过程中制动蹄片的正常磨损而产生的间隙。在制动时,制动间隙自动调整臂旋转,同时带动制动器的凸轮轴转动,制动凸轮轴则驱动制动蹄与制动鼓接触,实现制动。在制动器结合和释放过程中,制动间隙自动调整臂的作用机理就是有效地转动凸轮轴用来保证制动蹄与制动鼓之间的间隙。

制动间隙自动调整臂是一种间隙感应调节装置,它可以使制动鼓与制动蹄片之间保持一个合适的间隙。齿条上间隙槽的间隙是与正常的制动鼓与制动蹄片间隙相对应的,如图3-42所示。

当制动器结合时:齿条向上移动,驱动棘轮。单向棘轮的设置允许齿条向上移动。制动时传递过来的转矩驱动蜗杆轴压缩弹簧,同时,蜗杆轴的移动释放其左端的锥形棘轮。

当制动器释放时:弹簧反作用于蜗杆轴,使蜗杆轴与锥形棘轮相啮合;齿条被推回到间隙槽上的初始位置;蹄片的磨损将引起齿条移动,棘轮锁止,然后通过锁止了的锥形棘轮转动蜗杆轴;蜗杆轴驱动蜗轮和凸轮轴来调整制动器。

制动间隙自动调整臂分解结构如图3-43所示。

978-7-111-43435-1-Chapter03-118.jpg

图3-42 制动间隙自动调整臂

978-7-111-43435-1-Chapter03-119.jpg

图3-43 制动间隙自动调整臂分解结构图

1—后护圈 2、10、14、15—弹簧 3—止推垫圈 4—壳体 5—轴套 6—蜗轮轴 7、18、20—O形圈 8—轴承 9—传动齿轮 11—内盖 12—推力轴承 13—前护圈 16、24—栓塞 17—齿条 19—蜗轮 21—垫圈 22—支架 23—润滑脂嘴 25—固定螺钉 26—螺塞

制动间隙自动调整臂日常使用和维护事项如下。

(1)常规维护

1)每2×104km应对调整臂加注锂基润滑脂一次。

2)每2×104km逆时针转动调整臂的蜗杆六方头,测量制动分离转矩,重复测量三次,正常情况下制动分离转矩≥18N·m。若测量转矩<18N·m,则表明调整臂已失效,应及时更换调整臂总成。

(2)常规检查

1)检查自动调整臂和固定支架是否损坏,检查固定支架是否紧固,控制臂是否处于完全释放状态。

在制动器处于释放状态时,制动间隙指示器应对准凹口位置。制动间隙自动调整臂本身并不能保证合适的制动调节和制动平衡。制动器的一些基本部件直接影响到制动器的调节装置,因此还必须定期对其进行检查。同一台车必须使用同一品牌的制动间隙自动调整臂,严禁混用不同品牌的制动间隙自动调整臂。

2)制动气室。检查制动气室安装是否牢靠和平齐,避免气室推杆与气室壳体之间相互干涉。检查同一轴上的两个气室的推杆长度是否一致。

3)凸轮轴衬套。磨损的S形凸轮轴衬套会增加推杆的行程。每次换制动蹄片时应及时更换已经磨损的衬套。

4)车轮轴承的调节。精确调节车轮轴承预紧力很有必要,它可以用来保证制动蹄与制动鼓之间相互对齐。

(3)操作检查

1)在制动气室完全缩回状态下检测推杆的长度,即从气室的表面到推杆U形夹销中心线的距离,记为距离A

2)对制动器进行800kPa的制动操作后,再次测量推杆的长度,记为距离C

3)把距离C减去距离A,其差值为使用行程。

4)确保使用行程的值低于规定的最大值。如果不能达到规定的使用行程,必须予以更换。

5)确保自动调整臂的控制臂安装正确。