七、转向系统

七、转向系统

1.转向系统结构

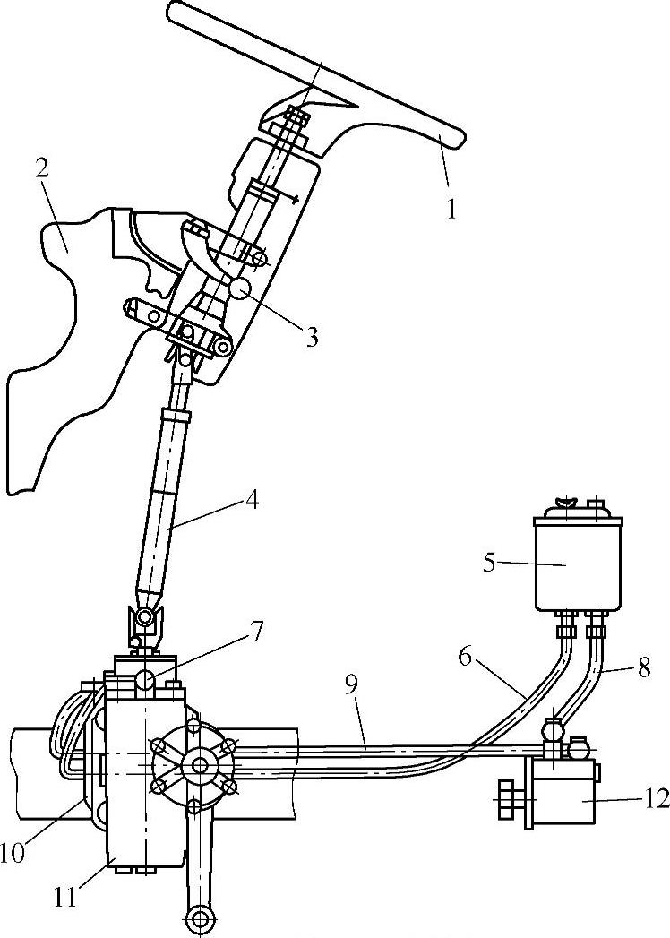
转向系统由转向机构和助力系统两大部分组成,如图6-3所示。转向机构包括动力转向器、转向万向节(带滑动叉总成)、转向传动轴、转向万向节叉总成、转向管柱与转向轴总成和转向盘组成;助力系统包括动力转向泵、管路、转向油罐等。

978-7-111-43435-1-Chapter06-19.jpg

图6-3 转向系统结构

1—转向盘 2—转向柱管支架 3—转向盘锁紧手柄 4—转向传动机构 5—转向油罐 6—回油管 7—回油口接头 8—进油管 9—高压管 10—转向器支架 11—转向器 12—转向泵

2.使用与维护

1)汽车每行驶1500~2000km,检查转向机构固定螺栓及螺母,并按规定转矩拧紧。

2)润滑滑动叉花键,润滑十字轴滚子轴承。

3)汽车每行驶6000~8000km,除进行以上维护外,还应进行下列项目:

①更换动力转向油罐内的油液。

②转向盘可前后调节5°,上下高度调节50mm,调整好后,必须锁紧手柄螺母。

③检查转向盘的自由转动量,如超过15°,应重新调整。

4)汽车每行驶45000km,将转向机构解体,清洗检查,重新装配。

5)检查转向轴径向间隙,间隙过大应更换转向柱管内的衬套或球轴承;间隙不大则清洗掉球轴承内的旧润滑脂,重新润滑。

6)检查十字轴轴颈及滚子轴承,如磨损严重或损坏应更换。

7)装复转向机构时,注意转向节叉和滑动叉上的标记对准转向轴上的标记,保证万向节和滑动叉在同一平面上。

如果转向系统出现故障,先检查、排除机械故障,然后检查、排除液压系统故障。

3.动力转向器

采用沙市久隆BJ40Z1010型动力转向器。

(1)基本参数 动力转向器基本参数见表6-10。

表6-10 动力转向器基本参数

978-7-111-43435-1-Chapter06-20.jpg

(2)使用与维护

1)行车安全注意事项。行车前检查转向液压系统有无渗漏油,油罐内液面高度是否符合要求。检查所有紧固件有无松动,如有松动,按规定转矩拧紧。动力转向器紧固件拧紧转矩见表6-11。

表6-11 动力转向器紧固件拧紧转矩

978-7-111-43435-1-Chapter06-21.jpg

车辆行驶中转向系统如有故障,要及时排除。一旦转向液压系统出现故障,如转向泵停止工作、系统缺油等,也不必惊慌,依靠转向机械传动部分仍可实施转向,低速驾驶车辆安全返回进行维修。下长坡时,若关停发动机车辆滑行,由于液压系统停止工作,转向操纵力会突然增大,容易因不适应而出现危险,所以发动机应怠速运转为宜。

2)换油操作程序。

①排油。车辆停放在平坦、干燥的地面上,变速器置空档,使用驻车制动,阻塞后轮,前轴用千斤顶支起至轮胎离地,转向器下面放接油盘。

转向器及进出油管接头处用干净抹布擦净,拧开出油管,并反复转动转向盘至极限位置,作3个以上循环,排除转向器内的油液,然后连接进出油管并紧固。

用干净抹布擦净转向油罐盖及其周围,取下油罐盖,卸下滤清器,用洁净的新抹布把油罐内擦净,然后按油罐使用说明安装一个新的滤清器。油罐盖去掉旧垫圈,清洗干净,用干净抹布擦干净,换上新垫圈,待加完油后再装到油罐上。

②加油。向转向油罐内加油至标记,起动发动机怠速运转,检查油罐内液面,不足时补充。将转向盘分别从左、右打至极限位置,反复数次,再检查油罐内液面,如不足再添加。

发动机连续高速运转10min后,转向泵应能正常工作,转向液压系统应无渗漏油。再反复将发动机高速运转若干次,检查确认全系统无漏油、无渗油,然后松开千斤顶,使前轴轮胎落地。

本车适宜用8#转向液压油。在发动机起动之前,要加足转向液压油,否则会损坏转向泵。

③排气。液压系统内若有空气,会严重影响系统正常工作,加油或换油后都需进行排气。从摆臂上脱开转向直拉杆,发动机以快速、怠速运行,从左至右打方向至极限位置,再返回至左极限位置为一个循环,做三个以上循环。若转向油罐内液面下降,则加足油,然后连接摆臂和直拉杆,并锁好球头销。