5.1.1 楼梯构件钢筋平法标注识读

5.1.1 楼梯构件钢筋平法标注识读

楼梯构件的平法表达方式有平面注写方式、剖面注写方式和列表注写方式3种。

1)楼梯构件平面注写方式

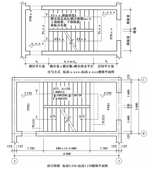
平面注写方式,是以在楼梯平面布置图上注写截面尺寸和配筋具体数值的方式来表达施工图,包括集中标注和外围标注。

(1)集中标注

楼梯集中标注的内容有5项,具体规定如下:

①梯板类型代号与序号,如AT××。

②梯板厚度,注写为h=×××。当为带平板的梯板且梯段板厚度和平板厚度不同时,可在梯段板厚度后面括号内以字母P打头注写平板厚度。

【例5.1】 h=120(P140),120表示梯段板的厚度,140表示梯板平板段的厚度。

③踏步段总高度和踏步级数之间以“/”分隔。

④梯板支座上部纵筋和下部纵筋之间以“;”隔开。

⑤梯板分布筋,以F打头注写分布筋具体值,该项也可在图中统一说明。

(2)外围标注

楼梯外围标注的内容包括楼梯间的平面尺寸、楼层结构标高、层间结构标高、楼梯的上下方向、梯板的平面几何尺寸、平台板配筋、梯梁及梯柱配筋等。

楼梯平面注写方式示例,见图5.1。

图5.1 楼梯平面注写方式示例

2)楼梯剖面注写方式

剖面注写方式需在楼梯平法施工图中绘制楼梯平面布置图和楼梯剖面图,注写方式包括平面注写和剖面注写两部分。

①楼梯平面布置图注写内容包括楼梯间的平面尺寸、楼层结构标高、层间结构标高、楼梯的上下方向、梯板的平面几何尺寸、梯板类型及编号、平台板配筋、梯梁及梯柱配筋。

②楼梯剖面图注写内容包括梯板集中标注、梯梁梯柱编号、梯板水平及竖向尺寸、楼层结构标高、层间结构标高等。

③梯板集中标注的内容有4项,具体规定如下:

a.梯板类型及编号,如AT××。

b.梯板厚度,注写为h=×××。当梯板有踏步段和平台构成,且踏步段梯板厚度与平板厚度不同时,可在梯板厚度后面括号内以字母P打头注写平板厚度。

c.梯板配筋。注明梯板上部纵筋和梯板下部纵筋,用分号“;”将上部与下部纵筋的值分隔开来。

d.梯板分布筋,以F打头注写分布钢筋具体值,该项也可以在图中统一说明。

【例5.2】 剖面图中梯板配筋完整的标注如下:

AT1,h=120 梯板类型及编号,梯板厚度

10@200;412@150 上部纵筋;下部纵筋

F8@250 梯板分布筋(可统一说明)

3)楼梯列表注写方式

列表注写方式是采用列表注写梯板截面尺寸和配筋具体数值来表达楼梯施工图的一种表达方式。

列表注写方式的具体要求同剖面注写方式,仅将剖面注写方式中的梯板配筋集中标注项改为列表注写项即可。梯板列表格式见表5.2。

表5.2 梯板几何尺寸和配筋(示意)