导文网
搜索
首页>
图书频道>
艺术>
建筑雕塑
10.1 钢结构柱构件工程量计算
2025年10月13日
版权
10.1 钢结构柱构件工程量计算
1)计算条件(图10.1~10.5)
图10.1 某钢结构工程材料表
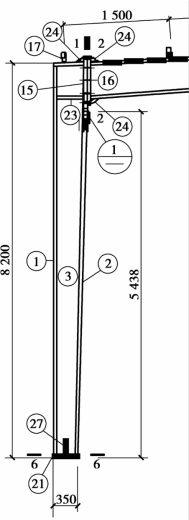
图10.2 某钢结构工程GJ-1柱部分立面图
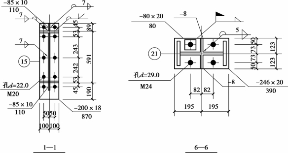
图10.3 某钢结构工程GJ-1柱部分剖面图
2)计算过程
表10.2 计算过程
上一章
下一章
目录