7.1.2 梁板式筏形基础钢筋平法标注识读

7.1.2 梁板式筏形基础钢筋平法标注识读

基础主/次梁的平法表达方式见图7.2。

图7.2 基础主/次梁平法表达方式

1)集中标注

基础主/次梁集中标注包括编号、截面尺寸、箍筋、底部及顶部贯通纵筋等几项内容,如图7.3所示。

图7.3 基础主/次梁集中标注

图7.4 基础主/次梁编号平法标注

(1)基础主/梁编号识图

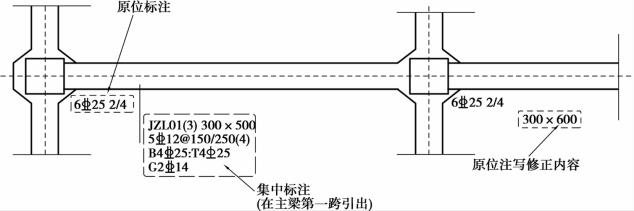
基础梁集中标注的第一项必注内容是基础梁编号,由代号、序号、跨数及是否有外伸3项组成(图7.4),具体表示方法见表7.3。

表7.3 基础梁编号识图

基础主/次梁编号识图实例,见表7.4。

表7.4 基础主/次梁编号识图实例

(2)基础主/次梁截面尺寸识图

基础主/次梁截面尺寸用b×h表示梁截面宽度和高度,当为加腋梁时,用b×h Yc1×c2表示,分别见图7.5和图7.6。

图7.5 基础主/次梁截面尺寸

图7.6 基础主/次梁截面尺寸(加腋)

(3)基础主/次梁箍筋识图

基础主/次梁箍筋表示方法的平法识图,见表7.5。

表7.5 基础主/次梁箍筋识图

(4)底部及顶部贯通纵筋识图

基础主/次梁底部以字母“B”打头,顶部贯通纵筋以字母“T”打头,具体表示方法的平法识图见表7.6。

表7.6 基础主/次梁底部及顶部贯通纵筋识图

(5)侧部构造钢筋

以大写字母“G”打头,注写梁两侧面设置的纵向构造钢筋总配筋值,见表7.7。侧部纵向构造钢筋的拉筋不进行标注,按构造要求(对基础梁侧部纵向构造筋的拉筋构造要求为:直径8mm,间距是箍筋间距的两倍)进行配置即可。

表7.7 基础主/梁侧部构造钢筋识图

(6)梁底面标高高差

注写基础主/次梁底面相对于筏形基础平板底面的标高高差。该项为选注值,有标高差时注写(表7.8)。

表7.8 基础主/次梁底面标高高差识图

2)原位标注

(1)基础主/次梁端(支座)区域底部全部纵筋

基础主/次梁端(支座)区域底部全部纵筋,是指标注该位置的所有纵筋,包括集中标注的底部贯通纵筋(图7.7)。要理解原位标注的纵筋与集中标注的纵筋的关系。

图7.7 认识基础主/次梁端部(支座)区域底部全部纵筋

基础主/次梁端部(支座)区域原位标注的识图,见表7.9。

表7.9 基础主/次梁端部(支座)区域原位标注识图

续表

(2)附加箍筋或吊筋

基础主、次梁交叉位置,基础次梁支撑在基础主梁上。因此,应在基础主梁上配置附加箍筋或附加吊筋。平法标注是直接在平面图相应位置引注总配筋值。

①附加箍筋的平法标注见图7.8。表示每边各加4根附加箍筋,共8根,4肢箍。附加箍筋的间距,以及与基础主/次梁本身的箍筋的关系,详见7.2节钢筋构造。

图7.8 基础主/次梁附加箍筋平法标注

②附加吊筋的平法标注,见图7.9。

图7.9 基础主/次梁附加吊筋平法标注

(3)外伸部位的变截面高度尺寸

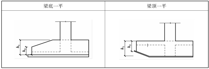
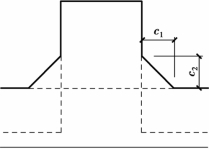
基础主/次梁外伸部位如果有变截面,变截面高度尺寸在外伸端原位标注,标注方式为b×h1/h2(图7.10)。

图7.10 基础主/次梁外伸部位变截面高度尺寸

基础主/次梁外伸部位变截面尽端高度值有两种情况(表7.10),实际施工图中,应绘制相应的剖面图,以表达出是哪种情况。

表7.10 基础主/次梁外伸部位尽端尺寸的两种情况

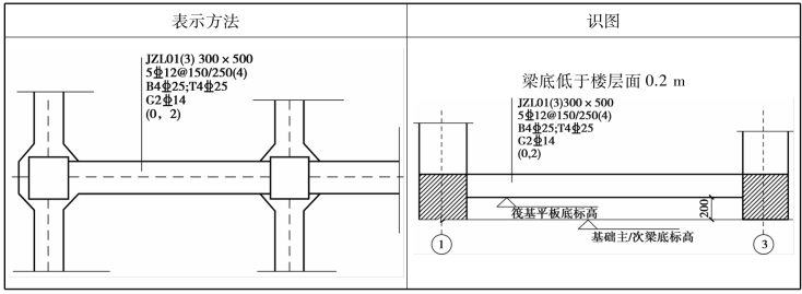
(4)原位标注修正内容

当在基础梁上集中标注的内容不适用于某跨或某外伸部位时,将其修正内容原位标注在该跨或该外伸部位(图7.11)。图中JZL01集中标注的截面尺寸为300mm×700mm,第3跨原位标注为300mm×500mm,表示第3跨发生了截面变化。

图7.11 原位标注修正内容

3)梁板式筏形基础平板平法标识

梁板式筏形基础平板LPB的平面注写,分板底部及顶部贯通纵筋的集中标注与板底附加非贯通纵筋的原位标注。当仅设贯通纵筋而未设置附加非贯通纵筋时,则仅集中标注。

(1)梁板式筏形基础平板平法标注

梁板式筏形基础平板的平法标注方式如图7.12所示,识图要点为:

图7.12 梁板式筏形基础平板集中标注示意图

①集中标注在“板区”双向(X向与Y向)的首跨引出进行标注。如图7.12所示,因为筏基平板的集中标注是在所表达的“板区”双向首跨引出,再结合集中标注中跨数的表达,可以看出LPB01表达的板区是指①~④轴/Ⓐ~Ⓑ轴范围的筏基平板,LPB02表达的板区是指①~④轴/Ⓑ~Ⓒ轴范围的筏基平板。

筏基平板“板区”的划分条件见表7.11。对于我们阅读施工图来讲,只需按平法的标注方式理解板区就可以了,筏基平板集中标注在板区两向的首跨,然后也会注明跨数,这样即可知道该板区是什么范围了。

表7.11 筏基平板“板区”的划分

②原位标注在配置相同的若干跨的第一跨下注写。在配置相同的若干跨的第一跨,水平垂直穿过基础梁,绘制一段中粗虚线代表底部附加非贯通筋,见图7.13。

图7.13 筏基平板原位标注

(2)集中标注识图

筏基平板集中标注包括板区编号、厚度、配筋、两向跨数及是否有外伸,见图7.14。

筏基平板集中标注的配筋信息是板底部及顶部贯通纵筋(表7.12)。

图7.14 筏基平板集中标注

表7.12 筏基平板集中标注配筋识图

续表

(3)应在图中注明的其他内容

筏形基础平板除了上述集中标注与原位标注,还有一些内容需要在图中注明,包括:

①板边侧部构造钢筋。当在筏形基础平板周边沿侧面设置纵向钢筋时,应在图注中注明。

②封边方式。应注明筏基平板边缘的封边方式及配筋。

③中部水平构造钢筋网规格。当筏形基础平板厚度大于2m时,应注明设置在基础平板中部的水平构造钢筋网。

④外伸阳角放射筋。当在筏形基础平板外伸阳角部位设置放射筋时,应注明规格。

4)平板式筏形基础识图

平板式筏形基础有两种构造形式:一种是由柱下板带与跨中板带组成;另一种是不区分板带,直接由基础平板组成(表7.13)。

表7.13 平板式筏形基础构造形式

直接由基础平板组成的平板式筏形基础,其平法标注方法同梁板式筏形基础平板(只是板编号不同),此处主要讲解由柱下板带与跨中板带组成的平板式筏形基础。

柱下板带(跨中板带)的平法标注由集中标注和原位标注组成(图7.15)。

(1)柱下板带(跨中板带)的集中标注识图

柱下板带(跨中板带)的集中标注,由编号、跨数及是否布置到外伸端、板带宽度、配筋信息组成(图7.16)。

柱下板带(跨中板带)集中标注识图中,应注意以下两个要点:

①注意板带宽度b是指板带短向的边长。

②注意板带的配筋中,底部和顶部贯通纵筋是指沿板长向的配筋,且只有沿长向的配筋,沿短向没有配筋。板带的钢筋网实际上是由两个方向的板带的钢筋相互交叉形成,具体详图见本任务7.2节钢筋构造。

图7.15 平板式筏形基础平法标注示意图

图7.16 柱下板带(跨中板带)集中标注识图

(2)柱下板带(跨中板带)原位标注识图

柱下板带(跨中板带)原位标注的底部非贯通筋见图7.17。

图7.17 柱下板带(跨中板带)原位标注识图