实验
实验一 孔隙与水
一、实验目的
(1)理解松散岩石的孔隙度、给水度和持水度的概念。
(2)掌握实验室测定孔隙度、给水度和持水度的方法。
二、实验内容
(1)熟悉给水度仪并对仪器进行标定。
(2)测定三种松散岩石试样的孔隙度、给水度和持水度。
三、实验仪器和用品
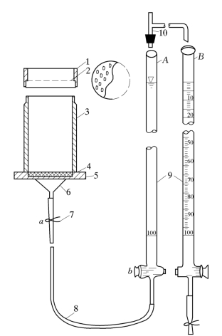
(1)给水度仪(图1-1)。
(2)十二指肠减压器,用以抽吸气体。
(3)量筒(25ml)和胶头滴管。
(4)松散岩石试样:砾石(粒径为5~10mm,大小均匀,磨圆好);砂(粒径为0.25~0.45mm);砂砾混合样(指把上述砂样完全充填进砾石样的孔隙中得到一种新试样)。
四、实验步骤
(1)标定透水石的负压值。透水石是用一定直径的砂质颗粒均匀胶结成的多孔板。透水石的负压值是指在气、液、固三相介质界面上形成的弯液面产生的附加表面压强。标定方法如下:
首先,饱和透水石并使试样筒底部漏斗充满水(最好用去气水,即通过加热或蒸馏的方法去掉水中部分气体后的水)。具体做法是:将试样筒与底部漏斗一起从开关a处卸下(见图1-1),浸没于水中并倒置,将漏斗管口与十二指肠减压器抽气管连接,抽气使透水石饱和,底部漏斗全充满水。用弹簧夹在水中封闭底部漏斗管,倒转试样筒,将装有水(可以不满)的试样筒放回支架。同时打开a,b两开关,在两管口同时流水的情况下连接塑料管。关闭a,b开关,倒去试样筒中剩余的水,将A滴定管液面调至零刻度,并与透水石底面水平。
第二步,测定透水石的负压值。打开a、b开关,缓慢降低A滴定管,同时注意观测其液面的变化。当滴定管液面突然上升时,立刻关闭b开关。此时滴定管液面到透水石底面的高度就是透水石的负压值。
反复测定几次,选其中最小数值(指绝对值)作为实验所采用的负压值。
(2)标定试样筒的容积。将试样筒装满水,用量筒或滴定管测出所装水的体积即为试样筒的容积。
(以上两步可以由实验室同志在实验课前做好)。

实验图1-1 给水度仪装置图
1—装样筛;2—筛板;3—试样筒;4—透水石;5—固定连接板;6—试样筒底部漏斗;7—弹簧夹;8—硬塑料管;9—滴定管;10—三通管

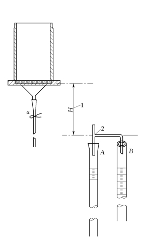
实验图1-2 退水时给水度仪安置示意图
(3)装样。装样前,将A滴定管液面调到零刻度,关闭a、b开关,用干布把试样筒内壁擦干(注意不要将干布接触透水石)。装砾石样和砂样时,不用安装装样筛,直接将试样逐次倒入试样筒并轻振试样筒以保证试样密实,直至与试样筒口平齐。装砂砾混合样时,先按上述方法把砾石装满,再安装装样筛,将砾样从装样筛中漏入,直至完全充填砾石样孔隙。
(4)测定孔隙度。适当抬高滴定管,使其液面略高于试样筒口。打开a、b开关(同时用手表计时),用b开关控制进水速度。试样饱水后立即关闭b开关。记下A滴定管进水量及饱水累计时间,填入表一。进水量(体积)与试样筒容积之比就是这种试样的孔隙度。
(5)测定给水度。将A滴定管加满水并装上三通管。用胶头滴管调整三通管液面(如图1-2)。将B滴定管初始刻度调至100ml处。同时降低A、B滴定管后,打开a开关,使从试样中退出的水沿三通管进入B滴定管。退水过程中,三通管液面到透水石底面的距离不得大于透水石的选用负压值,退水终止后,将退水量和累计退水时间记入表1。退水量(体积)与试样体积之比就是试样的给水度。
(6)重复上述(3)、(4)、(5)步骤,测定另两种试样的孔隙度和给水度(也可以分组测定不同试样,各组交换实验记录)。
五、实验成果
(1)完成实验报告表(实验表1-1)。
实验表1-1 孔隙与水实验报告表

(2)回答下列问题:
1)从试样中退出的水是什么形式的水?退水结束后,试样中保留的水是什么形式的水?
2)根据实验结果,分析比较松散岩石的孔隙度、给水度、持水度与粒径和分选的关系。
实验二 渗流实验
一、实验目的
(1)通过稳定流条件下的渗流实验,进一步理解渗流基本定律——达西定律。
(2)加深理解渗透流速、水力梯度、渗透系数之间的关系,井熟悉实验室测定渗透系数的方法。
二、实验内容
(1)了解达西实验装置。
(2)根据达西公式
测定不同试样的渗透系数K。式中 Q为渗透流量;ω为过水断面面积;ΔH为上下游过水断面的水头差;L为渗透途径;J为水力梯度。
三、实验仪器及用品
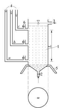
(1)达西仪器(图2-1),分别装有不同粒径的均质试样:1)砾石(粒径5~10mm);2)粗砂(粒径0.6~0.9mm);3)砂砾混合1)与2)的混合样)。

实验图2-1 达西仪器装置图
1—试样;2—进水开关;3—出水管;4—测压管;5—仪器架;6—排气口
(2)秒表。
(3)量筒(100ml,500ml各一个)。
(4)直尺。
(5)方格纸(20cm×25cm)。
(6)计算器。
四、实验步骤
(1)测量仪器的几何参数。分别测量过水断面面积ω、测压管a、b、c的间距或渗透途径L;记入表2。
(2)调试仪器。打开进水开关2,待水缓慢充满整个试样,且出水管有水流出后,慢慢拧动开关2,调节进水量,使a、c两测压管读数之差最大。同时注意打开排气口排尽试样中的气泡,使测压管a、b的水头差与测压管b、c的水头差相等。
(3)测定水头。待a、b、c3个测压管的水位稳定后,读出各测压管的水头值,记入表2中。
实验表2-1 达西渗流实验报告表

(4)测定流量。在进行步骤(3)的同时,利用秒表和量筒测量i时间内水管流出的水体积,及时计算流量Q。连测两次,使流量的相对误差小于
,取平均值记入表2-1。
(5)由大往小调节进水量,改为a、b、c三个测压管的读数,重复步骤(3)和(4)。
(6)重复第(5)步骤1~3次。即完成3~5次试验,取得3~5组数据。
(7)按记录表计算实验数据,并抄录其它小组另外两种不同试样的实验数据(有条件的,可分别做不同的试样)。
注意:
(1)实验过程中要及时排除气泡。
(2)为使渗透流速-水力梯度(v-I)曲线的测点分布均匀,流量(或水头差)的变化要控制合适。
五、实验成果
(1)提交实验报告表(表2-1)。
(2)在同一坐标系内绘出三种试样的v-I曲线,并分别用这些曲线求渗透系数K值,与表2-1中实验数据计算结果进行对比。
(3)讨论3种试样的v-I曲线是否符合达西定律?试分析其原因。
(4)比较不同试样的K值,分析影响渗透系数K值的因素。
实验三 毛细运动
一、实验目的
了解包气带中毛细水的赋存与运动特征。
二、实验内容
(1)观测、比较不同粒径砂样的毛细上升速度。
(2)观测砂土毛细饱和带水的运移。
三、实验仪器及用品
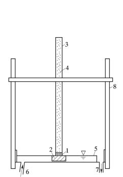
(1)观测砂土中水的毛细上升速度装置(如图3-1)。
(2)底部包铜丝网的玻璃管(长度50~100)三根,管上标有刻度。
(3)砂样:(https://www.daowen.com)
1)粗砂 粒径0.6~0.9mm
2)中砂 粒径0.25~0.45mm
3)细砂 粒径0.1~0.25mm

实验图3-1 观测砂土中水的毛细上升速度装置图
1—铜丝网;2—透水石;3—玻璃管;4—砂样;5—水槽;6—进水管;7—溢水管;8—支架

实验图3-2 观测砂土饱和毛细带水运移的装置图
1—砂样;2—长管;3—铜丝网;4—短管;5—量杯
(4)秒表。
(5)方格纸(25cm×50cm)。
(6)底部包铜丝网的长、短有机玻璃管各一根,如图3-2(长管长20~40cm,短管长5~8cm)。
(7)量杯(25mL)。
(8)放大镜及卡尺。
(9)干布及水箱。
(10)内盛颜色水的塑料杯。
四、实验步骤
甲、观测砂土中水的毛细上升速度
(1)装样 选择一种砂样,均匀密实地装入玻璃管内。
(2)观测毛细上升速度 将装有试样的玻璃管放入水槽内的透水石上,使玻璃管的下端紧贴水面(如图3-1),同时起动秒表。迅速准确地记录对应不同毛细上升高度的时间(表3-1)。初期每上升1cm观测一次时间,2min后每上升0.5cm观测一次时间。也可记录对应不同时刻的毛细上升高度。总之,初期观测频率应尽可能密,后期适当变疏。注意:进行此步骤时,小组成员应配合好。
(3)重复步骤1和2,做另外两种不同粒径的试样。
乙、毛细饱和带水的运移实验
(1)测量短管的容积V1及长管的长度,记入表3-2。
(2)装样 分别把同一种砂样均匀密实地装入长管和短管中,并使砂样与管口平齐。(所选砂样不宜过细,其最大毛细上升高度应小于长管长度,毛细饱和带高度应大于或等于短管长度)。
(3)长管饱水 将长管垂直缓慢地浸入水箱中,饱水后提起用干布擦干外壁,手持长管使其在重力作用下滴水。
(4)短管饱水 将短管垂直缓慢地浸入颜色水中,充分饱水后提起。用干布擦干外壁。用放大镜观察此时短管饱水情况及短管是否滴水,并比较长、短管的颜色。
(5)测定长、短管相接后的给水体积V2 待长管停止滴水后,将长管下端紧压在短管上端使两者密接,并用量杯承接滴出的水(如图3-2)。滴水停止后,将流出的水体积V2记入表3-2,同时观察短管饱水情况及颜色,对比流出的水与塑料杯中水的颜色是否不同。
五、实验成果
(1)提交甲、乙两实验报告表(表3-1和表3-2)。
实验表3-1 砂土中水的毛细上升速度实验报告表

实验表3-2 毛细饱和带水的运移实验报告表

(2)在同一坐标系内分别作出3种砂样的毛细上升高度(以cm为单位)与时间(以s为单位)的关系曲线。
(3)比较甲实验得出的3种砂样的毛细上升高度与时间关系曲线。指出初期及后期3种砂样的毛细上升速度自大而小的顺序,并分析其原因。
实验四 静水压强
一、实验目的
(1)观察静止液体中各点的测压管水头,并验证其恒等于常数。
(2)观测不同条件下各测压管之间的水面关系,以及各测压管与水箱之间、与水头调节器之间的水面关系,并用静水压力方程式进行解释。
(3)测定静止液体中固定点的静水压力,熟悉绝对压强、相对压强和真空的概念。
(4)测定煤油的容重。
二、设备简介(见图4-1)
水头调节器与空气阀——用来调节水箱内自由水面上压强P0。

实验图4-1 静水压强试验装置示意图
普通测压管(5、6、7)——它连接在容器的不同高度上(如A、B两点)。可以用来测出水箱内各点的相对压强和绝对压强。
示差测压管(1.2.3.4)——用以测定水箱内的自由面上的压强P0与所盛液体的容重。
三、实验依据
课堂中曾讲述过,受重力作用的静止液体中,任何点的静水压强P由两项组成。即
![]()
式中 P0——自由面上的压强;
h——点在液面下的深度。
若以Pa代表大气压强,则P0有3种情况:

当P0=Pa时,则P-Pa=rh…相对压强
当P0>Pa时,则P-P0=rh…过剩压强
当P0<Pa时,则Pa-Pc=rhv…真空
四、实验步骤
(1)记录实验设备常数(选出0—0基准面),记录A点、B点高程。
(2)作P0=Pa实验时,打开小孔门,等各测压管中的水面稳定后,观察各测压管中、水箱中、水头调节器中的水面关系,并加以解释。
(3)作P0>Pa时的实验:将小孔门关上,使水头调节器继续上升,当上升到某高度,等水面稳定后:
1)观察各测压管中、水箱中、水头调节器中的水面关系,并解释其现象。
2)读出各测压管的液面标高记入表内。
(4)作P0<Pa实验时,将小气门打开,让压力恢复正常(即各测压管中的水面稳定后),关闭气门,下降水头调节器,当下降到某一位置时,待水面稳定后:
1)观察各测压管中、水箱中、水头调节器中的水面关系,并解释其现象。
2)读出各测压管的液面标高记入表内。
五、注意下列问题
(1)各管液面的标高读数为管中液体弯月面底部处的读数。
(2)计算时注意单位的一致。
(3)升降水头调节器时要小心,以免打破。
(4)注意小气门的正确开关,不要旋得太猛,以免漏气影响精度。
(5)作PO<Pa实验时,注意缓慢的下降水头调节器,以免发生故障,影响实验进行。
六、实验记录
将观察数据记入下表
实验表4-1 观察数据记录表

七、实验报告的要求:
(1)计算水箱内液体自由面上的绝对压力、相对压力及真实。
(2)计算A点的绝对压力、相对压力。
(3)煤油的容重。