2.3 转动惯量的测量
转动惯量是刚体转动时惯性的量度,其量值取决于物体的形状、质量、质量分布及转轴的位置。 刚体的转动惯量有着重要的物理意义,在科学实验、工程技术、航天、电力、机械、仪表等工业领域也是一个重要参量。
对于几何形状简单、质量分布均匀的刚体可以直接用公式计算出它相对某一确定转轴的转动惯量。 对于任意刚体的转动惯量,通常是用实验方法测定出来的。 测定刚体转动惯量的方法很多,常用的有三线摆、扭摆、复摆等。
【实验目的】
1.学习用三线摆法测量刚体的转动惯量。
2.用三线摆验证转动惯量平行轴定理。
3.学习用扭摆法测量刚体的转动惯量(选做)。
【实验原理】
转动惯量相当于刚体在平动中的质量。 一个刚体的质量是唯一的,但对不同的转轴却有不同的转动惯量,所以转动惯量是对一定的转轴而言的。 不同刚体放在一起时,质量可以相加。 但不同刚体只有对同一转轴的转动惯量才可以相加,即对同一转轴而言转动惯量才具有叠加性。
1.用三线摆测量刚体的转动惯量
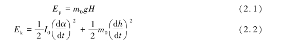
三线摆是一个匀质圆盘,以等长的三条悬线对称地悬挂在一个水平固定的小圆盘下面,如图2.9 所示。 下圆盘可绕两圆盘的中心轴线作扭摆运动。 由于三线摆的摆动周期与摆盘的转动惯量有一定关系,所以把待测样品放在摆盘上后,三线摆系统的摆动周期就要相应地随之改变。 这样,根据摆动周期、摆动质量以及有关的参量,就能求出摆盘系统的转动惯量。
当上、下圆盘水平时,将上圆盘绕竖直的中心轴线O1O 转动一个小角度,借助悬线的张力使悬挂的大圆盘绕中心轴O1O 作扭转摆动。 同时,下圆盘的质心O1 将沿着转动轴升降。 H是上、下圆盘中心的垂直距离;h 是下圆盘在振动时上升的高度;α 是扭转角。 显然,扭转的过程也是圆盘势能与动能的转化过程。 扭转的周期与下圆盘(包括置于上面的刚体)的转动惯量有关。

图2.9 三线摆示意图
1—底座;2—底座上的调平螺丝;3—支杆;4—悬架和支杆连接的固定螺丝;5—悬架;6—上圆盘悬线的固紧螺丝;7—上圆盘;8—悬线;9—下圆盘;10—待测金属环
当下圆盘的扭转角α 很小时,下圆盘的振动可以看作理想的简谐振动。 其势能Ep 和动能Ek 分别为


若忽略摩擦力的影响,则在重力场中机械能守恒:
![]()
因下圆盘的转动能远大于上下运动的平动能,于是近似有

又通过计算可得
![]()
将式(2.5)代入式(2.4)并对t 求导,可得

式(2.6)为简谐振动方程,可得方程的解为

因振动周期T0 =
,代入式(2.7)得

故有

由此可见,只要准确测出三线摆的有关参数m0、R、r、H 和T0,就可以精确地求出下圆盘的转动惯量I0。
如果要测定一个质量为m 的刚体的转动惯量,可先测定无负载时下圆盘的转动惯量I0,然后将刚体放在下圆盘上,并注意,必须让待测物的质心恰好在仪器的转动轴线上。 测定整个系统的转动周期T1,则系统的转动惯量I1 可由式(2.9)求出:
![]()
式(2.9)中H1 为放了待测物之后的上、下圆盘间距,一般可以认为H1 ≈H。 待测物的转动惯量I 为:
![]()
用这种方法,在满足实验要求的条件下,可以测定任何形状刚体的转动惯量。
2.用三线摆验证转动惯量的平行轴定理
刚体的转动惯量取决于刚体的质量分布以及相对转轴的位置。 因此,刚体的转动惯量随转轴不同而改变,转轴可以通过刚体内部,也可以通过刚体外部。 根据平行轴定理,刚体对任意轴的转动惯量Ia,等于通过此刚体以质心为轴的转动惯量Ic 加上刚体质量m 与两轴间距离d 平方的乘积,写成
![]()

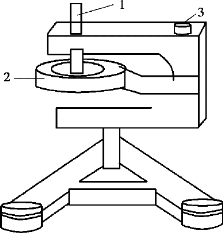
图2.10 扭摆的构造
通过改变待测刚体质心与三线摆中心转轴的距离,测量Ia与d2 的关系便可验证转动惯量的平行轴定理。
3.用扭摆法测量刚体的转动惯量(选做)
扭摆的构造如图2.10 所示,在垂直轴1 上装有一根薄片状的螺旋弹簧2,用以产生恢复力矩。 在轴的上方可以装上各种待测刚体,垂直轴与支座间装有轴承,以降低摩擦力矩。 3 为水平仪, 用来调整仪器转轴成铅直。
刚体在水平面内转过一角度θ 后,在弹簧的恢复力矩作用下开始绕垂直轴作往返扭转运动。 根据虎克定律,弹簧受扭转产生的恢复力矩M 与所转过的角度θ 成正比,即
![]()
式中K 为弹簧的扭转常数。 根据转动定律
![]()
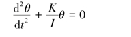
其中,I 为刚体绕转轴的转动惯量,β 为角加速度。 忽略轴承的摩擦阻力矩,由式(2.12)、式(2.13)得

令
(https://www.daowen.com)
方程(2.14)表明扭摆运动具有角简谐振动的特性,角加速度与角位移成正比,且方向相反。 此方程解为
![]()
式(2.15)中A 为谐振动的角振幅,φ 为初相位角,ω 为角频率。 谐振动的周期为
![]()
由式(2.16)可知,只要实验测得刚体扭摆的摆动周期T,并在I 和K 中任何一个量为已知时,即可计算出另一个量。

【实验仪器】
转动惯量测试仪(DH4601)(图2.11)、三线摆支架、扭摆支架、金属圆环、金属圆柱体一对、气泡水平仪、米尺、游标卡尺、螺旋测微器等。

图2.11 转动惯量测试仪(DH4601)操作面板
【实验内容及步骤】
1.仪器的调整
①调节支架底座水平:利用气泡水平仪,调节底盘上3 个调节螺钉,使支架底座水平。
②调节下圆盘水平:气泡水平仪放在下圆盘中心,调节3 根悬线长度,使下圆盘水平。
③调整光电传感接收装置,使下圆盘边上的挡光杆能自由往返通过光电槽口。
2.测量周期T0 和T1、T2
①将光电传感接收装置与测试仪用专用导线连接。 预置周期T=30,打开电源,先按“置数”,再按“上调”或“下调”改变周期至30,再按“置数”锁定。
②让下圆盘静止,拨动上圆盘的“转动手柄”,将上圆盘转过一个小角度(5 °左右),带动下圆盘绕中心轴OO′作微小扭摆运动。 然后,按测试仪上的“执行”键,光电门开始计数。 到设置周期对应的次数时,测试仪会显示30 个周期的总时间t0,记下t0。

④将圆环放在下圆盘上,使两者的中心轴线重叠,按上述方法测定摆动周期T1。
⑤将两小圆柱体对称放置在下圆盘上,用上述同样方法测定摆动周期T2。
3.测量其他物理量

图2.12 下圆盘R 的测量
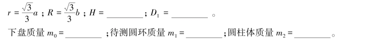
①测量上下圆盘三悬点之间的距离a 和b(用直尺),并计算悬点到中心的距离r 和R(等边三角形外接圆半径)。
②测量下圆盘的直径D0 和上下两圆盘之间的垂直距离H(用直尺)及放置两小圆柱体小孔间距2d。
③测量待测圆环的内、外径D内、D外(用游标卡尺)和小圆柱体的直径D2(用千分尺,注意先记下千分尺的零误差)。
④记录各刚体的质量(各刚体实物上已标出,可直接读取)。测量示意图如图2.12 所示。
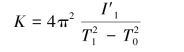
4.测定扭摆的扭转常数K(选做)
①将金属载物盘卡紧在扭摆垂直轴上,并调整光电探头的位置,使载物盘上挡光杆处于其缺口中央且能遮住发射红外线的小孔。 使用转动惯量测试仪测定其摆动周期T0。
②将塑料圆柱体垂直放在载物盘上,测定其摆动周期T1。
③由T0、T1 及塑料圆柱转动惯量的理论值I′1 计算扭摆的扭转常数K。

【数据处理与分析】
①数据记录:

将累积法测量周期数据填入表2.6 中。
表2.6 累积法测量周期数据

将长度测量数据填入表2.7 中。
表2.7 长度测量数据

②计算圆盘、待测圆环及圆柱体的转动惯量。
③计算圆盘、待测圆环及圆柱体的转动惯量的理论值。
④将各组的测量值与理论值进行比较,求相对误差。
⑤验证平行轴定理。
【注意事项】
①在用游标卡尺测量圆柱体、圆盘直径时,应用量爪将待测物包住,避免误测成弦长。
②三线摆的摆角不宜过大。
【课后讨论】
①三线摆的振幅受空气的阻尼会逐渐变小,它的周期也会随时间变化吗?
②如何测量任意形状的刚体绕转动轴的转动惯量?