5.8 温度传感器特性研究
温度传感器一般分为接触式和非接触式两大类。 接触式是传感器直接与被测物体接触进行温度测量,这是温度测量的基本形式。 而非接触式是测量物体热辐射而发出的红外线从而测量物体的温度,可进行遥测,这是接触方式所做不到的。
接触式温度传感器有热电偶、热敏电阻以及铂电阻等,利用其产生的热电动势或电阻随温度变化的特性来测量物体的温度,被广泛用于家用电器、汽车、船舶、控制设备、工业测量、通信设备等。
本实验将通过测量几种常用的接触式温度传感器的特征物理量随温度的变化,来了解这些温度传感器的工作原理。
【实验目的】
①了解几种常用的接触式温度传感器的工作原理及其应用范围。
②测量这些温度传感器的特征物理量随温度的变化曲线。
【实验原理】
1.热电阻
热电阻一般由纯金属制成,其电阻系数较高。 目前应用最多的是铂电阻和铜电阻,结构一般均为绕组(包括补偿部分),其是用金属丝双绕在圆柱形塑料支架上制成的。 它们都可制成标准测温热电阻,目前应用非常广泛。
铂电阻电阻率ρPt=9.81×10-8Ω·m,在0 ~650 ℃内其阻值用式(5.60)表示
![]()
在-200 ~0 ℃内阻值表示为
![]()
式(5.61)中,R0 为0 ℃时的电阻值,Rt 为t ℃时的电阻值;A、B、C 为常数。

由此看出,由于A、B、C 数值很小,式(5.60)和式(5.61)均可以近似地写作
![]()
而且铂的物理化学性能非常稳定,故在-200 ~500 ℃的测量范围内,可用式(5.62)来表示其阻值与温度之间的关系。
铜电阻电阻率ρPt=1.7×10-8Ω·m,在一些测量要求不高,测温范围较小(-50 ~150 ℃)的情况下使用。 其阻值与温度变换的关系式在上述温度范围内也可用式(5.62)来表示,其中
![]()
铜电阻温度系数较高,但缺点是其电阻率较铂电阻小。 在等大电阻情况下,铜电阻较铂电阻的长度更长、体积更大;而且铜电阻在温度较高时其化学稳定性较差。
铜电阻和铂电阻的阻值变化率与温度之间的关系如图5.27 所示。

图5.27 铜电阻和铂电阻的阻值变化率与温度之间的关系
2.半导体热敏电阻
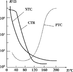
热敏电阻是电阻值随温度显著变化的一种热敏元件。 热敏电阻按其电阻随温度变化的典型特性可分为3 类,即负温度系数(NTC)热敏电阻、正温度系数(PTC)热敏电阻和临界温度电阻器(CTR)。 PTC 和CTR 型热敏电阻在某些温度范围内,其电阻值会产生急剧变化,适用于某些狭窄温度范围内的一些特殊应用,而NTC 热敏电阻可用于较宽温度范围的测量。 热敏电阻的电阻-温度特性曲线如图5.28 所示。

图5.28 半导体热敏电阻-温度特性曲线
NTC 半导体热敏电阻由一些金属氧化物,如钴、锰、镍、铜等过渡金属的氧化物,采用不同比例的配方,经高温烧结而成,然后采用不同的封装形式制成珠状、片状、杆状、垫圈状等各种形状。 与金属导体热电阻比较,半导体热敏电阻具有以下特点。
①有很大的负电阻温度系数,因此其温度测量的灵敏度也比较高。
②体积小,目前最小的珠状热敏电阻的尺寸可达0.2 mm,故热容量很小,可作为点温或表面温度以及快速变化温度的测量。
③具有很大的电阻值(100 ~10 000 Ω),因此可以忽略线路导线电阻和接触电阻等的影响,特别适用于远距离的温度测量和控制。
④制造工艺比较简单,价格便宜,缺点是温度测量范围较窄。
半导体热敏电阻具有负电阻温度系数,其电阻值随温度升高而减小,电阻与温度的关系可以用下面的经验公式表示

式(5.63)中,RT 为在温度为T 时的电阻值,T 为绝对温度(以K 为单位),A 和B 分别为具有电阻量纲和温度量纲,并且与热敏电阻的材料和结构有关的常数。 由式(5.63)可得到温度为T0 时的电阻值R0,即

比较式(5.63)和式(5.64),可得
![]()
从式(5.65)可以看出,只要知道常数B 和在温度为T0 时的电阻值R0,就可以利用式(5.65)计算在任意温度T 时的RT 值。
常数B 可以通过实验来确定。 将式(5.65)两边取对数,则有


热敏电阻的温度系数At 定义如下

由式(5.67)可以看出,At 是随温度降低而迅速增大。 At 决定热敏电阻在全部工作范围内的温度灵敏度。 热敏电阻的测温灵敏度比金属热电阻的高很多。 例如,B 值为4 000 K,当T=293.15 K(20 ℃)时,热敏电阻的At=4.7% /°C,约为铂电阻的12 倍。(https://www.daowen.com)
【实验仪器】
DHW 型温度传感器实验装置1 台、DHW-1 温度传感器实验加热装置2 台、数字万用电表1 块等。
DHW 型温度传感器实验装置面板图如图5.29 所示。

图5.29 DHW 型温度传感器实验装置面板图
【实验内容及步骤】
1.测量铜电阻值与温度变化之间的关系
测量室温到150 ℃温度范围内铜电阻温度传感器的电阻随温度变化的曲线,步骤如下。
①将DHW 型温度传感器实验装置和DHW-1 型温度传感器加热装置之间的信号输入线、风扇电源线、加热电源线等依次连接,将电源开关置于“关”,加热电流旋钮左旋至最小。万用表选择欧姆挡(200 Ω),将红黑表笔依次接入对应的铜电阻输出端子(图5.29 左下)。
②打开DHW 型温度传感器实验装置电源,按设置键进行温度设置,其中“△”代表调高预设温度,“▽”代表调低预设温度。 选择150 ℃,静置8 s 后温度设置生效。
③打开“加热电流”开关,将加热旋钮旋至合适大小(建议1.2 A),此时温度加热装置开始对铜电阻进行加热。 打开万用表开关,根据DHW 液晶盘显示温度示值,读出对应温度下万用表测量的铜电阻大小,填入表5.12 中。
④测量结束后,左旋加热电流旋钮至最小,将图5.29 中温度设置到“000.0”,同时打开加热温度架支撑架,打开风扇电源降温。
2.测量热敏电阻值与温度变化之间的关系
测量室温到120 ℃范围内热敏电阻温度传感器的电阻随温度变化的曲线,步骤如下。
①更换未使用的DHW-1 温度传感器实验加热架,将万用电表测量挡旋转到相应挡位(20 kΩ),将万用电表红黑表笔依次接入对应的热敏电阻输出端子,如图5.29 所示。
②打开DHW 型温度传感器实验装置电源,按设置键进行温度设置,其中“△”代表调高预设温度,“▽”代表调低预设温度。 选择120 ℃,静置8 s 后温度设置生效。
③打开“加热电流”开关,将加热旋钮旋至合适大小(建议1.2 A),此时温度加热装置开始对热敏电阻进行加热。 打开万用表开关,根据DHW 液晶盘显示温度示值,读出在对应温度下万用表测量的热敏电阻大小,填入表5.13 中。
④测量结束后,左旋加热电流旋钮至最小,设置温度到“000.0”,同时打开加热温度架支撑架,打开风扇电源降温。 全部实验结束后关闭总电源。
3.注意事项
①在使用风扇降温的过程中,可以将加热架的支撑杆向上抬起,加快空气对流。
②在实验过程中,如果出现温控表显示“ERRR”错误告警,表面测温热电偶有可能出现接触不良的情况,可将加热架的支撑杆向上抬起,将测温热电偶重新插入测温孔。 重新启动仪器后会恢复正常。
【数据处理与分析】
1.测量铜电阻值随温度的变化关系
表5.12 铜电阻在室温~120 ℃随温度变化的测量数据(每隔5 ℃测量一次数据)

2.绘制铜电阻值随温度的变化曲线
按照表5.12 中的数据,用Excel 或者Origin 软件绘制铜电阻在室温~120℃的RT-T、ln RT-
曲线,用线性拟合的方法计算出温度系数A测铜,并用测量值A测铜与标准值A铜进行比较,计算相对误差。
3.测量热敏电阻值随温度的变化关系
表5.13 热敏电阻在室温~120 ℃随温度变化的测量数据(每隔5 ℃测量一次数据)

续表

4.绘制热敏电阻值随温度的变化曲线
按照表5.13 中的数据,用Excel 或者Origin 软件绘制热敏电阻在室温~120 ℃的RT-T、ln RT-
曲线,并确定热敏电阻的B 值。
铜电阻的电阻-温度特性参数见表5.14。
表5.14 铜电阻的电阻-温度特性参数表

2.7 kΩ MF51 型热敏电阻的电阻-温度特性参数(仅供参考)见表5.15。
表5.15 2.7 kΩ MF51 型热敏电阻的电阻-温度特性参数表(仅供参考)

【注意事项】
①在使用风扇降温时,需将支撑杆向上抬升,使空气形成对流。
②本试验仪有自动检测功能,当出现异常时,温控器测量值显示:Error。 当故障17 s 内没有排除,系统会自动重启。
【课后讨论】
PN 结是正温度型还是负温度型温度传感器?