5.3 PN 结正向压降与温度关系的研究和应用
根据半导体理论,PN 结的正向压降与其正向电流以及温度有关,当正向电流保持不变时,PN 结的正向压降随着温度近似线性变化。 现代的PN 结温度传感器无例外地都利用正向压降来测量温度。 PN 结温度传感器有灵敏度高、线性较好、热响应快和体积轻小易集成化等优点,其应用日益广泛。 本实验是在恒定的正向电流条件下,测量PN 结正向压降与温度的关系,从而验证这一原理。
【实验目的】
①了解PN 结正向压降随温度变化的基本关系。
②在恒定正向电流条件下,测绘PN 结正向压降随温度变化曲线,并由此确定其灵敏度及被测PN 结材料的禁带宽度。
③学习用PN 结测量温度的方法。
【预习思考题】
①理想PN 结的正向压降随温度如何变化?
②测VF(0)VF(0)或VF(TR)的目的何在? 为什么实验要求测ΔV-T 曲线而不是VF-T 曲线?
③使用PN 结正向压降温度特性实验仪时应注意哪些问题?
【供选择的器材】
结正向压降温度特性实验测试仪DH-PN-1、加热测试装置。
【供选择的研究课题】
①测量结正向压降随温度变化的灵敏度。
②确定结材料的禁带宽度。
【设计要求】
①预习实验报告要求写明实验目的、实验原理。
②绘制出系统工作电路图。
③测绘出结正向压降随温度变化曲线。
④提交规范的实验报告。
【设计原理及方法】
1.理想PN 结的VF-T 关系
理想PN 结的正向电流IF 和正向压降VF 存在如下近似关系
![]()
其中e 为电子电荷;k 为玻尔兹曼常数;T 为绝对温度;Is 为反向饱和电流,它是一个与PN结材料的禁带宽度Eg(0)以及温度T 有关的系数,可以证明
![]()
其中C 是与结面积、掺质浓度等有关的常数;r 也是常数,通常取3.4;Vg(0)为绝对零度时PN 结材料的导带底和价带顶的电势差。
将式(5.10)代入式(5.9),两边取对数可得
![]()
式(5.11)就是理想PN 结正向压降与电流、温度的函数表达式。
2.PN 结测温原理

实验和理论证明,在恒流源供电条件下,如果温度变化范围不大(-50 ~150 °C),VF 温度响应的非线性误差可以忽略不计;VF 对T 的依赖关系取决于线性项,即正向压降几乎随温度升高而线性下降

式(5.12)是PN 结温度传感器的理论依据。
当温度由T1 增加T 时,正向压降由VF(T1)变化到VF(T),可得
![]()
![]()
![]()
这就是PN 结测温的基本方程。
3.PN 结材料的禁带宽度
PN 结材料的禁带宽度Eg(0)定义为电子的电荷量e 与为绝对零度时PN 结材料的导带底和价带顶的电势差Vg(0)的乘积,即
![]()
由式(5.12)
![]()
所以
![]()
【实验仪器】
PN 结正向压降温度特性实验仪包括加热测试装置和测试仪两大部分。
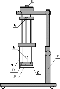
1.PN 结正向压降温度特性实验加热测试装置
如图5.13 所示,A 为可拆卸的隔离圆筒;B 为测试圆铜块,被测PN 结和温度传感器AD590 均置于其上;加热器E 装于铜块中心柱体内,通过热隔离后与外壳固定;测量引线通过高温导线连至顶部插座H,再由顶部插座用专用导线连至测试仪;G 为加热器电源插座,接至测试仪的“12”端子。
2.PN 结正向压降温度特性实验测试仪
PN 结正向压降温度特性实验测试仪如图5.14 所示。

图5.13 PN 结正向压降温度
特性实验加热测试装置

图5.14 PN 结正向压降温度特性实验测试仪(https://www.daowen.com)
3.PN 结正向压降温度特性实验装置系统工作电路
实验装置提供的温度环境是由温度控制器来进行控制的,温度控制器通过给加热器加热来对测试圆铜块进行热传导,测试圆铜块的温度也将随着加热器温度的变化而变化,测试圆铜块的温度由AD590 温度传感器进行测量,通过变换器来实现温度指示;待测试的PN 结元件放置在测试圆铜块中,实验的温度条件即为温度传感器的测量温度(仪器面板显示的温度值)。测试圆铜块的温度可以通过调节加热电流来进行控制。 注意:温度不要长期超过120 °C。
图5.15 中IF 为通过PN 结的恒流源,VF 即为PN 结的正向导通压降,RF 用来测量IF 电流值并进行显示; VF 电压经变换电路中补偿电压V 基作相减运算,通过调节V 基,使其运算值ΔV 在测量VF 起始点设置成0(即ΔV 调零),随着PN 结温度变化表示为VF 电压相对于起始电压的变化量。 当温度上升时, VF 下降,则ΔV<0,当温度下降时,VF 上升,则ΔV>0。
例如,我们在室温时开始实验,记下此时的VF,然后切换到显示ΔV,并调节ΔV 调零电位器使之为零;通过调节加热电流使PN 结的温度上升到t2,记下此时的VF 以及ΔV,ΔV 即为从t1→t2 时PN 结的正向压降变化值。

图5.15 实验装置系统工作电路
【实验内容及步骤】
1.实验系统检查与连接
①取下隔离圆筒的筒套(左手扶筒盖,右手扶筒套逆时针旋转),将待测PN 结管和测温元件分别放在铜座的左右两侧圆孔内,其管脚不与容器接触,然后装上筒套。
②加热装置上共有两组连接线。 侧向引出的一组线,共有两根芯线,与测试仪面板上通“3”两端子相连(可不计极性)。 另一组从顶部引出,共有6 根芯线,其中两根自成一组,是测温信号线,其黄线接“5”端子“+”端,黑线接“5”端子“-”端。 另4 根芯线,红棕两线接“8”“9”端子的“+”端,蓝绿两线接“8”“9”端子的“-”端,如图5.16 所示。

图5.16 加热测试装置与测试仪连接图
③控温电流开关置“关”位置,接上加热电源线和信号传输线,两者连接均为直插式。 在连接和拆除信号线时,动作要轻,否则可能拉断引线影响实验。
④打开电流开关,预热几分钟,此时测试仪上将显示出室温TR,记录实验起始温度。
2.VF(TR)的测量和调零
将“测量选择开关”K 拨到IF,由“IF 调节”使IF=50 μA,将K 拨到VF,记录VF(TR)值,再将K 置于ΔV,由“ΔV 调零”使ΔV=0。
本实验的起始温度如需从0 ℃开始,则需将加热铜块置于冰水混合物中,并注意不要让待测PN 结管和测温元件接触到水。 待显示温度至0 ℃时,再进行上述测量。
3.测定ΔV-T 特性曲线
开启加热电流(指示灯即亮),逐步提高加热电流使I加=0.6 A 进行实验,并记录对应的ΔV 和T。 ΔV、T 的数据测量,可按ΔV 每改变10 mV 或15 mV 读取一组ΔV、T 值(这样可以减小测量误差),记录于表5.6 中。
应该注意:在整个实验过程中,升温速率要慢,且温度不宜过高,最好控制在120 ℃以内。
4.改变加热电流重复上述步骤进行测量(选做)
5.改变工作电流重复上述步骤进行测量(选做)
工作电流IF=100 μA,重复上述(1 ~4)步骤进行测量,并比较两组的测量结果。
6.注意事项
①仪器的连接线较多,芯线也较细,所以要注意使用,不可用力过猛。
②除加热线没有极性区别,其余连接线都有极性区别,连接时注意不要接反。
③加热装置温度不应超过120 °C,长期过热使用,将造成接线老化,甚至脱焊、仪器故障等。
④使用完毕后,一定要切断电源,避免长时间加温(过热)造成安全事故。 长期不用时,仪器应存放在干燥、无灰尘、无腐蚀性气体的室内。
【数据处理与分析】
1.测量PN 结正向压降随温度变化的灵敏度S
表5.6 PN 结正向压降温度特性实验数据

续表

以T 为横坐标, ΔV 为纵坐标,作ΔV-T 曲线,其斜率就是灵敏度S/(mV·°C-1)。
2.确定PN 结材料的禁带宽度
由式(5.14),已知PN 结温度传感器的灵敏度S 和任意温度下PN 结的结电压VF,PN 结材料的禁带宽度
![]()
【课后讨论】
①测ΔV-T 为何按ΔV 的变化读取T,而不是按自变量T 读取ΔV?
②在测量PN 结正向压降与温度变化的关系时,温度高时ΔV-T 线性好,还是温度低时ΔV-T 线性好?
③测量时,为什么温度必须为-50 ~150 °C?
【附】
DH-PN-1 型PN 结正向压降温度特性实验仪主要技术指标
1.测试恒流源IF
输出电流:0 ~1 000 μA 连续可调,细度≤1 μA。
2.加热电流
0 ~1 A,调节细度<0.001 A,最大负载电压不小于15 V。
3.温度传感器AD590
①温度范围:218.2 ~423.2 K(即-55 ~150 ℃)。
②输出电流:218.2 ~423.2 μA (以1 μA/K 正比于绝对温度)。
③测温精度:0.5 ℃。
4.LED 显示
①正向电流、正向压降及ΔV 值通过开关选择由三位半LED 显示,误差<±1%。
②PN 结温度值由三位半LED 显示摄氏温度。
③加热电流值用三位半LED 显示,误差<±1%。