二、局部视图
2025年10月13日
二、局部视图
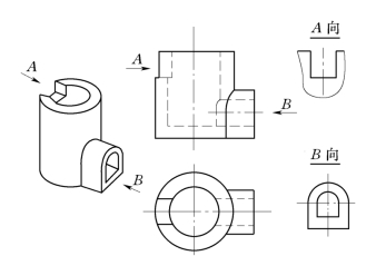
图7-4 局部视图表达方式
当物体的某一部分形状未表达清楚,又没有必要画出整个基本视图时,可以只将物体的这一部分向基本投影面投影,所得的视图称为局部视图。如图7-4所示为一集水井,已画出其正视图和俯视图,集水井内外的主要形状已经表达清楚,但其上部的进水口和下部的出水口的形状尚未清晰地表达出来。如果再画左视图和右视图,则集水井大部分投影重复。因此,可沿着箭头A所指的方向对右侧面进行投影,只画出局部的左视图以表达进水口的形状;沿着箭头B所指的方向对左侧面进行投影,只画出局部的右视图以表达出水口的形状。这样集水井的形状就完全表达清楚了。
局部视图不仅减少了画图的工作量,而且重点突出,简单明了,表达方法比较灵活。
画局部视图时必须注意:
(1)局部视图的断裂边界用波浪表示,如图中的A向视图,但当所表达的局部结构是完整的,且外形轮廓又成封闭时,则波浪线可省略不画,如B向视图。
(2)必须用带字母的箭头指明投影部位及方向,并在该局部视图上方用相同的字母标注局部视图的名称,如“A向”、“B向”等。
(3)局部视图应尽量配置在箭头所指的方向,并与基本视图保持投影关系。由于布局等原因,也允许把局部视图配置在图幅其他适当的地方,如图B向视图。