剖  面  图

第三节 剖  面  图

剖面图的概念:假想用剖切平面将物体切断,仅画出切断面的轮廓,并在其上画上材料图例,这样的图形称为剖面图,简称剖面,如图7-15所示。

图7-15 剖面图

剖面图与剖视图的区别是:剖视图用于表达物体的内部形状和结构,除要画出剖切面切到的断面形状外,还要画出剖切面后面物体的投影,即剖视图是体的投影;而剖面图用于表达物体某一局部的断面形状,仅画出剖切面切到的断面形状即可,即剖面图是面的投影。剖视图可采用多个剖切平面,剖面图一般使用单一剖切平面。剖面图应标注:

(1)剖切位置。用短粗线表示,长约5~10mm。

(2)编号。应采用阿拉伯数字或大写字母注写在剖切位置线的一侧,该侧应为断面的投影方向。

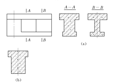
如图7-16所示,字母A和B都注写在剖切位置线的右侧,表示从左到右投影。剖面图的分类:根据剖面图的位置所在,剖面图分为移出剖面和重合剖面两种。

移出剖面的轮廓线用粗实线绘制。移出剖面适用与剖面变化较多的构件,如钢筋混凝土梁、柱等。移出剖面可按投影关系配置,如图7-16(a)所示,处于此种位置的移出剖面,应进行标注。移出剖面可画在剖切位置的延长线上,如图7-16(b)所示,处于此种位置的移出剖面,若剖面图形对称,可不标注,在视图中用点划线表示剖切位置,若剖面图形不对称,则需标注。移出剖面可画在视图的中断处,如图7-17所示,当剖面图形对称、物体某个方向尺寸又较大时,可把剖面图画在视图的中断处。移出剖面也可画在图纸上其他适当的地方,但应进行标注。

图7-16 移出剖画

以上我们讲了移出剖面,移出剖面都是画在视图的外面。

图7-17 移出剖面

另外一种剖面叫重合剖面,画在视图内。

重合剖面的轮廓线规定用细实线画。多用于结构简单的形体,如各种型钢等。

对称的重合剖面可不标注,不对称的重合剖面应标注剖切位置,并用粗实线表示投影方向,但可不标注字母,如图7-18所示。

图7-18 重合剖面图