项目五 I形坡口对接立焊

项目五 I形坡口对接立焊

一、实训目标

1.掌握对接立焊的挑弧焊法及灭弧焊法。

2.掌握焊接起头和接头的操作方法。

3.掌握焊接中对熔池形状与温度的控制。

二、材料尺寸和焊接要求

1.焊件材料牌号:Q235。

2.焊件及坡口尺寸:300mm×200mm×5mm,I型坡口。

3.焊接材料:E4303焊条,直径3.2 mm。

4.焊机:ZX7-350或BX3-500。

三、焊件装配及定位

1.清除焊件坡口及正反面两侧各20 mm的油污、铁锈,直至露出金属光泽。

2.装配间隙:1~2mm,反变形量<2°。

3.定位焊接:采用与焊接相同的E4303焊条进行定位焊,两端定位,定位长度10~15mm。将试件固定在焊接支架上。

4.反变形量:3°~4°。

5.错边量≤1.4 mm。

四、焊接工艺参数

五、操作步骤

1.清理试件,按焊接要求进行试件装配,定位焊。

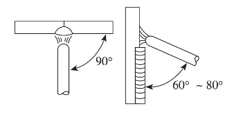
2.采用3.2 mm焊条,第一层用挑弧法施焊,焊后清理熔渣。第二层采用锯齿形或月牙形运条法进行施焊。焊接时焊条角度如图3-11所示。

图3-11 焊条角度

3.焊后清理熔渣及飞溅物,检查焊接质量。立焊成型如图3-12所示。

图3-12 立焊成型

六、焊接质量要求

1.表面焊缝与母材圆滑过渡,咬边深度小于0.5 mm。

2.焊缝宽度8~10 mm,宽限度差小于等于3 mm,焊缝余高0~4mm,余高差小于等于3 mm,变形角度小于3度,错边量小于1.2 mm。

3.焊缝的边缘直线度小于等于2 mm。

4.焊件上非焊道处不应有引弧痕迹。

七、焊接评分标准