项目三 世界焊接技能大赛样题

项目三 世界焊接技能大赛样题

一、技术描述

焊工是操作焊接和气割设备,进行金属工件的焊接或切割成型的人员。不同的材料需要不同的焊接方法。为了达到质量要求,焊工必须能够读懂焊接图纸、焊接标准和标记符号。焊工还应了解材料的特性并掌握所要求的焊接方法。此外,还需掌握焊接作业安全知识。

焊接技能涵盖了板、管、部件、结构以及压力容器的焊接。

1.能力要求

参赛选手应具备下列技术能力:

(1)阅读并能理解图纸及说明的能力。

(2)正确使用焊接设备、电动工具的能力。

(3)能够按照图纸要求选择焊接方法,并调整焊接参数以获得理想的焊缝。

(4)能够根据焊接方法及坡口形式选择适当的焊材类型和尺寸。

(5)能够使用常用焊接方法进行板、管的所有位置焊接。

(6)能够使用钢丝刷等清理工具,按要求清理焊缝。

(7)理解并遵守现行焊接相关标准、法规。

(8)熟悉并能正确使用各种个人防护装备。

2.基本知识要求

参赛选手应掌握的基本知识:

金属材料的分类、牌号、化学成分、使用性能和焊接特点等。

(1)焊接材料(包括焊条、焊丝、焊剂、气体等)类型、型号、牌号、性能、使用和保管。

(2)焊接设备、工具和测量仪器的种类、原理、使用和维护。

(3)常用焊接方法及特点、焊接工艺参数、焊接顺序、操作方法、预热、层间温度和焊后热处理等。

(4)焊接缺陷的产生原因、危害、预防措施和返修。

(5)焊接接头性能及影响因素。

(6)焊接应力和变形的产生原因和防止方法。

(6)接头形式、焊缝形式、坡口形式、焊缝代号和图纸识别。

(7)焊缝外观检查方法和要求,无损检测方法的特点和适用范围。

(8)焊接安全知识。

3.竞赛项目

竞赛分理论知识考核和技能操作考核两部分。理论知识考核占30%,技能操作考核占70%,竞赛名次按个人总成绩高低排定,总成绩相同者,实际操作技能成绩高者名次列前,实际操作技能成绩也相同时,比赛完成时间短者名次列前。

竞赛时间总计4小时,分为打磨、组对和试件焊接两个阶段。选手休息、饮水、上洗手间的时间包含在比赛时间之内,参赛选手必须在规定时间内独立完成所有项目。竞赛项目分为两大模块,竞赛项目详见表1,项目示意图见图1、图2。

表1 竞赛项目与内容

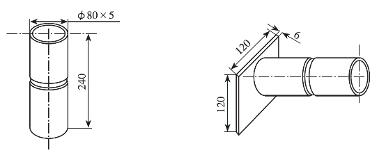
图1 模块1项目 低碳钢试件

图2 模块2项目 铝合金板/管结构组合件

4.竞赛项目配分

实际操作单项满分为100分,竞赛配分表详见表2规定。

表2 实际操作技能竞赛配分表

竞赛所用的焊接材料规格、型号详见表3。

表3 竞赛指定用的焊接材料规格与型号

二、选手操作规定

1.组对及打磨规定

(1)除铝合金板/管结构项目可进行二次组对外,其他试件必须在比赛开始阶段打磨组对一次完成(组对时间由选手自定)。

(2)所有根部焊道背面和盖面焊道表面,不允许修磨。

(3)盖面焊道焊接前,允许使用打磨工具。

(4)组对时试件的间隙、钝边、反变形,均由参赛选手自定。

(5)定位焊应采用与正式焊接相同的焊接方法和焊接材料,焊材规格由参赛选手自定。

(6)板的定位焊在坡口内的两端,定位焊缝最长15 mm,对接板两端不允许加引弧板和引出板。

(7)低碳钢管试件定位焊缝最长15 mm,定位焊不准设在仰焊位置(即5~7点钟位置)。

(8)铝合金板/管结构件组对规定如下:铝合金管垂直固定组对(PC 2G)时,应将打印钢印号的试件放置于上部,且收弧点在钢印号的相应位置;铝合金管/板固定组对(5F)时,须将没有打印钢印号的一端与板组对,且管对接焊缝收弧点在12点钟位置。

(9)试件在组对过程中出现问题,由参赛选手自己修复,不得调换。

2.上架固定规定

(1)每个试件上架固定完成,举手示意裁判员按照规定检查确认。

(2)未经监考裁判检查合格的上架固定试件,参赛选手擅自焊接上架固定试件,该试件判为0分。

3.施焊操作规定

(1)焊缝均采用单面焊双面成形完成。

(2)试件焊接时,焊缝最高点距地面不得超过1.2 m。

(3)焊接过程中,试件不准取下、移动或改变焊接位置。

(4)板仰位对接焊采用一个方向焊接,不得由中间向两端焊或由两端向中间焊,其余层数的方向和打底焊的方向要一致。

(5)模块2铝合金管垂直固定焊必须沿一个方向焊接。

(6)钨极氩弧焊焊缝不允许重熔,不允许背部充氩。

(7)参赛选手按表1顺序进行焊接,先焊模块1,再焊模块2,各模块焊接顺序、时间由选手自定。

(8)违反上述规定,该试件判为0分。

4.焊缝清理规定

(1)模块1试件的焊缝表面可用钢丝刷清理。

(2)模块2铝合金板/管结构焊接前,允许使用清洁剂,清洁剂种类自定,协办单位现场提供的清洁剂为丙酮。焊缝表面焊后须保持原始状态,盖面焊缝严禁化学清理、钢丝刷打磨。

(3)操作完成时,参赛选手应按规定认真清理试件表面的焊渣、飞溅物,但不能破坏试件焊缝的原始成形。

(4)违反规定,该试件判为0分。

5.赛场规则

(1)参赛选手在竞赛前25分钟,必须凭竞赛抽签单和身份证原件进入考场。

(2)参赛选手不得携带除竞赛抽签单、身份证及规定的必备物品以外的任何物品进入考场。严禁在赛场内使用手机和利用各种技术手段进行拍照,违规者试件判废,取消比赛资格。

(3)进入考场后,参赛选手应按照抽签单进入指定工位,并检查下列事项:

①焊机是否完好。

②焊材是否齐全。

③试件是否齐全。

④试件上的钢印号是否与选手证号一致。

⑤试件尺寸偏差。

检查无误后,与监考裁判共同签字确认。

(4)参赛选手应准时参赛,迟到30分钟以上时,将不得入场,按自动弃权处理。

(5)参赛选手在竞赛期间休息、饮水、上洗手间,其耗时一律计入竞赛时间。

(6)监考裁判发出开始竞赛的时间信号后,参赛选手方可进行操作。

(7)竞赛期间,参赛选手应严格按照劳动保护规定穿戴工作服、手套、工作鞋、护目镜等劳保防护用品,并严格遵守安全操作规程,接受裁判员、现场技术服务人员的监督和警示,确保设备及人身安全。

(8)参赛选手必须独立完成所有项目,除征得裁判长许可,否则严禁与其他选手、与会人员和本单位裁判员交流接触。

(9)参赛选手不得在试件上做任何标记。

(10)试焊使用的试板或试管由监考裁判统一发放,参赛选手只可在竞赛配发的专用试板或试管上进行试焊。

(11)施焊过程中,参赛选手若将试件焊废,不予补发,参赛选手可在竞赛时间内自行手工修复,但不得在焊缝的正、反盖面焊道修复补焊。

(12)竞赛期间,参赛选手应爱护赛场设备,不得人为损坏设备。停止操作时,应关闭设备电源开关和气瓶阀门。

(3)焊接完毕后,参赛选手应清理试件表面的焊渣、飞溅物,但不得破坏试件焊缝的原始状态。

(14)竞赛期间,参赛选手遇有问题应向监考裁判举手示意,由监考裁判负责处理。

(15)操作完毕,参赛选手应将试件交监考裁判,会同监考裁判、工作人员在工位内将试件封号,并在竞赛监考记录表上签字确认。

(16)监考裁判发出结束竞赛的时间信号后,参赛选手应立即停止操作,依次有序地离开赛场。

附录1 射线无损检测评分标准

附缺陷点数换算表