项目1 离合器的维护与检查

项目1 离合器的维护与检查

1.项目说明

离合器在使用过程中,除需要调整踏板自由行程或踏板行程外,无须其他保养,调整方法如下:如果是新的离合器操纵软轴,在调整之前,通过连续地操作离合器装置(至少30次),使离合器操纵软轴套管沿轴向压紧。

2.技术要求与标准

(1)一个学员能在30min内完成此项目。

(2)离合器维护与检查的技术标准如表1-2所示。测量L1、L2并填表1-2。

表1-2 离合器维护与检查的技术标准

3.设备器材

(1)雪铁龙爱丽舍轿车一辆。

(2)钢尺一把。

(3)扳手。

4.作业准备

(1)准备雪铁龙爱丽舍轿车一辆。    □任务完成

(2)准备工具。            □任务完成

(3)准备量具。            □任务完成

(4)准备记录单。           □任务完成

5.操作步骤

(1)检查离合器踏板的工作情况。

踩下离合器踏板,检查有无以下故障:踏板无回弹力、异响,踏板过度松动,踏板沉重。

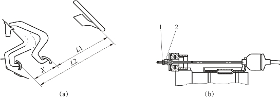
(2)离合器踏板自由行程的检查如图1-25所示。

操作步骤如下:

①测量L1:踏板处于静止位置,沿转向盘方向量取。

②测量L2:将踏板踩到底,沿转向盘方向量取。

③离合器踏板自由行程X和算法:

X=L2-L1

注意:①离合器踏板上的测量点应相当于司机的脚踏点。

②离合器踏板行程的调整值为:

X=(145±5)mm

(3)离合器踏板自由行程的调整如图1-25所示。

图1-25 离合器踏板自由行程的检查和调整

(a)测量离合器踏板自由行程;(b)调整离合器踏板自由行程
1—锁紧螺母;2—调整螺母

注意:离合器踏板自由行程过小会造成离合器分离不彻底,并易导致离合器摩擦片的早期磨损。

离合器踏板行程X的调整:如果数值不正确或踏板过高,拧松锁紧螺母1。按需要,拧紧或拧松调整螺母2,以便将行程调整至规定值。最后,拧紧锁紧螺母1,力矩为6N·m。拧紧螺母是增加行程,拧松则是减少行程。

(4)检查离合器液压操纵机构油面和泄漏。