(二)前悬架检修

(二)前悬架检修

1.就车检修

通过就车检修,确认各个元件之间的固定状况,如松动、间隙等是否正常,并确认元件状况,如磨损、损坏等。

1)检查球节端隙

(1)将前轮正直向前,请勿踩下制动踏板。

(2)将铁杆放置在横拉杆和转向节之间。

(3)上下撬动,测量轴端间隙是否为正常值(0mm),不要损坏球节防尘罩,勿用力过大而损坏安装部位。

2)检查减震器

检查减震器有无机油泄漏、损毁,发现故障应更换。

3)检查前轮定位

检测车轮定位应在空载条件下测量,即燃油、发动机冷却液和润滑剂已满,备胎、千斤顶、随车工具和脚垫都在指定位置。

(1)检测前轮定位,应检查确保以下项目正常:

①轮胎气压正确,轮胎磨损正常。

②车轮跳动不超过极限。

③车轮轴承轴端间隙正确。

④横拉杆球节轴端间隙正常。

⑤减震器正常。

⑥车桥和悬架的各个固定零部件无松动和变形。

⑦每个悬架梁、减震器、上拉杆和横拉杆无裂纹、变形和其他损坏。

⑧汽车的高度正确。

(2)检查外倾角、后倾角、主销内倾角和车轮前束:

①外倾角、后倾角和主销内倾角一般无法调整。

②检查前,将前轮安装到转向半径规上,将后车轮安装到相同高度的支架上,使汽车保持水平。

③安装并使用车轮定位仪检测读取定位参数。

④如果外倾角、后倾角或主销内倾角不在标准范围内,请再次检查前悬架零部件是否磨损和损坏。如果发现故障,更换可疑部件。

⑤如果车轮前束值不符合规定,应调整至规定值。

2.前悬架总成拆装

前悬架总成元件组成及螺栓紧固扭矩要求如图5-12所示,扭矩单位为N·m。

1)拆卸

(1)从转向小齿轮轴上拆卸中间轴。

(2)从汽车上拆卸下轮胎。

(3)从转向节上拆卸车轮传感器。

(4)使用动力工具拆卸稳定连杆上侧的固定螺栓,然后从减震器总成上拆卸稳定连杆。

图5-12 前悬架总成元件组成及螺栓紧固扭矩要求

1—减震器安装隔垫;2—减震器安装轴承;3—螺旋弹簧;4—弹跳缓冲器;5—减震器;6—转向节;7—稳定卡箍;8—稳定衬套;9—稳定连杆;10—横拉杆;11—稳定杆;12—上拉杆(左侧);13—上拉杆(右侧);14—前悬架梁;15—梁托架;16—盖

(5)松开转向外套筒的固定螺母,如图5-13所示,使用球节拆卸器从转向节上拆卸转向外套筒,以免损坏球节防尘罩。临时拧紧螺母,防止损坏螺纹及球节拆卸器突然脱落。

图5-13 拆卸转向外套筒

1—转向外套筒;2—转向节;3—球节

(6)拆卸后扭力杆。

(7)拆卸横拉杆球节固定螺母与螺栓。然后,从转向节上拆卸横拉杆。

(8)将千斤顶固定在前悬架梁下面。

(9)拆卸上拉杆上部螺栓。拆卸梁托架固定螺栓,然后从汽车上拆卸梁托架。

(10)逐渐放低千斤顶以拆卸前悬架总成。

2)安装

(1)按照与拆卸相反的顺序安装。

(2)在空载条件下,对拆卸前悬架总成时拆下的每个零部件进行最终拧紧,装配完成后应检查车轮定位。

(3)检查车轮传感器线束是否连接正确。

3.螺旋弹簧和减震器拆检与安装

1)从车上拆下

(1)拆卸前围上盖板。

(2)拆下轮胎。

(3)从减震器总成上拆卸车轮传感器线束。

(4)拆卸制动软管锁止片。

(5)拆卸稳定连杆上侧的固定螺栓,然后从减震器总成上拆卸稳定连杆。

(6)拆卸固定螺母和螺栓,然后从减震器组件上拆卸转向节。

(7)拆卸减震器安装隔垫的固定螺栓,如图5-14所示,然后从汽车上拆卸减震器总成。

2)解体

从减震器上拆卸零部件时,注意不要损坏减震器活塞推杆总成。

图5-14 拆卸减震器安装隔垫的固定螺栓

(1)将减震器附件安装到减震器上,如图5-15所示,并将它固定在卡钳中,注意用棉布包裹减震器,以免在将减震器附件安装到减震器时将其损坏。

图5-15 安装减震器附件

1—减震器附件

(2)使用弹簧压缩器,如图5-16所示,确保弹簧压缩器能压缩螺旋弹簧,在与减震器安装轴承与螺旋弹簧下座之间压缩螺旋弹簧,直到螺旋弹簧摆脱以前所受约束的状态。

(3)固定活塞推杆端部使之不发生转动,以拆卸锁紧螺母。

(4)拆卸减震器安装隔垫、减震器安装轴承和弹跳缓冲器。

(5)用弹簧压缩器拆卸螺旋弹簧,在螺旋弹簧拆卸器位置可靠的情况下,然后慢慢松开压缩器。

(6)从减震器上拆卸减震器附件。

图5-16 使用弹簧压缩器

1—弹簧压缩器

3)解体后检查

(1)检查减震器有无变形、裂纹或损毁,有无泄漏情况,发现故障应更换。

(2)检查活塞连杆有无损毁、不均匀磨损或变形,发现故障应更换。

(3)检查减震器安装隔垫是否有裂纹,橡胶零部件是否磨损,发现故障应更换。

(4)检查螺旋弹簧是否有裂纹、磨损和损坏,如果发现故障,应更换。

4)组装

注意:在组装时不得损坏减震器活塞连杆。

(1)将减震器附件安装到减震器上,并将它固定在卡钳中。用棉布包裹减震器,以免损坏减震器。

(2)使用弹簧压缩器,确保弹簧压缩器被牢牢连接在螺旋弹簧上后,才压缩螺旋弹簧,压缩后将其安装到减震器上。注意将螺旋弹簧管状端面朝下,如图5-17所示,将下端对准弹簧底座。

图5-17 组装时将螺旋弹簧管状端面朝下

1—螺旋弹簧;2—弹簧座;3—螺旋弹簧末端

(3)在弹跳缓冲器上涂抹肥皂水,在弹跳缓冲器内插入减震器固定隔垫。注意请勿使用机油。

(4)安装减震器安装轴承,如图5-18所示,安装减震器安装隔垫。

图5-18 安装减震器安装隔垫

(5)固定活塞推杆端部使之不发生转动,然后拧紧活塞推杆锁紧螺母到规定扭矩。

(6)在确保螺旋弹簧位置可靠的情况下,逐渐松开弹簧压缩器,然后拆下弹簧压缩器。

(7)从减震器上拆下减震器附件。

5)安装到车上

(1)按照与拆卸相反的顺序安装,按规定扭矩拧紧螺栓。

(2)车轮位于水平路面上,最终拧紧减震器总成下侧(橡胶衬套)的螺栓与螺母,安装完成后应检查车轮定位。

(3)检查车轮传感器线束是否连接正确。

(4)按正确方法安装减震器安装隔垫。

4.横拉杆拆检

1)拆卸

(1)拆下轮胎。

(2)拆卸横拉杆球节固定螺母与螺栓,然后从转向节上拆卸横拉杆。

(3)拆卸横拉杆固定螺母与螺栓,然后将横拉杆从前悬架梁上拆下。

①将千斤顶固定在前悬架梁下面。

②松开右上连杆固定螺栓、左上连杆固定螺栓(前悬架梁侧)、前悬架梁固定螺栓(左/右)。应降低前悬架梁以便拆卸横拉杆固定螺栓。

③从汽车上拆卸横拉杆。

2)拆卸后检查

(1)目视检查。

①横拉杆和衬套是否变形、有裂纹或损坏,发现故障应更换。

②球节罩是否有裂纹或其他损坏,以及油脂泄漏,发现故障应更换。

(2)球节检查。

①用手活动球形螺柱,至少十次,检修确认是否活动灵活。

②摆动扭矩检查,在球形螺柱的切口上吊一个弹簧秤,如图5-19所示,确认球形螺柱开始移动时,弹簧秤测量值在指定范围内,摆动扭矩应为0.5~4.9N·m,弹簧秤测量值应为15.4~150.8N,如果超出规范,更换横拉杆总成。

图5-19 弹簧秤测量

1—弹簧秤

(3)轴端间隙检查。

①沿轴向移动球柱,检查螺栓端部是否松动。

②正常轴端间隙应为0mm,如果超出规范,更换横拉杆总成。

3)安装

(1)按照与拆卸相反的顺序安装,按规定扭矩拧紧各螺栓。

(2)车轮位于水平路面上,最终拧紧前悬架梁固定位置的螺栓与螺母,安装完成后检查车轮定位。

5.稳定杆拆检

1)拆卸

(1)从转向小齿轮轴上拆卸中间轴。

(2)从车上拆卸轮胎。

(3)拆卸稳定连杆下侧的固定螺母,然后从稳定器上拆卸稳定连杆。

(4)若有必要,拆卸稳定连杆的上螺母,分离稳定连杆与减震器。

(5)松开外转向套筒的固定螺母,用球节拆卸器从转向节上拆卸转向外套筒,临时拧紧螺母,防止损坏螺纹及球节拆卸器突然脱落造成球节防尘罩损坏。

(6)拆卸后扭力杆。

(7)在前悬架梁下面用千斤顶固定,如图5-20所示。

图5-20 固定千斤顶

(8)拆卸梁托架固定螺栓,然后从汽车上拆卸梁托架。逐渐降低前悬架梁以便拆卸稳定器固定螺栓,注意不要降得太低。

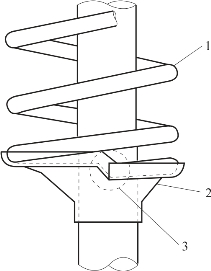
(9)拆卸稳定卡箍固定螺栓,如图5-21所示,然后从车辆上拆卸稳定卡箍和稳定衬套。

图5-21 拆卸稳定卡箍固定螺栓

(10)从汽车上拆卸稳定杆。

2)拆卸后检查

检查稳定杆、稳定连杆、稳定衬套和稳定卡箍是否变形,有裂纹和损坏。发现故障应更换。

3)安装

按照与拆卸相反的顺序安装,按规定扭矩拧紧螺栓。