车轮与轮胎检修

(一)车轮与轮胎检修

1.车轮与轮胎检查

1)车轮及轮胎外观检查

(1)检查轮胎胎面和胎壁是否有裂纹、割痕或其他损坏。

(2)检查轮胎胎面和胎壁是否嵌入任何金属微粒、石子或其他异物。

(3)检查轮辋和轮辐是否损坏、腐蚀和变形,平衡块是否脱落。

资源5-1 汽车底盘维护检查举升中部

2)轮辋检查

(1)铝轮检测。

①检查车轮是否磨损和充气不当。

②检查车轮是否变形,有裂纹和其他损坏。如果变形,请拆下车轮检查车轮跳动量。

③从铝轮上拆下轮胎,并装在轮胎平衡机上。

④设置百分表,检测车轮跳动量(百分表值),最大径向和横向跳动量极限均为0.4mm,如图5-1所示。

图5-1 用百分表检测车轮跳动量

(2)钢轮检测。

①检查车轮是否磨损和充气不当。

②检查车轮是否变形,有裂纹和其他损坏。如果变形,请拆下车轮检查车轮跳动量。

③从钢轮上拆下轮胎,并装在轮胎平衡机上。

④按图5-2所示设置两个百分表。

资源5-2 车轮动平衡检查与调整

图5-2 设置百分表

(a)测量径向跳动量;(b)测量横向跳动量

⑤设定每个百分表都为0。

⑥转动车轮,并检查车轮圆周上几个位置点的百分表读数。

⑦如图5-2所示,计算每个点的跳动量,径向跳动量=(A+B)/2,横向跳动量=(C+D)/2。

⑧选择最大正跳动量值和最大负跳动量值。将这两个值相加得出总跳动量。在无法获得正值或负值时,使用最大值(负或正)作为整个跳动量。如果整个跳动量值超过极限值,应更换钢制车轮。钢轮最大径向跳动量极限为0.8mm,横向跳动量极限为0.5mm。

3)轮胎磨损检查

(1)用胎纹规或游标卡尺检查所有轮胎的胎纹深度。

(2)检查轮胎整个外圈是否有不均匀磨损和阶段磨损。

4)轮胎胎压及气密性检查

(1)检查轮胎气压。

(2)检查气压后,通过在气门嘴周围涂肥皂水检查是否漏气。

通过检查胎面花纹深度,判断轮胎磨损程度。测量时应使用深度尺,花纹磨损残留小于极限尺寸时,应停止使用,如图5-3所示为磨损标志。

图5-3 磨损标志

(a)横向磨损标志;(b)横断面上磨损标志

2.车轮动平衡试验与校正

车轮不平衡,在高速行驶时会引起车轮上下跳动和横向摇摆,不仅影响汽车乘坐舒适性,而且使驾驶员难以控制行驶方向,以及汽车制动性能变差,影响行车安全。车轮不平衡还会大大增加各部件所受的力,加大轮胎的磨损和行驶噪声等。因此,汽车在使用和维修中必须进行车轮动平衡试验和校准。

资源5-3 车轮平衡原理

车轮的不平衡包括静不平衡和动不平衡,由于动平衡的车轮一定处于静平衡状态,因此,只要检测了动平衡,就没有必要检测静平衡。

车轮不平衡的主要原因有:

(1)质量分布不均匀,如轮胎产品质量欠佳,翻新胎、补胎、胎面磨损不均匀及在外胎与内胎之间垫带等。

(2)轮辋、制动鼓变形。

(3)轮毂与轮辋加工质量不佳,如中心不准、轮胎螺栓孔分布不均、螺栓质量不佳等。

车轮的动平衡试验有离车式和就车式两种方法。

1)离车式车轮动平衡机检测

利用离车式车轮动平衡机对车轮进行动平衡检测时,需将车轮从车上拆下。

检测步骤如下:

(1)清洗被测车轮,去掉泥土、砂石,拆掉旧平衡块。

(2)检查轮胎气压,必须符合原厂的规定。轮胎充气应注意以下几个方面:

①轮胎充气应按照该型汽车使用说明书上规定的标准气压执行,并在冷态时用气压表测量;若在热态时测量,应略高于标准气压,取适当的修正值。气压表应定期校准,以保证读数准确。

资源5-4 车轮动平衡

②若轮胎刚组装完毕,应先充入少量空气,待内胎充气伸展后再继续充至要求气压。

③充气前应检查气门芯与气门嘴是否配合平整,清洁。充气后应检查是否漏气,并将气门帽装紧。

④充入的空气不得含有水分和油雾。

⑤充气时应注意安全防护。

(3)根据轮辋中心孔的大小选择锥体,将车轮安装于平衡机上(注意保护轴部),拧紧螺母,转动一下车轮,检查确保安装正确。

(4)打开电源开关,检查指示装置是否指示正确,根据轮辋结构选择合适的平衡模式。

(5)用平衡机上的标尺测量轮辋边缘至机箱距离a,用卡尺测量轮辋宽度b,查看轮辋直径d,将a、b、d值输入到平衡机,如图5-4所示。

图5-4 输入数据

a—轮辋边缘至机箱距离;b—轮辋宽度;d—轮辋直径

(6)放下防护罩,按下“起动”键,开始测量,平衡机自动采集数据。

(7)当车轮自动停转后,从显示装置里读取车轮内外侧不平衡量和不平衡位置。

(8)抬起车轮防护罩,用手慢慢转动车轮,当显示装置发出指示(音响、指示灯亮、制动显示点或显示检测数据等)时停止转动。在轮辋的内侧或外侧的上部(时钟十二点位置)应加装指示装置显示该侧的平衡块质量。内外侧要分别进行,平衡块装夹要牢固。

(9)重新起动动平衡机,进行动平衡试验,直至动不平衡量<5g(克),机器显示“00”或“OK”时为止,取下车轮。

(10)关闭电源,测试结束。

2)就车式车轮动平衡机检测

就车式车轮动平衡机可以在汽车不拆卸车轮前提下,对汽车进行车轮平衡检测,其结构与测量原理如图5-5所示。

检测方法如下:

(1)对车轮进行清洁,去掉旧平衡块,将轮胎充气到规定气压,轮毂轴承松紧度合适,支起前桥,使两侧车轮离地间隙相等,在轮胎上做出标记。

(2)将传感器头吸附在制动底板边缘,使车轮在规定转速下旋转。

(3)观察轮胎标记位置,在指示装置上读取不平衡量,停转车轮,加装平衡块,再进一步复查,直至合格,测试结束。

图5-5 就车式车轮动平衡机的结构与测量原理

1—转向节;2—传感磁头;3—可调支杆;4—底座;5—转轮;6—电动机;7—频闪灯;8—不平衡度表

测从动轮时,利用动平衡机转轮驱动车轮转动;测驱动车轮时,直接用汽车发动机、传动系统来驱动车轮转动。

3.轮胎换位

按时换位可使轮胎磨损均匀,约可延长20%的使用寿命,应结合车辆二级维护定期换位。在路面拱度较大的地区或夏季,轮胎磨损差别较大,可适当增加换位次数。

轮胎换位方法常用的有交叉换位法、循环换位法和单边换位法,十轮三桥、六轮二桥汽车轮胎换位法如图5-6所示,四轮二桥汽车轮胎换位法如图5-7所示。

图5-6 汽车轮胎换位法

(a)六轮二桥汽车循环换位;(b)六轮二桥汽车交叉换位;(c)十轮三桥汽车交叉换位

图5-7 四轮二桥汽车轮胎换位法

(a)交叉换位;(b)单边换位

装用普通斜交线轮胎的六轮二桥汽车,常用图5-6(b)所示交叉换位法,具体做法是:左右交叉,主胎(后内)换前胎,前胎换帮胎(后外),帮胎换主胎。这样,通过三次换位每只轮胎就可轮到一次担负主力胎。

四轮二桥汽车斜交线轮胎也可采用交叉换位法,如图5-7(a)所示。子午线轮胎宜用单边换位法,如图5-7(b)所示。子午线轮胎的旋转方向应始终不变,若反向旋转,会因钢丝帘线反向变形产生振动,汽车平顺性变差。轿车宜用单边换位法。

轮胎换位后,应按所换的胎位要求,重新调整气压。轮胎换位后须做好记录,下次换位仍要按上次选定的换位方法换位。

4.轮胎故障诊断

轮胎故障有轮胎噪声、振动和不平顺性故障,轮胎异常磨损故障等。

1)轮胎噪声、振动和不平顺性故障

轮胎噪声、振动和不平顺性故障分析如表5-1所示。

表5-1 轮胎噪声、振动和不平顺性故障分析

续表

2)胎肩或胎面中间磨损

(1)现象。

图5-8所示为胎肩和胎面中间磨损。

图5-8 胎肩或胎面中间磨损

(a)胎肩磨损;(b)胎面中间磨损

(2)故障原因。

集中在胎肩或胎面中间的磨损,主要原因是轮胎充气压力不正确。如果轮胎充气压力过低,轮胎的中间便会凹入,将载荷转移到胎肩上,使胎肩磨损快于胎面中间;反之,如果充气压力过高,轮胎中间便会凸出,承受了较大的载荷,使轮胎中间磨损快于胎肩。

(3)故障排除步骤。

①检查是否超载。

②检查充气压力。如果充气过量或充气不足,应调整充气压力。

③调换轮胎位置。

3)内侧或外侧磨损

(1)现象。

图5-9所示为轮胎内侧或外侧磨损。

图5-9 轮胎内侧或外侧磨损

(a)内侧磨损;(b)外侧磨损

(2)原因。

①在过高的车速下转弯会造成转弯磨损。转弯时轮胎滑动,就产生了斜形磨损。

②悬架部件变形或间隙过大,会影响前轮定位,造成不正常的轮胎磨损。

③如果轮胎面某一侧的磨损快于另一侧的磨损,主要原因可能是外倾角不正确。由于轮胎与路面接触面积大小因载荷而异,对具有正外倾角的轮胎而言,其外侧直径要小于其内侧直径。胎面必须在路面上滑动,以使转动距离与胎面的内侧相等。这种滑动造成了外侧胎面的过量磨损。反之,具有负外倾角的轮胎,其内侧胎面磨损较快。

(3)故障排除步骤。

①询问驾驶员是否高速转弯,如果是则要避免。

②检查悬架部件。如松动则将其紧固;如变形和磨损,应修理或更换。

③检查外倾角。如不正常,应校正。

④调换轮胎位置。

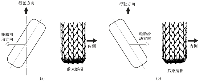
4)前束和后束磨损(羽状磨损)

(1)现象。

如图5-10所示,车轮出现了前束和后束磨损。

图5-10 前束和后束磨损

(a)前束磨损;(b)后束磨损

(2)故障原因。

用手指从轮胎的内侧至外侧划过胎面就可以辨别羽状磨损。磨损主要原因是前束调节不当。过量的前束,会迫使轮胎向外滑动,并使胎面的接触面在路面上朝内拖动,造成前束磨损。但过量的后束,会将轮胎向内拉动,并使胎面的接触面在路面上朝外拖动,造成后束磨损。

(3)故障排除步骤。

①检查前束和后束。如果前束过量或后束过量,应调整。

②调换轮胎位置。

5)前端和后端磨损

(1)现象。

图5-11所示为前端和后端磨损。

图5-11 前端和后端磨损

(2)故障原因。

①前端和后端磨损是一种局部磨损,常常出现在具有横向花纹和区间花纹的轮胎上,胎面上的区间发生斜向磨损,最终变成锯齿状。

②具有纵向折线花纹的胎面,磨损时会产生波状花纹。

③非驱动轮的轮胎只受制动力的影响,而不受驱动力的影响,因此往往会有前后端形式的磨损,如反复使用制动器,会使轮胎每次发生短距离滑动而磨损,前后端磨损的形式与这种磨损相似。

④对于驱动轮轮胎,由于驱动力造成磨损的影响,驱动轮轮胎极少出现前后端磨损。客车和大货车由于制动时产生了极大的摩擦力,具有横向花纹的轮胎,也会出现与非驱动轮相似的前后端磨损。

(3)故障排除步骤。

①检查充气压力,充气至规定值。

②检查车轮轴承。如有磨损或松动,应更换或调整。

③检查外倾角和前束。如果不正确,应调整。

④检查轴颈或悬架部件。如果损坏,应修理或更换。

⑤调换轮胎位置。