项目3 大修前驱动轮毂

项目3 大修前驱动轮毂

1.项目说明

经汽车维护或中间检查,以及汽车故障维修,若诊断出汽车前驱动桥轮毂或轮毂轴承出现异常损坏情况,应及时大修前驱动轮毂。

根据东风雪铁龙汽车维修工艺编制了本项目的操作步骤和维修工艺,通过对该项目的练习操作,使学员掌握维修汽车前驱动轮毂故障的技能。

2.技术要求与标准

(1)一个学员能在90min内完成此项目。

(2)大修前驱动轮毂的技术标准如表4-6所示。

表4-6 大修前驱动轮毂的技术标准

3.设备器材

(1)雪铁龙爱丽舍汽车一辆。

(2)4柱举升机一台。

(3)维修通用工具一套。

(4)前驱动轮毂专用工具一套。

(5)前驱动轮毂维修包一套。

4.作业准备

(1)准备一辆雪铁龙爱丽舍汽车。     □任务完成

(2)准备一台4柱举升机。         □任务完成

(3)准备一套维修通用工具。       □任务完成

(4)准备一套前驱动轮毂专用工具。    □任务完成

(5)准备一套前驱动轮毂维修包。     □任务完成

(6)准备记录单。            □任务完成

5.操作步骤

大修前驱动轮毂所用专用工具如表4-7所示。

表4-7 大修前驱动轮毂所用专用工具

1)拆卸前转向节

(1)用4柱举升机举升车辆,使前轮离地,拆下车轮。

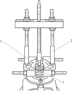
(2)如图4-62所示,使用轮毂固定工具固定轮毂使其无法转动。然后,拆下开口销、锁帽、传动轴螺母及球节螺母。禁止踩制动器拧紧螺母(制动盘螺栓有拧断风险)。

资源4-8 转向节拆卸

图4-62 拆下开口销、锁帽、传动轴螺母和球节螺母

1—开口销;2—锁帽;3—球节螺母;4—轮毂固定工具

(3)如图4-63所示,使用球节拔取器拔出球节,拆下卡板螺栓、车轮传感器。

图4-63 拆下球节

1—卡板螺栓;2—前转向节上的夹钳螺栓;3—球节拔取器

(4)拆下前制动钳。

①如图4-64所示,拆下制动钳螺栓。

②如图4-65所示,转动制动钳,拆去前制动衬块,目视检查活塞周围的密封件、防尘帽、护套的状况和安装位置及前制动盘的磨损状况,确保前制动钳销滑动正常。若不正常,应更换任何有故障的零部件。

图4-64 拆下制动钳螺栓

1—制动钳螺栓

图4-65 拆去前制动衬块

1—护套;2—制动钳;3—活塞;4—防尘帽

③如图4-66所示,将硬管上的制动软管拆开并恢复卡箍,将制动管口堵住,拆下制动软管。

图4-66 拆下制动软管

1—卡箍

④如图4-67所示,拆下制动钳支架螺栓,制动钳/支承总成用一根铁丝将其挂起。

图4-67 拆下制动钳支架螺栓

1—制动钳支架螺栓

(5)拆下前制动盘、前转向节上的夹钳螺栓、前转向节上的球销紧固件。

(6)如图4-68所示,将转向节口分离杆放到转向节夹钳的开口,转动四分之一圈,打开前转向节开口。

图4-68 打开前转向节开口

1—转向节口分离杆

(7)如图4-69所示,将弹簧压紧器的固定钳放在前悬架部件上,底座平放在地面上并保持与减震器中心线对准,然后设置弹簧压紧器的高度调节销,拧动操纵螺母以压缩前悬架弹簧,从前悬架部件上松脱并拆下轮毂架。操作时,应支撑起变速器上的传动轴。

图4-69 拆下轮毂架

1—转向节口分离杆;2—弹簧压紧器

2)分解前驱动轮毂

(1)如图4-70所示,拆下前轮毂轴承弹性挡圈。

图4-70 拆下前轮毂轴承弹性挡圈

1—轴承弹性挡圈

资源4-9 轮毂轴承更换

(2)如图4-71所示,用台钳夹住前转向节,安装止推轴颈。

(3)如图4-72所示,安装拔取器和螺栓,拔出带有前轮毂轴承内圈的前轮毂。

图4-71 安装止推轴颈

1—止推轴颈

图4-72 拔出前轮毂

1—前轮毂轴承内圈;2—前轮毂;3—拔取器;4—螺栓

(4)在前轮毂上安装两个车轮螺栓,然后将其夹紧在台钳上,拆下外密封圈,如图4-73所示。

图4-73 拆下外密封圈

1—外密封圈

(5)如图4-74所示,安装止推轴颈、轴承拔取器,使用拔取器和止推轴颈拔出前轮毂轴承内圈。

图4-74 拔出前轮毂轴承内圈

1—前轮毂轴承内圈;2—轴承拔取器;3—止推轴颈

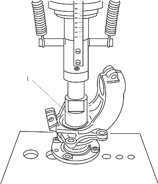
(6)如图4-75所示,将内座圈放置到位,轴承提取器限位板放在压力平台上,前轮毂支架放在轴承提取器限位板上,再将螺母放入与前轮毂轴承圈接触,使用压力机压出前轮毂轴承。

图4-75 压出前轮毂轴承

1—轴承提取器限位板;2—螺母

3)组装前驱动轮毂

(1)确保安装新的前轮毂轴承和弹性挡圈,在转向节和轮毂的顶部涂上规定型号的润滑脂,所有零件必须是干净的,并且没有非正常磨损或损坏的迹象。

(2)如图4-76所示,安装轴承装配座,使用压力机,安装前轮毂轴承完全到位。

图4-76 安装前轮毂轴承

1—轴承装配座

(3)如图4-77所示,安装新的弹性挡圈,保持前轮毂轴承位置正确。

图4-77 安装新的弹性挡圈

1—弹性挡圈

(4)如图4-78所示,安装螺母,确保轴承下圈塑料保持环存在,该卡环不能用手拆下,它将在安装轮毂时自动被推出。然后,使用压力机全部安装前轮毂。

4)安装前转向节

安装要求如下:

(1)按拆卸操作相反的顺序进行安装。

(2)安装新的尼龙防松螺母。

图4-78 压装前轮毂

1—螺母

(3)在安装三角臂上的转向节时:

①确保球形接头的保护罩处在良好状态(在转向节上无切割并有固定夹)。

②清洁球形旋塞,把保护罩从上面移至下面,将保护罩放置在完全伸出的位置。同时,应使保护罩有较好的挠性。

③将三角臂球形接头结合在转向节内,不要忘记球形接头的保护装置,它必须正确到位。

④确保减震器与转向节的相对位置正确,将凸台卡入缺口中可实现转向节与减震器之间的角度定位。

(4)安装扭矩要求。

①将球节固定螺栓安装到位,用一个新螺母拧紧到(40±4)N·m。②转向节夹轴的紧固件,拧紧扭矩为(55±5)N·m。

③转向节球销螺母,拧紧扭矩为(35±3)N·m。

④前制动钳在转向节上的紧固件,拧紧扭矩为(105±10)N·m。

⑤传动轴螺母,拧紧扭矩为(325±32)N·m。

⑥将车辆放下,由车轮支撑,车轮拧紧扭矩为(90±10)N·m。