主减速器检修

(四)主减速器检修

主减速器元件组成如图4-25所示。

图4-25 主减速器元件组成

1—配对小齿轮止推垫圈;2—配对小齿轮;3—配对小齿轮轴;4—侧齿轮;5—侧齿轮止推垫圈;6—锁止销;7—差速器侧轴承;8—差速器壳;9—主减速齿轮;10—差速器侧轴承调整垫片;—装配时换新件;★—装配前应选配;—装配时ATF润滑;—规定力矩

1.解体

(1)松开紧固螺栓,从差速器壳上卸下主减速齿轮,如图4-26所示。

图4-26 卸下主减速齿轮

(2)拆卸差速器侧轴承。

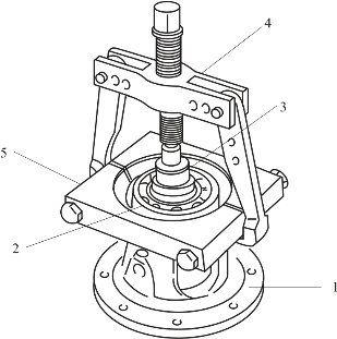
①如图4-27所示,将冲头3置于差速器壳上,使用拔具4与拔出器5从差速器壳体上卸下差速器侧轴承(右侧)。

②如图4-28所示,将冲头3置于差速器壳上,使用拔具4从差速器壳体上卸下差速器侧轴承(左侧)。

图4-27 卸下差速器侧轴承(右侧)

1—差速器壳;2—差速器侧轴承;3—冲头;4—拔具;5—拔出器

图4-28 卸下差速器侧轴承(左侧)

1—差速器壳;2—差速器侧轴承(左侧);3—冲头;4—拔具

(3)卸下小齿轮以及侧齿轮。

①如图4-29所示,使用冲具从差速器壳中冲出锁止销。

图4-29 冲出锁止销

1—差速器壳;2—冲具

②如图4-30所示,从差速器壳上拆下配对小齿轮轴,转动配对小齿轮以及配对小齿轮止推垫圈,将其卸下。

图4-30 卸下配对小齿轮止推垫圈

③从差速器壳上卸下侧齿轮以及侧齿轮止推垫圈。

2.检查

(1)如图4-31所示,检查齿轮、垫圈、配对小齿轮轴和差速器的滑动表面是否磨损、卡滞、划伤或损坏。如有故障,应更换。

(2)如图4-32所示,检查轴承能否自由转动,且有没有异响、裂纹、凹坑或磨损。如有故障,应更换。

图4-31 检查齿轮、垫圈、配对小齿轮轴和差速器

图4-32 检查轴承

3.组装

(1)安装配对小齿轮以及侧齿轮。

①将侧齿轮止推垫圈安装到侧齿轮上,然后将配对小齿轮止推垫圈及配对小齿轮安装到位。在组装前,在各个滑动/旋转面上使用充足的ATF润滑。

②如图4-33所示,将两个配对小齿轮以及止推垫圈放在相同的轴线上,在旋转它们的同时,将它们与差速器壳体上配对小齿轮轴的孔对齐,然后插入配对小齿轮轴。操作时注意,在对齐两对配对小齿轮与侧齿轮齿并用配对小齿轮轴定中心之后,取出中心轴,在旋转置于中心的同时将它们移动到位。

图4-33 组装配对小齿轮

1—配对小齿轮轴

(2)选择侧齿轮止推垫圈。

①如图4-34所示,将差速器壳体垂直向上放置,将被测量的侧齿轮处于顶端。

图4-34 测量放置

1—插入塞尺的位置;2—侧齿轮齿;3—差速器壳体的中心线

②旋转侧齿轮使得侧齿轮顶部与底部的齿能够与图中所示位置相同,让后间隙最大。

③调整侧齿轮的后间隙。

如图4-35所示,从两端在侧齿轮的背面插入相同厚度的塞尺测量间隙,要防止侧齿轮跌落。通过旋转侧齿轮测量间隙3次,并计算平均值。通过在相同位置对齐侧齿轮顶部与底部的齿,得到最大的间隙。

选择侧齿轮止推垫圈,使得间隙符合标准。对于已经使用过的差速器,调整间隙大约为0.1mm。

如图4-36所示,将差速器壳体倒置,用相同的方法测量另外一个侧齿轮的后间隙。

图4-35 测量间隙

1—塞尺

图4-36 颠倒放置测量另一个侧齿轮的后间隙

1—塞尺

(3)如图4-37所示,确定锁止销与差速器壳齐平后,使用冲具安装配对小齿轮轴上的锁止销。

(4)如图4-38所示,将轴承安装工具置于差速器侧轴承(右侧)上,然后将差速器侧轴承(右侧)压到差速器壳体中。

图4-37 安装配对小齿轮轴上的锁止销

1—锁止销;2—冲具

图4-38 安装差速器侧轴承(右侧)

1—差速器侧轴承(右侧);2—差速器壳;3—安装工具

(5)如图4-39所示,将轴承安装工具置于差速器侧轴承(左侧)上,然后将差速器侧轴承(左侧)压到差速器壳体中。

(6)在差速器壳体上安装主减速齿轮,并按照图4-40所示顺序拧紧固定螺栓到规定扭矩。

图4-39 安装差速器侧轴承(左侧)

1—差速器侧轴承(左侧);2—差速器壳;3—安装工具

图4-40 拧紧固定螺栓顺序