自动变速器零部件修理

(四)自动变速器零部件修理

1.手动轴

手动轴元件组成如图3-30所示。

图3-30 手动轴元件组成

1—手动轴油封;2—驻车杆;3,5,9—定位销;4—驻车杆片;6—手动片;7—手动轴;8—棘爪弹簧;—装配时换新件;—装配时ATF润滑;—规定力矩

1)拆卸

(1)从变速器壳上拆卸棘爪弹簧,如图3-31所示。

图3-31 拆卸棘爪弹簧

1—导向销;2—刺爪弹簧

(2)使用尖冲头敲出手动盘的定位销,如图3-32所示。

图3-32 拆手动盘定位销

1—尖冲头(专用工具)

(3)拆驻车杆板的定位销,如图3-33所示。

图3-33 拆驻车杆板的定位销

1—驻车杆板;2—定位销

(4)拆手动轴的定位销,如图3-34所示。

图3-34 拆手动轴的定位销

1—定位销

(5)如图3-35所示,从手动轴上拆下驻车杆片,然后从驻车杆片上卸下驻车杆,再从手动轴上卸下手动盘,然后从变速器壳上取出手动轴。

图3-35 取下手动轴

1—手动轴;2—手动盘;3—驻车杆片

(6)从变速器壳体上拆卸手动轴油封,如图3-36所示,切勿刮坏变速器壳体。

图3-36 取下手动轴油封

(7)检查零部件,如果损坏或磨损,应更换。

2)装配

(1)使用冲子将手动轴油封压入变速器壳中,如图3-37所示,更换上手动轴新油封后,用ATF润滑外表面。

图3-37 安装手动轴油封

(2)将驻车杆安在驻车杆片上。

(3)将手动轴插入变速器壳,将手动盘安装在手动轴上。

(4)如图3-38所示,对准手动轴的槽与变速器壳孔,使用专用工具将手动轴的定位销压入变速器壳,更换上新定位销。

(5)如图3-39所示,将驻车杆片放在手动轴上,然后压入驻车杆片的定位销,定位销必须从驻车杆片的外表面上突出大约3mm。

图3-38 安装定位销

1—专用工具

图3-39 装配驻车杆片定位销

1—驻车杆片;2—定位销;—装配时换新件

(6)如图3-40所示,将手动盘放在手动轴上,然后压入手动盘的定位销,定位销必须从手动盘的外表面上突出大约3mm。

(7)在变速器上安装棘爪弹簧,按规定扭矩拧紧棘爪弹簧螺栓。

图3-40 装配手动盘定位销

1—手动盘;2—定位销;—装配时换新件

2.油泵

油泵元件组成如图3-41所示。

图3-41 油泵元件组成

1—油泵壳体油封;2—油泵壳;3—外齿轮;4—内齿轮;5—油泵盖;6—密封圈

1)解体与检查

(1)如图3-42所示,从油泵总成上拆下密封圈。

图3-42 拆下密封圈

1—密封圈;2—油泵总成

资源3-5 油泵的分解

(2)按照图3-43所示顺序拆卸螺栓,并卸下油泵盖。

(3)如图3-44所示,从油泵壳上拆下内外齿轮。

图3-43 拆卸油泵螺栓顺序

图3-44 拆下内、外齿轮

1—内齿轮;2—外齿轮;3—油泵壳

(4)如图3-45所示,使用平头螺丝刀拆下油泵壳油封,注意不要刮伤油泵壳。

图3-45 拆下油泵壳油封

1—平头螺丝刀;2—油泵壳油封

(5)检查油泵壳、油泵盖、内齿轮和外齿轮磨损或损坏情况。如有必要,应更换。

2)测量间隙

(1)测量侧间隙。

如图3-46所示,至少在外缘的4个点测量内外齿轮的侧隙,最大测量值应在规定间隙之内。如果间隙值小于标准,应选择成套内外齿轮以使间隙在规定范围之内;如果间隙比标准值大,更换除油泵盖以外的整个油泵总成。

(2)测量外齿轮与油泵壳之间的间隙。

如图3-47所示,如果间隙值不在允许值范围内,更换除油泵盖以外的整个油泵总成。

图3-46 测量内外齿轮的侧隙

1—千分表;2—油泵壳;3—内齿轮;4—外齿轮;5—校正工具;★—测量点

图3-47 测量外齿轮与油泵壳之间的间隙

1—塞尺

(3)测量密封圈间隙。

如图3-48所示,测量密封圈与圈槽间的间隙,检查是否符合厂家规定的油泵标准间隙与允许的限值,表3-8所示为自动变速器油泵间隙标准。若油泵间隙不在允许极限范围内,更换油泵盖总成。

图3-48 测量密封圈与圈槽间的间隙

1—密封圈

表3-8 自动变速器油泵间隙标准

3)装备与调整

(1)如图3-49所示,将油泵壳油封装到油泵壳上。注意更换上油泵壳新油封,并用ATF润滑。

图3-49 安装油泵壳油封

1—油封安装专用工具

(2)将内外齿轮安装到油泵壳上,注意内齿轮的方向,如图3-50所示。

图3-50 内齿轮的安装方向

1—内齿轮;2—外齿轮;3—油泵壳

(3)将油泵盖安装到油泵壳上。

①在油泵盖总成的花键上缠防护带以保护密封。将油泵盖总成装在油泵壳总成上,然后拆下防护带。

②按照图3-51所示的顺序拧紧油泵盖安装螺栓,然后按照相同的顺序将其拧紧到规定扭矩。

(4)如图3-52所示,用凡士林填充圈槽后,仔细地将密封圈安装到油泵总成上。

注意:安装时不要过度扩张密封圈的间隙,否则会使密封圈变形。

图3-51 油泵盖螺栓紧固顺序

图3-52 安装密封圈

1—密封圈;2—油泵总成

3.控制阀总成

汽车自动变速器控制阀总成元件组成如图3-53所示。

图3-53 控制阀总成元件组成

1—向导滤清器;2—控制阀上体;3,6—钢珠;4,8—隔离板;5—控制阀内体;7—支撑板;9—控制阀下体;10—管路压力泄压阀弹簧;11—单向阀球;12—变矩器压力保持弹簧;13—电磁阀总成;14—端头;15,16,17—O形圈;18—机油集滤器

资源3-6 阀板的分解

1)解体

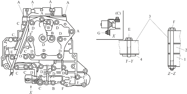
让控制阀上体朝下,放置控制阀总成,如图3-54所示,根据下面的步骤,卸下螺栓A到G、定位螺栓F、螺母与支撑板,分开控制阀上体、控制阀内体与控制阀下体。

图3-54 控制阀总成紧固螺栓

1—控制阀上体;2—控制阀内体;3—控制阀下体;4—螺母与支撑板;A—6个长度为13.5mm螺栓;B—3个长度为58.0mm螺栓;C—6个长度为40.0mm螺栓;D—11个长度为66.0mm螺栓;E—2个长度为33.0mm螺栓;F—2个长度为78.0mm定位螺栓;G—1个长度为18.0mm螺栓

(1)如图3-55所示,从控制阀总成上卸下螺栓A、D,定位螺栓F与螺母,并卸下集滤器。

图3-55 拆下集滤器

1—集滤器;A,D—螺栓;F—定位螺栓

(2)如图3-56所示,从控制阀总成上卸下螺栓A、C和G,然后卸下电磁阀总成1。

(3)如图3-57所示,从电磁阀及端口体上拆下O形圈。

图3-56 拆下电磁阀总成

1—电磁阀总成;A,C,G—螺栓

图3-57 拆下电磁阀O形圈

1—O形圈;—每次拆卸后都要换;—加自动变速箱油

(4)如图3-58所示,将控制阀上体朝下放置,卸下螺栓、定位螺栓与螺母。注意控制阀上体朝下拆下螺栓,因为控制阀上体和控制阀内体可能脱离,钢球会掉下来丢失。

图3-58 拆卸下体螺栓

B—螺栓;F—定位螺栓

(5)如图3-59所示,从控制阀内体上卸下控制阀下体。

图3-59 拆下控制阀下体

1—控制阀下体;2—控制阀内体;3—控制阀上体

(6)如图3-60所示,翻转控制阀下体,从控制阀下体上卸下螺栓、支撑板和隔离板。

图3-60 分离支撑板和隔离板

1—控制阀下体;2—支撑板;3—隔离板;E—螺栓

(7)如图3-61所示,从控制阀下体上卸下止动珠、管路压力泄压阀弹簧和变矩器压力保持弹簧。

注意:不要丢失止动珠、管路压力泄压阀弹簧和变矩器压力保持弹簧。

图3-61 拆下止动珠、管路压力泄压阀弹簧和变矩器压力保持弹簧

1—止动珠;2—管路压力泄压阀弹簧;3—变矩器压力保持弹簧;4—控制阀下体

(8)如图3-62所示,从控制阀上体拆卸控制阀内体。

图3-62 分离控制阀上体和内体

1—控制阀内体;2—隔离板;3—控制阀上体

(9)如图3-63所示,从控制阀上体拆卸导向滤清器和隔离板。

图3-63 分离控制阀上体和隔离板

1—导向滤清器;2—控制阀上体

(10)如图3-64所示,查看钢珠在控制阀内体中放置是否正确,然后将其取出;查看钢珠在控制阀上体中放置是否正确,然后将其取出。

注意:不要遗失钢珠。

图3-64 查看控制阀内体和上体中的钢珠

1—控制阀内体;2—控制阀上体

2)检查

(1)检查控制阀下体和上体,查看挡片是否正确安装于控制阀上体内和下体内,如图3-65所示。

图3-65 控制阀上体内和下体内的挡片

(a)控制阀下体中的挡片;(b)控制阀上体中的挡片

(2)检查机油集滤器的金属丝网有无损坏,如图3-66所示,如有必要,应更换。

图3-66 检查机油集滤器的金属丝网

1—集滤器;2—金属丝网

(3)如图3-67所示,测量换挡电磁阀A和B、管路压力电磁阀、变矩器离合器电磁阀及超越离合器电磁阀的电阻,检查是否符合厂家规定的数值标准,如表3-9所示,判断电磁阀是否正常。

图3-67 电磁阀与A/T油温传感器

1—管路压力电磁阀;2—A/T油温传感器;3—换挡电磁阀B;4—超越离合器电磁阀;5—变矩器离合器电磁阀;6—换挡电磁阀A

表3-9 自动变速器电磁阀标准电阻值

(4)测量A/T油温传感器电阻。当温度为20℃时,电阻约为2.5kΩ;当温度为80℃时,电阻约0.3kΩ。

(5)检查管路压力泄压阀弹簧与变矩器压力保持弹簧是否损坏或变形,同时测量弹簧的自由长度及外径,如图3-68所示。如果弹簧变形或疲劳损坏则应更换。

图3-68 测量弹簧自由长度及外径

3)装配

(1)安装控制阀上体、内体和下体。

①将控制阀上体的油路面朝上,将钢珠安装到适当位置。

②从控制阀上体底部安装定位螺栓。使用定位螺栓作为导向,成套安装隔离板。

③在控制阀上体上安装导向滤清器,如图3-69所示。

图3-69 安装导向滤清器

1—导向滤清器;2—控制阀上体

④控制阀下体的侧面朝上放置,将钢珠安装到适当位置。

⑤如图3-70所示,用定位螺栓作导向,把控制阀内体安装到控制阀上体上。

注意:不要将钢珠装错位置或掉落。

图3-70 安装控制阀内体

1—控制阀内体;2—控制阀上体;F—定位螺栓

⑥如图3-71所示,在控制阀下体上将止动珠、管路压力泄压阀弹簧与变矩器压力保持弹簧安装在正确位置。

图3-71 安装止动珠和弹簧

1—止动珠;2—管路压力泄压阀弹簧;3—变矩器压力保持弹簧;4—控制阀下体

⑦如图3-72所示,从控制阀下体底部安装螺栓。使用螺栓作为导向,成套安装隔离板。在控制阀下体上安装支撑板。

⑧如图3-73所示,用定位螺栓作导向,在控制阀内体上安装控制阀下体,并稍拧紧定位螺栓。

图3-72 安装隔离板和支撑板

1—控制阀下体;2—隔离板;3—支撑板

图3-73 组合控制阀内体与下体

1—控制阀下体;2—控制阀内体;F—定位螺栓

(2)在电磁阀及端头上安装O形圈,如图3-74所示。

图3-74 安装电磁阀O形圈

1—O形圈;—每次拆卸后都要换;—加自动变速箱油

(3)安装并拧紧各螺栓,如图3-75所示。

图3-75 安装并拧紧各螺栓

1—控制阀上体;2—控制阀内体;3—控制阀下体;4—支撑板

①安装螺栓并拧紧到规定扭矩7.84N·m,如图3-76所示。

图3-76 安装紧固螺栓

B—长度为58.0mm螺栓

②在控制阀总成上安装电磁阀总成。

③拧紧螺栓A、C和G到规定扭矩7.84N·m,如图3-77所示。

图3-77 安装紧固螺栓A、C、G

1—电磁阀总成;A—长度为13.5mm螺栓;C—6个长度为40.0mm螺栓;G—长度为18.0mm螺栓

④卸下定位螺栓F,然后将集滤器放在控制阀总成上。

⑤安装并拧紧螺栓A、D,定位螺栓F和螺母到规定扭矩7.84N·m,如图3-78所示。

⑥拧紧螺栓到规定扭矩7.84N·m,如图3-79所示。

图3-78 安装紧固螺栓A、D、F

1—集滤器;A—长度为13.5mm螺栓;D—长度为66.0mm螺栓;F—长度为78.0mm定位螺栓

图3-79 安装紧固螺栓E

E—长度为33.0mm螺栓

4.高速挡离合器

汽车自动变速器高速挡离合器元件组成如图3-80所示。

图3-80 高速挡离合器元件组成

1—密封圈;2—从动片;3—挡片;4,6—卡环;5—驱动片;7—撤销盖;8—弹簧座总成;9—高速挡离合器活塞;10—输入轴总成(高速挡离合器鼓)

1)解体

(1)检查高速挡离合器的工作情况。

①按照图3-81所示位置,向输入轴总成的油孔1内吹入压缩空气。

注意:用无绒布2在相反的方向堵住油孔。

资源3-7 倒挡及高挡离合器的分解

图3-81 检查高速挡离合器的工作情况

1—油孔;2—无绒布

②查看挡片是否向卡环移动。

③如果挡片不能接触卡环,则高速挡离合器活塞密封圈可能损坏。

(2)从输入轴总成上拆下密封圈,如图3-82所示。

(3)利用平头螺丝刀拆下卡环,如图3-83所示。

图3-82 拆下密封圈

1—输入轴总成;2—密封圈

(4)拆下挡片、主动片及从动片。

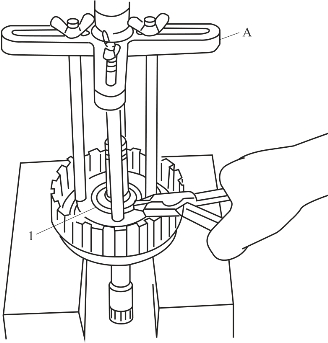
(5)将专用工具A置于撤销盖上,压住弹簧座总成,然后从输入轴总成上拆下卡环,如图3-84所示。

注意:切勿过度张开卡环。

(6)从输入轴总成上卸下撤销盖与弹簧座总成,如图3-85所示。

注意:请勿从弹簧座上拆下回位弹簧。

图3-83 拆下卡环

图3-84 拆下弹簧座总成卡环

1—卡环;A—专用工具

图3-85 拆下弹簧座总成

1—撤销盖;2—弹簧座总成;3—高速挡离合器鼓

(7)按照图3-86所示位置,向油孔内吹入压缩空气,从输入轴总成上卸下高速挡离合器活塞。慢慢地吹入空气,同时用无绒布保护,空气流的速度不要太快,否则高速挡离合器活塞和ATF会飞出来。

图3-86 卸下高速挡离合器活塞

1—油孔;2—无绒布

2)检查

(1)检查离合器卡环变形、疲劳及损坏状况,如有必要,予以更换。

(2)检查高速挡离合器驱动片。

①检查衬面是否烧蚀、刮伤或损坏,如有必要,予以更换。

②测量衬面的厚度。在3个位置处测量厚度,并计算平均值。如果厚度小于允许极限值,应更换。

③检查所有驱动片。驱动片的厚度标准为1.6mm,允许极限值为1.4mm。

(3)检查高速挡离合器弹簧座总成。测量弹簧座总成的长度(标准长度为20.6mm),如果损坏、变形或磨损,应更换。

注意:请勿从弹簧座上拆下回位弹簧。

(4)检查高速挡离合器活塞与撤销盖变形或损坏情况,如有必要,予以更换。

(5)检查输入轴总成变形或损坏情况。如有必要,予以更换。

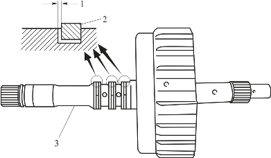
(6)检查密封圈间隙。如图3-87所示,在输入轴总成上安装新的密封圈,然后测量密封圈与圈槽间的间隙,标准间隙为0.10~0.25mm、允许极限值为0.25mm,如果超出限值,应更换输入轴总成。

图3-87 检查密封圈间隙

1—密封圈间隙;2—密封圈;3—输入轴总成

3)组装

(1)如图3-88所示,缓慢转动以安装高速挡离合器活塞。用ATF润滑输入轴总成的内表面以及高速挡离合器活塞。

图3-88 安装高速挡离合器活塞

(2)在输入轴总成上安装弹簧座总成与撤销盖。

(3)如图3-84所示,将专用工具置于撤销盖上,慢慢压缩弹簧座总成,然后将卡环安装到输入轴总成上。注意切勿过度张开卡环;安装弹簧座总成,不要倾斜;请勿将卡环开口与撤销盖止动块对齐,如图3-89所示。

(4)如图3-90所示,安装从动片4、5,驱动片3以及挡片2,驱动片/从动片:3/6(1+5)。

注意:各从动片和驱动片的顺序及方向。

图3-89 卡环开口布置

1—卡环;2—止动块

图3-90 安装从动片与驱动片

1—卡环;2—挡片;3—驱动片;4,5—从动片

(5)利用平头螺丝刀安装卡环。

(6)如图3-91所示,安装百分表3,测量挡片与卡环之间的间隙,标准间隙为1.4~1.8mm、允许极限值为2.4mm。如果超过允许限值,选择合适的挡片。

图3-91 测量挡片与卡环之间的间隙

1—挡片;2—卡环;3—百分表

(7)检查高速挡离合器的工作情况。

(8)从输入轴总成上安装密封圈。如图3-92所示,利用纸裹住密封圈,以防止其张开。

图3-92 裹住密封圈

1—厚纸片;2—胶带