自动变速器维护

(一)自动变速器维护

自动变速器(A/T)维护作业具体项目包括:变速器漏油检查、自动变速器油(ATF)检查和更换、节气门拉线检查和调整、换挡杆位置检查和调整、驻车/空挡位置(PNP)开关检查与调整、发动机怠速检查等。

1.变速器漏油检查

一般情况下,自动变速器油(ATF)不会消耗,如果ATF液面高度变低,应检查自动变速器漏油部位。

目视检查油封、管接头等部位。常见的自动变速器漏油部位如图3-1所示。

资源3-1 变速器基本检查

图3-1 常见的自动变速器漏油部位

2.ATF检查和更换

1)液面高度的检查

(1)暖机。

(2)检查是否有漏油部位。

(3)检查液面。

检查自动变速器油(ATF)液面高度时应按厂家制定的有关工艺进行。常用的液位计有油尺式液位计(见图3-2)和油孔式液位计(见图3-3)。若液面高度不合适,应重新加注或排放齿轮油,排放塞位置如图3-4、图3-5所示。

图3-2 油尺式液位计

图3-3 油孔式液位计的油位检查

1—加注塞

图3-4 排放塞位置

1—排放塞

图3-5 排放塞位置

检查自动变速器油液面高度,一般操作步骤及要求如下:

①将车辆停放在水平地面上并驻车制动。

②起动发动机,将换挡杆在各挡位位置上移动。最后将换挡杆置于P位置。

③使发动机怠速,检查自动变速器油的高度。

④拔出自动变速器液位计,如图3-6所示,用无绒纸擦净。擦拭液位计时,始终要使用无绒纸。

图3-6 拔出自动变速器液位计

1—自动变速器液位计;2—限位器(插入时);3—限位器(拔出时);4—ATF加注管

⑤重新将液位计插入ATF加注管中并到位。使用附带限位器将液位计牢靠地固定在ATF加注管中。

⑥拔出液位计,观察液位计指示。如果油面指示过低,应向加注管中添加ATF,勿过量加注。

(4)在城区道路上驾车行驶大约5min,油液温度达到50℃~80℃时,重新检查油面高度是否在“HOT”范围。

(5)将拆下的自动变速器液位计牢靠安装在ATF加注管中。

操作过程中应注意以下事项:

①加注塞安装到变速器上之前要安装新衬垫,并将加注塞紧固至规定扭矩。

②排放ATF前,应使发动机、变速驱动桥暖机,排放时应关闭发动机后再拆下排放塞。安装排放塞时应安装新衬垫,并将排放塞拧紧到规定扭矩。

③重新加注新ATF时应拆下加注塞,液位应达到如图3-3所示的规定极限。

④在重新加注ATF后,使车辆达到检查油位的条件后,再重新检查液位。

2)油质的检查

从自动变速器的油质状况,可以判断自动变速器损坏情况。油质状况主要从以下几方面判断:

(1)颜色:ATF正常颜色为鲜亮、透明的红色。如果颜色发黑说明变质或有杂质;如果呈粉红色或白色则说明油进水。若颜色不正常,应对自动变速器检修。

(2)气味:正常ATF没有气味,从油尺上闻一闻油液的气味,如果有焦煳味,说明过热,有摩擦材料烧蚀。在修理自动变速器后,应冲洗冷却系统。

(3)油质:用油尺在手指上点少许油液,用手指互相摩擦查看是否有颗粒,或将油尺上的油液滴在干净的白纸上,检查油液的颜色及气味。如果有胶质状油,说明因油温过高或使用时间过长而ATF变质。如果有金属切屑或含有摩擦材料(离合器和制动带)等,说明有元件严重磨损或损伤,应在修理后更换ATF散热器,并用清洁剂和压缩空气冲洗ATF冷却管路。

3)ATF更换

ATF更换间隔一般按汽车制造厂家规定为宜,一般为4万~6万km,也有10万km更换即可的。

可采用循环换油机换油,也可采用人工换油。采用人工换油时,一般步骤如下:

(1)预热ATF。

(2)关闭发动机。

(3)从放油孔中排出ATF。

(4)放油后,应更换新放油塞密封圈。

(5)加注新ATF,ATF应为厂家规定型号的油或同级产品,加注量总是与放出的自动变速器油量相同。

(6)使发动机怠速运转5min。

(7)检查自动变速器液面高度和状况。

如果ATF油液仍然很脏,重复步骤(2)~(7)。

3.节气门拉线检查和调整

对于装有机械拉线式节气门的汽车,在对自动变速器维护时,应对节气门拉线进行检查与调整。常见的节气门拉线检查和调整如图3-7所示。

检查轧头和索套之间的距离,应符合厂家规定要求,一般标准值为0~1mm。如果距离不合适可以通过旋转调整螺母进行调整。

图3-7 节气门拉线检查和调整

4.换挡杆位置检查和调整

1)位置检查

(1)将换挡杆置于P位置,并将点火开关转到ON位置,但不要起动发动机。

(2)检查确认踩下制动踏板时,换挡杆能移到P以外的其他位置。同时确认仅当踩下制动踏板时换挡杆才能从P位置移开。

(3)移动换挡杆并检查是否存在外力、摩擦、噪声或振动。

(4)检查确认换挡杆在各挡位置移动时,每到一个挡位都能平滑接合。检查换挡杆的实际位置是否与换挡位置指示器和变速器壳体显示的位置一致。

(5)将换挡杆正确移动至各挡位置的方法如图3-8所示。

图3-8 移动至各挡位置的方法

(6)检查确认仅当换挡杆置于R位置时,倒车灯才发光;当换挡杆处于P或N位置时,即使将其向前推动到R位置,但不按下换挡杆按钮,倒车灯也不发光。

(7)检查确认仅当换挡杆在P和N位置时才可以起动发动机。

(8)检查确认在P位置完全锁止。

2)位置的调整

将换挡杆从P位置移到1位置。移动时,应该能对每个挡位的正确位置有明显的感觉。如果没有明确的挡位位置感觉或指示器指示的位置校准不合适,则需要调整控制拉线。

(1)将换挡杆置于P位置。将车轮转动1/4圈以上并使用驻车锁止。

(2)拆下空气管。

(3)从手动轴上卸下锁止螺母和控制拉线,如图3-9所示。

图3-9 A/T位置调整

1—锁止螺母;2—控制拉线;3—手动轴

(4)将手动轴置于P位置。

(5)在末端拉住控制拉线。推拉控制拉线两到三次,然后用规定的力拉住。在控制拉线松弛的情况下,暂时拧紧锁止螺母。

(6)拧紧锁止螺母到指定扭矩。在拧紧锁止螺母后,不要对手动轴施加任何力。

(7)再次将换挡杆从P位置移到1位置,确认换挡杆移动平顺。

(8)检查换挡杆位置。

(9)安装所有拆下的零部件。

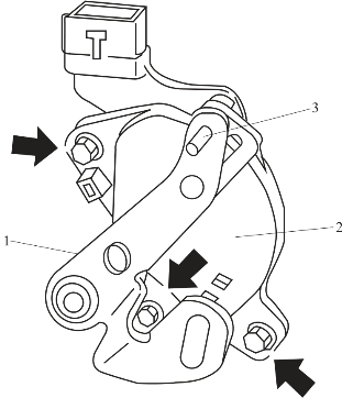
5.驻车/空挡位置(PNP)开关检查与调整

(1)将换挡杆以及手动轴置于N位置(见图3-10)。

图3-10 驻车/空挡位置(PNP)开关检查与调整

1—手动轴;2—PNP开关;3—调整销钉

(2)拆下空气滤清器及空气管。

(3)拆下手动轴上的控制线束。

(4)松开PNP开关固定螺栓。

(5)在手动轴调整孔中直接插入直径4mm的调整销钉。

(6)转动PNP开关,直到调整销钉也能够直接插入PNP开关的孔中。

(7)按照规定的扭矩拧紧PNP开关固定螺栓。

(8)调整完PNP开关后,将调整销钉从调整孔中抽出。

(9)根据电路图,检查PNP开关的导通性,如表3-1和图3-11所示。

表3-1 检查PNP开关的导通性

图3-11 PNP开关的导通性检查

(10)调整并检查A/T位置。

(11)重新安装拆卸的零部件。

6.发动机怠速检查

将选挡杆置于P或N位置,关闭空调,检查发动机怠速转速是否正常。若怠速过低,挡位转换时,将引起车身振动,甚至导致发动机熄火。若怠速过高,汽车“爬行”现象严重,且易产生换挡冲击。因此在对自动变速器做进一步检查之前,应先检查和调整发动机怠速。