鼓式与盘式制动器检修

(二)鼓式与盘式制动器检修

1.鼓式制动器拆卸与检修

1)专用工具

鼓式制动器专用拆卸工具,如图7-9所示。

图7-9 鼓式制动器专用拆卸工具

1—轮缸夹钳;2—前制动蹄拆装钳;3—制动蹄保持罩拆装扳手;4——锁止螺母

2)拆卸

依次处理每一个侧边。拆下轮毂和鼓式制动器总成。

如图7-10所示为鼓式制动器制动底板。

图7-10 鼓式制动器制动底板

1—弹簧;2—螺栓;3—弹簧总成

拆卸过程:

(1)使用前制动蹄拆装钳拆卸弹簧。

(2)用制动蹄保持罩拆装扳手拆卸盖帽,取下固定制动器蹄的弹簧。

(3)取下制动蹄、调节机构和弹簧总成。

注意:不要损坏轮缸的保护罩。

(4)分开手制动器拉索。

(5)将轮缸夹钳置于轮缸上,如图7-11所示。

图7-11 轮缸夹钳置于轮缸上

1—轮缸夹钳

(6)密封车轮制动辅助气缸活塞的周围。

(7)轮缸橡胶保护装置的状态良好。

(8)检查制动鼓的磨损程度。

(9)更换任何有故障的零部件(如有必要)。

3)安装

(1)必须更换油封。

(2)加润滑脂:A表面使用LUBRITHERM G200型油脂,如图7-12所示。

图7-12 A表面涂润滑脂

1—油封

(3)图7-13所示为手刹杆轴,调整机构螺钉。

图7-13 手刹杆轴

(4)检查自动控制轮能否自由旋转。

(5)强制复原调整系统轮到位置B,如图7-13所示。

(6)按照与拆卸相反的顺序继续进行组装。

(7)安装制动鼓轮毂、垫圈、螺母,如图7-14所示,拧紧到200N·m(用工具使其锁止)。

图7-14 安装制动鼓轮毂、垫圈、螺母

(8)车轮的拧紧扭矩为到90N·m。

(9)给制动踏板施加全部压力大约30次(随着发动机运转,轻轻地逐步加)。

4)制动器检修

车轮制动器的检修内容和方法如下:

图7-15 后制动蹄片厚度的检查

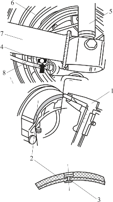
1—卡尺;2—摩擦片;3—铆钉;4—观察孔;5—后减震器;6—制动底板;7—后桥体;8—驻车制动器

制动蹄片厚度的检查:如图7-15所示,用游标卡尺测量制动蹄片的厚度,标准值为5mm,使用极限为2.5mm,其铆钉与摩擦片的表面深度不得小于1mm,以免铆钉头刮伤制动鼓内表面。在未拆下车轮时,后制动蹄片的厚度可从制动底板的观察孔中检查。

制动鼓内孔磨损的检查:检查制动鼓内孔有无烧损、刮痕和凹陷,若不能修磨应更换新件。

后制动蹄片与后制动鼓接触面积的检查:如图7-16所示,将后制动鼓蹄片表面打磨干净后,贴在后制动鼓上,检查二者的接触面积,应不小于60%,否则应继续打磨后制动蹄片表面。

图7-16 后制动蹄片与后制动鼓接触面积的检查

1—后制动蹄片;2—后制动鼓

后制动器定位弹簧及复位弹簧的检查:如图7-17所示,若后制动器定位弹簧、上复位弹簧、下复位弹簧和楔形调整板拉簧的自由长度增长率达5%,则应更换新弹簧。

图7-17 后制动器定位弹簧及复位弹簧的检查

2.盘式制动器检修

1)专用工具

盘式制动器检修专用工具如图7-18、图7-19所示。

图7-18 百分表磁性支架

图7-19 百分表

2)拆卸

(1)松开车轮螺栓,举升并支撑车辆前部。

(2)拆下前轮和前制动衬块。

(3)拆下螺栓a和制动钳托架,如图7-20所示。

图7-20 拆下螺栓和制动钳托架

1—螺栓a;2—制动钳托架

(4)拆下螺栓b和制动盘,如图7-21所示。

图7-21 拆下螺栓和制动盘

1—螺栓b;2—制动盘

(5)清洁。

①使用推荐的制动器清洁产品清洁制动盘和制动钳。

②可干燥和排空。

③用纸巾擦净。

④使用制造商认可的除尘设备。

注意:不要用压缩空气来清洁制动系统。

3)安装

(1)安装制动盘。

(2)安装螺栓b。

(3)安装制动钳托架。

(4)安装螺栓a。

(5)安装前制动衬块。

(6)安装前轮。

(7)拧紧车轮的螺栓,力矩为90N·m。

4)制动器的检修

(1)制动盘厚度检查。

制动盘磨损会使其厚度减小,厚度过小会引起制动踏板振动、制动噪声及颤动。

检查制动盘厚度时,可用0/50mm千分尺直接测量,如图7-22所示,前制动盘标准厚度为26mm,使用极限为24mm;后制动盘标准厚度为9mm,最小允许厚度(磨损)7mm;同一圆周上的最大厚度偏差为0.01mm,超过极限尺寸时应予更换。

图7-22 制动盘厚度检查

(2)制动盘轴向跳动检查。

制动盘过度的轴向跳动会使制动踏板抖动或使制动蹄片磨损不均匀。图7-23所示为制动盘轴向跳动检查。

如图7-23制动盘轴向跳动检查

①将磁性支架固定到后减震器上,如图7-23所示。

②将百分表固定到磁性支架上。

③将百分表的探针置于距离制动盘边缘10mm的位置。

④将制动盘转动一周。

注意:装配在轮毂上的制动盘的许可轴向跳动应小于0.05mm。

(3)制动衬片厚度检查。

制动衬片厚度检查,如图7-24所示。若制动衬片已拆下,可直接用游标卡尺测量。制动衬片摩擦片的厚度为14mm(不包括底板),使用极限为7mm。若车轮未拆下,对外侧的摩擦片,可通过轮辐上的检视孔,用手电筒目测检查。内侧摩擦片,利用反光镜进行目测。

图7-24 制动衬片厚度的检查

1—制动衬片摩擦片厚度;2—制动衬片摩擦片磨损极限厚度;3—制动衬片的总厚度;4—轮辐;5—外制动衬片;6—制动盘