(二)驱动轴检修

(二)驱动轴检修

1.就车检查和维修

(1)检查驱动轴固定部位和万向节有无松动和其他损坏。

(2)检查防尘罩有无裂纹和其他损坏。如果驱动轴出现噪声或振动,应更换整个驱动轴总成。

2.更换驱动轴防尘罩

(1)从汽车上拆卸下轮胎。

(2)从转向节上拆卸车轮传感器。

(3)拆卸制动软管锁止片。

(4)拆卸承扭臂固定螺栓,拆卸制动钳后不要踩下制动踏板。

(5)在制动盘和轮毂与轴承总成上做好配合标记,然后拆卸制动盘。

(6)拆卸开口销,然后松开轮毂锁紧螺母。

(7)从驱动轴上分离轮毂与轴承总成,然后拆卸轮毂锁紧螺母。

(8)拆卸转向节。

以上操作图示,请参阅前轮毂和转向节的检修中的拆卸部分。

(9)从轮毂和轴承总成上拆卸驱动轴。

(10)拆卸防尘罩卡箍,然后从万向节分总成上拆卸防尘罩。

(11)如图4-9所示,将驱动轴拔具拧入万向节分总成螺孔30mm或更长。用一只手撑住驱动轴,用滑动锤从轴中分离万向节分总成。操作时将滑动锤对准驱动轴,稳固地均匀拉出;如果无法拉出万向节分总成,可先从车上拆下驱动轴后再尝试。

如图4-10所示,确认环形卡箍已固定到边缘上,从驱动桥总成侧撬出驱动轴。拆卸驱动轴时,应注意放置驱动轴万向节的角度不应过大,不得过大拉伸滑动节。

图4-9 分离万向节分总成

图4-10 拆卸驱动轴

(12)如图4-11所示,拆卸环形卡箍。

图4-11 拆卸环形卡箍

1—环形卡箍

(13)拆卸后检查传动轴。

①上、下、左、右移动万向节,检查移动是否顺畅,有无严重松动。

②检查防尘罩有无裂纹、损坏和润滑脂泄漏。

③如果出现不正常情况,应解体驱动轴并更换有问题的零部件。

(14)安装驱动轴时,更换新的变速驱动桥侧油封,在变速驱动桥总成上安装保护装置,以免在插入驱动轴时损坏油封,然后将驱动轴滑动节和突起安装牢固,如图4-12所示。按照与拆卸相反的顺序安装,按规定扭矩紧固螺栓。

图4-12 安装驱动轴

1—油封;2—防护板;3—驱动轴

(15)擦拭干净万向节分总成上的润滑脂后,如图4-13所示,在万向节分总成花键孔中涂抹规定的润滑脂,直到新润滑脂开始从球槽和花键孔中流出,然后用抹布擦去流出的润滑脂。

(16)如图4-14所示,用胶带裹住轴上的花键,以免损坏防尘罩,将新的防尘罩和防尘罩卡箍安装到轴上。

图4-13 涂抹润滑脂

1—推荐的润滑脂;2—万向节分总成

图4-14 用胶带裹住轴上花键

1—胶带

(17)拆卸驱动轴花键周围包裹的胶带。

(18)如图4-15所示,使用专用工具将环形卡箍放置在驱动轴边缘的凹槽上,将驱动轴两端的平衡轴与万向节分总成对齐,将驱动轴安装到万向节分总成上。

(19)使用橡胶锤将万向节分总成安装到驱动轴上,旋转驱动轴确认万向节分总成已正确啮合。

(20)将规定型号的润滑脂从防尘罩大直径侧注入防尘罩内。

(21)如图4-16所示,将防尘罩牢固安装到槽内。应擦拭干净表面上所有润滑脂,如果润滑脂附着在驱动轴和万向节分总成的防尘罩固定面上,防尘罩可能会脱落。

图4-15 安装驱动轴

1—环形卡箍

图4-16 安装防尘罩

1—防尘罩安装槽;2—防尘罩;3—平头螺丝刀

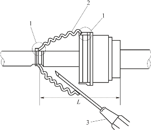
(22)将平头螺丝刀从防尘罩大直径侧插入防尘罩内部放出里面的空气,防止防尘罩变形。注意不要将螺丝刀尖端碰到防尘罩内部。调整防尘罩安装长度(L)到规定值,如果防尘罩安装长度超过标准值,可能会导致防尘罩破损。

(23)使用防尘罩卡箍卷曲工具,将新的防尘罩卡箍固定在防尘罩的大小端,如图4-17所示,固定防尘罩卡箍使尺寸M为1.0~4.0mm。

图4-17 固定防尘罩卡箍

1—防尘罩卡箍卷曲工具;2—防尘罩卡箍

(24)固定万向节分总成和驱动轴,确认变速驱动桥侧的环形卡箍已完全啮合,确认防尘罩位置正确。防尘罩安装位置错误时,应使用新的防尘罩卡箍重新安装。

(25)将驱动轴插入轮毂与轴承总成,然后临时拧紧轮毂锁紧螺母。

(26)在转向节上安装转向外套筒固定螺母。

(27)安装制动盘。

(28)将扭臂固定螺栓安装到转向节上。

(29)拆卸制动软管锁止片。

(30)将车轮传感器安装到转向节上。

(31)将轮毂锁紧螺母拧紧到规定扭矩。

(32)安装开口销。

(33)将车轮安装到车上。

3.驱动轴的检修

驱动轴主要元件组成如图4-18所示。

图4-18 驱动轴主要元件组成

1—环形卡箍;2—防尘罩;3—壳体;4—卡环;5—十字轴组件;6—防尘罩卡箍(变速驱动桥侧);7—防尘罩(变速驱动桥侧);8—驱动轴;9—缓冲器卡箍;10—动态缓冲器;11—防尘罩卡箍(车轮侧);12—防尘罩(车轮侧);13—环形卡箍;14—万向节分总成

1)解体变速驱动桥侧

(1)将驱动轴固定在卡钳中,应使用铝板或铜板保护驱动轴。

(2)拆卸防尘罩卡箍,然后从壳体中拆卸防尘罩。

(3)设置壳体和驱动轴匹配标记,请勿刮伤表面,然后从驱动轴中拉出壳体。

(4)如图4-19所示,设置驱动轴和十字轴总成匹配标记,请勿刮伤表面。

(5)拆卸卡环,然后从驱动轴上拆卸十字轴组件,如图4-20所示。

(6)从驱动轴上拆卸卡箍和防尘罩。

(7)擦拭干净壳体上的旧润滑脂。

图4-19 设置匹配标记

1—匹配标记

图4-20 拆卸卡环

1—卡环

2)解体车轮侧

(1)使用铝板或铜板保护驱动轴,将驱动轴固定在卡钳中。

(2)拆卸防尘罩卡箍,然后从万向节分总成上拆卸防尘罩。

(3)如图4-21所示,将驱动轴拔具拧入30mm,将滑动锤对准驱动轴,稳固均匀地将万向节分总成拉出驱动轴。如果尝试了五次以上均未成功拆卸万向节分总成,应更换整个驱动轴总成。

图4-21 拉出万向节分总成

1—驱动轴拔具

(4)从驱动轴上拆卸环形卡箍。

(5)从驱动轴上拆卸防尘罩。

(6)转动球笼,使用纸巾擦拭干净万向节分总成上的旧润滑脂。

3)拆卸动态缓冲器

拆卸卡箍,然后从驱动轴上拆卸动态缓冲器。

4)解体后检查

(1)检查轴有无跳动、裂纹或其他损坏,如果出现故障,应更换。

(2)检查万向节分总成(车轮侧)。

①检查万向节分总成有无过度旋转和传动轴有无过度松动。

②检查万向节分总成内部有无异物进入。

③检查万向节分总成有无受压疤痕、裂纹和内部破裂。

如果发现不合格情况,应更换万向节分总成。

(3)检查壳体和十字轴组件(变速驱动桥侧),如果壳体滚动接触面或十字轴滚动接触面刮伤或磨损,应更换壳体和十字轴总成。

注意:壳体和十字轴总成用在一个装置中。

(4)检查动态缓冲器有无裂纹和其他损坏,如果出现故障,应更换。

5)组装变速驱动桥侧

(1)用胶带包住驱动轴上的花键以免损坏防尘罩,将新的防尘罩和防尘罩卡箍安装到轴上。

(2)拆卸驱动轴花键周围包裹的胶带,如图4-22所示,组装十字轴组件时对准匹配标记。安装十字轴组件时,将倒角面朝向驱动轴。

图4-22 组装十字轴组件

1—匹配标记;2—驱动轴;3—十字轴组件;4—花键

(3)使用卡环将十字轴组件固定在驱动轴上,然后用规定型号润滑脂涂抹十字轴组件与滑动面。

(4)将壳体安装到十字轴总成上,然后添加规定型号的润滑脂。

(5)如图4-16所示,将卡箍牢牢安装到槽内,将平头螺丝刀从防尘罩大直径侧插入防尘罩内部放出里面的空气,防止防尘罩变形,并调整防尘罩安装长度(L)到规定值。

(6)如图4-17所示,使用新的防尘罩卡箍固定防尘罩的大小端。

(7)拆卸壳体时对准匹配标记。

(8)固定壳体和驱动轴,确认防尘罩位置正确,将防尘罩安装到壳体上。防尘罩安装位置错误时,请使用新的防尘罩卡箍重新安装。

(9)组装车轮侧组件。

(10)组装动态缓冲器,如图4-23所示,按指定位置固定动态缓冲器。尺寸A为235~241mm,尺寸B为69~71mm。

图4-23 固定动态缓冲器