项目2 更换传动轴防护罩

项目2 更换传动轴防护罩

1.项目说明

汽车维护和中间检查中发现传动轴防护罩老化、破裂等损坏情况,应及时更换。根据东风雪铁龙汽车维修工艺编制了本项目操作步骤和维修工艺。

2.技术要求与标准

(1)一个学员能在90min内完成此项目。

(2)更换传动轴防护罩的技术标准如表4-4所示。

表4-4 更换传动轴防护罩的技术标准

3.设备器材

(1)雪铁龙爱丽舍汽车一辆。

(2)双柱举升机一台。

(3)维修通用工具一套。

(4)更换传动轴防护罩专用工具一套。

(5)传动轴防护罩维修包一套。

4.作业准备

(1)准备一辆雪铁龙爱丽舍汽车。       □任务完成

(2)准备一台双柱举升机。          □任务完成

(3)准备一套维修通用工具。         □任务完成

(4)准备一套更换传动轴防护罩专用工具。   □任务完成

(5)准备一套传动轴及防护罩维修包。     □任务完成

(6)准备记录单。              □任务完成

5.操作步骤

更换传动轴防护罩所用专用工具如表4-5所示。

表4-5 更换传动轴保护罩所用专用工具

续表

1)拆卸传动轴

(1)用举升机举起汽车。

(2)拆下车轮。

(3)排空变速器油(AL4自动变速器型车辆不做此操作,因为AL4自动变速器为终身润滑)。

(4)使用轮毂固定工具固定轮毂使其无法转动,如图4-44所示,然后拆下传动轴螺母,使用球节拔取器拆下球节,再拆下转向节夹钳固定螺栓、稳定杆螺母。

(5)如图4-45所示,将转向节口分离杆放置在转向节夹钳中的槽内,转动四分之一圈,打开转向节开口。

图4-44 固定轮毂

1—传动轴螺母;2—球节;3—轮毂固定工具

图4-45 打开转向节开口

1—转向节开口分离杆

(6)如图4-46所示,使用弹簧压紧器,将固定夹置于减震器柱上,将工具底座平放在地面上,使工具与减震器的纵向中心线和垂直中心线对准,将转节夹锁定在弹簧压紧器底座上,设置弹簧压紧器的高度调节销,拧紧调节螺母压缩悬架弹簧,把转向节从悬架部件上卸下。拆装减震器时,不对转向节夹钳施加压力。

图4-46 卸下转向节

1—弹簧压紧器

(7)拆去左侧传动轴。

(8)拆右侧驱动轴时,先拧松紧固螺母四分之一圈,如图4-47所示。

(9)装回右侧驱动轴导流板,如图4-48所示。

图4-47 拧松紧固螺母

1—固件螺母

图4-48 装回右侧驱动轴导流板

1—导流板

2)检查和更换驱动轴密封件

(1)检查万向节,不得存在松旷现象,护套、轴承的状况良好,图4-49所示为检查部位,如有必要应修理或更换。

(2)分别对轮毂以及传动轴车轮端的花键进行清洁,并涂抹多功能润滑脂;对右侧驱动轴滚柱轴承的外座圈及其发动机右侧下部支架内的壳体进行清洁,并涂抹多功能润滑脂。

(3)如图4-50所示,使用主减速器左、右出油口密封圈安装冲头更换驱动轴左侧、右侧唇形密封件。AL4自动变速器车型不进行此步操作。

图4-49 检查部位

1—防护套;2—轴承;3—万向节松旷检查

图4-50 更换驱动轴唇形密封件

1—主减速器左出油口密封圈安装冲头;2—主减速器右出油口密封安装冲头

3)更换车轮端防护罩

(1)拆下传动轴,对于没有定位槽的传动轴,应标出防护罩的位置,如图4-51所示。在台钳上拧紧传动轴,拆下防护罩夹子。

图4-51 标记位置

1—防护罩夹子

(2)如图4-52所示,用带螺纹的提取套管和惯性分离装置卸下钟形外壳。

图4-52 拆下钟形外壳

1—钟形外壳;2—带螺纹的提取套管;3—惯性分离装置

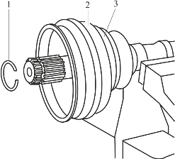
(3)如图4-53所示,拆下卡环、传动轴防护罩、环。

图4-53 拆下卡环、传动轴防护罩、环

1—卡环;2—传动轴防护罩;3—环

(4)尽量去除所有的旧润滑油,注意不要用溶剂。

(5)安装新夹子、新防护罩、新卡环、环。

(6)如图4-54所示,在卡环上装一个软管夹以便进行安装。

图4-54 在卡环上装软管夹

(7)如图4-55所示,使用带螺纹的提取套管和惯性分离装置在驱动轴上重新安装钟形外壳。

图4-55 安装钟形外壳

1—惯性分离装置;2—带螺纹的提取套管;3—钟形外壳;4—带箍

(8)拆下带箍,把维修包中所有的润滑油都填充到防护罩中去,把防护罩和固定夹定位。

(9)如图4-56所示,用一根焊条让空气进入到防护罩的内部,然后拆下焊条。

图4-56 让空气进入到防护罩

1—焊条;2—防护罩夹子

(10)使用环箍钳、软管夹钳拧紧防护罩夹子。

4)更换变速器端防护罩

(1)如图4-57所示,在表面c处贴上一片胶带,用以保护差速器出口处的油封表面;从车轮末端拆下防护罩,对于没有定位槽的传动轴,标出防护罩的位置。

图4-57 拆卸前准备

1—传动轴;2—防护罩;3—防护罩夹子;4—传动轴防护罩

(2)拆下夹子、传动轴防护罩。

(3)如图4-58所示,安装三脚架保护装置,然后,尽量去除所有的用过的润滑油。

图4-58 安装三脚架保护装置

(4)安装新夹子和新的防护罩,把维修包中所有的润滑油都填充到防护罩中,把防护罩和固定夹定位。

(5)如图4-59所示,在防护罩上使用可通气式密封圈,使用环箍钳、软管夹钳拧紧夹子。

图4-59 拧紧防护罩夹子

1,2—防护罩夹子;3—胶带;4—工具(焊条)

(6)在车轮末端重新安装防护罩。

没有可通气式密封圈的防护罩可采用如下操作:

①拧紧颈圈;

②在车轮末端重新安装防护罩;

③拆下胶带;

④安装传动轴;

⑤根据所作的标记或定位槽把防护罩放到正确的位置上,用一根焊条让空气进入到防护罩的内部,拆下焊条;

⑥拧紧颈圈。

5)安装传动轴

(1)从差速器出口密封的表面拆去保护胶带。

(2)如图4-60所示,将右侧驱动轴导流板放在其凹槽中。

图4-60 安装右侧驱动轴导流板

1—导流板凹槽

(3)将转向节装配在减震器上,如图4-61所示,通过凸块插入凹槽,确保减震器与转向节的相对位置正确定位。

图4-61 将转向节装配在减震器上

1—凸块;2—凹槽

资源4-7 安装转向节

(4)使用弹簧压紧器使悬架弹簧减压。

(5)拆下工具转向节口分离杆和弹簧压紧器。

(6)重新装配轮毂夹接头,拧紧扭矩为(55±2)N·m。

(7)在表面和螺母的螺纹上涂油脂,拧紧传动轴螺母,拧紧扭矩为(325±10)N·m。

(8)安装稳定杆螺母,拧紧扭矩为(35±1)N·m;安装车轮,拧紧扭矩为(90±10)N·m。

(9)放下汽车,注满变速器油。