机件的表达方法

二、机件的表达方法

1.视图

视图为机件向投影面投影所得的图形。它一般只画机件的可见部分,必要时才画出其不可见部分。

视图有基本视图、局部视图、斜视图和旋转视图四种。

(1)基本视图 机件向基本投影面投影所得的图形称为基本视图。

国家标准《机械制图》中规定,采用正六面体的六个面为基本投影面。如图2-3所示,将机件放在正六面体中,由前、后、左、右、上、下六个方向,分别向六个基本投影面投影,再按图2-3b规定的方法展开,正投影面不动,其余各面按箭头所指方向旋转展开,与正投影面成一个平面,即得六个基本视图,如图2-3c所示。

978-7-111-28702-5-Chapter02-2.jpg

图2-2 千斤顶的装配图

978-7-111-28702-5-Chapter02-3.jpg

图2-3 六个基本视图

六个基本视图中,最常应用的是主、俯、左三个视图,各视图的采用应根据机件形状特征而定。

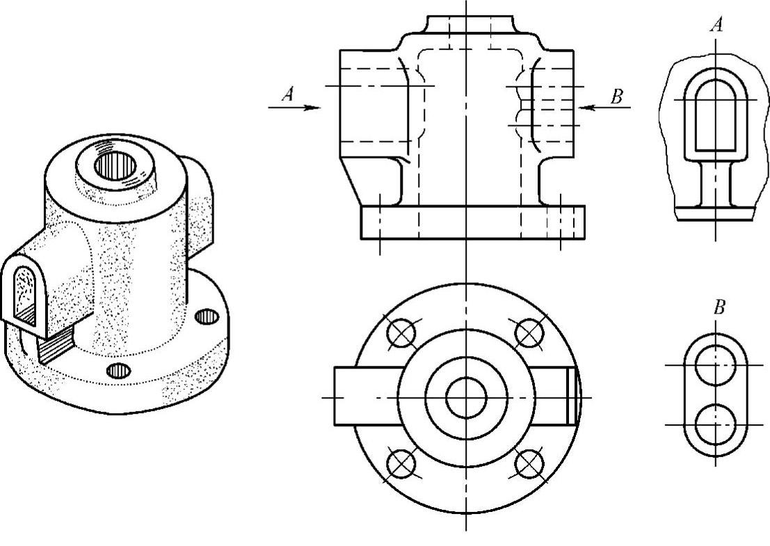
(2)局部视图 机件的某一部分向基本投影面投影而得到的视图称为局部视图,局部视图是不完整的基本视图。利用局部视图,可以减少基本视图的数量,补充基本视图尚未表达清楚的部分。

如图2-4所示机件,主、俯两基本视图,已将其基本部分的形状表达清楚,唯有两侧凸台和左侧肋板的厚度尚未表达清楚,因此采用A向、B向两个局部视图加以补充,这样就可以省去两个基本视图,简化表达方法,节省了画图工作量。

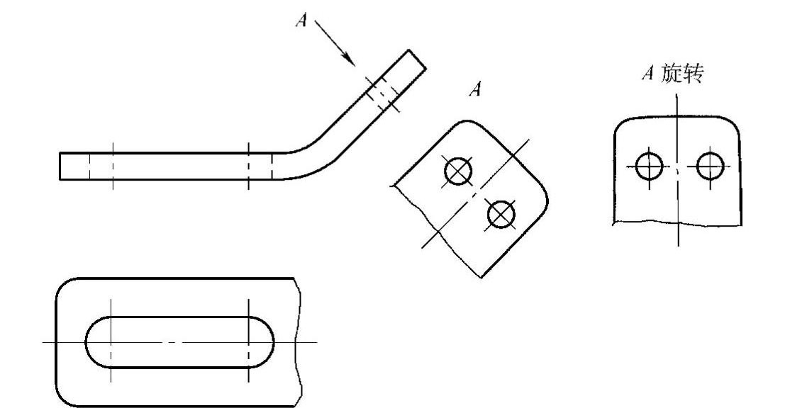
(3)斜视图 机件向不平行于任何基本投影面的平面投影所得的视图,称为斜视图。

如图2-5所示弯板形机件,其倾斜部分在俯视图和左视图上都不能得到实形投影,这时就可以另加一个平行于该倾斜部分的投影面,在该投影面上画出倾斜部分的实形投影,即斜视图。

978-7-111-28702-5-Chapter02-4.jpg

图2-4 局部视图

978-7-111-28702-5-Chapter02-5.jpg

图2-5 斜视图

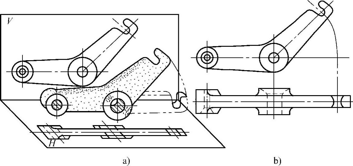
(4)旋转视图 假想将机件的倾斜部分旋转到与某一选定的基本投影面平行后再向该投影面投影所得到的视图,称为旋转视图。

图2-6所示连杆的右端对水平面倾斜,为将该部分结构形状表达清楚,即可假想将该部分绕机件回转轴旋转到与水平面平行的位置,再投影而得的俯视图,即为旋转视图。

2.剖视图

用视图表达机件时,机件内部的结构形状都用虚线表示。如果视图中虚线过多,会使图形不够清晰,而且标注尺寸也不方便。为此,表达机件内部结构,常采用剖视图的方法,简称剖视。

978-7-111-28702-5-Chapter02-6.jpg

图2-6 旋转视图

假想用剖切面剖开机件,将处在观察者和剖切面之间的部分移去,而将其余部分向投影面投影所得到的图形称为剖视图。

如图2-7所示,在机件的视图中,主视图用虚线表达其内部形状,不够清晰。假想沿机件前后对称平面将其剖开,去掉前部,将后部向正投影面投影,就得到一个剖视的主视图。

剖视图中,凡被剖切的部分应画上剖面符号。国家标准《机械制图》中规定了各种材料的剖面符号,见表2-1。

表2-1 各种材料的剖面符号

978-7-111-28702-5-Chapter02-7.jpg

978-7-111-28702-5-Chapter02-8.jpg

图2-7 剖视图的形成

剖视图的标注:一般应在剖视图上方用字母标出剖视图的名称“×—×”,在相应视图上用剖切符号表示剖切位置,用箭头表示投影方向,并注上相同的字母,如图2-7所示。

由于不同结构形状的机件,其剖视图具体画法各有不同,所以标注形式也各有区别。

剖视图按剖切范围的大小,可分为全剖视图、半剖视图和局部剖视图。

(1)全剖视图 用剖切面(一般为平面,也可为柱面)完全地剖开机件所得到的剖视图,称为全剖视图。图2-8中的主视图和左视图均为全剖视图。全剖视图一般用于表达内形复杂的不对称机件和外形简单的对称机件。对于某些内外形状都比较复杂而又不对称的机件,则可用全剖视图表达它的内部结构,再用视图表达它的外形。

978-7-111-28702-5-Chapter02-9.jpg

图2-8 全剖视图

全剖视图的标注,应按不同情况分别对待。当剖切平面通过机件对称(或基本对称)平面,且剖视图按投影关系配置,中间又无其他视图隔开时,可省略标注,如图2-8中的主视图所示;而左视图剖切平面不是对称平面,则必须按规定方法标注,但它按投影关系配置,故箭头可省略。

(2)半剖视图 当机件具有对称平面时,在垂直于对称平面的投影所得的图形,可以对称中心线为界,一半画成剖视,另一半画成视图,这种图形,称为半剖视图。

图2-9所示机件的主视图和俯视图均为半剖视图,其剖切方法如立体图所示。半剖视图既充分地表达了机件的内部形状,又保留了机件的外部形状,所以它是内外形状都比较复杂的对称机件常采用的表达方法。

978-7-111-28702-5-Chapter02-10.jpg

图2-9 半剖视图

半剖视图的标注与全剖视图相同。

(3)局部剖视图 用剖切平面局部地剖开机件,所得的剖视图称为局部剖视图。

图2-10的主视图和左视图均采用了局部剖视图画法。局部剖视图既能把机件局部的内部形状表达清楚,又能保留机件的某些外形,其剖切范围可根据需要而定,是一种很灵活的表达方法。

3.断面图

假想用剖切平面将机件的某处切断,仅画出断面的图形,称为断面图,简称断面。

断面图与剖视图不同之处是:断面图仅画出机件断面的图形,而剖视图则要求画出剖切平面以后的所有部分的投影,如图2-11c所示。

978-7-111-28702-5-Chapter02-11.jpg

图2-10 局部剖视图

978-7-111-28702-5-Chapter02-12.jpg

图2-11 断面图

断面分为移出断面和重合断面两种。

(1)移出断面 画在视图轮廓之外的断面称为移出断面。图2-11b所示断面即为移出断面。

(2)重合断面 画在视图轮廓之内的断面称为重合断面,如图2-12所示。

978-7-111-28702-5-Chapter02-13.jpg

图2-12 重合断面