三、V形坡口横焊

三、V形坡口横焊

V形坡口横焊采用试件尺寸和试件装配要求与V形坡口对接平焊相同,用多层多道焊,试件预置反变形量为4°。焊机采用NBC1—300型,直流反接。

1.焊接参数

V形坡口对接横焊焊接参数选择见表8-17。

表8-17 V形坡口对接横焊焊接参数

978-7-111-28702-5-Chapter08-60.jpg

2.操作要点及注意事项

横焊时,熔池虽有下面母材支承而较易操作,但焊道表面不易对称,所以焊接时必须使熔池尽量小。同时采用多道焊的方法来调整焊道表面形状,最后获得较对称的焊缝外形。横焊时采用左向焊法,三层六道,焊道分布如图8-36所示。将试板垂直固定在焊接夹具上,焊缝处于水平位置,间隙小的一端放于右侧。

(1)打底焊 调试好焊接参数后,按图8-37a所示的焊枪角度,从右向左进行焊接。

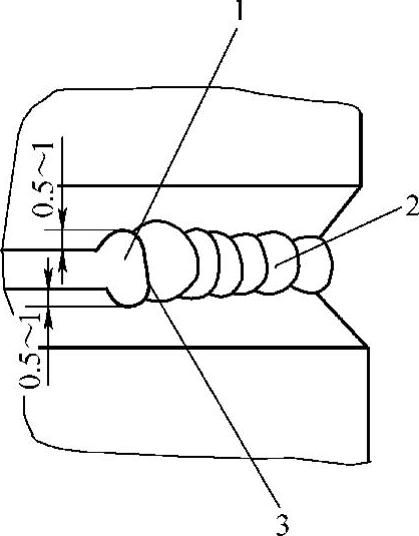
在试件定位焊缝上引弧,以小幅度锯齿形或斜圆圈形运丝摆动,自右向左焊接,并保持熔孔边缘超过坡口上下棱边0.5~1mm,如图8-38所示。

978-7-111-28702-5-Chapter08-61.jpg

图8-36 对接横焊焊道分布

焊接过程中要仔细观察熔池和熔孔,根据间隙调整焊接速度及焊枪摆幅,尽可能维持熔孔直径不变,焊至左端收弧。若打底焊过程中电弧中断,则应按下述步骤接头:

978-7-111-28702-5-Chapter08-62.jpg

图8-37 对接横焊时焊枪角度

a)打底焊 b)填充焊 c)盖面焊

1)将接头处焊道打磨成斜坡。

2)在斜坡的高处引弧,并以小幅度锯齿形运丝摆动。当接头区前端形成熔孔后,继续焊完打底焊道。

(2)填充焊 调试好焊接参数,按图8-37b所示的焊枪对中位置及角度进行填充焊道2与3的焊接。整个填充焊层厚度应低于母材1.5~2mm,且不得熔化坡口棱边。

1)填充焊道2时,焊枪成0°~10°俯角,电弧以打底焊道的下缘为中心作横向斜圆圈形摆动,保证下坡口熔合良好。

2)填充焊道3时,焊枪成0°~10°仰角,电弧以打底焊道的上缘为中心,在焊道2和上坡口面间摆动,保证熔合良好,重叠前一焊道的1/2~2/3。

3)清除填充焊道的表面飞溅物,并用角向磨光机打磨局部凸起处。

978-7-111-28702-5-Chapter08-63.jpg

图8-38 横焊时熔孔的控制

1—熔孔 2—焊道 3—熔池

(3)盖面焊 调试好盖面焊焊接参数,按图8-37c所示的焊枪对中位置及角度进行盖面焊道4、5、6的焊接。操作要领基本同填充焊。

3.操作过程

1)清理试件,装配定位,然后按横焊位置固定试件,距离地面800~900mm的高度。

2)采用小幅度锯齿形和斜圆圈形运丝法焊接打底层焊道。填充层焊道从下往上排列,要求相互重叠1/2~2/3为宜,并保持各焊道的平整,防止焊缝两侧产生咬边。盖面层的焊接电流可略微减小,防止熔敷金属下淌,造成焊道成形不规则。