三、气焊

三、气焊

气焊是利用气体火焰作为热源的一种熔焊方法,常用的气焊为氧乙炔焊。

1.气焊设备、工具及安全操作技术

气焊设备、工具及安全操作技术与气割基本相同,但气焊使用的是焊炬。

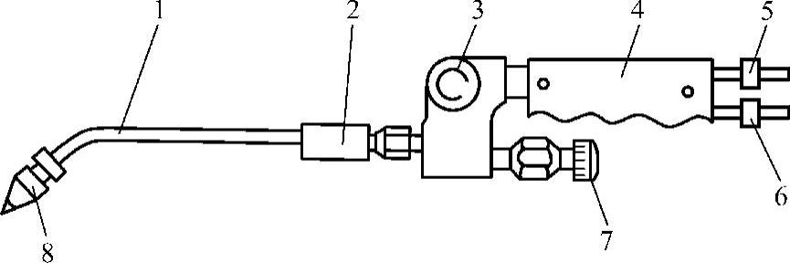
目前普遍应用的是射吸式焊炬,如图10-32所示。

978-7-111-28702-5-Chapter10-50.jpg

图10-32 射吸式焊炬

1—混合管 2—射吸管 3—氧气调节阀 4—手柄 5—氧气管接头 6—乙炔管接头 7—乙炔调节阀 8—焊嘴

2.气焊火焰

常用的气焊火焰是氧乙炔焰,其外形、构造、火焰的化学性质和火焰温度的分布是由氧气体积与乙炔体积的混合比决定的。

根据混合比的大小,可得到性质不同的三种火焰:中性焰、氧化焰和碳化焰,如图10-33所示。

3.气焊焊接参数

气焊焊接参数主要包括:焊丝直径和牌号、气焊熔剂、火焰种类、火焰能率、焊炬的倾斜角度和焊接速度等。

(1)焊丝的牌号 焊丝的牌号选择应根据焊件材料的力学性能或化学成分,选择相应性能或成分的焊丝,碳素结构钢、合金结构钢、不锈钢的焊丝选择见表10-10。

(2)焊丝的直径 焊丝直径的选用要根据焊件的厚度来决定,焊接5mm以下板材时,焊丝直径要与焊件厚度相近,一般选用ϕ1~ϕ3mm焊丝。

(3)气焊熔剂 气焊熔剂的选择要根据焊件的成分及其材质而定,气焊熔剂牌号的选择见表10-11。

(4)火焰的种类及能率

1)火焰的种类。各种不同材料的焊件,应采用的火焰种类见表10-14。

978-7-111-28702-5-Chapter10-51.jpg

图10-33 氧乙炔焰的种类、外形及构造

a)中性焰 b)氧化焰 c)碳化焰

1—焰心 2—内焰(轻微闪动) 3—外焰

表10-14 气焊火焰种类的选用

978-7-111-28702-5-Chapter10-52.jpg

2)火焰的能率。一般以焊炬型号及焊嘴号码大小来表示火焰能率大小。如果焊件较厚,金属材料熔点较高,导热性较好(如铜、铝及其合金),焊缝又是平焊位,则应选择较大的火焰能率,反之应选用较小的火焰能率。

(5)焊炬的倾斜角度 焊炬倾斜角度的大小,主要取决于焊件的厚度和母材的熔点。焊件越厚、热导率及熔点越高,越应采用较大的焊炬倾斜角。焊接碳素钢时,焊炬倾斜角与焊件厚度的关系如图10-34所示。

978-7-111-28702-5-Chapter10-53.jpg

图10-34 焊炬倾斜角与焊件厚度的关系

(6)焊接速度 一般情况下,厚度大、熔点高的焊件,焊接速度要慢些,以免产生未熔合的缺陷;反之,应采用较小的焊接速度。总之,在保证焊接质量的前提下,应尽量加快焊接速度,以提高生产率。

4.操作方法

气焊的操作方法分为右焊法以及左焊法两种,如图10-35所示。

978-7-111-28702-5-Chapter10-54.jpg

图10-35 气焊操作方法

a)右焊法 b)左焊法

右焊法(见图10-35a)时,焊炬在焊丝前面移动,焊炬火焰指向焊缝,因此火焰可以遮盖整个熔池,使熔池和周围的空气隔离,所以能防止焊缝金属的氧化和减少产生气孔的可能性,同时可以使焊好的焊缝缓慢地冷却,改善了焊缝组织。而且火焰热量较为集中,火焰能率的利用率高,使熔深增加和生产率提高。缺点主要是不易掌握,操作过程对焊件没有预热作用,所以它只能适用于焊接较厚的焊件。

左焊法(见图10-35b)时,焊炬火焰背着焊缝面指向焊件未焊部分,并且焊炬跟着焊丝走。焊接时,焊工能够很清楚地看到熔池的后部凝固边缘,容易获得宽度和高度较均匀的焊缝,由于焊炬火焰指向焊件未焊部分,对金属有着预热作用,这种方法容易掌握,应用最普遍。缺点是焊缝易氧化,冷却较快,热量利用率较低,因此适用于薄板的焊接。