四、展开放样

四、展开放样

将构件的各个表面依次摊开在一个平面上的过程称为展开,如图12-28所示。画在平面上的展开图形为展开图;画展开图的过程称为展开放样。求作展开图的方法通常有两种:一种是作图法;另一种是计算法。对于形状复杂的工件,广泛地采用作图法,而对形状简单的工件可以通过计算直接求得展开尺寸,作出展开图。

978-7-111-28702-5-Chapter12-33.jpg

图12-28 展开示意图

1.展开基础知识

(1)可展与不可展构件表面 根据展开性质,可分为可展表面和不可展表面两类,若构件表面能全部平整地平摊在一个平面上,而不发生撕裂或皱折,这种表面称为可展表面,如图12-29a所示;反之称为不可展表面,如图12-29b所示。从图中可以看出平面立体、圆柱体、锥体的素线均为直线,相邻两条素线能构成一个平面或单向弯曲的曲面,因而能全部平整地平摊在一个平面上,是可展表面。而球和环的素线为曲线,另一方向又是弯曲的,即双向弯曲,所以无法平整地摊在一个平面上,是不可展表面。不可展表面可采取一定的方法作近似展开。其方法是将不可展表面分割成许多小块,每一小块看作只在一个方向上弯曲,而另一方向近似看作为直线,这样便可进行展开。

(2)线段实长的鉴别和求作 求作线段实长是作展开图的首要环节,能否准确地求得形体表面各线段的实长,直接影响到展开图的正确与否。视图中有些线段能直接反映实长,有些则不能,这就需要先进行判别,而后对不反映实长的进行求作。

1)线段实长的鉴别。空间直线在视图中的投影通常有以下三种情况:第一种垂直于某投影面而平行于其他两个投影面,如图12-30a所示;第二种平行于某投影面而倾斜于其他两个投影面,如图12-30b所示;第三种为一般位置,即直线倾斜各投影面,如图12-30c所示。根据投影面原理可知,当线段平行投影面,该线段的投影和线段长度相等,即反映实长。图12-30a的左、俯视图中,aba″b″均反映线段实长;图10-30b主视图中a′b′线段也反映实长。当空间线段倾斜于投影面,则其投影小于线段的实际长度,即不反映实长。

978-7-111-28702-5-Chapter12-34.jpg

图12-29 可展和不可展表面

a)可展表面 b)不可展表面

2)旋转法求实长。旋转法求实长就是把空间一般位置的直线,绕一定轴旋转到平行于某投影面进行投影,该投影即为线段的实长,如图12-31a所示,图中将空间线段ABAO轴旋转至与正投影平行的AB1位置进行投影,投影a′b″就是实长。

978-7-111-28702-5-Chapter12-35.jpg

图12-30 直线投影

978-7-111-28702-5-Chapter12-36.jpg

图12-31 旋转法求实长

a)原理图 b)旋转成正平线 c)旋转成水平线

图12-31b表示将AB旋转成正平线的位置求实长。

图12-31c表示将AB旋转成水平线的位置求实长。

3)直角三角形法求实长。图12-32a所示为线段AB对两个投影面的投影,由于AB倾斜于两投影面,所以投影a′b′ab都不反映实长。由图中可知,如果过B点作BC垂直于Aa,得直角三角形ABC,直角边BC=ba,另一直角边AC就是AB两点的高度差H=(Aa-Bb),恰等于AB在正面投影的两端a′b′在垂直方向上的距离a′c′。由此可知,只要作出互相垂直的两直角边使B1C1=abA1C1=a′c′=H,则斜边A1B1即为线段AB的实长,如图12-32b所示。

978-7-111-28702-5-Chapter12-37.jpg

图12-32 直角三角形法求实长

a)原理图 b)实长图 c)简化图

作图方法如图12-32c所示,a′b′ab为线段AB的两投影,先作一直角,在直角的一边上量取投影图中ab(或a′b′)之长,另一直角边上量取另一视图的投影差,则直角三角形的斜边即为线段AB的实长。

4)变换投影面求实长。根据只有平行于投影面才反映实长这一投影规律,建立一个新的投影面,使新的投影面平行空间直线并与其基本投影面垂直,那么该线段在新投影面上的投影一定反映实长。如图12-33所示。在V面上设新的投影面P,使P面垂直于V面,又平行于AB,即在新投影面P上的投影a1b1反映实长。

(3)截交线 截交线是在基本形体的基础上通过一个或数个平面截割而成的。如图12-34所示,平面P为截平面、交线ⅠⅡ、ⅡⅢ、ⅠⅢ为截交线、平面图形△ⅠⅡⅢ为截断面。

截交线的特点:截交线是基本形体和截平面的共有线,一般是封闭的平面多边形或平面曲线。

978-7-111-28702-5-Chapter12-38.jpg

图12-33 变换投影面法求实长

978-7-111-28702-5-Chapter12-39.jpg

图12-34 截交线的形成

截交线及截面实形的求法如图12-35所示。截平面P为正垂面,利用Pv的积聚性可以看出,P平面与四棱柱的顶面、底面及BD棱相交。四棱柱的顶面为水平面,它与P面相交,交线必为正垂线,其正面投影1′(2)′积聚为一点;水平投影1—2为可见直线。同理,四棱柱的底面也是水平面,它与P面的交线也是正垂线,正面投影5′(4)′积聚为一点,水平投影5—4也可直接按投影规律求出。P面与BD两棱线的交Ⅳ、Ⅲ的正面投影6′、3′和水平投影6、3可直接找出。将求出的交点顺次连接,即得所求截交线。然后,再用交换投影面法求出该六边形的实形。

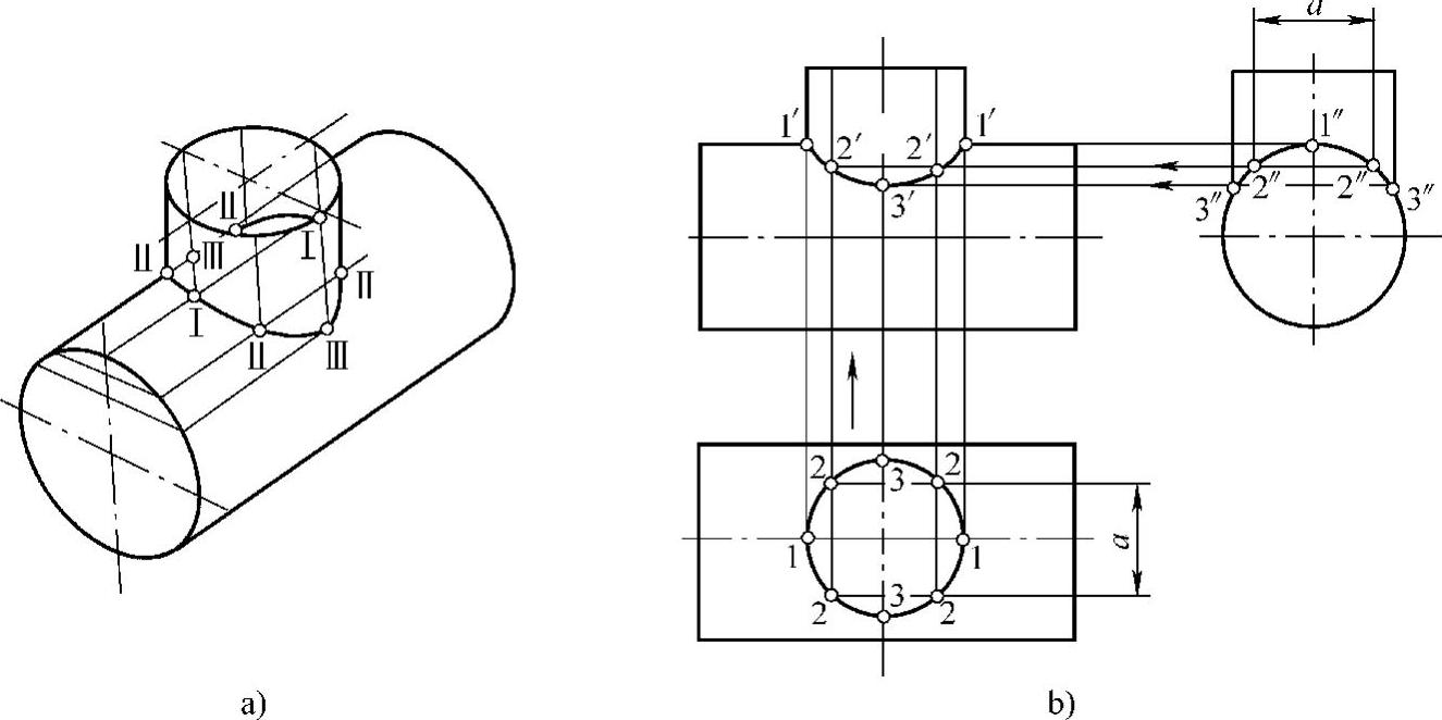
(4)相贯线 当两个或两个以上的基本形体相互贯穿交接而合成的形体,称为相贯体。相贯体表面上所产生的交线称为相贯线。其既是两形体表面的共有线,也是分界线,相贯线总是封闭的折线或曲线。下面介绍素线法求异径正交三通管的相贯线,如图12-36所示。

1)先求特殊点:相贯线的最高点(即主视图中的左、右端点)是支管轮廓线与主管轮廓线的交点。其正面投影1′、1′和水平投影1、1可直接画出。相贯线最前点的水平投影3,在支管断面竖直直径上,其正面投影3′点,可由侧视图上3″按“高平齐”的关系求出。

978-7-111-28702-5-Chapter12-40.jpg

图12-35 求棱柱斜截的截交线及断面实形

978-7-111-28702-5-Chapter12-41.jpg

图12-36 素线法求异径三通管的相贯线

2)求出一般点:相贯线水平投影上的2(支管断面圆周等分点,共4个)为一般点,通过2、2,按俯视、左视“宽相等”求出其侧面投影2″、2″,在根据2″、2″点求出其一般点的正面投影2′、2′。用光滑的曲线连接1′、2′、3′、2′、1′各点,即为所求的相贯线的正面投影。

2.展开放样原理和方法

冷作、钣金构件的形状各种各样,无论何种形状的表面,一般将其分成若干基本几何体,然后再展开,展开放样的方法有平行线法、放射线法、三角形法三种。

(1)平行线展开法 平行线展开法的原理是将构件的表面,看作由无数条相互平行的素线组成,取两条相邻素线及其两端线所围成的小面积作为平面,只要将每个小平面的真实大小依次画在平面上,即得构件表面的展开图。平行线展开法适用于素线相互平行的构件展开,如各种棱柱体、圆柱体和圆柱面等。

1)上斜口四棱管的展开。图12-37所示为上斜口四棱管,各棱线相互平行,由四个面组成,只要画出四个面的实际大小,即得展开图,作图步骤如下:

978-7-111-28702-5-Chapter12-42.jpg

图12-37 上斜口四棱管的展开

①作棱柱管的主、俯视图,在各棱线处标上1、2、3、4代号。

②沿主视图底线的延长线展开,在其上量取俯视图上1、2、3、4各点(由于是沿主视图底线的延长线展开与展开图中各点重合,因此图中标注为1′、2′、3′、4′、1′),并过各点作垂线。

③在各垂线上量取主视图相应各棱线的高度,得1′、2′、3′、4′各点,用直线连接各点得展开图。

2)上口斜截圆柱管的展开作图方法如图12-38所示。

978-7-111-28702-5-Chapter12-43.jpg

图12-38 上口斜截圆柱管的展开

①将俯视图上的圆周作12等分,从各等分点向主视图作投影线,则相邻两投影线组成一小的梯形,每一小梯形作为一平面。

②延长主视图的底线作为展开的基准线,将圆周展开在延长线上得1,2,3,…,7各点,过各点作垂线并在其上量取各素线的长度,得到一系列点,然后用光滑曲线连接各点即可得构件表面的展开图。

为了保证曲线两端部的准确性,必须在曲线两端部之外再加作几个有效点,借助于这些有效点,曲线便能够延伸过去,这样所求作的曲线更准确。

由于展开图上每一梯形平面代表了曲面的一部分,所以圆周等分数越多,每一小梯形曲面越接近于平面,作得的展开图也越准确,但作图过程也相应地烦琐,所以等分数由圆管的直径大小而定,也可根据直径计算其周长,再将求得的周长作等分,这样作出的图形较精确。

(2)放射线展开法 放射线法展开原理是将构件的表面由锥顶起作一系列放射线,把锥面分成若干小三角形,每个三角形作为一个平面,将各三角形依次画在平面上,就得所求的展开图。放射线展开法适用于素线或素线延长线汇交于一点的构件,如棱锥体、圆锥体、棱台体、圆台体等。

1)斜口正圆锥管的展开。

斜口正圆锥管可以想象成由一只具有锥顶的正圆锥管被斜平面截割锥顶而形成的。其展开过程是先作正圆锥管的展开。然后作被截割锥顶部分的展开图,则剩下的部分即为所求的展开图。其作法如图12-39所示。

①先画出锥管的主视图和俯视图,将俯视图上的半圆周作六等分(即整个圆周进行12等分),然后画出整个圆锥面的展开图。

978-7-111-28702-5-Chapter12-44.jpg

图12-39 斜口正圆锥管的展开

②作切口展开曲线时,需要知道锥顶切去部分素线的实长.如Ob′Oc′等,但一般位置直线的投影不反映实长,因此需要解决求直线实长的问题。在主视图的投影中,只有Oa′Og′的投影代表实长,其余素线的投影都不是实长,求一般投影Oc′实长的方法是,过c′点引水平线与投影图的轮廓线相交于c点,则Oc即为Oc′的实长。其余各线均用同样方法求得,实长求出后作出斜口的展开曲线。

2)斜圆锥管的展开。如果圆锥的轴线与底面不垂直,则该圆锥称斜圆锥。斜圆锥的顶点至底圆的距离(即斜圆锥表面各素线的长度)都不相等,作展开图时必须分别求出各素线的实长,先画出整个圆锥面的展开图,再画截去的顶部。图12-40所示为一斜圆锥管的展开,作图步骤如下:

978-7-111-28702-5-Chapter12-45.jpg

图12-40 斜圆锥管的展开

①将底圆分成若干等分,各等分点1、2、3、…、7与顶点O连接,这样将斜圆锥面分成许多小的三角形。

②用旋转法求各条素线的实长,例如求O2实长时,在俯视图中以O为圆心,O2为半径作圆弧与水平线相交,交点与顶点O′的连线即为O2的实长。求出各素线的实长后,再利用等分圆弧的弧长,依次作出各三角形的展开图,图中只画出了一半展开图,另一半与其对称。

③用同上的方法作出截去顶部的展开图,得斜圆锥管的展开图。

(3)三角形展开法 三角形展开法的原理是将构件的表面分成一组或很多组三角形,然后求出各组三角形每边实长,并把它的实形依次画在平面上,得到展开图。三角形展开法划分的三角形与放射线展开法不同,放射线展开法划分的三角形,其顶点是围绕锥顶的,而三角形展开法划分的三角形是根据构件形状特征进行的,因此三角形展开法适用的面比平行线展开法、放射线展开法更广。

1)斜口漏斗的展开。图12-41为倒置的斜口漏斗,图中所有棱线不交于一点,因此只能用三角形展开法。作展开图时,将其表面分成若干三角形,求出各三角形的边长,依次画出各个三角形的实形,即可求得展开图。作图方法如下:

①作斜口漏斗的主、俯视图,将其表面分成若干三角形。

②采用三角形法求实长,在主视图上延长底边线作两个直角,分别在两个直角边的高度方向,量取主视图上的投影的高度差得AB点,在水平直角边上分别量取俯视图中的投影长1a、1b等,得abd、4、3等各点,则斜边为各线段的实长。

③作一长度为ab的直线,以a点为圆心,实长aA为半径作弧,再以b点为圆心,实长bA为半径作弧交于1点,连接1a、1bab1三角形,以此类推得2、c、3等各点,用直线连接各点得展开图。

978-7-111-28702-5-Chapter12-46.jpg

图12-41 斜口漏斗的展开

2)上圆下方接管的展开。图12-42所示为上圆下方接管,是用于连接方管和圆管的过渡管,它由四个三角形平面和四个局部锥面组成。展开时只要将局部锥面分成若干小三角形,求出平面和锥面的小三角形的各边实长,依次画出各三角形实形,即得展开图。具体作法如下:

978-7-111-28702-5-Chapter12-47.jpg

图12-42 上圆下方接管的展开

①作出方圆接管的主、俯视图,将圆周12等分,连接等分点与方底的四个角,把锥面分成若干小三角形。从图中的对称关系可知,1a与4a、2a与3a的长度相等,只要求出1a、2a的实长即可。

②用直角三角形法求实长,延长底边作一直角,在直角边的高度方向量取主视图上投影的高度差得A点,在水平直角边上量取俯视中的投影长得1、2点,则斜边为1a、2a的实长。

③作一水平直线,量取ab之长得ab点,分别以ab为圆心,实长1A为半径作弧交于1点,即得三角形ab1实形;再分别以1、a为圆心,12弧长和实长2A为半径分别作弧交于2点,依次类推画出各三角形,然后用曲线光滑连接1、2、3、4各点,用直线连接ab各点,即得整个接管的展开图。

3)上圆下椭圆接管的展开。图12-43为上圆下椭圆接管。由图可知,该接管表面均是曲面,且具有对称性,只要画出接管四分之一的展开图,其他的利用其对称性便可求得整个展开图。展开时将曲面分成若干小三角形,然后求出各小三角形的各边长,依次画出小三角形就可得所求的展开图。展开的步骤如下:

978-7-111-28702-5-Chapter12-48.jpg

图12-43 上圆下椭圆接管的展开

①作上圆下椭圆的主、俯视图,分别将四分之一圆周和椭圆周等分,圆周上得ab、…、e等点,椭圆周上得1、2、…、5等点,并将等分点向主视图投影。连接各等分的对应点,把表面分成若干小三角形。

②用直角三角形法求实长,延长主视图底线作一直角,在直角边的高度方向量取主视图上的投影高度差得O点。另一直角边量取俯视图各线段的投影长度,则斜边为各线段的实长。

③以a1实长作为展开中线,以1为圆心,12为半径作圆弧,再以a为圆心,实长O2为半径作圆弧交弧线于2点,以此类推画出余下的三角形实形,用曲线光滑连接ab、…、e和1、2、…、5各点得1/4展开表面。

④利用对称原理求出其他展开表面,得整个上圆下椭圆接管的展开图。

(4)相贯体展开

1)三节等径圆管90°弯头的展开。三节等径圆管90°弯头如图12-44所示,为了使各节的断面形状和直径相同,在分节时,必须使端头两节的中心角为中间节的一半,即中间一节相当于端头的两节。在作投影图时,为了作相贯线方便,应让弯头平行于投影面,这样其结合面垂直投影面,相贯线为一直线。展开时先作弯头的主、俯视图,然后将表面划分成若干四边形,用平行线展开法展开。具体作法如下:

①根据弯头角度计算出分角线,三节弯头相当于四个端节,所以端节中心角α=90°/4=22.5°,中间节的中心角为45°(2α)。

②作三节等径90°弯头,先作直角,然后根据弯头半径R、圆管直径d和每节角度,作出各节的轮廓线,其结合部位的直线(分角线)就是相贯线。

③将圆周等分,并向弯头投影,作出各节的素线。端节沿底线的延长线展开,中间节沿45°角分线的延长线展开。如果将各节接缝错开180°分布,则各节的展开图拼起来后为一个矩形,如图中双点画线的形状。

2)圆锥管与圆管斜交的展开。圆锥管与圆管斜交,可看作圆锥管与圆管的相贯体。因此,先用辅助球面法求出其相贯线后,分别用放射线法和平行线法将圆锥管和圆管展开,便可获得相贯体展开图,如图12-45所示。

①用已知尺寸画出主视图轮廓线、圆管断面及圆锥管辅助断面。以两管轴线交点O为圆心(球心)在形体相贯区域内画三个不同半径(R1、R2、R3)的圆弧(球面),与形体轮廓线相交。在各自形体内分别连接各弧的弦,得对应交点为2、3、4。通过各点连成978-7-111-28702-5-Chapter12-49.jpg曲线为两管的相贯线。

978-7-111-28702-5-Chapter12-50.jpg

图12-44 三节等径圆管90°弯头的展开

②四等分辅助断面半圆周,等分点为1、2、3、4、5。由各等分点引出1-5垂线,过垂足向锥顶s连素线交顶口,得相贯线各点。再由各交点分别引对s-3直角线交于s-5各点,则各点至锥顶距离反映各对素线的实长。③作锥管展开:以s为圆心,s-5为半径画圆弧978-7-111-28702-5-Chapter12-51.jpg,等于圆锥辅助断面圆周长,并作8等分。由等分点向s连放射线,与以s为圆心,s-5上各点为半径画同心圆弧相交,所得对应交点,分别连成两条光滑曲线,即得锥管展开图。

④用平行线法展开圆管孔,其过程如圆管展开图所示。

3)正圆锥与圆管直交的展开。正圆锥与圆管直交如图12-46所示,相贯线在俯视图上投影为圆。展开时先将相贯线向主视图投影,求得主视图相贯线,然后再分别展开圆管Ⅰ和圆锥Ⅱ。作图步骤如下:

978-7-111-28702-5-Chapter12-52.jpg

图12-45 圆锥管与圆管斜交的展开

①将圆管俯视图八等分得1、2、…、5点,连接O与各等分点得辅助线,再把辅助线与圆锥的交点2″、3″、…、5″向上投影,作主视图的辅助线;然后将圆管的等分点向上投影,与对应辅助线的交点即为相贯点,用曲线连接各点得相贯线。

②圆管Ⅰ采用平行线法展开。延长圆管上口线,在延长线上量取俯视图上圆周等分之长得1、2、3、…、5点,过各点作垂线,将主视图上相贯线至上口线的距离移到对应的垂线上,用曲线连接各点得圆管I的展开图。

③圆锥管Ⅱ采用放射线法展开,展开时先画出圆锥的扇形展开图,其半径为主视图圆锥的斜边之长,展开弧长为俯视图的圆周长,然后定出孔的位置,将俯视图圆周上2″、3″、…、5″点移至展开图上,并连接各点与顶点作出辅助线。在主视图上过相贯线与辅助线的交点作水平线交于圆锥斜边(即旋转法求实长),求出辅助线上相贯点至顶点的实长。再将实长移至展开的对应辅助线上得各点,用曲线连接各点得孔的展开形状,完成整个圆锥的展开。

978-7-111-28702-5-Chapter12-53.jpg

图12-46 正圆锥与圆管直交的展开

(5)板厚处理 前面所讲过的各种展开中,均没有考虑板厚的问题,但在实际上板料总有一定的厚度,尤其是当展开件的板厚较大,而构件的尺寸又要求较精确时,就一定要考虑板厚的因素,展开时应进行板厚处理,消除板厚对尺寸的影响,一般的处理方法是:折弯构件以折弯的内侧尺寸作为展开的依据;圆和圆弧形构件则以板厚的二分之一处(即中心线)尺寸作为展开依据。

1)圆方过渡接头的板厚处理。圆方过渡接头的几何形状,具有三管(圆管、方管、圆锥管)的综合特征。因此,它的板厚处理应按圆、方、锥三管的板厚处理方法进行,即顶口按圆管,以中性层直径d为准确定展开周长;底口按方管,以里口四边长度为准展开;为了保证工件的高度尺寸,放样图的高度应取上下口中性层的垂直高度h。图12-47b所示为圆方过渡接头经过板厚处理的放样图,按此图的尺寸作出展开图。

978-7-111-28702-5-Chapter12-54.jpg

图12-47 圆方过渡接头的板厚处理

a)实样图 b)放样图

2)异径直交三通管的展开。图12-48所示为异径直交三通管。由于圆管具有一定的壁厚,展开时应作板厚处理方能展开。由图可见,支管的内表面与主管的外表面接触,因此展开结合部位要以此作展开的依据,展开步骤如下:

①求相贯线。将支管内层圆八等分得1、2、3等点,并向下作投影(素线);左视图素线交于主管外表面得1″、2″、3″等点,过各交点向主视图投影交于对应的素线得各相贯点,用曲线连接各点得相贯线。

②支管展开。延长支管上口线展开,展开长度以板厚的1/2(中心线)为展开依据,即π(d+δ),然后八等分展开线得1、2、3等各点,过各点作垂线,将支管内层各素线的长度移到对应的素线上,得支管的展开图。

③主管展开。主管展开长度是以主管壁厚中心线作为展开依据,即π(D-δ)。在展开的矩形上确定孔的中心位置,然后量取左视图主管外层l弧长,移至孔的展开线上得1″、2″、3″等各点;过各点作素线,再将主视图上相贯点移到对应的素线上,用曲线连接各点得孔的展开,从而完成整个主管的展开。当支管与主管直径相差不大时,两管成形后进行装配时,由于板厚的影响,支管的最低点(图12-48左视图中3″点)会先与主管接触,造成整个支管抬高,1″点处出现较大的空隙,因此在展开放样时,可将3″点处进行修正,向上缩短(0.5~1)δ,或采用向外弯曲3″点来解决。

978-7-111-28702-5-Chapter12-55.jpg

图12-48 异径直交三通管的展开

(6)计算展开 对于形状简单的构件或型钢的弯曲可以通过计算求得展开尺寸。钢材弯曲时外侧材料受拉而伸长,内侧材料受压而缩短,则中间必有一层材料在弯曲前后既不伸长也不缩短,这一层称为中性层。中性层是计算展开的依据,不同的断面、不同的弯曲程度,中性层的位置也不同。因此在计算展开前先要确定中性层的位置,然后才能进行计算。

计算展开的步骤为:

①将构件的曲线部分和直线部分在切点处分段。

②分别确定每段的中性层位置,并计算各段的展开长度。

③求各段的总和得整个构件的展开长度。

④根据加工要求和技术要求加放余量。

1)板料长度计算。图12-49所示为圆角U形钢板。已知尺寸为rδl1l2及弯曲角α,则料长L计算公式为

978-7-111-28702-5-Chapter12-56.jpg

式中 r——弯曲弧的内半径(mm);

δ——板厚(mm);

l1l2——直边长度(mm);

K——中性层系数;

α——弯曲角度。

2)角钢料长计算。角钢的断面是不对称的,所以中性层的位置不在断面的中心,而是位于偏向角钢根部的重心处,即中性层和重心层重合。设中性层与角钢根部距离为Z0Z0值的大小与角钢断面尺寸有关,因此角钢弯曲件的料长计算可以按重心层的尺寸为准。

等边角钢内弯任意角度料长计算如图12-50所示,展开长度的计算公式为

978-7-111-28702-5-Chapter12-57.jpg

图12-49 U形板料长度计算

978-7-111-28702-5-Chapter12-58.jpg

式中 AB——直边长度(mm);

R——弯曲处半径(mm);

Z0——角钢重心距离(mm);

α——弯曲角度。

3)扁钢圈料长计算。扁钢圈料长计算如图12-51所示。

978-7-111-28702-5-Chapter12-59.jpg

图12-50 角钢料长计算

978-7-111-28702-5-Chapter12-60.jpg

图12-51 扁钢圈料长计算

已知D1D2b,其料长计算公式为

L=π(D1-b

L=π(D2+b

式中 L——扁钢圈料长(mm);

D1——扁钢圈外径(mm);

D2——扁钢圈内径(mm);

b——扁钢宽度(mm)。